|
|
(21), (22) Заявка: 2007128232/11, 27.12.2005
(24) Дата начала отсчета срока действия патента:
27.12.2005
(30) Конвенционный приоритет:
28.12.2004 JP 2004-381488
(43) Дата публикации заявки: 10.02.2009
(46) Опубликовано: 20.09.2010
(56) Список документов, цитированных в отчете о поиске:
JP 2004148843 A, 27.05.2004. DE 10223517 A1, 19.12.2002. JP 2175330 A, 06.07.1990. SU 1600973 A1, 23.10.1990. RU 2041081 C1, 09.08.1995.
(85) Дата перевода заявки PCT на национальную фазу:
27.07.2007
(86) Заявка PCT:
JP 2005/024246 20051227
(87) Публикация PCT:
WO 2006/070928 20060706
Адрес для переписки:
125040, Москва, Ленинградский пр-кт, 23, Патентно-лицензионная фирма “ТАТ Транстехнология”, пат.пов. Н.И.Золотых, рег. 484
|
(72) Автор(ы):
МИЙАХАРА Тетсуйа (JP), ОТАКЕ Суйджи (JP), САКАИ Татсухиде (JP), КЬЮСЕ Масафуми (JP)
(73) Патентообладатель(и):
ХОНДА МОТОР КО., ЛТД. (JP)
|
(54) ОПОРНАЯ КОНСТРУКЦИЯ СИЛОВОГО АГРЕГАТА ТРАНСПОРТНОГО СРЕДСТВА (ВАРИАНТЫ)
(57) Реферат:
Изобретение относится к опорной конструкции поперечно установленного силового агрегата в кузове транспортного средства. Опорная конструкция включает силовой агрегат (50) транспортного средства (10) поперечного типа, размещаемый в отсеке силового агрегата и включающий источник энергии (51) и трансмиссию (52), соединенные вместе в поперечном направлении, опоры статической нагрузки (61, 62, 63), расположенные ниже центра тяжести (Gc) агрегата (50) и поддерживающие его, опору (64) источника энергии, расположенную на концевом участке источника энергии (51) и опору (65) трансмиссии, расположенную на концевом участке трансмиссии (52). Опора (64) имеет первый опорный элемент, подсоединяемый к агрегату (50), а опора (65) имеет второй опорный элемент, устанавливаемый на корпус транспортного средства (10). Первый и второй опорные элементы соединены друг с другом посредством упругого элемента. Осевая линия (Sp1) упругого элемента опоры (64) и осевая линия (Sp2) упругого элемента опоры (65) идут с наклоном и пересекаются в точке (Pv) выше центра тяжести (Gc). Во втором варианте опорной конструкции осевая линия демпфирования (Vr1) опоры (64) и осевая линия демпфирования (Vr2) опоры (65) идут с наклоном и пересекаются в точке (Pv) выше центра тяжести (Gc). В третьем варианте опорной конструкции опора (64) и опора (65) имеют вертикальные осевые линии демпфирования (Vr1, Vr2), которые перпендикулярны горизонтальным осевым линиям демпфирования, при этом горизонтальные осевые линии демпфирования идут под углом к продольной оси и к поперечной оси транспортного средства (10). Технический результат: повышение эксплуатационной устойчивости и комфортабельности транспортного средства путем ограничения воздействия силового агрегата на кузов транспортного средства. 3 н. и 1 з.п. ф-лы, 10 ил.
Область техники изобретения
Настоящее изобретение относится к конструкции силового агрегата транспортного средства для установки в кузове транспортного средства силового агрегата поперечного типа, у которого выходной вал двигателя, используемого в качестве источника энергии, расположен поперек транспортного средства или по его ширине.
Предпосылки создания изобретения
Силовые агрегаты обычных транспортных средств можно условно разделить на продольные (то есть располагаемые по длине) и поперечные (то есть располагаемые по ширине). В силовых агрегатах продольного типа источник энергии и трансмиссия располагаются в ряд в продольном направлении или в направлении спереди назад транспортного средства.
С другой стороны, в силовых агрегатах поперечного типа источник энергии и трансмиссия соединяются вместе в поперечном направлении или слева направо транспортного средства. Например, в силовых агрегатах поперечного типа коленчатый вал двигателя располагается в поперечном направлении транспортного средства, и входной вал трансмиссии, используемый в качестве передачи, соединен с дальним от центра концом коленчатого вала. Вообще, силовые агрегаты поперечного типа размещаются в отсеке силового агрегата (например, в моторном отсеке), и, таким образом, отсек силового агрегата может быть меньше по длине в направлении спереди назад (в продольном направлении).
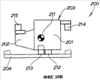
В заявке JP-A-2004-148843 приводится один пример опорной конструкции силового агрегата транспортного средства для установки такого силового агрегата поперечного типа. Эта предложенная опорная конструкция силового агрегата будет описана ниже со ссылкой на фиг.10А и 10В. На фиг.10А представлен вид сверху на опорную конструкцию силового агрегата, а на фиг.10В показан вид сзади на опорную конструкцию силового агрегата.
Традиционно опорная конструкция силового агрегата 200 на фиг.10А и 10B устанавливается на кузове транспортного средства 205, на нижней раме 204 силового агрегата поперечного типа 203 с двигателем 201 и трансмиссией 202, которые соединены в поперечном направлении транспортного средства.
В частности, статическая нагрузка от силового агрегата 203 воспринимается опорной конструкцией силового агрегата 200 через переднюю опору 212, заднюю опору 213 и нижнюю поперечную опору (не показана), прикрепленную к нижней раме 204 ниже центра тяжести 211 двигателя 201.
Силовой агрегат 203 также опирается на левую и правую опоры (то есть, боковая опора двигателя 214 и верхняя поперечная опора 215), прикрепленные к кузову транспортного средства 205 выше центра тяжести 211 двигателя 201.
Эксплуатационная устойчивость и удобство езды в транспортном средстве не могут быть повышены путем простого ограничения передачи вибрации силового агрегата 203 на кузов транспортного средства 205. Чтобы повысить эксплуатационную устойчивость и комфортабельность транспортного средства, необходимо также предотвратить воздействие силового агрегата 203 на кузов транспортного средства 205. Например, при повороте транспортного средства 200 влево или вправо на поворачиваемое транспортное средство 200 действует центробежная сила. В это время инерция заставляет силовой агрегат 203 стоять на месте. Для достаточного повышения эксплуатационной устойчивости и удобства езды в транспортном средстве 200 предпочтительно соответственно ограничить воздействие силового агрегата 203 на кузов транспортного средства 205.
Как заявлено выше, предпочтительно повысить эксплуатационную устойчивость и комфортабельность транспортного средства путем ограничения воздействия силового агрегата на кузов транспортного средства.
Раскрытие сущности изобретения
Согласно одному из аспектов настоящего изобретения предлагается улучшенная опорная конструкция силового агрегата транспортного средства, в состав которой входит силовой агрегат поперечного типа, размещаемый в отсеке силового агрегата и включающий источник энергии и трансмиссию, которые соединены в поперечном направлении транспортного средства; опоры статической нагрузки, расположенные ниже центра тяжести силового агрегата и поддерживающие силовой агрегат; опора источника энергии, расположенная на концевом участке источника энергии, удаленном от трансмиссии; и опора трансмиссии, расположенная на концевом участке трансмиссии, удаленном от источника энергии. На виде спереди на транспортное средство, снабженное опорной конструкцией по настоящему изобретению, показано, как осевая линия пружины опоры источника энергии и осевая линия пружины опоры трансмиссии идут с наклоном и пересекаются в точке выше центра тяжести силового агрегата.
В соответствии с вышеупомянутой компоновкой, предложенной в данном изобретении, центр суммарного упругого воздействия опор статической нагрузки, опоры источника энергии и опоры трансмиссии смещен вверх, чтобы совпадать с центром тяжести силового агрегата. Таким образом, например, при повороте транспортного средства влево или вправо момент, передаваемый силой инерции силового агрегата, почти не действует, поэтому силовой агрегат перемещается по существу только в горизонтальном направлении, почти не вращаясь. Вследствие этого во время движения транспортного средства можно ограничить воздействие тяжелого силового агрегата поперечного типа на кузов транспортного средства. Таким образом, компоновка, предложенная в данном изобретении, может повысить эксплуатационную устойчивость и комфортабельность транспортного средства. Кроме того, при установке центра суммарного упругого воздействия всех опор на оптимальную высоту, высотные отметки опирания опоры источника энергии и опоры трансмиссии могут устанавливаться относительно свободно, при этом расчетная степень свободы транспортного средства может быть улучшена значительно. Если предусмотреть такие опоры статической нагрузки, опору источника энергии и опору трансмиссии, то можно эффективно бороться с передачей вибрации, производимой силовым агрегатом поперечного типа, на кузов транспортного средства.
Согласно другому аспекту настоящего изобретения предлагается улучшенная опорная конструкция силового агрегата транспортного средства, в состав которой входит силовой агрегат поперечного типа, размещаемый в отсеке силового агрегата и снабженный источником энергии и трансмиссией, которые соединены в поперечном направлении транспортного средства; опоры статической нагрузки, расположенные ниже центра тяжести силового агрегата и поддерживающие силовой агрегат; опора источника энергии, расположенная на концевом участке источника энергии, удаленном от трансмиссии; и опора трансмиссии, расположенная на концевом участке трансмиссии, удаленном от источника энергии. На виде спереди на транспортное средство, снабженное опорной конструкцией по настоящему изобретению, показано, что как осевая линия демпфирования опоры источника энергии, так и осевая линия демпфирования опоры трансмиссии идут с наклоном и пересекаются в точке выше центра тяжести силового агрегата.
При осевых линиях демпфирования опоры источника энергии и опоры трансмиссии, наклоненных для пересечения друг с другом в точке выше центра тяжести силового агрегата, опора источника энергии и опора трансмиссии могут эффективно выполнять функции ослабления колебаний не только в направлении вверх/вниз или вертикальном направлении, но также и в направлении слева направо или в горизонтальном направлении.
Таким образом, при повороте транспортного средства влево или вправо, например, момент, передаваемый силой инерции силового агрегата, может быть ослаблен вышеупомянутой функцией ослабления колебаний слева направо или в горизонтальном направлении, и силовой агрегат незначительно смещается в горизонтальном направлении, практически без вращения. Вследствие этого во время движения транспортного средства можно ограничить воздействие тяжелого силового агрегата поперечного типа на кузов транспортного средства. Таким образом, компоновка, предложенная в данном изобретении, может повысить эксплуатационную устойчивость и комфортабельность транспортного средства. Кроме того, при установке центра суммарного упругого воздействия всех опор на оптимальную высоту, высотные отметки опирания опоры источника энергии и опоры трансмиссии могут устанавливаться относительно свободно, при этом расчетная степень свободы транспортного средства может быть улучшена значительно. Если предусмотреть такие опоры статической нагрузки, опору источника энергии и опору трансмиссии, то можно эффективно бороться с передачей вибрации, производимой силовым агрегатом поперечного типа, на кузов транспортного средства.
Согласно еще одному аспекту настоящего изобретения предлагается улучшенная опорная конструкция силового агрегата транспортного средства, в состав которой входит силовой агрегат поперечного типа, размещаемый в отсеке силового агрегата и включающий источник энергии и трансмиссию, которые соединены в поперечном направлении транспортного средства, опоры статической нагрузки, расположенные ниже центра тяжести силового агрегата и поддерживающие силовой агрегат; опора источника энергии, расположенная на концевом участке источника энергии, удаленном от трансмиссии; и опора трансмиссии, расположенная на концевом участке трансмиссии, удаленном от источника энергии. Как у опоры источника энергии, так и трансмиссии имеется заданная вертикальная осевая линия демпфирования и заданная горизонтальная осевая линия демпфирования, идущая под прямым углом к вертикальной осевой линии демпфирования, и, как показано на виде спереди на транспортное средство, горизонтальные осевые линии демпфирования опоры источника энергии и опоры трансмиссии наклонены в направлении спереди назад, и в поперечном направлении транспортного средства.
При использовании предлагаемого изобретения можно эффективно ограничивать нагрузки (включая вибрацию) в направлении спереди назад (в продольном направлении) и поперечном направлении силового агрегата. Поэтому при вращении транспортного средства, килевом или осевом покачивании использование настоящего изобретения позволяет ограничить воздействие тяжелого силового агрегата поперечного типа на кузов транспортного средства, вызванное инерцией. В результате использование настоящего изобретения может повысить эксплуатационную устойчивость и комфортабельность транспортного средства. Кроме того, если предусмотреть такие опоры статической нагрузки, опору источника энергии и опору трансмиссии, то можно эффективно бороться с передачей вибрации, производимой силовым агрегатом поперечного типа, на кузов транспортного средства.
Кроме того, как показано на виде сверху на транспортное средство, предпочтительно, чтобы горизонтальные осевые линии демпфирования опоры источника энергии и опоры трансмиссии пересекались под прямым углом. Таким образом, можно еще более эффективно ограничивать нагрузку (включая вибрацию) в направлении спереди назад и в поперечном направлении силового агрегата.
Краткое описание чертежей
На фиг.1 изображен вид спереди, на котором показана передняя часть транспортного средства и опорной конструкции силового агрегата по настоящему изобретению;
На фиг.2 изображен вид сверху, на котором показана передняя часть транспортного средства и опорной конструкции силового агрегата (фиг.1);
На фиг.3 изображен вид в перспективе опорной конструкции силового агрегата (см. фиг.2);
На фиг.4 показано сечение опоры источника энергии, изображенного на фиг.3;
На фиг.5 показано сечение по линии 5-5 (см. фиг.4);
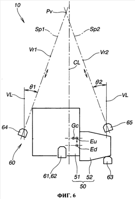
На фиг.6 схематично изображен вид спереди, на котором показано взаиморасположение осевых линий пружины и осевых линий демпфирования опоры источника энергии и опоры трансмиссии (фиг.1);
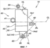
На фиг.7 схематично изображен вид сверху, на котором показано взаиморасположение осевых линий демпфирования опоры источника энергии и опоры трансмиссии (см. фиг.2);
На фиг.8 схематично изображен вид, на котором показана модификация опорной конструкции силового агрегата по настоящему изобретению, в которой опора источника энергии и опора трансмиссии расположены ниже центра тяжести силового агрегата;
На фиг.9А и 9В схематично изображен вид, на котором показан сравнительный пример и предпочтительный вариант осуществления опорной конструкции силового агрегата; и
На фиг.10A и 10В показан план и вид сзади соответственно традиционной опорной конструкции силового агрегата.
Наилучший способ осуществления настоящего изобретения
На фиг.1 и 2 показано транспортное средство 10 в соответствии с примером осуществления настоящего изобретения, при этом в качестве транспортного средства 10 представлено переднеприводное транспортное средство с передним размещением двигателя, у которого передние колеса приводятся двигателем 51, установленным в передней части кузова 20 транспортного средства. Однако транспортное средство 10 в соответствии с примером осуществления настоящего изобретения может быть заднеприводным транспортным средством с передним размещением двигателя, у которого двигателем 51 приводятся задние колеса, или полноприводным транспортным средством, у которого приводятся передние и задние колеса. Транспортное средство 10 включает силовой агрегат 50, размещаемый в отсеке силового агрегата (например, в моторном отсеке) 31, расположенном в передней части кузова транспортного средства 20.
Что касается фиг.1-3, то на них изображен кузов транспортного средства 20, в состав которого входит левая и правая передние рамы 21L и 21R, идущие в продольном направлении или в направлении спереди назад кузова 20, левая и правая верхние рамы 22L и 22R, идущие в направлении спереди назад (в продольном направлении) кузова 20 выше левой и правой передних рам 21L и 21R, и левая и правая рамы днища 23L и 23R, идущие назад от задних концов левой и правой передних рам 21L и 21R.
Левые и правые передние рамы 21L и 21R включают левые и правые кронштейны 24L и 24R (фиг.2) соответственно на своих задних внутренних поверхностях. Позиции 25L и 25R обозначают левую и правую выносные опоры.
Передний подрамник 40 подвешен на четыре, то есть переднюю, заднюю, левую и правую антивибрационные упругие втулки 32, установленные на передних частях левой и правой передних рам 21L и 21R и левого и правого кронштейнов 24L и 24R.
Передний подрамник 40 выполнен в виде прямоугольной рамы, в состав которой входит левый и правый элементы 41L и 41R, передний элемент 42, прикрепленный к передним концевым участкам левого и правого элементов 41L и 41R и соединяющий их, и задний элемент 43, прикрепленный к задним концевым участкам левого и правого элементов 41L и 41R и соединяющий их.
Передняя подвеска и коробка рулевого механизма (не показана) установлены на переднем подрамнике 40. Поскольку этот передний подрамник 40 является частью кузова транспортного средства 20, термин “кузов 20 транспортного средства” используется здесь как включающий в себя передний подрамник 40, если не оговорено иначе.
Силовой агрегат 50, изображенный на фиг.1 и фиг.2, является силовым агрегатом поперечного типа, в состав которого входит двигатель 51 и трансмиссия 52, которые соединены в поперечном направлении транспортного средства 10. Двигатель 51 является источником энергии, имеющим свой выходной вал, идущий в поперечном направлении транспортного средства 10. Трансмиссия 52 включает входной вал, соединенный с выходным валом двигателя 51 через муфту и т.д.
Силовой агрегат поперечного типа 50 установлен на кузове транспортного средства 20 через опорную конструкцию силового агрегата 60 в соответствии с вариантом осуществления настоящего изобретения.
В состав опорной конструкции силового агрегата 60 входит передняя опора 61, расположенная на переднем концевом участке источника энергии 51; задняя опора 62, расположенная на заднем концевом участке источника энергии 51; нижняя опора трансмиссии 63, расположенная на левом нижнем участке трансмиссии 52; опора источника энергии 64, расположенная на правом концевом участке источника энергии 51; и опора трансмиссии 65, расположенная на левом верхнем концевом участке трансмиссии 52.
Вышеупомянутая передняя опора 61, задняя опора 62 и нижняя опора трансмиссии 63 помещены ниже центра тяжести Gc (см. фиг.1) силового агрегата 50, чтобы выполнять функции опор, несущих статическую нагрузку, то есть массу силового агрегата 50.
Опора источника энергии 64 и опора трансмиссии 65 помещены выше центра тяжести Gc (см. фиг.1) силового агрегата 50 и не несут или почти не несут статическую нагрузку, создаваемую силовым агрегатом 50. В частности, опора источника энергии 64 является несущим элементом, расположенным на боковой части 51а двигателя 51 напротив или на удалении от трансмиссии 52. Опора трансмиссии 65 является несущим элементом, расположенным на части 52а трансмиссии 52 напротив или на удалении от двигателя 51.
Передняя опора 61 расположена в непосредственной близости от осевой линии CL, проходящей через центр транспортного средства по его ширине 10, а своим нижним торцем соединена с передним элементом 42 переднего подрамника 40, чтобы поддерживать переднюю нижнюю часть двигателя 51 через кронштейн двигателя 71. Передняя опора 61 выполнена, например, в виде гидравлической опоры двигателя одностороннего действия.
Задняя опора 62 расположена в непосредственной близости от осевой линии CL, проходящей через центр транспортного средства по его ширине 10, а своим нижним торцем соединена с задним элементом 43 переднего подрамника 40, чтобы поддерживать заднюю нижнюю часть двигателя 43 через кронштейн двигателя 72. Задняя опора 62 выполнена, например, в виде резинового амортизатора.
Нижняя опора трансмиссии 63 своим нижним торцем соединена с боковым элементом 41L переднего подрамника 40, чтобы поддерживать левую нижнюю часть трансмиссии 52 через кронштейн трансмиссии (не показан). Нижняя опора трансмиссии 63 выполнена, например, в виде резинового амортизатора.
Опора источника энергии 64 своим нижним торцем соединена с правой верхней рамой 22R, чтобы поддерживать правую верхнюю часть 51а двигателя 51 (то есть боковую часть 51а двигателя 51 напротив трансмиссии 52) через кронштейн двигателя 74.
Опора трансмиссии 65 своим нижним торцем соединена с левой верхней рамой 22L, чтобы поддерживать левую верхнюю часть 52а двигателя 51 (то есть боковую часть 52а трансмиссии 52 напротив двигателя 51) через кронштейн трансмиссии 75.
Далее будет детально описана конструкция опоры источника энергии 64, со ссылкой на фиг.4 и 5.
На фиг.4 и 5 показана опора источника энергии 64 в виде антивибрационного механизма, который расположен между кузовом транспортного средства 20 и двигателем 51 (см. фиг.1) и поддерживает двигатель 51, предотвращая при этом передачу вибрации от двигателя 51 на кузов транспортного средства 20, и эта опора источника энергии 64 функционирует в качестве гидравлической опоры двигателя одностороннего действия. Таким образом, опора источника энергии 64 имеет вертикальную осевую линию пружины Sp1 и осевую линию демпфирования Vr1, а также горизонтальную осевую линию демпфирования Ho1, расположенную под прямым углом к вертикальной осевой линии демпфирования Vr1.
Опора источника энергии 64 включает первый опорный элемент 101, соединенный с двигателем 51; цилиндрический второй опорный элемент 102, соединенный с кузовом транспортного средства 20; упругий элемент 103, расположенный между первым и вторым опорными элементами 101 и 102; диафрагму 104, прикрепленную ко второму опорному элементу 102 на удалении от упругого элемента 103; первую камеру с жидкостью 105, разделенную упругим элементом 103 и диафрагмой 104; перегородку 108, которая делит первую камеру с жидкостью 105 на главную камеру с жидкостью 106, прилегающую к упругому элементу 103, и вспомогательную камеру с жидкостью 107, прилегающую к диафрагме 104. Перегородка 108 прикреплена ко второму опорному элементу 102.
Первый опорный элемент 101, второй опорный элемент 102, упругий элемент 103, диафрагма 104, первая камера с жидкостью 105 и перегородка 108 имеют общую вертикальную осевую линию демпфирования Vr1 с опорой источника энергии 64. Рабочая жидкость Lq находится в главной и вспомогательной камерах с жидкостью 106 и 107.
Первый опорный элемент 101 является металлическим элементом, который крепится к двигателю 51 через кронштейн двигателя 74.
Второй опорный элемент 102 включает металлический цилиндрический элемент 111, с которым соединен упругий элемент 103; впрессованный в него металлический кронштейн 112 с металлическим цилиндрическим элементом 111; и выполненный из полимера кронштейн 113, несущий металлический кронштейн 42, и прикрепленный к кузову транспортного средства 20.
Упругий элемент 103 изготовлен в виде резинового блока, который может упруго деформироваться для поглощения вибрации, передаваемой от первого опорного элемента 101 на второй опорный элемент 102. Первый опорный элемент 101 выполнен в виде колонны.
В упругом элементе 103 имеется нижняя полость 121, раскрывающаяся вниз от его нижней поверхности, и первая и вторая полости 122 и 123, раскрывающиеся в стороны от его противолежащих боковых поверхностей.
Как показано на фиг.5, первая линия L1 является прямой линией, пересекающей центральную осевую линию Vr1 (то есть вертикальную осевую линию демпфирования Vr1) упругого элемента 103, а вторая линия L2 является прямой линией, передающей центральную осевую линию Vr1, и пересекающейся под прямым углом с первой линией L1 и с центральной осевой линией Vr1. Первая и вторая полости 122 и 123 симметричны в горизонтальной плоскости относительно первой линии L1.
Вторая линия L2 является осевой линией демпфирования, пересекающейся под прямым углом с вертикальной осевой линией демпфирования Vr1. В дальнейшем, вторая линия L2 также упоминается как “осевая линия демпфирования Ho1, перпендикулярная вертикальной осевой линии демпфирования Vr1”.
Как показано на фиг.4, диафрагма 104 закрывает нижний торец отверстия металлического цилиндрического элемента 111 (прилегающего к кузову транспортного средства 20) и выгибается в сторону перегородки 108. Диафрагма 104 изготавливается из упругого материала, например из резинового листа, и перемещается по оси опоры источника энергии 64.
Перегородка 108 имеет форму диска с каналом 109, выполненным на его периферии. Посредством канала 109 сообщаются главная камера с жидкостью 106 и вспомогательная камера с жидкостью 107. Далее канал 109 упоминается как “первое отверстие 109”.
Как показано на фиг.4 и фиг.5, упругий элемент 103, диафрагма 104, перегородка 108 и периферийная перегородка 130 заключены в металлический цилиндрический элемент 111.
Упругий элемент 103 устанавливается в периферийную перегородку 130. Вспомогательный отсек 133 включает первую и вторую периферийные камеры для жидкости 131 и 132. Первая периферийная камера для жидкости 131 образована периферийной перегородкой 130 и первым периферийным вогнутым участком 122. Вторая периферийная камера для жидкости 132 образована периферийной перегородкой 130 и вторым периферийным вогнутым участком 123. Вторая камера для жидкости 133 является отсеком для рабочей жидкости Lq.
Как показано на фиг.5, периферийная перегородка 130 выполнена в форме буквы С с лабиринтоподобным каналом 134. Первая и вторая периферийные камеры для жидкости 131 и 132 сообщаются друг с другом через канал 134. Далее канал 134 упоминается как “второе отверстие 134”.
Кроме того, на фиг.5 показано, что на конце 134a второе отверстие 134 с внутренней стороны (верхний участок на чертеже) сообщается с первой периферийной камерой для жидкости 131 в районе V-образного торца 135 С-образной периферийной перегородки 130. На конце 134b второе отверстие 134 сообщается со второй периферийной камерой для жидкости 132, расположенной по диагонали от конца 134а периферийной перегородки 130.
Кроме того, как видно из фиг.5, второе отверстие 134 проходит по дуге по часовой стрелке (в плане) с одного конца 134а по внешней периферийной поверхности периферийной перегородки 130 и затем уходит вниз около другого V-образного торца 136 периферийной перегородки 130. Затем второе отверстие 134 проходит по дуге против часовой стрелки (в плане) назад к V-образному торцу 135 с небольшим изгибом вверх и, в конечном счете, подходит к концу 134b. Конец 134а сообщается с первым периферийным вогнутым участком 122, в то время как другой конец 134b сообщается со вторым периферийным вогнутым участком 123.
Ниже описаны антивибрационные действия опоры источника энергии 64.
Как показано на фиг.4, по мере действия вибрации на опору источника энергии 64 двигателя 51 (фиг.1) в осевом направлении (то есть в направлении осевой или вертикальной осевой линии демпфирования Vr1), рабочая жидкость Lq проходит между главной и вспомогательной камерами 106 и 107 через первое отверстие 109, а упругий элемент 103 упруго деформируется, что ослабляет вибрацию.
По мере действия вибрации и нагрузки на опору источника энергии 64 двигателя 51 в направлении горизонтальной осевой линии демпфирования Но1 перпендикулярно вертикальной осевой линии демпфирования Vr1 рабочая жидкость Lq проходит между первой и второй периферийными камерами для жидкости 131 и 132 через второе отверстие 103, а упругий элемент 103 упруго деформируется, что ослабляет вибрацию и нагрузку.
Ниже дается описание относительного положения опоры источника энергии 64 и опоры трансмиссии 65.
Как показано на фиг.1-3, конструкция опоры трансмиссии 65 идентична конструкции опоры источника энергии 64 и установлена вертикально напротив опоры источника энергии 64. А именно, первый опорный элемент 101 (фиг.4) опоры трансмиссии 65 крепится к левой верхней раме 22L, а второй опорный элемент 102 (фиг.4) крепится к трансмиссии 52 через кронштейн трансмиссии 75.
На фиг.6 схематично изображен вид спереди на опорную конструкцию силового агрегата транспортного средства по настоящему изобретению в соответствии с фиг.1, а на фиг.7 схематично изображен вид сверху на опорную конструкцию силового агрегата транспортного средства в соответствии с фиг.2.
Как отмечалось выше и как видно из фиг.6 и 7, опора источника энергии 64 имеет вертикальную осевую линию пружины (осевая упругости) Sp1. Опора источника энергии 64 также имеет вертикальную осевую линию демпфирования Vr1 и горизонтальную осевую линию демпфирования Ho1, расположенную под прямым углом к вертикальной осевой линии демпфирования Vr1.
Опора трансмиссии 65 также имеет вертикальную осевую линию пружины (осевая упругости) Sp2, вертикальную осевую линию демпфирования Vr2 и горизонтальную осевую линию демпфирования Но2, расположенную под прямым углом к вертикальной осевой линии демпфирования Vr2.
Вертикальная осевая линия пружины Sp2 опоры трансмиссии 65 соответствует вертикальной осевой линии пружины Sp1 опоры источника энергии 64.
Кроме того, вертикальная осевая линия демпфирования Vr2 опоры трансмиссии 65 соответствует вертикальной осевой линии демпфирования Vr1 опоры источника энергии 64. Кроме того, горизонтальная осевая линия демпфирования Но2 опоры трансмиссии 65 соответствует горизонтальной осевой линии демпфирования Но1 опоры источника энергии 64.
В настоящем изобретении осевые линии демпфирования Vr1, Vr2 и Ho1, Ho2 проходят в соответствующих направлениях ослабления вибрации опор 64 и 65.
Осевые линии пружин (осевые упругости) Sp1 и Sp2 соответствуют направлениям упругости опор 64 и 65. А именно, направления нагрузок, приложенных к опорам 64 и 65, и направления упругости опор 64 и 65 согласуются друг с другом так, чтобы можно было избежать углового смещения.
Как показано на фиг.6, то есть, как показано на виде спереди на транспортное средство 10, вертикальная осевая линия пружины Sp1 опоры источника энергии 64 и вертикальная осевая линия пружины Sp2 опоры трансмиссии 65 идут с наклоном и пересекаются в точке выше центра тяжести Gc силового агрегата 50.
Точно так же вертикальная осевая линия демпфирования Vr1 опоры источника энергии 64 и вертикальная осевая линия демпфирования Vr2 опоры трансмиссии 65 идут с наклоном и пересекаются в точке выше центра тяжести Gc силового агрегата 50.
В частности, вертикальная осевая линия демпфирования Vr1 опоры источника энергии 64 проходит под углом 1 к вертикальной линии или отвесу VL с наклоном в сторону центральной осевой линии CL, проходящей в центре транспортного средства по его ширине с перемещением точки Pv выше кузова транспортного средства. Вертикальная осевая линия демпфирования Vr2 опоры трансмиссии 65 проходит под углом 2 к вертикальной линии или отвесу VL с наклоном в сторону центральной осевой линии CL, проходящей в центре транспортного средства по его ширине, с перемещением точки Pv выше кузова транспортного средства. Например, угол наклона 1 вертикальной осевой линии демпфирования Vr1 равен углу наклона 2 вертикальной осевой линии демпфирования Vr2. Точка Pv расположена в точке пересечения вертикальных осевых линий демпфирования Vr1 и Vr2, т.е. выше центра тяжести Gc силового агрегата 50.
Как показано на фиг.7, то есть, как показано на виде сверху на транспортное средство 10, горизонтальные осевые линии демпфирования Но1 и Ho2 проходят под углом как к продольной, так и к поперечной оси транспортного средства 10. Как показано на виде сверху на транспортное средство 10, горизонтальные осевые линии демпфирования Ho1 и Ho2 идут с наклоном и пересекаются под прямым углом.
В частности, горизонтальная осевая линия демпфирования Но1 опоры источника энергии 64 проходит под углом 1 к горизонтальной линии HL, идущей параллельно осевой линии CL в направлении спереди назад (в продольном направлении) кузова транспортного средства с наклоном в сторону центральной осевой линии CL и в сторону задней части кузова транспортного средства. Точно так же горизонтальная осевая линия демпфирования Но2 опоры трансмиссии 65 проходит под углом 2 к горизонтальной линии HL, идущей параллельно осевой линии CL в направлении спереди назад (в продольном направлении) кузова транспортного средства с наклоном в сторону центральной осевой линии CL и в сторону задней части кузова транспортного средства. Горизонтальные осевые линии демпфирования Но1 и Но2 идут с наклоном и пересекаются в точке Ph.
На фиг.8 схематично показана модификация опорной конструкции силового агрегата транспортного средства по настоящему изобретению (см. фиг.6).
Как показано на фиг.8, в состав модифицированной опорной конструкции силового агрегата транспортного средства 60 входит опора источника энергии 64 и опора трансмиссии 65, расположенные ниже центра тяжести Gc конструкции силового агрегата 50.
В модифицированной опорной конструкции силового агрегата транспортного средства 60 вертикальная осевая линия демпфирования Vr1 опоры источника энергии 64 и вертикальная осевая линия демпфирования Vr2 опоры трансмиссии 65 идут с наклоном и пересекаются в точке выше центра тяжести Gc силового агрегата 50, как показано на виде спереди на транспортное средство 10.
Другие узлы и элементы модифицированной опорной конструкции силового агрегата транспортного средства 60, изображенной на фиг.8, идентичны узлам и элементам опорной конструкции силового агрегата транспортного средства, изображенной на фиг.1-7, и на фиг.8 они отмечены теми же самыми позициями, что и на фиг.6. Таким образом, во избежание ненужного дублирования эти узлы и элементы не будут описываться.
Ниже описаны характеристики опорной конструкции силового агрегата транспортного средства 60.
Теперь рассмотрим сравнительный пример, в котором вертикальные осевые линии демпфирования Vr1 и Vr2 установлены по отвесу. В этом примере центр суммарного упругого воздействия Ed всех опор 61, 62, 63, 64 и 65 располагается ниже центра тяжести Gc силового агрегата 50, как показано на фиг.6 и 8.
С другой стороны, в соответствии с предпочтительным вариантом осуществления настоящего изобретения, точка пересечения Pv, в которой пересекаются вертикальные осевые линии демпфирования Vr1 и Vr2, расположена выше центра тяжести Gc силового агрегата 50, как показано на фиг.6 и 8. Вследствие этого центр упругого воздействия, образованный только опорой источника энергии 64 и опорой трансмиссии 65, совпадает с точкой пересечения Pv и, таким образом, центр суммарного упругого воздействия Eu всех опор 61-65 может быть сдвинут вверх от центра суммарного упругого воздействия. Таким образом, центр суммарного упругого воздействия Eu может совпадать с центром тяжести Gc силового агрегата 50.
В частности, на примере, изображенном на фиг.6, силовой агрегат 50 имеет тенденцию к покачиванию в направлении слева направо по мере того, как кузов транспортного средства 20 поворачивается (см. фиг.1) во время поворота транспортного средства 10. Чтобы минимизировать это неудобство, опора источника энергии 64 и опора трансмиссии 65 расположены выше левого и правого боковых торцев (центра тяжести Gc) силового агрегата 50 так, чтобы тангенциальные составляющие движения покачивания силового агрегата 50 совпадали с направлениями осевых линий пружин Sp1 и Sp2 и вертикальными осевыми линиями демпфирования Vr1 и Vr2. Такие узлы могут ограничивать и ослаблять движения покачивания силового агрегата 50. Вследствие этого смещение (режим) силового агрегата 50 слева направо может быть преобразовано в переходное движение (режим) или горизонтальное движение (режим), которые сопровождаются невращательным движением, что ниже будет описано подробно.
На фиг.9А и 9В изображены виды спереди, соответствующие фиг.6, на которых схематично показаны транспортные средства, снабженные опорными конструкциями силовых агрегатов. В частности, на фиг.9А изображен сравнительный пример (“СОМР. EX.”) транспортного средства 10А с опорной конструкцией силового агрегата, в то время как на фиг.9В показан предпочтительный пример (“EX.”) транспортного средства 10 с опорной конструкцией силового агрегата по настоящему изобретению.
Как показано на фиг.9А, в опорной конструкции силового агрегата 60, предусмотренной в сравнительном примере транспортного средства 10А, опоры статической нагрузки 61, 62 и 63 и опора источника энергии 64А расположены ниже центра тяжести Gc силового агрегата 50, и центр суммарного упругого воздействия Ed всех опор 61, 62, 63 и 64А расположен ниже центра тяжести Gc силового агрегата 50.
По мере поворота транспортного средства 10А влево или вправо на поворачивающееся транспортное средство 10А действует центробежная сила. Таким образом, подвески (не показаны), обеспечивающие поддержку левого и правого колес 81L и 81R транспортного средства 10A, амортизатор и пружина подвески с одной или с наружной стороны, расположенной с внешней стороны относительно другой подвески, если смотреть по ходу поворота транспортного средства 10А, сжимаются, в то время как амортизатор и пружина другой или внутренней подвески растягиваются. Вследствие этого кузов транспортного средства 20 наклоняется таким образом, что одна или внешняя сторона транспортного средства, расположенная снаружи относительно другой стороны, если смотреть по ходу поворота транспортного средства 10A, оседает вниз, в то время как другая или внутренняя сторона транспортного средства поднимается вверх; а именно, кузов транспортного средства 20 поворачивается по часовой стрелке/против часовой стрелки относительно продольной оси кузова транспортного средства 20, проходящей через центр тяжести.
Например, по мере того как транспортное средство 10А поворачивает влево по ходу движения, кузов транспортного средства 20 поворачивается против часовой стрелки (см. фиг.9А). В это время на силовой агрегат 50 действует инерция, заставляющая его оставаться на месте или удерживающая его в текущем состоянии так, что в силовом агрегате 50 возникает сила инерции fi, направленная влево или внутрь, если смотреть по ходу поворота. Поскольку центр тяжести Gc силового агрегата 50 расположен выше центра суммарного упругого воздействия Ed всех опор 61, 62, 63 и 64А, то на силовой агрегат 50 действует момент, сосредоточенный около центра упругости Ed. Поэтому силовой агрегат 50 смещается горизонтально относительно кузова транспортного средства 20, но также создает момент вращения относительно центра суммарного упругого воздействия Ed; a именно на силовой агрегат 50 действует двойной режим, включающий горизонтальное смещение и вращательное движение, то есть режим, когда горизонтальное смещение и вращательное движение влияют друг на друга. Чтобы повысить эксплуатационную устойчивость и комфортабельность транспортного средства 10A, предпочтительно ограничить влияние тяжелого силового агрегата на кузов транспортного средства 20.
В отличие от этого предпочтительный вариант осуществления опорной конструкции силового агрегата 60 располагается так, как показано на фиг.9В. А именно, вертикальная осевая линия демпфирования Vr1 опоры источника энергии 64 и вертикальная осевая линия демпфирования Vr2 опоры трансмиссии 65 проходят с наклоном к осевой линии (проходящей через центр транспортного средства по его ширине) и идут с наклоном и пересекаются в точке выше центра тяжести Gc силового агрегата 50. Таким образом, центр суммарного упругого воздействия Eu всех опор 61-65, по существу, совпадает с центром тяжести Gc силового агрегата 50.
Поэтому, по мере того, как транспортное средство 10 поворачивает влево по ходу движения, момент, например, возникающий в результате действия силы инерции fi, силовой агрегат 50 смещается незначительно, и силовой агрегат 50 перемещается только в горизонтальном направлении, практически без вращения. Вследствие этого можно ограничить влияние тяжелого силового агрегата поперечного типа 50 на кузов транспортного средства 20 во время движения транспортного средства 10. Таким образом, компоновка, предложенная в данном изобретении, может повысить эксплуатационную устойчивость и комфортабельность транспортного средства 10.
В частности, в соответствии с предпочтительным вариантом осуществления настоящего изобретения опора источника энергии 64 и опора трансмиссии 65 установлены выше левого и правого торцев (центр тяжести Gc) силового агрегата 50, при этом направление вращательного движения силового агрегата 50 совпадает с направлением осевых линий пружин Sp1 и Sp2 и вертикальных осевых линий демпфирования Vr1 и Vr2. Такое расположение может еще более эффективно ограничить или ослабить вращательное движение силового агрегата 50 так, что любое смещение силового агрегата 50 может быть преобразовано в горизонтальное смещение.
Кроме того, при обычном расположении, как показано на виде спереди на транспортное средство 10, вертикальные осевые линии демпфирования Vr1 и Vr2 идут с наклоном и пересекаются в точке выше центра тяжести Gc силового агрегата 50, и центр суммарного упругого воздействия Eu всех опор можно устанавливать на оптимальной высоте. При установке центра суммарного упругого воздействия Eu всех опор на оптимальной высоте, высотные отметки опирания опоры источника энергии 64 и опоры трансмиссии 65 могут быть установлены относительно свободно, так что в итоге степень свободы транспортного средства может быть улучшена значительно.
Кроме того, при использовании вышеупомянутых опор статической нагрузки 61, 62, 63, опоры источника энергии 64, опоры трансмиссии 65, опорной конструкция силового агрегата 60 (см. фиг.9В), передача вибрации силового агрегата поперечного типа 50 на кузов транспортного средства 20 может быть ограничена.
Кроме того, как показано на фиг.7, то есть, как показано на виде сверху на транспортное средство 10, горизонтальная осевая линия демпфирования Ho1 опоры источника энергии 64 и горизонтальная осевая линия демпфирования Но2 опоры трансмиссии 65 проходят под углом как к продольной, так и к поперечной оси транспортного средства 10. Таким образом, можно эффективно ограничивать нагрузки (включая вибрацию) в направлении спереди назад (в продольном направлении) и поперечном направлении силового агрегата 50. Поэтому, когда транспортное средство 10 выполняет вращательное движение, килевое или осевое покачивание, применение предпочтительного варианта осуществления может ограничить влияние тяжелого силового агрегата поперечного типа 50 на кузов транспортного средства 20, вызванное инерцией. В результате применение предпочтительного варианта осуществления настоящего изобретения может повысить эксплуатационную устойчивость и комфортабельность транспортного средства 10.
Кроме того, потому что, как показано на фиг.7, то есть, как показано на виде сверху на транспортном средстве 10, горизонтальные осевые линии демпфирования Но1 и Но2 идут с наклоном и пересекаются под прямым углом, можно эффективно ограничивать нагрузки (включая вибрацию) в направлении спереди назад (в продольном направлении) и поперечном направлении силового агрегата 50.
В транспортном средстве 10 по настоящему изобретению силовой агрегат 50 не обязательно должен размещаться в отсеке силового агрегата 31, расположенном в передней части кузова транспортного средства 20, например силовой агрегат 50 может размещаться в отсеке силового агрегата 31, расположенном в центральной или средней части кузова транспортного средства 20.
Кроме того, для установки силового агрегата 50 в кузове транспортного средства 20 не обязательно должен использоваться передний подрамник 40, например силовой агрегат 50 может устанавливаться непосредственно на кузов транспортного средства 20.
Кроме того, под источником энергии 51 необязательно должен пониматься двигатель; это может быть и электромотор. Под трансмиссией 52 необязательно должна пониматься трансмиссия, это может быть просто редуктор.
Кроме того, под опорой источника энергии 64 и опорой трансмиссии 65 не должны пониматься только гидравлические опоры; это могут быть и механизмы ослабления вибрации двустороннего действия, имеющие соответствующие вертикальные осевые линии демпфирования Vr1 и Vr2 и горизонтальные осевые линии демпфирования Ho1 и Но2, расположенные под прямым углом к вертикальным осевым линиям демпфирования Vr1 и Vr2; например это могут быть резиновые опоры.
Если первый опорный элемент 101 опоры источника энергии 64 и опоры трансмиссии 65 соединяется с источником энергии 51 (или трансмиссией 52), то второй опорный элемент 102 соединяется с кузовом транспортного средства 20, и наоборот, если второй опорный элемент 102 соединяется с источником энергии 51 (или трансмиссией 52), то первый опорный элемент 101 соединяется с кузовом транспортного средства 20.
Вышеупомянутые углы наклона 1 и 2 вертикальных осевых линий демпфирования Vr1 и Vr2 и вышеупомянутые углы наклона 1 и 2 горизонтальных осевых линий демпфирования Но1 и Но2 могут принимать любые значения, например они могут быть установлены так, чтобы точки пересечения Pv и Ph совпадали с осевой линией CL или с прямой линией, проходящей через центр тяжести Gc параллельно продольной осевой линии CL.
Промышленная применимость
Опорная конструкция силового агрегата 60 по настоящему изобретению может использоваться в тех случаях, когда силовой агрегат поперечного типа 50 с источником энергии 51 и трансмиссией 52, соединенными вместе в поперечном направлении транспортного средства, располагается в передней или средней части кузова транспортного средства 20, и когда статическая нагрузка от силового агрегата 50 воспринимается опорами статической нагрузки 61-63, расположенными ниже центра тяжести силового агрегата 50.
Формула изобретения
1. Опорная конструкция силового агрегата транспортного средства, включающая: силовой агрегат поперечного типа, размещаемый в отсеке силового агрегата, и включающий источник энергии и трансмиссию, соединенные вместе в поперечном направлении транспортного средства; опоры статической нагрузки, расположенные ниже центра тяжести упомянутого силового агрегата и поддерживающие упомянутый силовой агрегат; опору источника энергии, расположенную на концевом участке источника энергии, удаленном от трансмиссии; опору трансмиссии, расположенную на концевом участке трансмиссии, удаленном от источника энергии; причем опора источника энергии имеет первый опорный элемент, подсоединяемый к силовому агрегату, а опора трансмиссии имеет второй опорный элемент, устанавливаемый на корпус транспортного средства, при этом первый и второй опорные элементы соединены друг с другом посредством упругого элемента; при этом осевая линия упругого элемента упомянутой опоры источника энергии и осевая линия упругого элемента упомянутой опоры трансмиссии идут с наклоном и пересекаются в точке выше центра тяжести упомянутого силового агрегата.
2. Опорная конструкция силового агрегата транспортного средства, включающая: силовой агрегат поперечного типа, размещаемый в отсеке силового агрегата, и включающий источник энергии и трансмиссию, соединенные вместе в поперечном направлении транспортного средства; опоры статической нагрузки, расположенные ниже центра тяжести упомянутого силового агрегата и поддерживающие упомянутый силовой агрегат; опору источника энергии, расположенную на концевом участке источника энергии, удаленном от трансмиссии; и опору трансмиссии, расположенную на концевом участке трансмиссии, удаленном от источника энергии, при этом как осевая линия демпфирования упомянутой опоры источника энергии, так и осевая линия демпфирования упомянутой опоры трансмиссии идут с наклоном и пересекаются в точке выше центра тяжести упомянутого силового агрегата.
3. Опорная конструкция силового агрегата транспортного средства, включающая: силовой агрегат поперечного типа, размещаемый в отсеке силового агрегата, и включающий источник энергии и трансмиссию, соединенные вместе в поперечном направлении транспортного средства; опоры статической нагрузки, расположенные ниже центра тяжести упомянутого силового агрегата и поддерживающие упомянутый силовой агрегат; опору источника энергии, расположенную на концевом участке источника энергии, удаленном от трансмиссии; и опору трансмиссии, расположенную на концевом участке трансмиссии, удаленном от источника энергии, при этом упомянутая опора источника энергии и упомянутая опора трансмиссии имеют заданную вертикальную осевую линию демпфирования и заданную горизонтальную осевую линию демпфирования, проходящую под прямым углом к вертикальной осевой линии демпфирования, при этом горизонтальные осевые линии демпфирования упомянутой опоры источника энергии и упомянутой опоры трансмиссии идут под углом к продольной оси и к поперечной оси транспортного средства.
4. Опорная конструкция силового агрегата транспортного средства по п.3, отличающаяся тем, что горизонтальные осевые линии демпфирования упомянутой опоры источника энергии и упомянутой опоры трансмиссии идут наклонно и пересекаются под прямым углом.
РИСУНКИ
|
|