|
|
(21), (22) Заявка: 2008138121/11, 24.09.2008
(24) Дата начала отсчета срока действия патента:
24.09.2008
(43) Дата публикации заявки: 27.03.2010
(46) Опубликовано: 20.09.2010
(56) Список документов, цитированных в отчете о поиске:
RU 2325285 C1, 27.05.2008. RU 2325568 C1, 27.05.2008. GB 1026167 A, 14.04.1966. EP 1429045 A2, 16.06.2004.
Адрес для переписки:
644050, г.Омск, пр. Мира, 11, ГОУ ВПО ОмГТУ, информационно-патентный отдел, О.И. Бабенко
|
(72) Автор(ы):
Хамитов Рустам Нуриманович (RU)
(73) Патентообладатель(и):
Государственное образовательное учреждение высшего профессионального образования “Омский государственный технический университет” (RU)
|
(54) ПНЕВМАТИЧЕСКАЯ ПОДВЕСКА
(57) Реферат:
Изобретение относится к машиностроению. Подвеска содержит резинокордную оболочку (1) с крышкой (2), образующие основную рабочую полость (3), дополнительную полость (4) и расположенную между ними перегородку (5). На перегородке (5) закреплено клапанное устройство (6), содержащее цилиндр с радиально расположенными перепускными отверстиями. Внутри полости цилиндра установлен запорный клапан в виде поршня. Обмотка электромагнита подключена к системе управления (7). Над цилиндром расположена крышка с радиальными перепускными отверстиями и имеющая на внутренней поверхности концентрический уплотняющий элемент. Поршень имеет по всему нижнему периметру выступающий обод. На верхней кромке обода расположен уплотняющий элемент. Поршень дополнительно снабжен штоком, закрытым гофрометаллизированной оболочкой. На штоке расположена возвратная пружина и магнитопроводящий сердечник. Между внутренней поверхностью крышки и боковой поверхностью поршня образован концентрический кольцевой зазор. Система управления (7) клапанным устройством содержит последовательно соединенные преобразователь перемещения объекта, формирователь сигнала скорости объекта, блок управления силовым ключом, силовой ключ для подключения обмотки электромагнита к источнику питания. Достигается повышение надежности работы пневматической подвески при ударных воздействиях на амортизируемый объект. 3 ил.
Изобретение относится к области машиностроения, в частности к амортизационным устройствам с использованием газа в камере с эластичной стенкой.
Известно устройство для осуществления гашения вертикальных колебаний транспортных средств (а.с. 261926, М.кл. B60G 11/26), содержащее резинокордную оболочку с крышкой, дополнительную емкость, расположенную между ними перегородку с калиброванными отверстиями и клапанное устройство в виде свободно висящей на перегородке диафрагмы, перекрывающей перепускные отверстия на ходе отбоя.
К основным недостаткам устройства относится то, что при вынужденных колебаниях амортизированного объекта с большими амплитудами происходит смещение его среднего положения вниз относительно исходного вследствие постоянного аккумулирования энергии сжатого газа в дополнительной емкости в начале каждого хода сжатия, что приводит к уменьшению динамического хода подвески и снижению эффективности гашения колебаний.
Известно также устройство пневматической подвески, описанное в патенте на изобретение 2325285 РФ, М. кл. B60G 11/26, F16F 9/04, (прототип), содержащее резинокордную оболочку с крышкой, образующие основную рабочую полость, дополнительную емкость, расположенную между ними перегородку, на которой жестко закреплен цилиндр с центральным осевым отверстием и с радиально расположенными перепускными отверстиями, внутри полости цилиндра установлен запорный клапан в виде поршня, в нижней части цилиндра установлена обмотка электромагнита, закрытая снизу торцевой крышкой цилиндра и подключенная к системе управления клапаном, запорный клапан в виде поршня имеет с одной стороны направляющий магнитопроводящий сердечник и снабжен возвратной пружиной, помещенной внутри обмотки электромагнита, причем поршень выполнен полым и имеет центральное сквозное отверстие и симметричные отверстия в нижней стенке поршня. Система управления клапаном содержит последовательно соединенные преобразователь перемещения объекта, формирователь сигнала скорости объекта, блок управления силовым ключом, силовой ключ для подключения обмотки электромагнита к источнику питания.
Основным недостатком устройства является низкая надежность при ударных воздействиях на амортизируемый объект. При ударных воздействиях, сопровождающихся большими перемещениями подвески на ходе сжатия, в основной рабочей полости создается высокое давление газа, воздействующее на поверхность поршня. Сила давления газа может превысить силы упругости возвратной пружины поршня, удерживающего его в положении перекрытия радиальных перепускных отверстий, при этом клапанное устройство самопроизвольно открывается на ходе сжатия, упругая сила подвески резко снижается, что может привести к пробою подвески.
Задачей предлагаемого изобретения является повышение надежности работы пневматической подвески при ударных воздействиях на амортизируемый объект.
Поставленная задача достигается тем, что в известной пневматической подвеске, содержащей резинокордную оболочку с крышкой, образующие основную рабочую полость, дополнительную полость, расположенную между ними перегородку, на которой жестко закреплен цилиндр с радиально расположенными перепускными отверстиями, внутри полости цилиндра установлен запорный клапан в виде поршня, имеющий с одной стороны магнитопроводящий сердечник и снабженный возвратной пружиной, обмотку электромагнита, подключенную к системе управления, включающую последовательно соединенные преобразователь перемещения объекта, формирователь сигнала скорости объекта, блок управления силовым ключом, силовой ключ для подключения обмотки электромагнита к источнику питания, согласно изобретению, над цилиндром расположена крышка, имеющая на боковой поверхности радиально расположенные перепускные отверстия, а на внутренней поверхности концентрический уплотняющий элемент, запорный клапан в виде поршня имеет по всему нижнему периметру поршня выступающий обод, на верхней кромке которого расположен уплотняющий элемент, поршень дополнительно снабжен штоком, закрытым гофрометаллизированной оболочкой, с расположенной на нем возвратной пружиной и установленным на его конце магнитопроводящим сердечником, причем между внутренней поверхностью крышки и боковой поверхностью поршня образован кольцевой зазор.
Сущность изобретения поясняется чертежами, где
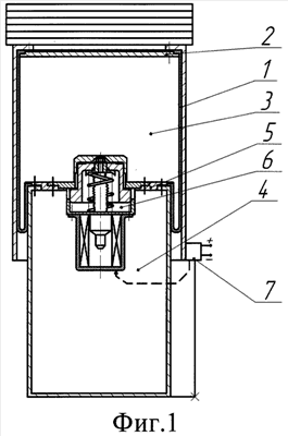
– на фиг.1 представлена предложенная пневматическая подвеска;
– на фиг.2 представлено клапанное устройство;
– на фиг.3 приведена структурная схема системы управления клапанным устройством.
Пневматическая подвеска содержит резинокордную оболочку 1 с крышкой 2, образующие основную рабочую полость 3, дополнительную полость 4, расположенную между ними перегородку 5 с клапанным устройством 6 и систему управления клапанным устройством 7.
Клапанное устройство 6, включает цилиндр 8, установленный внутри него запорный клапан в виде поршня 9, который имеет по всему нижнему периметру выступающий обод 10. На его верхней кромке расположен по всей поверхности уплотняющий элемент 11. Цилиндр 8 имеет радиальные перепускные отверстия 12. Поршень 9 снабжен штоком 13, закрытым гофрометаллизированной оболочкой 14, с расположенной на нем возвратной пружиной 15 и установленным на его конце магнитопроводящим сердечником 16. Снизу цилиндра 8 установлена обмотка электромагнита 17, закрытая крышкой 18 и подключенная к системе управления 7 клапанным устройством. Шток 13 и поршень 9 крепятся с помощью центрирующего крепежного элемента 19. Над цилиндром 8 установлена крышка 20, имеющая на внутренней поверхности концентрический уплотняющий элемент 21, на ее боковой поверхности расположены радиальные перепускные отверстия 22. Между внутренней боковой поверхностью крышки 20 и боковой поверхностью поршня 9 в месте расположения перепускных отверстий 22 образован кольцевой зазор 23, благодаря которому полости 3 и 4 сообщаются посредством радиальных перепускных отверстий 22 крышки 20 и радиальных перепускных отверстий 12 цилиндра 8.
Система управления 7 клапанным устройством содержит соединенные последовательно преобразователь перемещения 24 объекта, формирователь 25 сигнала скорости объекта, блок управления 26 силовым ключом, силовой ключ 27 для подключения обмотки электромагнита 17 к источнику питания.
Пневматическая подвеска работает следующим образом.
На ходе сжатия пневматической подвески давление в рабочей 3 полости увеличивается, в дополнительной 4 полости остается постоянным, т.к. запирающий элемент в виде поршня 9 под действием возвратной пружины 15 находится в верхнем положении, и полости 3 и 4 разъединены. Выступающий обод 10 поршня 9 с уплотняющим элементом 11 перекрывает отверстия 12 цилиндра 8. При этом верхняя часть поршня 9 прижата к концентрическому уплотняющему элементу 21 внутренней поверхности крышки 20. За счет уплотняющих элементов 11, 21 и гофрометаллизированной оболочки 14 при верхнем расположении поршня 9 газ под высоким давлением из рабочей полости 4 не проникает в дополнительную полость 3. Газ воздействует на внешнюю поверхность крышки 20 и через ее перепускные отверстия 22 на боковую поверхность поршня 9.
В начале хода отбоя система управления 7 включает электромагнит 17 и поршень 9 занимает нижнее положение. Полости 3 и 4 сообщаются посредством радиальных перепускных отверстий 22 крышки 20 и радиальных перепускных отверстий 12 цилиндра 8 и зазора 23. Дополнительная полость 4 полностью включена в работу. При этом газ перетекает из полости 4 с более высоким давлением в полость 3 и давление газа в полостях 3 и 4 выравнивается.
В начале очередного хода сжатия система управления 7 выключает электромагнит 17 и поршень 9, под действием возвратной пружины 15 занимает снова верхнее положение и перекрывает отверстия 12. Далее процесс повторяется.
В силу предложенной конструкции клапанного устройства резкое повышение давления газа в основной рабочей полости на ходе сжатия при ударных нагрузках теперь не может привести к сжатию возвратной пружины и самопроизвольному включению клапанного устройства, т.к. давление газа воздействует на внешнюю поверхность крышки и на боковую поверхность поршня и снижает вероятность пробоя (жестких ударов) предлагаемой пневматической подвески. Использование предлагаемой пневматической подвески позволяет повысить надежность ее работы при ударных нагрузках на амортизируемый объект, в частности в транспортных средствах, улучшает условия работы экипажа и обеспечивает требуемую сохранность грузов при их транспортировке.
Формула изобретения
Пневматическая подвеска, содержащая резинокордную оболочку с крышкой, образующие основную рабочую полость, дополнительную полость, расположенную между ними перегородку, на которой жестко закреплен цилиндр с радиально расположенными перепускными отверстиями, внутри полости цилиндра установлен запорный клапан в виде поршня, имеющий с одной стороны магнитопроводящий сердечник и снабженный возвратной пружиной, обмотку электромагнита, подключенную к системе управления, включающую последовательно соединенные преобразователь перемещения объекта, формирователь сигнала скорости объекта, блок управления силовым ключом, силовой ключ для подключения обмотки электромагнита к источнику питания, отличающаяся тем, что над цилиндром расположена крышка, имеющая на боковой поверхности радиально расположенные перепускные отверстия, а на внутренней поверхности концентрический уплотняющий элемент, запорный клапан в виде поршня имеет по всему нижнему периметру поршня выступающий обод, на верхней кромке которого расположен уплотняющий элемент, поршень дополнительно снабжен штоком, закрытым гофрометаллизированной оболочкой, с расположенной на нем возвратной пружиной и установленным на его конце магнитопроводящим сердечником, причем между внутренней поверхностью крышки и боковой поверхностью поршня образован кольцевой зазор.
РИСУНКИ
|
|