|
|
(21), (22) Заявка: 2008120054/11, 20.05.2008
(24) Дата начала отсчета срока действия патента:
20.05.2008
(43) Дата публикации заявки: 27.11.2009
(46) Опубликовано: 20.09.2010
(56) Список документов, цитированных в отчете о поиске:
RU 2304523 C1, 20.08.2007. SU 968536 A1, 01.11.1982. EP 1429045 A2, 16.06.2004. US 2056106 A, 29.09.1936.
Адрес для переписки:
644050, г.Омск, пр. Мира, 11, ГОУ ВПО ОмГТУ, информационно-патентный отдел, О.И. Бабенко
|
(72) Автор(ы):
Хамитов Рустам Нуриманович (RU), Аверьянов Геннадий Сергеевич (RU)
(73) Патентообладатель(и):
Государственное образовательное учреждение высшего профессионального образования “Омский государственный технический университет” (RU)
|
(54) ПНЕВМАТИЧЕСКАЯ ПОДВЕСКА
(57) Реферат:
Изобретение относится к области машиностроения. Подвеска содержит основной упругий элемент (2) и соосно установленный внутри него дополнительный упругий элемент в виде полого плунжера (4), разделенный поршнем (5) на две полости. Шток (6) поршня (5) укреплен в крышке (3) основного упругого элемента (2). Верхняя полость плунжера (4) соединена первым воздушным каналом (7) через первый электропневмоклапан (8), управляемый первым коммутирующим устройством (12), для подвода массы газа в начале каждого хода отбоя с ресивером (9), а для отвода массы газа в начале каждого хода сжатия – с атмосферой. Нижняя полость плунжера (4) соединена вторым воздушным каналом (10) через второй электропневмоклапан (11), управляемый вторым коммутирующим устройством (13), для подвода массы газа в начале каждого хода сжатия с ресивером (9), а для отвода массы газа в начале каждого хода отбоя – с атмосферой. Шток (6) поршня (5) выполнен сплошным. Коммутирующие устройства (12, 13) электропневмоклапанов (8, 11) управляются блоком управления (14), содержащим преобразователь перемещения (15) основного упругого элемента, соединенный с формирователем сигнала относительной скорости (16). Достигается повышение эффективности гашения колебаний во всем амплитудно-частотном диапазоне внешнего воздействия. 2 ил.
Изобретение относится к области машиностроения, в частности к амортизационным устройствам для гашения вертикальных колебаний транспортных средств с использованием газа в камере с эластичной стенкой.
Известно устройство для осуществления гашения вертикальных колебаний транспортных средств, описанное в а.с. 261926, М. кл. B60G 11/26, содержащее резинокордную оболочку с крышкой, дополнительную емкость, расположенную между ними перегородку с калиброванными отверстиями и клапанное устройство в виде свободно висящей на перегородке диафрагмы, перекрывающей перепускные отверстия на ходе отбоя.
К основным недостаткам устройства относится то, что при вынужденных колебаниях амортизированного объекта с большими амплитудами происходит смещение его среднего положения вниз относительно исходного вследствие постоянного аккумулирования энергии сжатого газа в дополнительной емкости в начале каждого хода сжатия, что приводит к уменьшению динамического хода подвески и снижению эффективности гашения колебаний.
Известно устройство пневматической подвески, описанное в патенте на изобретение 2304523 РФ, М. кл. B60G 15/12, F16F 9/05 (прототип), содержащее установленный между подрессоренной и неподрессоренной массами основной упругий элемент и соосно установленный внутри него дополнительный упругий элемент, выполненный в виде полого плунжера, который разделен поршнем на две полости, при этом штоковая полость плунжера соединена воздушным каналом через электропневмоклапан, управляемый с помощью датчика скорости и коммутирующего устройства, для подвода массы газа в начале каждого хода отбоя – с ресивером, а для отвода этой массы газа в начале каждого хода сжатия – с атмосферой, а вторая полость плунжера через отверстие в днище внутреннего плунжера также соединена с атмосферой, причем шток поршня укреплен в крышке основного упругого элемента.
К основным недостаткам устройства относится низкая эффективность гашения колебаний при работе из-за того, что при ходе сжатия в создании упругой составляющей подвески участвует масса газа (воздуха) в основной рабочей полости пневматической подвески, в создании упругих сил не участвует вторая полость дополнительного упругого элемента, постоянно соединенная с атмосферой. К недостаткам устройства относится конструктивная сложность изготовления штока поршня, имеющего радиальные каналы и осевой канал по всей своей длине.
Также недостатком устройства является то, что при воздействии внешних сил высокой частоты и низкой амплитуды происходит постоянное аккумулирование энергии сжатого газа в штоковой полости плунжера в начале каждого хода сжатия в силу инерционности перетекания газа при ходе отбоя из штоковой полости плунжера, что приводит к уменьшению динамического хода подвески и снижению эффективности гашения колебаний.
Задачей предлагаемого изобретения является повышение эффективности гашения колебаний во всем амплитудно-частотном диапазоне внешнего воздействия.
Поставленная задача достигается тем, что в пневматической подвеске, содержащей установленный между подрессоренной и неподрессоренной массами основной упругий элемент и соосно установленный внутри него дополнительный упругий элемент в виде полого плунжера, разделенный поршнем на две полости, шток поршня укреплен в крышке основного упругого элемента, верхняя полость плунжера соединена первым воздушным каналом через первый электропневмоклапан, управляемый первым коммутирующим устройством, для подвода массы газа в начале каждого хода отбоя – с ресивером, а для отвода этой массы газа в начале каждого хода сжатия – с атмосферой, согласно изобретению нижняя полость плунжера соединена вторым воздушным каналом через второй электропневмоклапан, управляемый вторым коммутирующим устройством, для подвода массы газа в начале каждого хода сжатия – с ресивером, а для отвода этой массы газа в начале каждого хода отбоя – с атмосферой, шток поршня выполнен сплошным, причем оба коммутирующих устройства электропневмоклапанов управляются блоком управления, содержащим преобразователь перемещения основного упругого элемента, формирователь сигнала относительной скорости, преобразователь перемещения основного упругого элемента соединен с формирователем сигнала относительной скорости, который соединен с первым и вторым коммутирующими устройствами электроклапанов.
Сущность изобретения поясняется чертежами, где
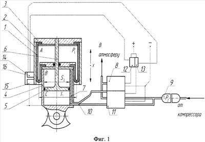
на фиг.1 представлена предложенная пневматическая подвеска;
на фиг.2 приведены упруго-демпфирующие характеристики пневматической подвески.
Пневматическая подвеска содержит резинокордную оболочку 1, расположенную в стакане 2 с крышкой 3, и внутренний полый плунжер 4, которые образуют переменную полость «А». При этом внутренний полый плунжер 4 выполнен в виде цилиндра и разделен поршнем 5 на две полости: верхнюю полость «В» и нижнюю полость «С». Шток 6 поршня 5 жестко закреплен на крышке 3 упругого элемента.
Верхняя полость «В» расположена с возможностью соединения через первый воздушный канал 7 и первый электропневмоклапан (ЭПК) 8 с ресивером 9 транспортного средства или с атмосферой через ЭПК 8. Нижняя полость «С» расположена с возможностью соединения через второй воздушный канал 10 и второй ЭПК 11 с ресивером 9 транспортного средства или с атмосферой через ЭПК 11.
Для подвода массы газа из ресивера 9 в полость «В» в начале каждого хода отбоя и отвода этой массы газа в начале каждого хода сжатия в атмосферу предназначен ЭПК 8. Для подвода массы газа из ресивера 9 в полость «С» в начале каждого хода сжатия и отвода этой массы газа в начале каждого хода отбоя в атмосферу предназначен ЭПК 11.
Включение ЭПК 8 и 11 производится с помощью первого 12 и второго 13 коммутирующих устройств ЭПК соответственно, которые управляются блоком управления 14. Он содержит преобразователь перемещения 15 основного упругого элемента, формирователь сигнала относительной скорости 16. Преобразователь перемещения 15 основного упругого элемента соединен с формирователем сигнала относительной скорости 16, который соединен с первым 12 и вторым 13 коммутирующими устройствами ЭПК 8 и 11 соответственно.
Пневматическая подвеска работает следующим образом.
В статическом положении пневматической подвески сила тяжести подрессоренной массы уравновешивается только за счет избыточного давления в полости «А» основного упругого элемента, т.е.:
M*g=P10*S1,
где М – масса амортизируемого объекта;
Р10 – давление в полости «А» в статическом положении пневматической подвески;
S1 – эффективная площадь пневматической подвески;
g – ускорение свободного падения.
При малых амплитудах перемещения, когда размах колебаний не превышает определенного порогового значения , преобразователь перемещения 15 основного упругого элемента выдает сигнал низкого уровня на формирователь сигнала относительной скорости 16, который не включает коммутирующие устройства 12 и 13. ЭПК 8 и 11 при этом соединяют одновременно обе полости «В» и «С» плунжера 4 с атмосферой, давление газа в полостях равно атмосферному. Упругая сила пневматической подвески определяется только давлением газа в полости «А», т.е.:
Pyпp=P1*S1,
где Р1 – текущее давление в полости «А» пневматической подвески.
При больших амплитудах перемещения преобразователь перемещения 15 основного упругого элемента выдает сигнал высокого уровня на формирователь сигнала относительной скорости 16.
На ходе сжатия пневматической подвески формирователь сигнала относительной скорости 16 выдает сигнал на коммутирующее устройство 13, включающее ЭПК 11, которое соединяет нижнюю полость «С» плунжера 4 через второй воздушный канал 10 с ресивером 9. Верхняя полость «В» соединена с атмосферой через первый воздушный канал 7 и ЭПК 8, давление газа в ней равно атмосферному. Подвод массы газа из ресивера 9 в нижнюю полость «С» под давлением Р2 Р1 оказывает существенное содействие основному упругому элементу и приводит к увеличению упругой силы пневматической подвески на величину P2*S2, т.е.:
Pyпp=P1*S1+P2*S2,
где Р2 – текущее давление в ресивере;
S2 – эффективная площадь поршня в полостях плунжера.
На ходе отбоя пневматической подвески формирователь сигнала относительной скорости 16 выдает сигнал на коммутирующее устройство 12, включающее ЭПК 8, которое соединяет верхнюю полость «В» плунжера 4 через первый воздушный канал 7 с ресивером 9. Нижняя полость «С» соединена с атмосферой через второй воздушный канал 10 и ЭПК 11, давление газа в ней равно атмосферному. Подвод массы газа в верхнюю полость «В» под давлением Р2 Р1 оказывает существенное противодействие основному упругому элементу и приводит к уменьшению упругой силы пневматической подвески на величину P2*S2, т.е.:
Pyпp=P1*S1-P2*S2.
Таким образом, давление Р2 противодействует давлению Р1. В начале очередного хода сжатия коммутирующее устройство 12 выключает ЭПК 8, которое соединяет верхнюю полость «В» плунжера 4 через первый воздушный канал 7 с атмосферой, и давление в ней снижается до атмосферного давления.
На фиг.2 представлены упруго-демпфирующие характеристики пневматической подвески. Участок «а-b» характеристики соответствует работе только основного упругого элемента при ходе отбоя и ходе сжатия без включения в работу полостей плунжера, участок «b-c-d-a» соответствует совместной работе основного упругого элемента и верхней полости плунжера при ходе отбоя, а участок «a-e-f-b» соответствует совместной работе основного упругого элемента и нижней полости плунжера при ходе сжатия. Уменьшение упругой силы пневматической подвески в начале каждого хода отбоя за счет подвода дополнительной энергии в верхнюю полость плунжера в противофазе движению объекта и быстрое увеличение ее в начале каждого хода сжатия за счет подвода дополнительной энергии в нижнюю полость плунжера приводит к интенсивному демпфированию вертикальных колебаний значительной амплитуды. Также предлагаемая пневматическая подвеска обеспечивает широкое регулирование упруго-демпфирующей характеристики за счет уменьшения или увеличения подводимого давления Р2 в полости плунжера.
Таким образом, предлагаемая пневматическая подвеска обеспечивает повышение эффективности гашения колебаний во всем амплитудно-частотном диапазоне внешнего воздействия.
Формула изобретения
Пневматическая подвеска, содержащая установленный между подрессоренной и неподрессоренной массами основной упругий элемент и соосно установленный внутри него дополнительный упругий элемент в виде полого плунжера, разделенный поршнем на две полости, шток поршня укреплен в крышке основного упругого элемента, верхняя полость плунжера соединена первым воздушным каналом через первый электропневмоклапан, управляемый первым коммутирующим устройством, для подвода массы газа в начале каждого хода отбоя с ресивером, а для отвода этой массы газа в начале каждого хода сжатия – с атмосферой, отличающаяся тем, что нижняя полость плунжера соединена вторым воздушным каналом через второй электропневмоклапан, управляемый вторым коммутирующим устройством, для подвода массы газа в начале каждого хода сжатия с ресивером, а для отвода этой массы газа в начале каждого хода отбоя – с атмосферой, шток поршня выполнен сплошным, причем оба коммутирующих устройства электропневмоклапанов управляются блоком управления, содержащим преобразователь перемещения основного упругого элемента, формирователь сигнала относительной скорости, преобразователь перемещения основного упругого элемента соединен с формирователем сигнала относительной скорости, который соединен с первым и вторым коммутирующими устройствами электроклапанов.
РИСУНКИ
|
|