|
(21), (22) Заявка: 2008119892/11, 19.05.2008
(24) Дата начала отсчета срока действия патента:
19.05.2008
(43) Дата публикации заявки: 27.11.2009
(46) Опубликовано: 20.09.2010
(56) Список документов, цитированных в отчете о поиске:
SU 968536 A1, 01.11.1982. RU 2304523 C1, 20.08.2007. EP 1429045 A2, 16.06.2004. US 2056106 A, 29.09.1936.
Адрес для переписки:
644050, г.Омск, пр. Мира, 11, ГОУ ВПО ОмГТУ, информационно-патентный отдел, О.И. Бабенко
|
(72) Автор(ы):
Хамитов Рустам Нуриманович (RU), Аверьянов Геннадий Сергеевич (RU)
(73) Патентообладатель(и):
Государственное образовательное учреждение высшего профессионального образования “Омский государственный технический университет” (RU)
|
(54) ПНЕВМАТИЧЕСКАЯ ПОДВЕСКА
(57) Реферат:
Изобретение относится к машиностроению, в частности к амортизационным устройствам для гашения вертикальных колебаний транспортных средств с использованием газа в камере с эластичной стенкой. Подвеска содержит установленный между подрессоренной и неподрессоренной массами основной упругий элемент (2) и соосно установленный внутри него дополнительный упругий элемент (4). Упругий элемент (4) выполнен в виде полого плунжера, разделенного поршнем (5) на две полости. Нижняя полость плунжера соединена воздушным каналом (7) через электропневмоклапан (8) для подвода массы газа в начале каждого хода сжатия с ресивером (9), а для отвода массы газа в начале каждого хода отбоя – с атмосферой. В цепи питания электропневмоклапана (8) расположено коммутирующее устройство (13), соединенное с датчиком скорости (12). Верхняя полость плунжера через осевой (10) и радиальные (11) отверстия в штоке (6) поршня (5) соединена с атмосферой. Шток (6) укреплен в крышке (3) основного упругого элемента (2). Достигается повышение упругих свойств пневматической подвески и обеспечение регулирования ее упругодемпфирующих характеристик во всем амплитудно-частотном диапазоне. 2 ил.
Изобретение относится к области машиностроения, в частности к амортизационным устройствам для гашения вертикальных колебаний транспортных средств с использованием газа в камере с эластичной стенкой.
Известно устройство для осуществления гашения вертикальных колебаний транспортных средств (а.с. 261926, М. кл. B60G 11/26), содержащее резинокордную оболочку с крышкой, дополнительную емкость, расположенную между ними перегородку с калиброванными отверстиями и клапанное устройство в виде свободно висящей на перегородке диафрагмы, перекрывающей перепускные отверстия на ходе отбоя.
К основным недостаткам устройства относится то, что при вынужденных колебаниях амортизированного объекта с большими амплитудами происходит смещение его среднего положения вниз относительно исходного вследствие постоянного аккумулирования энергии сжатого газа в дополнительной емкости в начале каждого хода сжатия, что приводит к уменьшению динамического хода подвески и снижению эффективности гашения колебаний.
Известно также устройство пневматической подвески (а.с. 968536, М. кл. F16F 9/04 – прототип), содержащее резинокордную оболочку с крышкой, образующие основную рабочую полость, дополнительную емкость, установленную соосно и внутри основной рабочей полости, расположенную между ними перегородку, на которой жестко закреплено клапанное цилиндрическое устройство со штоком. В перегородке расположены калиброванное отверстие и предохранительный клапан для перетекания газа в процессе работы. Основной и дополнительный упругие элементы пневматической подвески установлены между подрессоренной и неподрессоренной массами амортизируемого объекта.
Основным недостатком данного устройства является нестабильность упругих свойств подвески и низкая эффективность гашения колебаний из-за того, что в гашении колебаний и в создании упругой составляющей подвески участвует постоянная масса газа (воздуха), часть которой то отводится в начале хода отбоя, то возвращается на ходе сжатия. Такое перетекание из основного упругого элемента подвески в дополнительный и наоборот приводит к нагреву рабочей среды подвески, что ведет к изменению термодинамических параметров, а следовательно, к ухудшению упругих и демпфирующих свойств подвески. Недостатком данного устройства является также то, что пневматический упругий элемент не обеспечивает регулирование упругодемпфирующей характеристики при воздействии любых внешних сил переменной частоты и амплитуды.
Задачей предлагаемого изобретения является повышение упругих свойств пневматической подвески и обеспечение регулирования ее упругодемпфирующих характеристик во всем амплитудно-частотном диапазоне внешнего воздействия.
Поставленная задача достигается тем, что в пневматической подвеске, содержащей установленный между подрессоренной и неподрессоренной массами основной упругий элемент и соосно установленный внутри него дополнительный упругий элемент, согласно изобретению дополнительный упругий элемент выполнен в виде полого плунжера, который разделен поршнем на две полости, при этом нижняя полость плунжера соединена воздушным каналом через электропневмоклапан, в цепи питания которого расположено коммутирующее устройство, соединенное с датчиком скорости, для подвода массы газа в начале каждого хода сжатия – с ресивером, а для отвода этой массы газа в начале каждого хода отбоя – с атмосферой, а верхняя полость плунжера через осевые и радиальные отверстия в штоке поршня также соединена с атмосферой, причем шток поршня укреплен в крышке основного упругого элемента.
Существенным отличием предложенной пневматической подвески является то, что увеличение упругой силы основного упругого элемента на ходе сжатия осуществляется не за счет отсечки части массы газа из дополнительного упругого элемента в основной, как это осуществляется в известной пневматической подвеске, а за счет подвода дополнительной массы газа под давлением из автономного источника энергии в нижнюю полость дополнительного упругого элемента в фазе движения объекта, что приводит к резкому увеличению потенциальной энергии системы в начале хода сжатия, а значит и в период всего хода сжатия.
Кроме того, предлагаемая пневматическая подвеска обеспечивает широкое регулирование упругодемпфирующей характеристики за счет уменьшения или увеличения подводимого давления от автономного источника энергии в фазе движения объекта.
Сущность изобретения поясняется чертежами, где
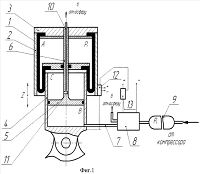
– на фиг.1 представлена предложенная пневматическая подвеска;
– на фиг.2 приведены упругодемпфирующие характеристики пневматической подвески.
Пневматическая подвеска содержит резинокордную оболочку 1, расположенную в стакане 2 с крышкой 3 и внутренний полый плунжер 4, которые образуют переменную полость «А». При этом внутренний полый плунжер 4 выполнен в виде цилиндра и разделен поршнем 5 на две полости: нижнюю полость «В» и верхнюю полость «С». Шток 6 поршня 5 жестко закреплен на крышке 3 упругого элемента.
Нижняя полость «В» расположена с возможностью соединения через гибкий трубопровод 7 и электропневмоклапан (ЭПК) 8 или с ресивером 9 транспортного средства, или с атмосферой.
Верхняя полость «С» постоянно сообщается через осевое отверстие 10 и радиальные отверстия 11 в штоке 6 поршня 5 с атмосферой, при этом никакого сопротивления при протекании воздуха из полости «С» в атмосферу или обратно не создается.
Для подвода массы газа из ресивера 9 в полость «В» в начале каждого хода сжатия и отвода этой массы газа в начале каждого хода отбоя в атмосферу предназначен ЭПК 8.
Управление ЭПК 8 производится датчиком относительной скорости 12 внешнего стакана 2, выход которого соединен с коммутирующим устройством 13, расположенным в цепи питания ЭПК 8.
Предлагаемая пневматическая подвеска работает следующим образом.
В статическом положении пневматической подвески сила тяжести подрессоренной массы уравновешивается только за счет избыточного давления в полости «А», т.е.
M*g=P10*S1,
где М – масса амортизируемого объекта;
Р10 – давление в полости «А» в статическом положении пневматической подвески;
S1 – эффективная площадь пневматической подвески;
g – ускорение свободного падения.
На ходе сжатия пневматической подвески давление газа в полости «А» возрастает, в полости «С» остается равным атмосферному. В начале хода сжатия от датчика относительной скорости 12 подается сигнал на коммутирующее устройство 13, которое соединяет ЭПК 8 с источником питания, и последний, включаясь, сообщает полость «В» через трубопровод 7 с ресивером 9.
Подвод массы газа в нижнюю полость «В» под давлением Р2 Р1 оказывает существенное содействие основному упругому элементу и приводит к резкому увеличению упругой силы пневматической подвески на величину P2*S2, т.е. упругая сила пневматической подвески:
Pynp=P1*S1+P2*S2,
где Р1 – текущее давление в полости «А»;
Р2 – текущее давление в нижней полости «В»;
S2 – эффективная площадь в нижней полости.
Таким образом, давление Р2 содействует давлению Р1. В начале очередного хода отбоя ЭПК 8 обесточивается и полость «В» через ЭПК 8 сообщается с атмосферой, что приводит к восстановлению упругой силы пневматической подвески:
Pynp=P1*S1.
На фиг.2 представлены упругодемпфирующие характеристики пневматической подвески. Участок «а-b» характеристики соответствует работе только основного упругого элемента 3 при ходе отбоя и ходе сжатия без включения в работу нижней полости «В», участок «a-c-d-b» соответствует совместной работе основного упругого элемента 3 и нижней полости «В» при ходе сжатия.
Также пневматическая подвеска, реализующая предложенный способ гашения вертикальных колебаний объектов, обеспечивает широкое регулирование упругодемпфирующей характеристики за счет уменьшения или увеличения подводимого давления Р2 в нижнюю полость «В», т.е. предлагаемая пневматическая подвеска обеспечивает регулирование упругодемпфирующей характеристики во всем амплитудно-частотном диапазоне внешнего воздействия.
Таким образом, увеличение упругой силы пневматической подвески в начале каждого хода сжатия за счет подвода из автономного источника дополнительной энергии в полость дополнительного упругого элемента в фазе движения объекта и быстрое восстановление ее в начале каждого хода отбоя приводит к увеличению жесткости пневматической подвески, что повышает безопасность движения транспортного средства при движении с большой скоростью по ровным дорогам, снижает крен транспортного средства при поворотах, оседание при трогании с места, переключении передач и торможении, способствует повышению комфортабельности экипажа при движении транспортного средства.
Формула изобретения
Пневматическая подвеска, содержащая установленный между подрессоренной и неподрессоренной массами основной упругий элемент и соосно установленный внутри него дополнительный упругий элемент, отличающаяся тем, что дополнительный упругий элемент выполнен в виде полого плунжера, который разделен поршнем на две полости, при этом нижняя полость плунжера соединена воздушным каналом через электропневмоклапан, в цепи питания которого расположено коммутирующее устройство, соединенное с датчиком скорости, для подвода массы газа в начале каждого хода сжатия с ресивером, а для отвода этой массы газа в начале каждого хода отбоя – с атмосферой, а верхняя полость плунжера через осевые и радиальные отверстия в штоке поршня также соединена с атмосферой, причем шток поршня укреплен в крышке основного упругого элемента.
РИСУНКИ
|