|
|
(21), (22) Заявка: 2009120342/03, 28.05.2009
(24) Дата начала отсчета срока действия патента:
28.05.2009
(46) Опубликовано: 20.09.2010
(56) Список документов, цитированных в отчете о поиске:
RU 2297274 C1, 20.04.2007. SU 973686 A, 15.11.1982. SU 1301476 A1, 07.04.1987. US 2004/0151064 A1, 05.08.2004. US 4737036 A, 12.04.1988.
Адрес для переписки:
665709, Иркутская обл., г. Братск, ул. Макаренко, 40, ГОУ ВПО “БрГУ”, патентный отдел, С.В. Кварацхелия
|
(72) Автор(ы):
Фигура Константин Николаевич (RU), Ефремов Игорь Михайлович (RU)
(73) Патентообладатель(и):
Государственное образовательное учреждение высшего профессионального образования “Братский государственный университет” (RU)
|
(54) УСТРОЙСТВО ДЛЯ ПЕРЕМЕШИВАНИЯ БЕТОННОЙ СМЕСИ
(57) Реферат:
Изобретение относится к устройствам для перемешивания бетонной смеси и может быть использовано в промышленности строительных материалов, в строительстве и других областях строительной индустрии для производства полидисперсных материалов. Изобретение позволит повысить эффективность перемешивания. Устройство для перемешивания бетонной смеси содержит камеру смешивания, ротор с приводом вращения, выполненный с лопастями, жестко закрепленный в центре камеры смешивания вибратор с осью, с посаженными на нее с зазором тарельчатыми пружинами и амортизаторами. Вибратор выполнен с упорными шайбами большего и меньшего диаметра, при этом тарельчатые пружины, амортизаторы размещаются на оси в следующем порядке: тарельчатая пружина, упорная шайба большего диаметра, резиновый амортизатор, упорная шайба большего диаметра, тарельчатая пружина, упорная шайба меньшего диаметра, резиновый амортизатор, упорная шайба меньшего диаметра. 2 ил.
Изобретение относится к смесителям периодического действия и может быть использовано в промышленности строительных материалов, в строительстве и других областях строительной индустрии для производства полидисперсных материалов.
Из уровня техники известны различные способы и устройства для осуществления перемешивания бетонной смеси.
Например, известен способ перемешивания бетонной смеси (Паталашвили Т.Н., Татишвили А.З., Цилосани З.Н. Виброперемешивание бетонных смесей. – Тр. НИИЖБ, 1961, вып.21, с.35-41), включающий операции вращения смеси в серийной бетономешалке С-355, оказания на бетонную смесь вибрационного воздействия посредством пакета глубинных вибраторов, работающих в частотном диапазоне 3000-6000 колебаний в минуту.
К недостаткам данного способа можно отнести невысокую производительность, высокую степень износа подшипниковых узлов.
Также известен способ виброперемешивания бетонной смеси (Субботкин М.И., Тринкер В.Л. Виброперемешивание растворов и бетонов. Рига, 1961, – с.71-85), включающий операции вращения лопастей растворомешалки, возбуждения вибрации в лопастях путем вращения дебалансного вала.
К недостаткам данного способа можно отнести значительные энергозатраты на вращение лопастей и дебалансного вала, низкую производительность, а также высокий процент износа подшипниковых узлов.
Известен роторный смеситель с механическим вибровозбудителем, содержащий камеру смешивания и вибратор, выполненный в виде тарельчатых пружин с резиновыми амортизаторами. Вибратор жестко закреплен в середине камеры смешивания и имеет кривошипно-шатунный механизм, с помощью которого тарельчатые пружины возбуждают колебания частиц в горизонтальном направлении. В смесителе имеется возможность регулировать интенсивность вибрации посредством изменения частоты вращения привода кривошипно-шатунного механизма (Патент RU 2297274 С1, 20.04.2007, B01F 11/00).
К недостаткам известной конструкции относятся значительные энергозатраты на деформирование тарельчатых пружин, неэффективная конструкция вибратора, приводящая к низкой производительности, а также высокий процент износа резиновых амортизаторов.
Техническим результатом изобретения является оптимизация конструкции смесителя, направленная на повышение эффективности перемешивания, уменьшение энергозатрат при производстве вибрационного воздействия на обрабатываемую смесь, увеличение производительности смесителя.
Технический результат по отношению к способу достигается тем, что в нашем способе выполняют операцию вращения лопаток смесителя, а для возбуждения вибрации выполняют операцию по деформированию тарельчато-пружинного вибратора в вертикальном направлении, амплитуда колебаний при этом составляет 0,5 миллиметра.
Технический результат по отношению к устройству достигается тем, что устройство, содержащее камеру смешивания, ротор с приводом вращения, выполненный с лопастями, вибратор, представляющий собой ось с посаженными на нее с зазором и в следующем порядке элементами: тарельчатая пружина, упорная шайба большего диаметра (шайба 1), резиновый амортизатор, шайба 1, тарельчатая пружина, упорная шайба меньшего диаметра (шайба 2), резиновый амортизатор, шайба 2, жестко закреплен в середине камеры смешивания. Конструкция имеет кривошипно-шатунный механизм, с помощью которого посредством крышки производится деформация вибратора, вследствие чего возбуждаются колебания частиц в горизонтальном направлении.
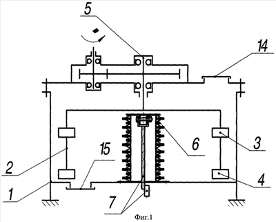
Сущность изобретения поясняется изображениями на фиг.1 изображена принципиальная схема роторного смесителя с тарельчато-пружинным вибровозбудителем, на фиг.2 – схема тарельчато-пружинного вибратора.
Смеситель содержит камеру 1 смешивания, ротор 2, выполненный с лопатками 3, 4. Ротор 2 имеет привод 5 вращения. В центре камеры 1 смешивания установлен вибратор 6 с механическим возбуждением колебаний от кривошипно-шатунного механизма 7. Вибратор 6 представляет собой ось 16 с посаженными на нее с зазором и в следующем порядке элементами: тарельчатая пружина 9, упорная шайба большего диаметра (шайба 1) 10, резиновый амортизатор 11, шайба 1 10, тарельчатая пружина 9, упорная шайба меньшего диаметра (шайба 2) 12, резиновый амортизатор 11, шайба 2 12. Кривошипно-шатунный механизм 7 имеет возможность оказывать деформирующее воздействие на вибратор 6 посредством крышки 8. Крышка 8 прикреплена к кривошипно-шатунному механизму 7 болтовым соединением 13. В смесителе имеются также окна 14 и 15 загрузки и выгрузки материалов соответственно.
Сущность способа перемешивания бетонной смеси состоит в том, что при деформировании вибратора 6 происходит возбуждение вибрационного поля, разрушающего ядро неперемешиваемости, за счет чего обеспечивается равномерное перемешивание смеси.
Устройство работает следующим образом: привод 5 вращает ротор 2 и лопасти 3, 4, тем самым перемешивая приготавливаемую смесь. Кривошипно-шатунный механизм 7 оказывает деформирующее воздействие на тарельчатые пружины 9, шайбы 10, 12, резиновые амортизаторы 11 посредством крышки 8, прикрепленной к нему болтовым соединением 13, тем самым заставляя их совершать колебательные движения в возвратно-поступательном направлении, возбуждая колебания частиц смеси в горизонтальном направлении. В целом конструкция смесителя позволяет интенсифицировать процесс смешивания при одновременном снижении потерь энергии на вращение ротора 2, вследствие снижения сил сопротивления перемещению лопастей 3 и 4, повышении подвижности и турбулизации смеси во всем объеме камеры смесителя 1.
В целом конструкция смесителя позволяет повысить производительность и снизить затраты энергии на процесс смешивания особенно жестких бетонных смесей, объясняющиеся тем, что при колебательном движении вибратора с амплитудным значением ускорения вибрации 180 250 м/с2 происходит более однородное тиксотропное разрушение структуры материала во всем пространстве камеры смешивания, проявляющееся в уменьшении вязкости в 50 60 раз и более по сравнению с вязкостью известного неразрушенного материала. В связи с этим уменьшается сопротивление перемещению лопастей и потребляемая мощность привода вращения ротора. Вместе с тем достигается эффект виброкипения смеси под действием колебательного движения диска вибратора, большая турбулизация и более интенсивная циркуляция частиц смеси, в результате чего сокращается время смешивания, повышается производительность смесителя. Кроме того, предлагаемая конструкция вибратора позволяет снизить энергозатраты при производстве вибрационного воздействия на обрабатываемую смесь благодаря тому, что основное деформирующее воздействие, создаваемое кривошипно-шатунным механизмом, воспринимается упругими резиновыми амортизаторами.
Формула изобретения
Устройство для перемешивания бетонной смеси, содержащее камеру смешивания, ротор с приводом вращения, выполненный с лопастями, жестко закрепленный в центре камеры смешивания вибратор с осью, с посаженными на нее с зазором тарельчатые пружины и амортизаторы, отличающееся тем, что вибратор выполнен с упорными шайбами большего и меньшего диаметра, при этом тарельчатые пружины, амортизаторы размещаются на оси в следующем порядке: тарельчатая пружина, упорная шайба большего диаметра, резиновый амортизатор, упорная шайба большего диаметра, тарельчатая пружина, упорная шайба меньшего диаметра, резиновый амортизатор, упорная шайба меньшего диаметра.
РИСУНКИ
|
|