Патент на изобретение №2399485

Published by on




РОССИЙСКАЯ ФЕДЕРАЦИЯ



ФЕДЕРАЛЬНАЯ СЛУЖБА
ПО ИНТЕЛЛЕКТУАЛЬНОЙ СОБСТВЕННОСТИ,
ПАТЕНТАМ И ТОВАРНЫМ ЗНАКАМ
(19) RU (11) 2399485 (13) C2
(51) МПК

B28B1/00 (2006.01)
B28B3/12 (2006.01)

(12) ОПИСАНИЕ ИЗОБРЕТЕНИЯ К ПАТЕНТУ

Статус: по данным на 08.10.2010 – действует

(21), (22) Заявка: 2006124428/03, 10.07.2006

(24) Дата начала отсчета срока действия патента:

10.07.2006

(30) Конвенционный приоритет:

19.07.2005 IT RE2005A000084

(43) Дата публикации заявки: 20.01.2008

(46) Опубликовано: 20.09.2010

(56) Список документов, цитированных в отчете о
поиске:
US 2004081719 A1, 29.04.2004. RU 2035296 C1, 20.05.1995. EP 1334811 A2, 13.08.2003. WO 2005025829 A1, 24.03.2005. МХРА 02012389 А, 13.12.2004.

Адрес для переписки:

117342, Москва, ул. Миклухо-Маклая, 65, корп.4, кв.34, пат.пов. И.Л.Стояченко, рег. 23

(72) Автор(ы):

ВАЛЛИ Силвано (IT)

(73) Патентообладатель(и):

САКМИ КООПЕРАТИВА МЕККАНИЧИ ИМОЛА СОСИЕТА’ КООПЕРАТИВА (IT)

(54) СИСТЕМА ДЛЯ ИЗМЕНЕНИЯ ПОРЯДКА РАСПОЛОЖЕНИЯ ПОРОШКОВ, ОБРАЗУЮЩИХ ПОЛОСУ ДЛЯ ФОРМОВАНИЯ КЕРАМИЧЕСКИХ ПЛИТОК ИЛИ ПАНЕЛЕЙ

(57) Реферат:

Изобретение относится к области строительства. Система для изменения порядка расположения порошков, образующих полосу для формования керамических плиток или панелей, содержит накопитель призматической формы с передней гранью и задней гранью, которые расположены поперек по отношению к направлению перемещения расположенной под ними подвижной горизонтальной поверхности, на которую высыпаются порошки. Расстояние между этими гранями равно толщине полосы порошков, предназначенных для уплотнения. Накопитель приспособлен для размещения на подвижной поверхности полосы порошков с повторением того же заранее заданного порядка расположения порошков, который они имели в накопителе. Система содержит приспособления для изменения заранее заданного порядка расположения порошков, такие приспособления установлены на накопителе и способны оказывать на порошки воздействие до того, как порошки размещают на подвижной поверхности. Технический результат заключается в создании системы для изменения порядка расположения порошков, образующих полосу для формования керамических плиток или панелей. 15 з.п. ф-лы, 9 ил.

Изобретение относится к системе для изменения порядка расположения порошков, образующих полосу для формования керамических плиток или панелей.

В заявке РСТ/IB 2005/000025 на имя того же лица, которое является заявителем в данной заявке, описано устройство для подготовки цветных порошков для формования керамических плиток или панелей, содержащее вертикальный накопитель, расположенный над подвижной горизонтальной поверхностью, на которую высыпаются порошки. Накопитель имеет форму параллелепипеда и содержит первую пару граней, называемых боковыми, которые расположены параллельно направлению перемещения подвижной поверхности, и вторую пару граней соответственно переднюю и заднюю, которые расположены перпендикулярно направлению перемещения подвижной поверхности. Расстояние между передней гранью и задней гранью равно толщине полосы порошков, предназначенных для уплотнения. Цветные порошки загружают через верхнюю горловину и выгружают через нижнюю горловину, расположенную на таком расстоянии от подвижной поверхности, на которую высыпаются порошки, которое равно толщине полосы. Порошки загружают в накопитель в заранее заданном порядке с помощью соответствующего загрузочного устройства и в непрерывном режиме выгружают на расположенную под ним подвижную поверхность.

Таким образом на подвижной полосе формируют полосу порошков, повторяя тот же заранее заданный порядок расположения порошков, который они имели в накопителе.

Данное устройство позволяет не только формовать керамические панели желаемой толщины в непрерывном режиме, просто изменяя расстояние между передней и задней гранью и пропорционально изменяя расстояние между разгрузочной горловиной и подвижной поверхностью, но также и изготавливать панели, имитирующие природные камни, такие как мрамор и гранит.

Несмотря на то, что эстетические эффекты, которые можно получить с помощью такого устройства, очень похожи на те, которыми обладают природные камни, тем не менее, невозможно точно воссоздать характерные прерывистые декоративные узоры, возникающее в результате определенных природных явлений, таких как сдвиг породы, или таких, которые способствуют образованию прожилок, направленных случайным образом.

В связи с этим существует насущная потребность в разработке системы, которая позволила бы получить полосу порошков, предназначенных для уплотнения, имеющую измененный порядок расположения прожилок, так, чтобы воссоздать также и прерывистый декоративный узор, возникающий в результате определенного природного явления, такого как, например, сдвиг и смещение породы и т.д., без потери тех преимуществ, которые уже были достигнуты устройством с вертикальным накопителем, права на которое принадлежат тому же лицу, которое является заявителем в данной заявке.

Цель данного изобретения состоит в том, чтобы создать систему для изменения порядка расположения порошков, образующих полосу для формования керамических плиток или панелей, обладающую такими конструкционными и функциональными характеристиками, что она способна удовлетворить вышеописанные потребности и, в то же время, преодолеть вышеуказанные недостатки.

Этой цели достигают посредством создания системы для изменения порядка расположения порошков, образующих полосу для формования керамических плиток или панелей, в соответствии с пунктом 1 формулы изобретения.

В зависимых пунктах формулы изобретения описаны предпочтительные и наиболее выгодные варианты выполнения системы по данному изобретению.

Другие особенности и преимущества данного изобретения станут очевидными после прочтения нижеследующего описания, приведенного в качестве примера, не ограничивающего рамки изобретения, снабженного сопроводительными чертежами, на которых:

на Фиг.1 и 2, соответственно, представлен вертикальный разрез системы для изменения порядка расположения порошков, образующих полосу для формования керамических плиток или панелей, в соответствии с первым вариантом выполнения данного изобретения,

на Фиг.1А и 2А система, изображенная на Фиг.1 и 2, показана с той стороны, которая на соответствующих чертежах указана стрелками А и В,

на Фиг.2В в увеличении показана часть системы, изображенной на Фиг.2,

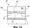
на Фиг.3 система согласно второму варианту выполнения изобретения показана в разрезе,

на Фиг.3А система, изображенная на Фиг.3, показана с той стороны, которая указана стрелкой С,

на Фиг.4 система согласно третьему варианту выполнения изобретения показана в разрезе,

на Фиг.4А система, изображенная на Фиг.4, показана с той стороны, которая указана стрелкой D.

На чертежах показана система для изменения порядка расположения порошков, образующих полосу для формования керамических плиток или панелей в соответствии с данным изобретением.

Система содержит вертикальный накопитель 34, расположенный над подвижной горизонтальной поверхностью 2, на которую высыпаются порошки. Накопитель 34 выполнен в форме параллелепипеда и содержит первую пару граней 34с, называемых боковыми, которые расположены параллельно направлению перемещения подвижной поверхности 2 (обозначено стрелкой), и вторую пару граней 34а, 34b, соответственно, переднюю и заднюю, которые расположены перпендикулярно направлению перемещения подвижной поверхности 2. Расстояние В между передней гранью 34а и задней гранью 34b предпочтительно равно толщине S полосы 100 порошков, предназначенных для уплотнения. Однако толщина S и расстояние В могут незначительно отличаться. Порошки 33 загружают сверху через горловину 37 и выгружают через расположенную внизу, на противоположном конце, горловину 38, при этом горловина 38 расположена на таком расстоянии от подвижной поверхности 2, на которую высыпаются порошки, которое равно толщине S полосы 100. Порошки 33 загружают в накопитель 34 в заранее заданном порядке с помощью соответствующих загрузочных приспособлений, которые не показаны на чертежах с целью упрощения демонстрации, и порошки непрерывно высыпаются на расположенную ниже подвижную поверхность 2. Таким образом на подвижной поверхности 2 может образовываться полоса 100 порошков, которая повторяет тот же заранее заданный порядок расположения порошков 33, который они имели в накопителе 34. В частности, заранее заданный порядок расположения порошков полосы 100 воспроизводит характерные для природных камней прожилки.

Согласно данному изобретению система дополнительно содержит приспособления для изменения заранее заданного порядка расположения порошков 33, находящихся в накопителе 34, способные оказывать на порошки 33 воздействие до того, как порошки размещают на подвижной поверхности 2.

Такие приспособления на Фиг.1 и 2, на которых приведен первый вариант выполнения изобретения, представлены аспиратором 11, установленным на накопителе 34, который способен удалять (всасывать) некоторое количество порошка 33 через отверстие 20, выполненное, предпочтительно, в задней грани 34b накопителя 34. В альтернативном варианте отверстие 20 может быть выполнено в передней грани 34а.

Отверстие 20 представляет собой щель, которая проходит в горизонтальном направлении по всей ширине L задней грани 34b накопителя 34 и может быть расположена в любое ее части, например в нижней части (Фиг.1, 1А) или посередине (Фиг.2, 2А) грани накопителя 34.

Высота отверстия предпочтительно составляет от 5 до 30 мм, что нужно для того, чтобы предотвратить высыпание порошка 33 из отверстия.

Существенно, чтобы отверстие 20 было таким, чтобы порошки 33 были доступны для горловины (концевого элемента) 11а аспиратора.

Например, и как показано на Фиг.2В, такое отверстие 20 выполнено в форме расположенного под наклоном канала, нижнее отверстие (самая нижняя часть канала) которого открывается внутрь накопителя 34, а верхнее отверстие (самая верхняя часть канала) – вовне накопителя 34.

Ширина горловины 11а аспиратора предпочтительно составляет от 1/3 до 1/10 ширины L накопителя 34.

При всасывании некоторого количества порошка 33 через отверстие 20 на участке выше зоны, в которой происходит всасывание, происходит увеличение скорости продвижения вниз порошков 33 по сравнению с остающейся неизменной скоростью продвижения вниз порошков, находящихся вокруг этого участка, в результате полоса 100, выходящая из накопителя 34, в точке, где на нее оказывали воздействие, имеет четкий разрыв прожилки, очень похожий на тот, который образуется в результате сдвига породы.

Для того чтобы получить различные варианты желаемого эффекта, необходимо поменять тот участок, на котором изменяют порядок расположения порошков, и/или режим всасывания. Например, аспиратор 11 можно выполнить с возможностью скольжения вдоль отверстия 20, а также можно изменить продолжительность всасывания, его мощность и ширину горловины 11а, через которую происходит всасывание и, таким образом, изменить зону, которая подвергается воздействию всасывания.

Во втором варианте выполнения, показанном на Фиг.3, 3А, приспособления для изменения порядка расположения порошков представляют собой вытяжной стержень 12, имеющий такую форму, чтобы его можно было перемещать в отверстии 20′ между наружным положением, при котором отверстие 20′ закрыто, что препятствует высыпанию порошков 33, и внутренним положением, как показано на Фиг.3, при котором отверстие 20′ открывается, и некоторое количество порошка 33 поступает из накопителя 34 через само отверстие 20′.

В связи с такой конструкцией, в отличие от отверстия 20 по первому варианту выполнения изобретения, через которое порошки не могли свободно выходить из накопителя 34, отверстие 20′ по второму варианту выполнения, которое может быть выполнено в любом месте, позволяет порошкам 33 свободно поступать из накопителя, такое поступление блокируется вытяжным стержнем 12.

Ширина стержня 12 предпочтительно составляет от 1/3 до 1/10 ширины L накопителя 34, отверстие 20′ имеет такую же ширину. При переведении вытяжного стержня 12 во внутреннее положение (Фиг.3) непосредственно под ним создается вакуум (пустое пространство), притягивающий порошки 33, которые поступают вниз по бокам вытяжного стержня 12 и собираются под ним. Это приводит к тому, что полоса 100, выходящая из накопителя 34, в точке, где на нее оказывали воздействие, имеет четкий разрыв прожилки, очень похожий на тот, который образуется в результате сдвига породы.

Для того чтобы получить различные варианты желаемого эффекта, необходимо поменять тот участок, на котором изменяют порядок расположения порошков, и/или изменить режим введения вытяжных стержней 12. Например, можно предусмотреть применение нескольких вытяжных стержней 12, расположенный в ряд (Фиг.3А), каждый из которых оказывает воздействие независимо в отверстии 20′, а также можно поменять время, в течение которого положение остается неизменным, и/или глубину введения вытяжных стержней 12 внутрь накопителя 34, или изменить ширину вытяжного стержня 12 и соответствующего отверстия 20′.

Согласно третьему варианту выполнения, показанному на Фиг.4, 4А, приспособления для изменения порядка расположения порошков представляют собой отсекающий стержень 13, такой формы, чтобы его можно было вводить в отверстие 20, выполненное так же, как и отверстие 20 по первому варианту выполнения, то есть так, чтобы порошки 33 не могли свободно выходить из накопителя. Введенный в отверстие 20 отсекающий стержень 13 (Фиг.4), по крайней мере, частично препятствует поступлению вниз порошков 33.

В таком введенном положении отсекающий стержень 13 создает непосредственно ниже себя вакуум (пустое пространство), притягивающий порошки 33, которые проходят вниз по сторонам стержня и собираются под ним. Это приводит к тому, что полоса 100, выходящая из накопителя 34, в точке, где на нее оказывали воздействие, имеет четкий разрыв прожилки, очень похожий на тот, который образуется в результате сдвига породы.

Для того чтобы получить различные варианты желаемого эффекта, необходимо поменять тот участок, на котором изменяют порядок расположения порошков, и/или изменить режим введения отсекающего стержня 13. Например, отсекающий стержень можно вводить в любой точке вдоль отверстия 20, а также можно поменять время, в течение которого положение остается неизменным, и/или глубину введения стержня 13 внутрь накопителя 34, или можно изменить ширину отсекающего стержня 13.

Из приведенного выше описания следует, что система для изменения порядка расположения порошков, образующих полосу для формования керамических плиток или панелей, по данному изобретению позволяет удовлетворить потребности и преодолеть недостатки, изложенные во вступительной части данного описания.

Действительно, система по данному изобретению позволяет получить полосу порошков, предназначенных для уплотнения, для формования панелей, с воспроизведением узоров, характерных для природных камней, в том числе дефектов, возникших в результате некоторых природных явлений, таких как сдвиг породы.

Несомненно, специалист в данной области может осуществить многочисленные модификации и создать варианты выполнения описанной выше системы с целью удовлетворения возможных и специфических требований, не выходя за рамки данного изобретения, как они установлены в приведенной ниже формуле изобретения.

Формула изобретения

1. Система для изменения порядка расположения порошков (33), образующих полосу (100) для формования керамических плиток или панелей, содержащая накопитель (34) призматической формы с передней гранью (34а) и задней гранью (34b), которые расположены поперек по отношению к направлению перемещения расположенной под ними подвижной горизонтальной поверхности (2), на которую высыпаются порошки, при этом расстояние (В) между этими гранями практически равно толщине (S) полосы (100) порошков, предназначенных для уплотнения, при этом накопитель (34) приспособлен для размещения на подвижной поверхности (2) полосы (100) порошков с повторением того же заранее заданного порядка расположения порошков (33), который они имели в накопителе (34), при этом система содержит приспособления (11; 12; 13) для изменения заранее заданного порядка расположения порошков (33), такие приспособления (11; 12; 13) для изменения порядка расположения установлены на накопителе (34) и способны оказывать на порошки (33) воздействие до того, как порошки размещают на подвижной поверхности (2).

2. Система по п.1, отличающаяся тем, что приспособления (11; 12; 13) для изменения порядка расположения оказывают воздействие на порошки (33) через по крайней мере одно отверстие (20; 20′), выполненное в одной из граней (34а, 34b) накопителя (34).

3. Система по п.1, отличающаяся тем, что приспособления (11; 12; 13) для изменения порядка расположения оказывают воздействие на порошки (33) через по крайней мере одно отверстие (20; 20′), выполненное в задней грани (34b) накопителя (34).

4. Система по п.2, отличающаяся тем, что упомянутое по крайней мере одно отверстие (20; 20′) расположено на середине высоты грани.

5. Система по п.2, отличающаяся тем, что упомянутое по крайней мере одно отверстие (20; 20′) расположено вблизи подвижной поверхности (2), на которую высыпают порошки.

6. Система по п.2, отличающаяся тем, что упомянутое по крайней мере одно отверстие (20) проходит в горизонтальном направлении по всей ширине (L) задней грани (34b) накопителя (34).

7. Система по п.6, отличающаяся тем, что упомянутое по крайней мере одно отверстие (20) выполнено так, что предотвращается нежелательное высыпание порошков (33) из накопителя (34).

8. Система по п.7, отличающаяся тем, что приспособления для изменения порядка расположения содержат приспособления для всасывания (11), приспособленные для удаления некоторого количества порошка (33) через упомянутое по крайней мере одно отверстие (20).

9. Система по п.8, отличающаяся тем, что приспособления для всасывания (11) оказывают воздействие на участке, который предпочтительно занимает от 1/3 до 1/10 ширины (L) задней грани (34b) накопителя (34).

10. Система по п.8, отличающаяся тем, что приспособления для всасывания (11) выполнены с возможностью скольжения в горизонтальном направлении.

11. Система по п.7, отличающаяся тем, что приспособления для изменения порядка расположения содержат отсекающий стержень (13) такой формы, что его можно вводить в упомянутое по крайней мере одно отверстие (20) так, чтобы по крайней мере частично препятствовать поступлению вниз порошков (33).

12. Система по п.11, отличающаяся тем, что отсекающий стержень (13) оказывает воздействие на участке, который занимает от 1/3 до 1/10 ширины (L) задней грани (34b) накопителя (34).

13. Система по п.2, отличающаяся тем, что упомянутое по крайней мере одно отверстие (20′) проходит в горизонтальном направлении и имеет длину, равную длине участка, на котором приспособления для изменения порядка расположения (12) оказывают воздействие.

14. Система по п.13, отличающаяся тем, что приспособления для изменения порядка расположения содержат вытяжной стержень (12), имеющий такую форму, что его можно перемещать в отверстии (20′) между наружным положением, при котором отверстие (20′) закрыто, и внутренним положением, при котором отверстие (20′) открывается и некоторое количество порошка (33) поступает из накопителя (34) через отверстие (20′).

15. Система по п.14, отличающаяся тем, что вытяжной стержень (12) оказывает воздействие на участке, который занимает от 1/3 до 1/10 ширины (L) задней грани (34b) накопителя (34).

16. Система по п.14, отличающаяся тем, что содержит множество вытяжных стержней (12), расположенный в ряд в горизонтальном направлении и оказывающих воздействие независимо.

РИСУНКИ

Categories: BD_2399000-2399999