|
(21), (22) Заявка: 2008138405/02, 29.09.2008
(24) Дата начала отсчета срока действия патента:
29.09.2008
(30) Конвенционный приоритет:
08.08.2008 UA a200810188
(43) Дата публикации заявки: 10.04.2010
(46) Опубликовано: 20.09.2010
(56) Список документов, цитированных в отчете о поиске:
RU 2275259 С2, 21.04.2006. SU 979115 А, 07.12.1982. SU 966803 А, 15.10.1982. RU 51910 U1, 10.03.2006. WO 95/32815 А1, 07.12.1995.
Адрес для переписки:
36002, Украина, г. Полтава, ул. Фрунзе, 153, Г.А. Колтунову
|
(72) Автор(ы):
Марченко Сергей Леонидович (UA)
(73) Патентообладатель(и):
Общество с ограниченной ответственностью “Полтавское научно-техническое предприятие КОЛАН” (UA)
|
(54) НОЖ ДЛЯ ПОРЕЗКИ ОТРАБОТАННЫХ МАСЛЯНЫХ И ТОПЛИВНЫХ ФИЛЬТРОВ С МЕТАЛЛИЧЕСКИМ КОРПУСОМ
(57) Реферат:
Изобретение относится к обработке твердых отходов, в частности к переработке масляных и топливных фильтров. Нож содержит полотно с основной режущей кромкой, которое выполнено с дополнительной режущей кромкой и площадкой, удерживающей и направляющей металл корпуса для подачи его на основную режущую кромку. Возможно выполнение полотна с по меньшей мере одним монтажным отверстием, основной режущей кромки и площадки – с переменным тавровидным сечением и расположение дополнительной режущей кромки в плоскости под углом 90° к плоскости основной режущей кромки. Обеспечивается порезка фильтров механическим путем с гарантированным разрезанием за один раз, улучшается технологичность процесса и дальнейшая утилизация. 3 з.п. ф-лы, 3 ил.
Изобретение относится к области переработки твердых отходов, а именно к переработке масляных и топливных фильтров, и предназначено для разработки и изготовления различных конструкций ножей для их порезки.
Известна конструкция ножа для порезки металлических фильтров (см. патент RU 2275259, кл. В09В 3/00, опубл. 21.04.2006).
Нож состоит из полотна ножа с основной режущей кромкой, заостренной на конце.
Эта конструкция ножа, как наиболее близкая по технической сути и функциональному назначению, принята за прототип.
Недостатком известной конструкции ножа является его ограниченная функциональная возможность, а именно таким ножом режутся отработанные масляные фильтры определенной конструкции в только вертикальном направлении. Кроме того, нож в процессе порезки может выйти за плоскость реза и корпус не будет разрезан полностью за один рез. Технический результат – порезка за одну операцию прохода режущего элемента с сохранением целостности крышки, улучшение процесса утилизации отработанных фильтров, осуществление вторичного использования крышки фильтра и других комплектующих частей.
В основу изобретения поставлена задача создания такой конструкции ножа для порезки отработанных масляных и топливных фильтров с металлическим корпусом, которая бы обеспечила порезку их как по цилиндрической образующей, так и по радиальной; обеспечила возможность осуществлять порезку фильтров механическим путем, как в полуавтоматическом, так и в автоматическом режиме с гарантированным разрезанием за один раз, длительной стойкостью действия.
Кроме того, такая конструкция ножа позволит улучшить технологичность процесса порезки фильтров, их дальнейшую утилизацию.
Эта задача решается следующим путем: нож для порезки отработанных масляных и топливных фильтров с металлическим корпусом, содержащий полотно с основной режущей кромкой, при этом полотно выполнено с дополнительной режущей кромкой и площадкой, удерживающей и направляющей металл корпуса для подачи его на основную режущую кромку.
Основная режущая кромка и площадка выполнены с переменным тавровидным сечением, а полотно выполнено по меньшей мере с одним монтажным отверстием.
Оптимальным вариантом размещения плоскости дополнительной режущей кромки к плоскости основной режущей кромки является прямой угол.
Заявляемый технический результат – порезка корпусов масляных и топливных фильтров как по цилиндрической образующей, так и по радиальной за один ход реза.
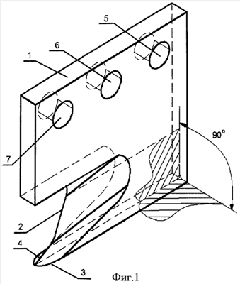
Изобретение поясняется чертежами, где на фиг.1 представлена общая конструкция ножа в изометрии.
На фиг.2 представлена общая конструкция ножа – вид спереди.
На фиг.3 представлен в разрезе вид конструкции ножа – вид сбоку.
Нож для порезки отработанных масляных и топливных фильтров с металлическим корпусом состоит из полотна ножа (1), основной режущей кромки (2), дополнительной режущей кромки (3), находящейся в плоскости под углом по меньшей мере 90° к плоскости основной режущей кромки (2), площадку (4) с переменным тавровидным сечением, а также монтажные отверстия (5), (6), (7).
Изобретение поясняется конкретным примером осуществления конструкции.
Пример
Корпус фильтра, который подлежит разрезанию, фиксируется в специальном устройстве для порезки фильтров. Затем через силовую установку приводится в движение полотно ножа (1), закрепленное через монтажные отверстия (5), (6), (7), которое осуществляет предварительный разрез корпуса фильтра краевой частью дополнительной режущей кромки (3), плоскость которой размещена под углом 90° к плоскости основной режущей кромки (2) с выведением точки реза из плоскости корпуса фильтра и подачей металла через площадку (4) на основную режущую кромку. Приложением дополнительного усилия к полотну ножа осуществляется окончательное разрезание корпуса фильтра.
Причинно-следственная связь между существенными признаками предлагаемого решения и полученным суммарным техническим результатом обеспечивает новые технические свойства, позволяя в сочетании с известными признаками, получить технический результат, обозначенный в постановке задачи.
По имеющимся у заявителя сведениям предложенная совокупность признаков, которые характеризуют сущность изобретения, не известна из уровня техники, не является очевидным решением для специалистов в данной области техники, т.е. она отвечает критерию « новизна» и «изобретательский уровень».
Такая конструкция ножа позволяет обеспечить значительную экономию сырьевых ресурсов, поскольку позволяет неповрежденные при разрезании фильтра детали вторично использовать при изготовлении фильтров.
Предложенная конструкция ножа обеспечивает надежную работу по разрезанию фильтра и соответствует критерию «промышленная применимость».
Формула изобретения
1. Нож для порезки отработанных масляных и топливных фильтров с металлическим корпусом, содержащий полотно с основной режущей кромкой, отличающийся тем, что полотно выполнено с дополнительной режущей кромкой и площадкой, удерживающей и направляющей металл корпуса для подачи его на основную режущую кромку.
2. Нож по п.1, отличающийся тем, что полотно выполнено по меньшей мере с одним монтажным отверстием.
3. Нож по п.1, отличающийся тем, что основная режущая кромка и площадка выполнены с переменным тавровидным сечением.
4. Нож по п.1, отличающийся тем, что дополнительная режущая кромка расположена в плоскости под углом 90° к плоскости основной режущей кромки.
РИСУНКИ
|