|
|
(21), (22) Заявка: 2008152520/02, 29.12.2008
(24) Дата начала отсчета срока действия патента:
29.12.2008
(46) Опубликовано: 20.09.2010
(56) Список документов, цитированных в отчете о поиске:
SU 1177096 А, 07.09.1985. CN 2161405 Y, 13.04.1994. RU 2071884 C1, 20.01.1997. SU 948596 A, 07.08.1982. US 2006049146 A1, 09.03.2006.
Адрес для переписки:
420029, Татарстан, г.Казань, ул. Журналистов, 50, ФНПЦ “Радиоэлектроника”, отдел интеллектуальной собственности
|
(72) Автор(ы):
Рогель Леон Менделевич (RU), Валеев Ильдус Хузиахметович (RU), Пирогов Геннадий Григорьевич (RU)
(73) Патентообладатель(и):
Федеральное государственное унитарное предприятие “Федеральный научно-производственный центр по радиоэлектронным системам и информационным технологиям имени В.И. Шимко” (ФГУП “Федеральный НПЦ “Радиоэлектроника” им. В.И. Шимко”) (RU)
|
(54) ЭЛЕКТРОЭРОЗИОННЫЙ ВЫРЕЗНОЙ АВТОМАТИЗИРОВАННЫЙ СТАНОК
(57) Реферат:
Изобретение относится к области обработки металла, в частности к устройствам для электроэрозионной резки металла проволочным электродом-инструментом. Электроэрозионный вырезной автоматизированный станок содержит устройство программного управления приводами горизонтальных перекрещивающихся перемещений стола 2 с обрабатываемой деталью 3 и/или скобы 4 с проволочным электродом-инструментом 5, сверлильную головку 9, установленную на верхнем плече 8 скобы 4 с возможностью перемещения вращающегося сверла 10 параллельно перемещению проволоки между плечами скобы, а ось 11 сверла расположена относительно проволочного электрода-инструмента на фиксированном расстоянии, заданном координатами горизонтальных перемещений скобы и/или стола, и сверлильная головка снабжена приводом вертикального перемещения, управляемым устройством программного управления. В основании станка имеется коллектор для жидкого диэлектрика и использованной проволоки. Изобретение позволяет снизить трудоемкость изготовления деталей и повысить точность позиционирования отверстий для ввода проволочного электрода-инструмента при электроэрозионной обработке внутренней поверхности детали. 3 ил.
Изобретение относится к области обработки металла, в частности к устройствам для электроэрозионной резки металла проволочным электродом-инструментом.
Известен станок для электроэрозионной обработки проволочным электродом-инструментом с неподвижной обрабатываемой деталью, содержащий С-образную скобу и стол с приводами продольных и поперечных подач горизонтальных перемещений вдоль координатных осей станка, в основании которого имеется коллектор для жидкого диэлектрика и использованной проволоки (Патент RU 2071884 С1. Станок для электроэрозионной обработки проволочным электродом-инструментом с неподвижной обрабатываемой деталью. – МПК7: В23Н 7/02. – 20.01.1997. Бюл. 2). Данный станок предназначен для электроэрозионной обработки наружного периметра деталей, а для обработки внутренних поверхностей необходимо дополнительно сверлить отверстия для ввода проволочного электрода-инструмента, что ограничивает его функциональные возможности.
Наиболее близкими аналогами являются электроэрозионный вырезной автоматизированный станок с двухкоординатным устройством программного управления, содержащий С-образную скобу и стол с возможностью двухкоординатных относительных перемещений (Авторское свидетельство SU 1177096 А. Электроэрозионный вырезной автоматизированный станок. – МПК7: В23Н 7/02. – 07.09.1985. Бюл. 33), и приспособление для электроэрозионного вырезного станка, содержащее скобу с проволочным электродом-инструментом, на верхнем плече которого установлена сверлильная головка с возможностью перемещения вращающего сверла параллельно перемещению проволоки между плечами скобы, при этом ось сверла расположена относительно проволочного электрода-инструмента на фиксированном расстоянии, заданном координатами горизонтальных перемещений скобы, позволяющее просверливать отверстия в детали для ввода проволочного электрода-инструмента при электроэрозионной обработке детали (CN 2161405 Y, опубл. 13.04.1994, реферат, фиг.2, 7). Данные устройства приняты за прототип.
Недостатком такого станка, принятого за прототип, является необходимость дополнительного сверления координатных отверстий, низкая точность позиционирования этих отверстий для ввода проволочного электрода-инструмента и обработки поверхности по внутреннему контуру детали, что приводит к увеличению цикла изготовления деталей, необходимости дополнительного оборудования и производственных площадей.
Основной задачей, на решение которой направлено заявляемое изобретение, является совмещение операций сверления координатных отверстий для ввода проволочного электрода-инструмента и электроэрозионной обработки поверхности по внутреннему контуру детали на одном станке, что повысит точность позиционирования отверстий и проволочного электрода-инструмента, сократит длительность цикла изготовления, количество оборудования и производственные площади.
Техническим результатом, достигаемым при осуществлении заявляемого технического решения, является повышение точности позиционирования отверстий для ввода проволочного электрода-инструмента при электроэрозионной обработке внутренней поверхности детали.
Указанный технический результат достигается тем, что электроэрозионный вырезной автоматизированный станок содержит устройство программного управления приводами горизонтальных перекрещивающихся перемещений стола с обрабатываемой деталью и/или скобы с проволочным электродом-инструментом, в основании которого имеется коллектор для жидкого диэлектрика и использованной проволоки. На верхнем плече скобы установлена сверлильная головка с возможностью перемещения вращающегося сверла параллельно перемещению проволоки между плечами скобы, при этом ось сверла расположена относительно проволочного электрода-инструмента на фиксированном расстоянии, заданном координатами горизонтальных перемещений скобы и/или стола и сверлильная головка снабжена приводом вертикального перемещения, управляемым устройством программного управления.
Проведенный заявителем анализ уровня техники позволил установить, что аналоги, характеризующиеся совокупностями признаков, тождественных всем признакам заявленного электроэрозионного вырезного автоматизированного станка, отсутствуют. Следовательно, заявленное техническое решение соответствует условию патентоспособности «новизна».
Результаты поиска известных решений в данной области техники с целью выявления признаков, совпадающих с отличительными от прототипа признаками заявляемого технического решения, показали, что они не следуют явным образом из уровня техники. Из определенного заявителем уровня техники не выявлена известность влияния предусматриваемых существенными признаками из заявляемого технического решения преобразований на достижение указанного технического результата. Следовательно, заявляемое техническое решение соответствует условию патентоспособности «изобретательский уровень».
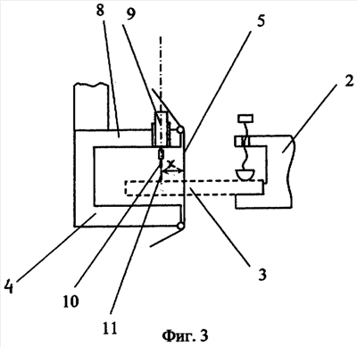
На фиг.1 показана схема предложенного электроэрозионного вырезного автоматизированного станка, вид спереди; на фиг.2 – то же, вид в плане, на фиг.3 – схема установки сверлильной головки.
Электроэрозионный вырезной автоматизированный станок содержит устройство 1 программного управления приводами горизонтальных перекрещивающихся перемещений стола 2 с обрабатываемой деталью 3 и/или скобы 4 с проволочным электродом-инструментом 5, установленными на основании 6, в котором размещен коллектор 7 для жидкого диэлектрика и использованной проволоки. (Фиг.1). На верхнем плече 8 скобы 4 установлена сверлильная головка 9 с возможностью вертикального перемещения вращающегося сверла 10. (Фиг.2). Ось 11 вращающегося сверла 10 расположена относительно проволочного электрода-инструмента 5 на расстоянии, заданном координатами Х и Y перемещений скобы 4 и/или стола 2 в устройстве 1 программного управления. (Фиг.3). Сверлильная головка 9 снабжена приводом вертикального перемещения, управляемым устройством 1 программного управления.
Электроэрозионный вырезной автоматизированный станок работает следующим образом. Заготовка обрабатываемой детали 3 закрепляется на столе 2 станка, включается вращение сверла 10 по программе, заданной в устройстве 1 программного управления станком, и сверлильная головка 9 посредством горизонтальных перекрещивающихся перемещений стола по координатам Х и Y с обрабатываемой деталью и/или скобы перемещается в запрограммированную точку на заготовке детали. Осевым перемещением сверла 10 под воздействием привода, управляемого устройством 1 программного управления, производится сверление отверстия для ввода проволочного электрода-инструмента 5 и последующей вырезки внутреннего контура детали 3. Сверление отверстий производится по количеству вырезаемых внутренних контуров детали. Через образованное отверстие проводится проволочный электрод-инструмент 5 и закрепляется в верхнем и нижнем плечах скобы 4, установленной в исходной точке программы, из которой проволочным электродом-инструментом 5 производится электроэрозионная вырезка внутреннего контура детали, при этом использованная проволока и отходы вырезки падают в коллектор 7 в основании 6 станка. После полной вырезки внутреннего контура детали проволочный электрод-инструмент 5 удаляется и готовая деталь 3 снимается со стола 2 станка.
Предложенный электроэрозионный вырезной автоматизированный станок позволит в большей степени автоматизировать процесс электроэрозионной вырезки внутренних контуров деталей проволочным электродом-инструментом.
Формула изобретения
Электроэрозионный вырезной автоматизированный станок, содержащий устройство программного управления приводами горизонтальных перекрещивающихся перемещений стола с обрабатываемой деталью и/или скобы с проволочным электродом-инструментом, в основании которого имеется коллектор для жидкого диэлектрика и использованной проволоки, отличающийся тем, что на верхнем плече скобы установлена сверлильная головка с возможностью перемещения вращающегося сверла параллельно перемещению проволоки между плечами скобы, при этом ось сверла расположена относительно проволочного электрода-инструмента на фиксированном расстоянии, заданном координатами горизонтальных перемещений скобы и/или стола, и сверлильная головка снабжена приводом вертикального перемещения, управляемым устройством программного управления.
РИСУНКИ
|
|