|
|
(21), (22) Заявка: 2009112704/02, 06.04.2009
(24) Дата начала отсчета срока действия патента:
06.04.2009
(46) Опубликовано: 20.09.2010
(56) Список документов, цитированных в отчете о поиске:
US 3877832 A, 15.04.1975. SU 520023 A, 06.08.1976. SU 1450921 A1, 15.01.1989. RU 2042477 C1, 27.08.1995. RU 2349426 C2, 10.10.2008.
Адрес для переписки:
150023, г.Ярославль, Московский пр., 88, ГОУВПО “ЯГТУ”
|
(72) Автор(ы):
Украженко Константин Адамович (RU), Украженко Олег Константинович (RU)
(73) Патентообладатель(и):
Государственное образовательное учреждение высшего профессионального образования “Ярославский государственный технический университет” (RU)
|
(54) РАСТОЧНАЯ ГОЛОВКА
(57) Реферат:
Головка содержит державку в виде микрометрического винта, на одном конце которого выполнено гнездо для режущей пластины, а на другом расположена шпонка, предназначенная для взаимодействия со шпоночным пазом расточной оправки, лимб, размещенный во втулке с нониусом, закрепленной на оправке, и жестко связанный с одной из двух сопряженных с упомянутым винтом гаек, соединенных упругим элементом, образованным радиальными пазами на образующей лимба, фиксируемого во втулке стопорным кольцом по канавке с опорной поверхностью под стопорное кольцо на образующей лимба. Для уменьшения габаритов и упрощения конструкции стопорное кольцо выполнено в виде тарельчатой пружины, взаимодействующей с опорной поверхностью канавки, а одна из гаек разрезана в осевом направлении, причем осевой паз от реза пересекает упомянутую канавку. Опорная поверхность канавки может быть выполнена наклонной. Осевые пазы от разреза гайки могут быть соединены с радиальными пазами. На образующей лимба от его торца до канавки могут быть выполнены лыски. На торце лимба может быть выполнено гнездо под тарельчатую пружину. 4 з.п. ф-лы, 13 ил.
Изобретение относится к металлообработке, в частности к чистовой обработке отверстий.
Известна расточная головка, проспект фирмы НИККЕН, Япония, cat.no N86, содержащая резцевую державку в виде микрометрического винта с прихватом режущей пластины, лимб, установленный во втулке. Лимб имеет две гайки, взаимодействующие с резьбой резцовой державки, причем одна из гаек имеет возможность перемещаться в осевом направлении относительно другой. Это достигается при помощи пазов, прорезанных в шахматном порядке на цилиндрической поверхности лимба между гайками. Лимб соединен с втулкой при помощи стопорного кольца. Между торцом лимба и кольцом расположен упругий элемент в виде волнистой шайбы для выбора зазоров в резьбе и между опорными поверхностями втулки и лимба.
Недостатком данной расточной головки является сложность конструкции элемента выбора зазоров в виде волнистой шайбы.
Известна также расточная головка (Патент РФ 2042477, МКИ B23B 29/03, 1995 г.), содержащая все элементы вышеописанной, но в качестве упругих элементов использованы упругие элементы, выполненные на образующей лимба между гайками при помощи пазов и расположенные по обе стороны стопорного кольца.
Недостатком данной расточной головки является относительная сложность конструкции и повышенные осевые габариты головки за счет используемых упругих элементов.
Технической задачей изобретения является упрощение конструкции и снижение осевых габаритов расточной головки.
Поставленная техническая задача решается тем, что расточная головка содержит державку в виде микрометрического винта, на одном конце которого выполнено гнездо для режущей пластины, а на другом шпонка, взаимодействующая со шпоночным пазом расточной оправки. Лимб размещен во втулке с конусом, закрепленной на оправке, и жестко связан с одной из двух сопряженных с микрометрическим винтом гаек, соединенных упругим элементом, образованным радиальными пазами на образующей лимба. Лимб фиксируется во втулке стопорным кольцом по канавке с опорной поверхностью под стопорное кольцо на образующей лимба, а стопорное кольцо выполнено в виде тарельчатой пружины, взаимодействующей с опорной поверхностью, а одна из гаек разрезана в осевом направлении, причем осевой паз от реза пересекает канавку.
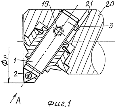
Сущность изобретения поясняется графически, где на фиг.1 показан общий вид расточной головки, разрез; на фиг.2 – вид А фиг.1; на фиг.3 – лимб; на фиг.4 – вид В фиг.3; на фиг.5 – разрез В-В фиг.3; на фиг.6 – разрез Г-Г фиг.3; на фиг.7 – разрез Д-Д фиг.3: на фиг.8 – сборка лимба и втулки; на фиг.9 – вид Е фиг.8; на фиг.10 – лимб и втулка после сборки; на фиг.11 – вид Ж фиг.10; на фиг.12 – увеличенный фрагмент окончательной сборки расточной головки; на фиг.13 – вариант выполнения торца втулки.
Расточная головка (микробор) состоит из микрометрического винта 1, выполняющего роль резцовой державки. На одном конце винта 1 выполнено гнездо для закрепления режущей пластины 2, а на другом установлена шпонка 3. Винт 1 сопряжен резьбовой поверхностью с гайками 4 и 5, которые соединены между собой (развязаны в осевом направлении) упругими элементами 6 и образованными при помощи радиальных пазов 7 на образующей 8. Гайка 4 жестко связана с лимбом 9, а гайка 5 разрезана пазами 10 в осевом направлении, желательно до одной из пары пазов 7. Лимб 9 своей посадочной образующей поверхностью 8 устанавливается во втулке 11, на торце которой нанесена нониусная шкала или нониус 12. Фиксация лимба 9 относительно втулки 11 осуществляется стопорным кольцом в виде тарельчатой пружины 13, которая внутренним диаметром опирается на опорную поверхность 14 канавки 15, выполненной на образующей 8, а наружным диаметром на торец втулки 11. Причем опорная поверхность 14, для создания хорошего натяга в сопряжениях, может быть выполнена наклонной. Для упрощения установки тарельчатой пружины 13 в канавку 15 при сборке лимба 9 и втулки 11, заключающейся в смыкании двух полугаек гайки 5 до размера d (фиг.8, 9) на образующей 8, от торца 16 до канавки 15 выполнены две лыски 17. С целью создания большого натяга в сопряжениях на торце 16 может быть выполнено гнездо 18 в виде цековки для тарельчатой пружины 13, которое ограничивает ее деформацию в радиальном направлении и дает возможность образующей пружины 13 изгибаться в осевом направлении. Для надежного стопорения винта 1 может быть использован стопорный винт 19, смонтированный в оправке 20, который показан на фиг.1. В оправке 20 выполнен паз 21, с которым взаимодействует шпонка 3 для предотвращения поворота винта 1 вокруг своей оси при настройке головки.
Настройка расточной головки производится вращением лимба 9 (ключом за его шестигранник), в результате чего винт 1 с режущей пластиной 2 перемещается на определенный диаметр расточки p (фиг.1). После чего расточная головка готова к работе. При наличии в оправке радиального стопорного винта 19 необходимо его в начале настройки отжать, а после настройки затянуть.
Формула изобретения
1. Расточная головка, содержащая державку в виде микрометрического винта, на одном конце которого выполнено гнездо для режущей пластины, а на другом расположена шпонка, предназначенная для взаимодействия со шпоночным пазом расточной оправки, лимб, размещенный во втулке с нониусом, закрепленной на оправке, и жестко связанный с одной из двух сопряженных с упомянутым винтом гаек, соединенных упругим элементом, образованным радиальными пазами на образующей лимба, фиксируемого во втулке стопорным кольцом по канавке с опорной поверхностью под стопорное кольцо на образующей лимба, отличающаяся тем, что стопорное кольцо выполнено в виде тарельчатой пружины, взаимодействующей с опорной поверхностью канавки, а одна из гаек разрезана в осевом направлении, причем осевой паз от реза пересекает упомянутую канавку.
2. Расточная оправка по п.1, отличающаяся тем, что опорная поверхность канавки выполнена наклонной.
3. Расточная оправка по п.1, отличающаяся тем, осевые пазы от разреза гайки соединены с радиальными пазами.
4. Расточная оправка по п.1, отличающаяся тем, что на образующей лимба от его торца до канавки выполнены лыски.
5. Расточная оправка по п.1, отличающаяся тем, что на торце лимба выполнено гнездо под тарельчатую пружину.
РИСУНКИ
|
|