|
|
(21), (22) Заявка: 2009123672/12, 23.06.2009
(24) Дата начала отсчета срока действия патента:
23.06.2009
(46) Опубликовано: 20.09.2010
(56) Список документов, цитированных в отчете о поиске:
RU 2296012 С2, 27.03.2007. US 4353718 А, 12.10.1982. US 4036610 А, 19.07.1977. US 3844742 А, 29.10.1974. US 2595204 А, 29.04.1952. GB 1421995 А, 21.01.1976.
Адрес для переписки:
129090, Москва, Протопоповский пер., 25б, ЗАО “Финго Инжиниринг”
|
(72) Автор(ы):
Гузаев Виталий Александрович (RU), Федоров Борис Сергеевич (RU), Панкратов Михаил Юрьевич (RU), Пятигорский Александр Наумович (RU), Карулин Евгений Александрович (RU), Иванов Дмитрий Олегович (RU), Шапошник Александр Сергеевич (RU)
(73) Патентообладатель(и):
ЗАКРЫТОЕ АКЦИОНЕРНОЕ ОБЩЕСТВО “ФИНГО ИНЖИНИРИНГ” (RU)
|
(54) ЭЛЕКТРОФИЛЬТР
(57) Реферат:
Изобретение относится к области электрической очистки газов от пыли и может быть использовано преимущественно в теплоэнергетике, химической, металлургической промышленности и промышленности строительных материалов. Изобретение направлено на повышение степени очистки газов и эффективности работы электрофильтра. Электрофильтр содержит корпус, расположенные в нем и сгруппированные по ходу газа по электрически полям осадительные электроды и коронирующие электроды с системами подвеса, механизмы встряхивания, высоковольтные источники питания, с одной стороны посредством изоляторов соединенные с механизмами встряхивания, а с другой стороны посредством установленных на ригельных балках корпуса опорных изоляторов – с коронирующими электродами, и бункеры. Опорные изоляторы соседних электрических полей установлены в ригельной балке корпуса в шахматном порядке, причем расстояние между верхними токоведущими частями изоляторов равно 1,0-1,2 минимального расстояния между осадительными и коронирующими электродами, а расстояние между системой подвеса соседних сгруппированных коронирующих электродов равно 1,5-2,0 этого минимального расстояния. Стенки всех ригельных балок снабжены изолирующим экраном. 2 ил.
Изобретение относится к области электрической очистки газов ох пыли и может быть использован преимущественно в теплоэнергетике, химической, металлургической промышленности и промышленности строительных материалов.
Известен электрофильтр, содержащий корпус, расположенные в нем и сгруппированные по электрическим полям по ходу газа осадительные электроды и коронирующие электроды с системами подвеса, механизмы встряхивания, высоковольтные источники питания, с одной стороны посредством изоляторов соединенные с механизмами встряхивания. а с другой стороны посредством установленных на ригельных балках корпуса опорных изоляторов – с коронирующими электродами, и бункеры, (см. Филатов Ф.П. Монтаж электрофильтров ЭГА-М., Энергоатомиздат, 1988 г., с.12, 46, 48).
Недостатком известного электрофильтра является то, что из-за последовательного расположения изоляторов, необходимого для обеспечения максимальных пробивных напряжений, а следовательно, и эффективности очистки ширина ригельной балки корпуса и межпольного пространства увеличена. Это приводит к неэффективному использованию объема корпуса, поскольку из процесса очистки исключается часть активной длины аппарата, и, как следствие, к снижению степени очистки газов электрофильтром.
Технической задачей предлагаемого изобретения является повышение степени очистки газов и эффективности работы электрофильтра.
Техническая задача решается за счет того, что в электрофильтре, содержащем корпус, расположенные в нем и сгруппированные по ходу газа по электрическим полям осадительные электроды и коронирующие электроды с системами подвеса, механизмы встряхивания, высоковольтные источники питания, с одной стороны посредством изоляторов соединенные с механизмами встряхивания, а с другой стороны посредством установленных на ригельных балках корпуса опорных изоляторов – с коронирующими электродами, и бункеры, опорные изоляторы соседних электрических полей установлены в ригельной балке корпуса в шахматном порядке, причем расстояние между верхними токоведущими частями изоляторов равно 1,0-1,2 минимального расстояния между осадительными и коронирующими электродами, а расстояние между системами подвеса соседних сгруппированных коронирующих электродов равно 1,5-2,0 этого минимального расстояния, при этом стенки всех ригельных балок корпуса снабжены изолирующим экраном.
Минимальное расстояние определено по результатам проведенных испытаний, которые показали, что для повышения уровня рабочего напряжения и токов короны оно должно превышать разрядное расстояние в активной зоне электрофильтра.
Выполнение электрофильтра предложенной конструкции позволяет увеличить активную длину аппарата и повысить эффективность очистки.
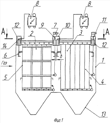
На фиг.1 изображен описываемый электрофильтр.
На фиг.2 – разрез А-А фиг.1.
Электрофильтр содержит корпус 1, расположенные в нем и сгруппированные по ходу газа по электрическим полям 2 и 3 осадительные электроды 4 и коронирующие электроды 5 с системой подвеса 6, механизмы встряхивания 7 коронирующих электродов, высоковольтные источники питания 8, с одной стороны посредством изоляторов 9 соединенные с механизмами встряхивания 7, а с другой стороны посредством установленных на ригельных балках 10 и 11 корпуса опорных изоляторов 12 – с коронирующими электродами 5, и бункеры 13. Изоляторы 12 соседних электрических полей 2 и 3 установлены в ригельной балке 10 в шахматном порядке. При этом изоляторы 12 устанавливаются ближе друг к другу по длине аппарата, но смещены по его ширине с образованием расстояния а между верхними токоведущими частями соседних изоляторов. Это расстояние, как показывают исследования по изучению пробивных напряжений, должно составлять 1,0-1,2 минимального расстояния между осадительными и коронирующими электродами. (см. Дымовые электрофильтры / В.И.Левитов, И.К.Решидов, В.М.Ткаченко и др. Под. общ. ред. В.И.Левитова – М.: Энергия, 1980, 111-112 с.)
На изоляторах 12 с помощью системы подвеса 6 установлены коронирующие электроды 5. Для исключения пробоя расстояние в межпольном промежутке между системами подвеса 6 коронирующих электродов 5 соседних электрических полей 2 и 3 должно составлять 1,5-2,0 от минимального расстояния между осадительными и коронирующими электродами. Разница в требованиях к расстоянию для обеспечения высоких пробивных напряжений объясняется тем, что температура в ригельных балках 10 и 11 корпуса ниже, чем внутри аппарата, а пробивные напряжения, как показывают исследования, уменьшаются при увеличении температуры, и поэтому требуется большее расстояние для исключения пробоя между соседними системами подвеса коронирующих электродов 5, находящихся внутри корпуса 1 в условиях повышенных температур (135-280°С) (см. Справочник по пыле- и золоулавливанию / М.И.Биргер, А.Ю.Вальберг, Б.И.Мягков и др. Под общ. ред. А.А.Русанова. – 2-е изд., перераб. и доп. – М.: Энергоатомиздат, 1983. – 227 с). Дополнительно к установке изоляторов со смещением для исключения пробоя стенки ригельных балок 10 и 11 изолированы от токоведущих частей изолятора 12 изолирующим экраном 14. Экран 14 расположен по вертикальной оси изолятора 12, а средняя часть экрана располагается напротив токоведущей части изолятора 12 (условно не показана).
Использование электрофильтра с предлагаемой установкой изоляторов и их изоляцией от стенок ригельных балок корпуса позволяет из-за уменьшения межпольного промежутка увеличить активную длину электрофильтра и соответственно повысить эффективность очистки газов.
Электрофильтр работает следующим образом.
Запыленный газовый поток поступает в пространство между осадительными 4 и коронирующими 5 электродами, где под действием электрического поля высокого напряжения частицы пыли заряжаются с помощью коронного разряда, движутся к осадительным и коронирующим электродам и оседают на них. Под действием механизмов встряхивания 7 осевшая пыль удаляется в бункер 13.
Для повышения эффективности работы увеличено время пребывания пылегазового потока в объеме аппарата за счет уменьшения межпольного пространства и соответственно увеличения активной длины аппарата в том же габарите корпуса. Предлагаемое расположение опорных изоляторов исключает пробои и повышает степень очистки электрофильтра.
Таким образом, предложенное техническое решение повышает степень очистки газов и эффективность работы электрофильтра.
Формула изобретения
Электрофильтр, содержащий корпус, расположенные в нем и сгруппированные по ходу газа по электрическим полям осадительные электроды и коронирующие электроды с системами подвеса, механизмы встряхивания, высоковольтные источники питания, с одной стороны посредством изоляторов соединенные с механизмами встряхивания, а с другой стороны посредством установленных на ригельных балках корпуса опорных изоляторов – с коронирующими электродами, и бункеры, отличающийся тем, что опорные изоляторы соседних электрических полей установлены на ригельной балке корпуса в шахматном порядке, причем расстояние между верхними токоведущими частями изоляторов равно 1,0-1,2 минимального расстояния между осадительными и коронирующими электродами, а расстояние между системами подвеса соседних сгруппированных коронирующих электродов равно 1,5-2,0 этого минимального расстояния, при этом стенки всех ригельных балок корпуса снабжены изолирующим экраном, при этом последний расположен по вертикальной оси изолятора, а средняя его часть расположена напротив токоведущей части изолятора.
РИСУНКИ
|
|