|
|
(21), (22) Заявка: 2009102908/13, 29.01.2009
(24) Дата начала отсчета срока действия патента:
29.01.2009
(46) Опубликовано: 20.09.2010
(56) Список документов, цитированных в отчете о поиске:
ОКНИН Б.С. и др. Машины для послеуборочной обработки зерна. – М.: Агропромиздат, 1987, с.35-36. SU 1704719 А1, 15.01.1992. GB 1018947 А, 02.02.1966. RU 2242296 С1, 20.12.2004.
Адрес для переписки:
610007, г.Киров, ул. Ленина, 166а, Государственное учреждение Зональный НИИ сельского хозяйства Северо-Востока им. Н.В. Рудницкого
|
(72) Автор(ы):
Бурков Александр Иванович (RU), Глушков Андрей Леонидович (RU), Конышев Николай Леонидович (RU), Булдаков Дмитрий Семенович (RU)
(73) Патентообладатель(и):
Государственное учреждение Зональный научно-исследовательский институт сельского хозяйства Северо-Востока им. Н.В. Рудницкого (RU)
|
(54) ШНЕКОВОЕ РАСПРЕДЕЛИТЕЛЬНОЕ УСТРОЙСТВО ЗЕРНООЧИСТИТЕЛЬНОЙ МАШИНЫ
(57) Реферат:
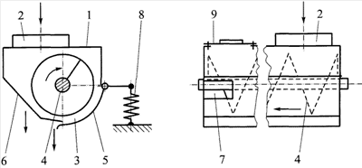
Изобретение относится к сельскохозяйственной технике, а именно к устройствам для очистки семян зерновых, зернобобовых, крупяных и других культур, и может быть использовано в сельском хозяйстве и элеваторной промышленности. Шнековое распределительное устройство зерноочистительной машины содержит корпус 1 с загрузочной горловиной 2 и выгрузным окном 3. Внутри корпуса 1 установлен распределительный шнек 4. Выгрузное окно 3 расположено в нижней части корпуса 1 по всей его длине и закрыто подпружиненным клапаном 5. В конечной части боковой стенки 6 корпуса выполнено перепускное отверстие 7. Над конечным участком шнека корпус закрыт съемной крышкой 9. Изобретение позволяет повысить качество очистки зерна. 1 ил.
Изобретение относится к сельскохозяйственной технике, а именно к устройствам для очистки семян зерновых, зернобобовых, крупяных и других культур, и может быть использовано в сельском хозяйстве и элеваторной промышленности.
Известно шнековое распределительное устройство машины предварительной очистки зерна МПО-50, содержащее корпус с загрузочной горловиной и выгрузным окном, закрытым подпружиненным клапаном, установленный внутри него распределительный шнек (Окнин Б.С. и др. Машины для послеуборочной обработки зерна / М.: Агропромиздат, 1987. – С.17-20, рис.4). Недостатком известного устройства является забивание внутренней полости корпуса крупными кусками, а также зерном при превышении установленной подачи, что приводит к перегрузке механизмов привода шнека и вынужденной остановке машины.
Отмеченный недостаток устранен в наиболее близком к заявляемому техническому решению по технической сущности и совокупности существенных признаков шнековом распределительном устройстве зерноочистительной машины К-527А10, включающем корпус с загрузочной горловиной и выгрузным окном, закрытым подпружиненным клапаном, установленный внутри него распределительный шнек и перепускное отверстие (Инструкция по обслуживанию зерноочистительной машины К-527А10 / Германия – 5909 Вута, 2000. – С.12, рис.5; Окнин Б.С.и др. Машины для послеуборочной обработки зерна / М.: Агропромиздат, 1987. – С.35-36). В данном устройстве выпуск излишков материала при забивании и сброс крупных кусков осуществляется в перепускное отверстие, находящееся на приводной стороне машины (торцевой стороне устройства), что защищает от перегрузки механизмы привода шнека и позволяет работать машине без остановки.
Недостаток шнекового распределительного устройства зерноочистительной машины К-527А10 заключается в том, что излишки материала и (крупные куски направляются по материалопроводу на решетный стан, минуя пневмосепарирующий канал, а это ухудшает качество очистки зернового материала от легких примесей.
Задачей изобретения является повышение качества очистки зерна.
Поставленная задача решена с помощью предлагаемого шнекового распределительного устройства зерноочистительной машины, включающего корпус с загрузочной горловиной и выгрузным окном, закрытым подпружиненным клапаном, установленный внутри него распределительный шнек, перепускное отверстие, причем перепускное отверстие выполнено в конечной части боковой стенки корпуса.
Повышение качества очистки зерна достигается за счет того, что излишки материала выпускаются через перепускное окно в пневмосепарирующий канал, где из него выделяются легкие примеси.
На чертеже изображена схема шнекового распределительного устройства зерноочистительной машины.
Шнековое распределительное устройство зерноочистительной машины содержит корпус 1 с загрузочной горловиной 2 и выгрузным окном 3, распределительный шнек 4. Выгрузное окно 3 закрыто подпружиненным клапаном 5. В конечной части боковой стенки 6 корпуса 1 имеется перепускное окно 7. Усилие поджатия клапана регулируется натяжением пружины 8. Загрузочная горловина 2 установлена на корпусе 1 над начальным участком шнека 4, а выгрузное окно 3 расположено в нижней части корпуса 1 по всей его длине. Над конечным участком шнека корпус 1 закрыт съемной крышкой 9.
Шнековое распределительное устройство зерноочистительной машины работает следующим образом.
Очищаемый материал, содержащий легкие, крупные, мелкие, сорные примеси и основную культуру, подается через загрузочную горловину 2 вовнутрь начального участка корпуса 1, витками вращающегося шнека 4 перемещается вдоль распределительного устройства и попадает в выгрузное окно 3. Под действием силы тяжести очищаемый материал открывает подпружиненный клапан 5, высыпается в устройство ввода и поступает в пневмосепарирующий канал (условно не показан), где очищается от легких примесей. При перегрузке распределительного устройства и наличии в очищаемом материале крупных кусков последние вместе с зерном смещаются шнеком 4 в конец корпуса 1. Излишки зерна сбрасываются через перепускное отверстие 7 в устройство ввода и далее в пневмосепарирующий канал. Крупные куски, не прошедшие через перепускное отверстие 7, после остановки машины вручную извлекаются через съемную крышку 9 корпуса 1. Равномерность распределения очищаемого материала по ширине зерноочистительной машины достигается изменением усилия поджатия клапана 5 с помощью пружины 8.
Повышение качества очистки зерна обеспечивается за счет подачи излишков материала в пневмосепарирующий канал с основным потоком и выделения из него легких примесей.
Формула изобретения
Шнековое распределительное устройство зерноочистительной машины, включающее корпус с загрузочной горловиной и выгрузным окном, закрытым подпружиненным клапаном, установленный внутри него распределительный шнек, перепускное отверстие, отличающееся тем, что перепускное отверстие выполнено в конечной части боковой стенки корпуса.
РИСУНКИ
|
|