|
|
(21), (22) Заявка: 2009113082/13, 07.04.2009
(24) Дата начала отсчета срока действия патента:
07.04.2009
(46) Опубликовано: 20.09.2010
(56) Список документов, цитированных в отчете о поиске:
RU 52342 U1, 27.03.2006. RU 2121398 C1, 10.11.1998. RU 60879 U1, 10.02.2007. RU 77560 U1, 27.10.2008.
Адрес для переписки:
440014, г.Пенза, ул. Ботаническая, 30, Пензенская государственная сельскохозяйственная академия
|
(72) Автор(ы):
Власов Павел Андреевич (RU), Рылякин Евгений Геннадьевич (RU)
(73) Патентообладатель(и):
ФГОУ ВПО Пензенская государственная сельскохозяйственная академия (RU)
|
(54) МИНИ-ПЛЮЩИЛКА
(57) Реферат:
Изобретение относится к устройствам для плющения зерна с целью повышения его питательных свойств и может быть использовано в сельском хозяйстве для приготовления комбикорма в частном подворье или в фермерском хозяйстве. Мини-плющилка зерна включает раму, обечайку, привод ее вращения, консольно установленные внутри обечайки с зазором к ее поверхности плющильный валец и валец предварительного плющения. Причем зазор между обечайкой и вальцом предварительного плющения равен удвоенному зазору между обечайкой и наружной поверхностью плющильного вальца. Вальцы установлены на концах валов с возможностью вращения. Другими концами валы жестко закреплены на платформе, которая одним концом шарнирно закреплена на раме, а другим концом опирается на пружину, надетую на шпильку, шарнирно закрепленную на раме и проходящую через отверстие в платформе. Жесткость пружины может изменяться регулировочной гайкой за счет ее перемещения по резьбе шпильки. Такая мини-плющилка обеспечивает высокую производительность и высокое качество конечного продукта за счет уменьшения дробления зерна при осуществлении его предварительного сдавливания. 3 ил.
Мини-плющилка относится к устройствам для плющения зерна с целью повышения его питательных свойств и может быть использована в сельском хозяйстве для приготовления комбикорма в частном подворье или в фермерском хозяйстве.
Известна плющилка зерна (патент 2121398 C1 6 B02C 4/42, B02C 9/00), включающая раму, привод, плющильное устройство внутреннего плющения в виде обечайки с нагревательным элементом, с установленным внутри обечайки консольным вальцом, корпус подшипника которого посредством рессоры закреплен на раме, а для регулирования зазора между рабочей поверхностью вальца и внутренней поверхностью обечайки установлен клин, перемещаемый винтовой парой по направляющим, выполненным в выступе, жестко закрепленном на валу. Вал вальца через клиноременную передачу и вал отбора мощности кинематически соединены с другой клиноременной передачей привода вращения обечайки через ось и клиновой шкив.
Недостатками данной конструкции являются: малая производительность, сложность конструкции, большие габариты и масса, ненадежная система пропуска твердых включений через плющильное устройство.
Наиболее близким по технической сущности является мини-плющилка зерна (патент на полезную модель 52342 B02C 4/06), включающая раму, привод и плющильное устройство внутреннего плющения, привод мини-плющилки выполнен от вала электродвигателя через клиноременную передачу непосредственно на обечайку, имеющую на наружной поверхности клиновой паз, а пропуск твердых включений через мини-плющилку осуществляется поворотом платформы, на которой жестко закреплен конец вала плющильного вальца и которая одним концом шарнирно соединена с рамой, а другим подпружинена относительно рамы с возможностью изменения жесткости пружины.
Недостатками данной конструкции являются: малая производительность, большие затраты мощности на привод плющилки, невысокое качество конечного продукта – плющеного зерна.
С целью повышения качества плющения зерна в предлагаемом техническом решении дополнительно установлен второй валец предварительного плющения с зазором от внутренней поверхности обечайки, равным удвоенному расстоянию между наружной поверхностью плющильного вальца и внутренней поверхностью обечайки.
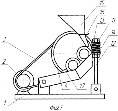
На фиг.1 показана принципиальная схема мини-плющилки зерна. На фиг.2 – вертикальная проекция главного вида. На фиг.3 – взаимное расположение вальцов.
Мини-плющилка зерна состоит из рамы 1 (фиг.1), электродвигателя 2 и клиноременной передачи 3 для передачи вращения на обечайку 4 посредством имеющегося на ее наружной поверхности клинового паза 5 (фиг.2). Обечайка 4 вращается в подшипниковом узле 6. Внутри обечайки 4 консольно установлен плющильный валец 7 и валец предварительного плющения 8, которые вращаются на валах 9 в подшипниках. Другими концами валы 9 жестко закреплены на платформе 10, которая одним концом шарнирно закреплена на раме 1, а другим концом опирается на пружину 11, надетую на шпильку 12, шарнирно закрепленную на раме 1 и проходящую через имеющееся в платформе 10 отверстие. Жесткость пружины 11 может изменяться регулировочной гайкой 13 за счет ее перемещения по резьбе шпильки 12. Толщина плющения регулируется гайкой 14, которая также установлена на шпильке 12 под платформой 10.
Мини-плющилка работает следующим образом: зерно засыпают в приемный бункер 15. Включают в работу электродвигатель 2. Электродвигатель через клиноременную передачу 3 приводит во вращение обечайку 4. Открывают шиберный затвор 16, подавая зерно внутрь обечайки 4 к вальцу предварительного плющения 8 и плющильному вальцу 7, установив заранее необходимую толщину плющения «а» (фиг.3) вращением гайки 14. Для увеличения толщины плющения «а» гайку перемещают по резьбе на шпильке 12 вверх, а для уменьшения – вниз. В зависимости от влажности зерна жесткость пружины 11 может изменяться вращением гайки 13, которая передвигается по резьбе на шпильке 12.
Зерно, попадая в зазор между обечайкой 4 и вальцом предварительного плющения 8, сдавливается и надтрескивается, после чего проходит дальше к плющильному вальцу 7, которым сплющивается до установленной толщины.
Пластинки зерен после плющения скребком 17 выдаются из плющилки. При попадании твердого включения в зазор между внутренней поверхностью обечайки 4 и наружной поверхностью вальцов 7 или 8 валец вместе с подпружиненным концом платформы 10 поднимается вверх, преодолевая сопротивление пружины 11, пропускает твердое включение и возвращается в исходное положение.
Мини-плющилка предлагаемой конструкции обеспечивает высокую производительность, снижение энергозатрат на ее привод и высокое качество конечного продукта за счет уменьшения дробления зерна при использовании предварительного сдавливания.
Формула изобретения
Мини-плющилка зерна, включающая раму, плющильное устройство внутреннего плющения и привод, выполненный от вала электродвигателя через клиноременную передачу непосредственно на обечайку, а пропуск твердых включений осуществляется поворотом платформы, на которой жестко закреплен конец вала плющильного вальца, и которая одним концом шарнирно соединена с рамой, а другим подпружинена пружиной, надетой на шпильку, проходящую через имеющееся в платформе отверстие и шарнирно соединенную с рамой, с возможностью изменения ее жесткости, отличающаяся тем, что на платформу дополнительно установлен второй валец предварительного плющения с зазором от внутренней поверхности обечайки, равным удвоенному расстоянию между наружной поверхностью плющильного вальца и внутренней поверхностью обечайки.
РИСУНКИ
|
|