|
|
(21), (22) Заявка: 2006113919/12, 24.04.2006
(24) Дата начала отсчета срока действия патента:
24.04.2006
(30) Конвенционный приоритет:
25.04.2005 EP 05103330.6
(43) Дата публикации заявки: 20.11.2007
(46) Опубликовано: 20.09.2010
(56) Список документов, цитированных в отчете о поиске:
US 5295431 А, 22.03.1994. ЕР 0791321 А1, 27.08.1997. US 6499389 В1, 31.12.2002. RU 2131695 C1, 20.06.1999.
Адрес для переписки:
103735, Москва, ул. Ильинка, 5/2, ООО “Союзпатент”, пат.пов. С.Б.Фелицыной, рег. 303
|
(72) Автор(ы):
ОЗАНН Матьё (CH)
(73) Патентообладатель(и):
НЕСТЕК С.А. (CH)
|
(54) ПАРОВОЕ ВСПЕНИВАЮЩЕЕ УСТРОЙСТВО С СИСТЕМОЙ РЕГУЛИРОВАНИЯ ПОТОКА ПЕНЫ
(57) Реферат:
Вспенивающее устройство выполнено с возможностью согласования с выходом для пара, с целью создания молочной пены. Устройство содержит вход для пара, вход для молока, вход для воздуха, вакуумную камеру, выполненную с возможностью приема пара, жидкого молока и воздуха, ограничение с ограниченным поперечным сечением, предназначенное для пропускания через него продукта с высокой скоростью, эмульгирующую камеру. Эмульгирующая камера имеет выход для выпуска пенного продукта из камеры и систему регулирования потока пены, предназначенную для гашения кинетической энергии потока пены и изменения его направления в достаточной степени для мягкой выдачи пены из устройства. Вспенивающее устройство можно устанавливать на кофеварочную машину для выдачи капучино при нажатии на кнопку. Изобретение обеспечивает подачу пены более мягким образом. 3 н. и 14 з.п. ф-лы, 13 ил.
Область техники, к которой относится изобретение
Данное изобретение относится к паровому вспенивающему устройству, которое можно присоединять к паровому выходу кофеварочной машины или к автономному создающему водяной пар устройству для создания пенного продукта, такого как вспененное молоко. В частности, изобретение относится к улучшенному устройству, которое способно осторожно выдавать пену при сохранении ее свойств и качества.
Уровень техники
Для создания вспененного молока, обычно заданное количество воздуха всасывается в поток молока и пара. Молоко обычно всасывается в вакуумную камеру за счет эффекта Вентури в результате большой скорости, создаваемой паром, нагнетаемым под большим давлением. Таким образом, сжатый пар служит в качестве вектора для движения молока и воздуха через ограничение в эмульгирующую камеру, в которой создается смесь из молока, пара и воздуха, а молоко сильно эмульгируется для создания устойчивой пены. Существуют устройства, которые можно подключать к паровому выходу кофеварки для подачи молочной пены в соответствии с этим принципом.
Патент США 6499389 В1 относится к паровому вспенивающему устройству этого рода. Раскрыта система сопел, которая расположена по потоку за паровой трубкой и имеет вакуумную камеру, в которой заканчивается линия подачи молока. Воздушный канал соединяется с линией подачи молока по потоку перед вакуумной камерой. Эмульгирующая камера расположена по потоку за вакуумной камерой, при этом эмульгирующая камера имеет стенку камеры, дно, центральный отклоняющий поток выступ и выход. Центральный отклоняющий поток выступ выполнен в виде ловушки для потока, окружающей выход.
Данное изобретение относится к улучшению парового вспенивающего устройства такого рода.
Одним недостатком, встречающимся при практическом использовании устройства, согласно уровню техники, является то, что устройство имеет тенденцию к вызыванию разбрызгивания продукта или пара, в частности, в условиях недостаточного количества молока. Например, когда уменьшается подача молока, то отношение пара к молоку увеличивается (в пользу пара), что вызывает слишком энергичный поток пара или смеси, который выходит из устройства. Это является критичной проблемой, поскольку поток пара приводит к загрязнению места либо непосредственно за счет неконтролируемого разбрызгивания, либо опосредованно за счет выдувания молочной пены, уже находящейся в чашке.
В некоторых случаях имеется потребность приготовления молочной пены и кофе в одном и том же месте, т.е. без необходимости перемещения чашки. Например, в WO 91/00041 описана автоматическая машина для раздачи черного кофе и кофе с молоком, в которой трубка подачи устройства выдачи кофе и трубка подачи устройства выдачи молока расположены вблизи друг друга для непосредственной подачи в чашку. Однако по практическим соображениям не всегда возможно иметь неподвижное вспенивающее устройство в том же месте, что и устройство выдачи кофе. В частности, выдающее молоко устройство требует более частой очистки, и расположение его неподвижно в месте выдачи кофе, затрудняет, если не исключает, выдачу кофе в течение нескольких минут.
Другой недостаток связан со скоростью, с которой пена выталкивается из устройства под действием сжатого пара. В случае вертикального расположения устройства и направленного вниз выхода, молочная пена направляется в правильном направлении в чашку, но поскольку поток пены выходит более энергично, то он может легко загрязнять окружение машины, включая выход для выдачи кофе, который в результате требуется часто очищать.
Раскрытие изобретения
Поэтому имеется потребность во вспенивающем молоко устройстве, которое может подавать пену более мягким образом. Имеется также потребность в кофеварочной машине, которая может выдавать напитки типа капучино более удобным и гигиеничным образом без указанного выше недостатка слишком энергичного потока.
Поэтому, согласно одному аспекту данного изобретения, устройство, согласно уровню техники, улучшено за счет добавления системы регулирования потока пены, которая тормозит кинетическую энергию потока пены и изменяет его направление в достаточной степени, так что пена мягко выдается из устройства. Кинетическая энергия гасится для обеспечения мягкой выдачи без оказания отрицательного воздействия на качество пены. Кроме того, целью изобретения является также улучшение свойств пены (количества, стабильности, густоты, ).
Согласно другому аспекту данного изобретения паровое вспенивающее устройство содержит систему регулирования потока, позволяющую располагать устройство с различной ориентацией, например, от вертикального до наклонного или горизонтального положения для соответствия требованию по существу смежной, непосредственной и/или раздельной выдачи напитка при мягком протекании пены под действием силы тяжести в вертикальном направлении. В результате, пользователь может правильно ориентировать устройство в соответствии с потребностью без опасности не контролируемого выхода струи пены и/или пара. Пена всегда падает вниз, что делает подачу пены предсказуемой.
Согласно другому аспекту данного изобретения паровое вспенивающее устройство можно соединять с выходом выдачи кофе в одной и той же кофеварочной машине; при этом оба выхода находятся на достаточном расстоянии друг от друга для использования по отдельности; и при этом паровое вспенивающее устройство можно перемещать или ориентировать так, что его выход можно размещать ближе к выходу выдачи кофе; при этом паровое вспенивающее устройство имеет систему регулирования потока пены, которая выполнена с возможностью мягкой выдачи пены в вертикальном положении под действием силы тяжести, независимо от ориентации парового вспенивающего устройства. Таким образом, преимущество заключается в том, что кофе с молочной пеной (например, капучино) можно приготавливать более удобно, т.е. в одном и том же месте и более гигиенично, т.е. с меньшими проблемами разбрызгивания и чистки.
Указанные выше цели достигаются с помощью признаков независимых пунктов формулы изобретения.
Согласно одному варианту выполнения изобретение относится к вспенивающему устройству, выполненному с возможностью приспособления к выходу пара для создания молочной пены, содержащему:
вход для пара,
вход для молока,
вход для воздуха,
вакуумную камеру, выполненную с возможностью приема пара, жидкого молока и воздуха,
ограничение с ограниченным поперечным сечением, предназначенное для пропускания через него продукта с высокой скоростью,
эмульгирующую камеру с большим поперечным сечением, чем ограничение, из которого эмульгируется пенный продукт; при этом эмульгирующая камера имеет выход для выпуска пенного продукта из камеры,
при этом по потоку за выходом предусмотрена система регулирования потока пены, которая содержит демпфирующий поток элемент, расположенный перед выходом, который выполнен с возможностью гашения кинетической энергии потока пены и изменения его направления в достаточной степени для мягкой выдачи пены из устройства.
В одном варианте выполнения демпфирующий пену элемент выполнен с возможностью изменения направления потока, когда он выбрасывается из эмульгирующей камеры, более чем на 90°. Направление потока предпочтительно изменяется на около 180°. Другими словами, поток пены, приходящий с большой энергией из выхода эмульгирующей камеры в первом направлении, направляется во втором направлении, которое по существу противоположно первому направлению. В результате, большая часть энергии теряется, и пена может протекать примерно при атмосферном давлении из этой зоны изменения направления.
В одном варианте выполнения демпфирующий поток элемент является резервуаром, содержащим отверстие, противоположное выходу эмульгирующей камеры и расположенное внизу. Под «резервуаром» понимается любой вид вогнутой формы с центральным отверстием и проходящими вверх боковыми стенками. Резервуар может иметь, предпочтительно, цилиндрическую форму с круглым дном. Резервуар может быть чашей, например, по существу полусферической чашей.
В одном варианте выполнения демпфирующий поток элемент имеет по существу цилиндрическую форму и заканчивается поверхностью дна.
Резервуар помогает демпфировать поток пара или смеси и поэтому должен иметь соответствующие размеры. Весь поток необходимо разрушить или остановить, поэтому резервуар должен иметь достаточную глубину и достаточный диаметр для размещения динамическим образом объема жидкости, выходящей из эмульгирующей камеры.
В одной возможной конструкции демпфирующий элемент может быть прикреплен к наружной кольцевой части системы регулирования потока пены с помощью нескольких спиц, которые разграничивают между ними несколько выходов для выдачи пены. Таким образом, преимущество заключается в симметрии системы относительно центральной оси, что позволяет размещать ее как единое целое внутри устройства, что обеспечивает простое и дешевое расположение. Таким образом, систему можно отливать в форму как единое целое и прикреплять к вспенивающему устройству через патрубок или другое аналогичное соединительное средство.
Поэтому демпфирующий поток элемент может иметь диаметр отверстия по меньшей мере 4 мм, предпочтительно между 5 и 20 мм, и глубину по меньшей мере 5 мм, предпочтительно между 7 и 20 мм.
Для выдачи пены в чашку или т.п. система регулирования потока пены имеет по меньшей мере один выход выдачи пены. Выход выдачи пены выполнен с радиальным смещением относительно выхода эмульгирующей камеры. В результате, поток пара или пены не может выходить непосредственно с высокой энергией, а разрушается в демпфирующем элементе перед выходом.
Форма выхода не является критической, но в предпочтительном варианте выполнения выход выдачи пены является по существу по меньшей мере одной кольцевой частью, проходящей вокруг демпфирующего поток элемента. Такая конфигурация обеспечивает компактную, узкую конструкцию устройства при одновременном обеспечении достаточно широкого пути прохождения для пены для выхода с достаточной скоростью потока. Кроме того, не являясь слишком узким, выход не повреждает пену, создаваемую в устройстве.
Например, выход выдачи пены имеет радиальную ширину по меньшей мере 1 мм, предпочтительно между 2 и 5 мм. Наружный диаметр выхода выдачи пены может составлять между 8 и 30 мм, предпочтительно между 10 и 20 мм.
Согласно другому аспекту изобретение относится к вспенивающему устройству, которое содержит систему регулирования потока пены, которая выполнена с возможностью гашения кинетической энергии потока пены так, что пена протекает по существу в вертикальном направлении под действием силы тяжести, даже когда устройство расположено с определенным наклоном относительно вертикали.
Согласно другому аспекту изобретение относится к кофеварочной машине, в которой выход выдачи кофе и паровое вспенивающее устройство расположены в машине так, что они находятся на расстоянии друг от друга, достаточном для выдачи кофе и молочной пены независимо друг от друга; при этом паровое вспенивающее устройство такой конфигурации расположено с возможностью выдачи молочной пены по существу вертикально. Таким образом, главное улучшение кофеварочной машины состоит в том, что паровое вспенивающее устройство можно перемещать по меньшей мере в два положения; при этом в первом положении выход выдачи пены перемещается ближе к вертикальной линии выхода для кофе, так что молочную пену можно выдавать по существу не перемещая чашку внизу, а также в том, что
паровое вспенивающее устройство содержит систему регулирования потока пены, выполненную с возможностью протекания молочной пены по существу в вертикальном направлении по существу под действием лишь силы тяжести, когда устройство расположено под определенным наклоном относительно вертикали.
В результате этих улучшений, можно выдавать независимо друг от друга как пену, так и капучино (т.е. молочную пену, а затем кофе) из одного и того же места, т.е. без необходимости перемещения чашки, а также, что важно, выдавать поток пены по предсказуемому пути прохождения, т.е. без риска загрязнения зоны обслуживания.
Краткое описание чертежей
Другие преимущества, признаки и цели данного изобретения следуют более четко из приведенного ниже подробного описания вариантов выполнения изобретения со ссылками на прилагаемые чертежи, на которых изображено:
фиг.1 – первый разрез парового вспенивающего устройства, согласно данному изобретению;
фиг.2 – частичный вид устройства, иллюстрирующий работу системы регулирования потока пены;
фиг.3 – система регулирования потока пены, в изометрической проекции на виде сзади;
фиг.4 – система регулирования потока пены, на виде сбоку;
фиг.5 – разрез системы регулирования потока пены по линии А-А на фиг.4;
фиг.6 – разрез варианта выполнения системы регулирования потока пены;
фиг.7 – кофеварочная машина согласно изобретению со своим паровым вспенивающим устройством в первой конфигурации выдачи молочной пены;
фиг.8 – кофеварочная машина согласно изобретению во второй конфигурации выдачи молочной пены;
фиг.9 – второй вариант выполнения системы регулирования потока пены согласно изобретению;
фиг.10 – продольный разрез системы согласно фиг.9;
фиг.11 – третий вариант выполнения системы регулирования потока пены согласно изобретению;
фиг.12 – разрез системы регулирования потока пены по линии В-В на фиг.11.
Осуществление изобретения
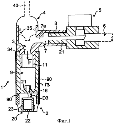
На фиг.1 показан разрез парового вспенивающего устройства 1, или системы сопел, которую можно устанавливать на выход 4 для пара кофеварочной машины с целью приготовления напитков типа капучино. Паровое вспенивающее устройство 1 соединено входом 35 для пара с линией 40 подачи текучей среды, которая питается от генератора пара, например кофеварочной машины типа эспрессо.
Паровое вспенивающее устройство 1 содержит вакуумную камеру 3, соединенную через ограничивающий количество потока элемент 5 с линией 6 подачи молока, которая проходит от внешнего контейнера с молоком. Камера 7 предварительного смешивания, в которую входит воздушный канал 8, образована между вакуумной камерой и ограничивающим количество потока элементом 5 на концевой поверхности цилиндрического выступа 21 ограничивающего элемента 5. Камера 7 предварительного смешивания и вакуумная камера 3 соединены каналом или секцией 7а с меньшим поперечным сечением по сравнению с сечением камеры 7.
На своем нижнем по потоку конце вакуумная камера 3 переходит в ограничение 34, которое ведет в эмульгирующую камеру 9. Стрелка F указывает первичное направление потока, которое задает также первичное направление устройства относительно ориентации устройства в пространстве.
Эмульгирующая камера может быть ступенчатой, как показано на фиг.1, с первым сегментом 11 и вторым концентричным сегментом 13 большего диаметра. В качестве альтернативного решения эмульгирующая камера имеет относительно непрерывное (постоянное или изменяющееся) сечение по своей длине.
Для замедления вспененного потока эмульгирующая камера заканчивается нижней поверхностью, которая вызывает потерю частью потока кинетической энергии. Предусмотрен центральный выход 16 для обеспечения выхода вспененной жидкости из эмульгирующей камеры.
Как показано на фиг.1-4, по потоку за эмульгирующей камерой предусмотрена система 2 регулирования потока пены, которая помогает дополнительно замедлять поток пены, выходящей из эмульгирующей камеры. Было установлено, что с помощью указанной эмульгирующей камеры поток пены не достаточно замедляется для мягкой выдачи пены, т.е. без риска разбрызгивания, в частности, в условиях уменьшенной подачи молока.
Для устранения этого недостатка установлена система регулирования потока пены, которая содержит демпфирующий поток элемент 20, который имеет форму резервуара, входное отверстие 21 которого противоположно выходу 16 эмульгирующей камеры. Резервуар содержит также закрытое дно 22, проходящее по существу поперек направления потока и боковым стенкам 23, которые поднимаются вверх или в направлении потока.
Поэтому, когда поток вспененной жидкости выходит из выхода 16 с относительно высокой скоростью, то он попадает в демпфирующий поток элемент 20, который образует буферный объем для вспененной жидкости. Направление вспененной жидкости радикально изменяется на около 180° за счет соударения с дном 22 резервуара. Резервуар должен быть полостью достаточного объема для динамического приема всей вспененной жидкости, которая входит и выходит из резервуара, в то время как ее кинетическая энергия значительно уменьшается. Объем также не должен быть слишком узким, чтобы не повреждать сеть мелких пузырьков жидкости, создаваемых во время стадии эмульгирования в эмульгирующей камере.
В частности, входное отверстие резервуара должно иметь диаметр D1, равный по меньшей мере 4 мм, предпочтительно между около 5 и 20 мм. Глубина D2 резервуара должна составлять по меньшей мере 5 мм, предпочтительно между около 7 и 20 мм. Расстояние до демпфирующего поток элемента может быть также важным для оставления достаточного зазора для свободного протекания вверх демпфированной вспененной жидкости. Это расстояние D3 может составлять, например, по меньшей мере 1,5 мм, предпочтительно между 2 и 10 мм.
Система регулирования потока пены дополнительно имеет по меньшей мере один выход 45 выдачи пены, образованный между наружной частью корпуса 24 и демпфирующим элементом 20, достаточного объема для выпадания пены вниз при низком давлении или даже предпочтительно под давлением силы тяжести после демпфирования.
В показанном предпочтительном примере выполнения имеется несколько частей 450, 451, 452 выхода, расположенных радиально вокруг демпфирующего поток элемента для обеспечения выхода объема вспененной жидкости с достаточно низкой скоростью из устройства. Как показано на фиг.3, демпфирующий элемент 20 прикреплен к части корпуса 24 рядом спиц 453, которые ограничивают между собой выходы выдачи пены.
Например, в предпочтительном варианте выполнения выход должен иметь ширину W, составляющую по меньшей мере 1 мм, предпочтительно между 2 и 5 мм. Наружный диаметр D4, измеренный от внутренней кромки наружного корпуса 25 системы, должен составлять по меньшей мере 8 мм, предпочтительно между 10 и 30 мм.
Для целей очистки система регулирования потока пены может быть выполнена в виде съемной части устройства. Эту часть можно изготавливать посредством литья в форму допущенного для применения с продуктами питания пластичного или эластомерного материала. Часть 2 может удерживаться вместе с другими элементами устройства, например, с помощью гнезда 90. Гнездо может быть выполнено из металла или жесткой пластмассы. Другие части устройства, такие как камеры 3, 7 и 9 можно изготавливать из допущенного для применения с продуктами питания пластичного или эластомерного материала.
На фиг.6 показан вариант выполнения системы регулирования потока пены, в котором резервуар 20 имеет форму чаши.
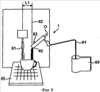
На фиг.7 и 8 показана кофеварочная машина, которая включает паровое вспенивающее устройство 1, согласно изобретению которое выполнено с возможностью выдачи молочной пены по меньшей мере в двух различных конфигурациях. Кофеварочная машина содержит раму 30, типичные внутренние компоненты, включая нагреватель/испаритель воды (не изображен), выход 80 выдачи кофе, предназначенный для выдачи кофейного напитка, и вспенивающее устройство 1, предназначенное для выдачи молочной пены. Вспенивающее устройство получает молоко из молочного контейнера 60 через гибкий шланг или трубку 61. Выход выдачи кофе находится на определенном расстоянии от вспенивающего устройства для обеспечения приготовления чисто кофейного напитка или молочной пены независимо друг от друга. Преимущество состоит также в том, что вспенивающее устройство можно снимать для очистки, в то время как машина все еще остается в рабочем состоянии для выдачи кофе. Другое преимущество состоит в том, что при приготовлении черного кофе вспенивающее устройство можно отвести в сторону на значительное расстояние для исключения случайного попадания капель молока в кофе.
Однако согласно одному аспекту изобретения вспенивающее устройство 1 выполнено с возможностью перемещения так, что его выход 45 выдачи пены можно перевести ближе к вертикальному выравниванию с выходом 80 выдачи кофе. Выход 45 попадает на вертикальную линию 82, которая расположена достаточно близко к вертикальной линии 81, так что можно приготовлять капучино без перемещения чашки; например, чашка остается неподвижной на подносе 85. Под «близко» понимается, что вертикальные линии 81, 82 должны быть в режиме выдачи капучино на расстоянии друг от друга не более 60 мм, предпочтительно не более 50 мм, еще более предпочтительно от 10 до 40 мм, при этом оптимальное расстояние (L1) составляет 15-30 мм. Поскольку вспенивающее устройство, согласно изобретению достаточно демпфирует поток молочной пены, то пену можно наливать в чашку почти вертикально из выхода, т.е. по линии 82.
Приготовление капучино может быть дополнительно автоматизировано с помощью программы в машине, которая последовательно запускает цикл вспенивания молока перед циклом выдачи кофе при нажатии на кнопку, как известно из приготовления капучино в автоматических кофеварочных машинах. В результате, капучино можно приготовлять более удобным образом, в то время как вспенивающее устройство остается легко снимаемым и доступным для чистки. Выход выдачи кофе подвергается меньшей опасности загрязнения брызгающим молоком или паром, поскольку устройство выдачи пены, даже в конфигурации выдачи капучино, т.е. вблизи линии выдачи кофе, выдает молоко без значительного бокового отклонения, а почти по вертикали из выхода для вспененной жидкости.
В показанном примере выполнения вспенивающее устройство 1 выполнено с возможностью перемещения лишь вдоль пути поворота вокруг оси, расположенной вблизи верхнего конца устройства, т.е. вблизи или у входа или канала для пара. В этом случае вспенивающее устройство можно поворачивать вокруг оси О, в то время как его нижний конец или выход 45 выдачи пены перемещается в направлении линии 80 выдачи кофе вдоль дугового пути А. Пользователь может просто вручную поворачивать устройство для перемещения его из одного положения в другое. Указательное средство, такое как штифт 83, может быть предусмотрено дополнительно для обеспечения остановки устройства на правильном расстоянии от средства выдачи кофе.
Естественно, что паровое вспенивающее устройство можно контролируемо перемещать относительно линии выдачи кофе различными эквивалентными путями. Например, устройство можно перемещать за счет скольжения по строго горизонтальному пути по направляющей скольжения. В качестве альтернативного решения паровое вспенивающее устройство может быть соединено с машиной с помощью деформируемого или растягиваемого соединения, такого как мягкий пластик или свернутая металлическая трубка. В этом случае устройство можно перемещать по нескольким осям.
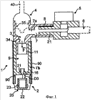
На фиг.9 показан вариант выполнения системы регулирования потока пены, согласно изобретению. Система выполнена с возможностью прикрепления с помощью зажима к одному концу обычного парового устройства выдачи пены, такому как описано в патенте США 6499389 В1, полное содержание которого включается в данное описание. Система содержит в направлении F потока крутой поворот по меньшей мере с одной смещенной поверхностью 150, служащей в качестве демпфирующего поток элемента, в которую может ударяться поток пены, приходящий из расположенной выше по потоку эмульгирующей камеры (не изображена) и соответственно замедляться.
В частности, система содержит в направлении потока первую зажимную часть 151 трубки и по меньшей мере одну вторую часть 152 трубки, которая смещена относительно первой части 151 трубки. Система предпочтительно содержит также третью часть 153 трубки, которая проходит по существу параллельно первой части трубки и объединяется со второй частью 152. Эта третья часть служит для направления потока в чашку, когда система расположена вертикально, как показано на фигурах. Первая часть трубки имеет ослабляющее расположение с поперечной прорезью 154 и продольной прорезью 155, которые позволяют трубчатой части 151 слегка деформироваться наружу для зажима на наружной поверхности парового вспенивающего устройства. В этом случае система заменяет систему, согласно фиг.3-5. Естественно, что систему можно выполнять постоянной или интегрированной во вспенивающее устройство, так же как система, согласно фиг.3-5, и не обязательно должна быть выполнена с возможностью зажимания. В этом случае первую часть трубки можно выполнять очень короткой и с диаметром устройства. Было установлено, что правильное уменьшение скорости потока достигается без прерывания пены с помощью такой конструкции.
На фиг.11 и 12 показан другой вариант выполнения системы 2 регулирования потока пены. Система также выполнена с возможностью зажимания на паровом вспенивающем устройстве, описанного в патенте США 6499389 рода или на аналогичном устройстве, хотя система может быть интегральной частью устройства, что понятно для специалистов в данной области техники. Система содержит в направлении потока F демпфирующий поток элемент в виде большой демпфирующей камеры 210, содержащей переднюю стенку 211 в положении, по существу поперечном потоку, приходящему из расположенной выше по потоку эмульгирующей камеры (не изображена). Камера 210 больше, чем вход 218 или выход эмульгирующей камеры (не изображен). Камера предпочтительно имеет наибольший размер по меньшей мере 15 мм, более предпочтительно 20 мм или более. Таким образом, демпфирующая камера принимает пену или пар, приходящие с относительно большой скоростью из эмульгирующей камеры 9 устройства и демпфирует его в достаточной степени за счет соударения потока с поверхностью 211 и объема пены, занимающего камеру 210, перед выходом из камеры из периферийной части 212 выхода в виде спокойной вспененной жидкости. Система снабжена также зажимной частью 215 трубки с прорезями 216, 217, обеспечивающими деформацию и охват нижнего конца парового вспенивающего устройства. Вход 218 потока системы и выход 212 выдачи пены системы предпочтительно находятся в двух плоскостях, перпендикулярных друг другу, с камерой между ними, что делает демпфирующее действие особенно эффективным.
На фиг.13 показана кофеварочная машина с системой, согласно фиг.11-12, прикрепленной посредством зажимания к паровому вспенивающему устройству, и при этом паровое вспенивающее устройство расположено не в вертикальном положении, т.е. по существу горизонтально, для выдачи вспененного продукта непосредственно в чашку с кофе. Кофеварочная машина имеет кнопку 91, которая передает команду на непосредственную выдачу напитка капучино посредством последовательной выдачи порции вспененного молока через устройство 1 с прикрепленной системой 2 регулирования потока пены, а затем выход 80 выдачи кофе. Машина имеет внутри, естественно, электронный контроллер, способный включать два цикла выдачи в правильной последовательности. Подходящее программирование электронного контроллера известно для специалистов в данной области техники.
Формула изобретения
1. Вспенивающее устройство (1), выполненное с возможностью согласования с выходом для пара с целью создания молочной пены, содержащее вход (35) для пара, вход (6) для молока, вход (8) для воздуха, вакуумную камеру (3), выполненную с возможностью приема пара, жидкого молока и воздуха, ограничение (34) с ограниченным поперечным сечением, предназначенное для пропускания через него продукта с высокой скоростью, эмульгирующую камеру (9) с большим поперечным сечением, чем ограничение, из которой эмульгируется пенный продукт; при этом эмульгирующая камера имеет выход (16) для выпуска пенного продукта из камеры в первом направлении, причем ниже по потоку за выходом (16) предусмотрена система (2) регулирования потока пены, которая содержит демпфирующий поток элемент (20), расположенный перед выходом, который предназначен для гашения кинетической энергии потока пены и изменения его движения во второе направление, отличающееся тем, что указанное второе направление является существенно противоположным первому направлению, при этом пена спокойно выдается системой регулирования потока из выхода эмульгирующей камеры.
2. Вспенивающее устройство по п.1, в котором система регулирования потока установлена таким образом, что большая часть энергии потока пены, выходящего из выхода (16) эмульгирующей камеры (9), теряется при прохождении через систему (2) регулирования потока.
3. Вспенивающее устройство по п.1 или 2, в котором демпфирующий поток элемент (20) является резервуаром, содержащим отверстие (21), противоположное выходу эмульгирующей камеры, и дно (22), которое изменяет направление потока приблизительно на 180°.
4. Вспенивающее устройство по п.3, в котором демпфирующий поток элемент (20) имеет, по существу, цилиндрическую форму.
5. Вспенивающее устройство по п.4, в котором демпфирующий поток элемент (20) имеет диаметр отверстия, по меньшей мере, 4 мм и глубину, по меньшей мере, 5 мм.
6. Вспенивающее устройство по п.5, в котором демпфирующий поток элемент (20) имеет диаметр отверстия между 7 и 20 мм и глубину между 8 и 20 мм.
7. Вспенивающее устройство по п.3, в котором демпфирующий поток элемент (20) имеет форму чаши.
8. Вспенивающее устройство по любому из пп.4-6, в котором демпфирующий поток элемент (20) имеет форму чаши.
9. Вспенивающее устройство по п.1, в котором система (2) регулирования потока пены имеет, по меньшей мере, один выход (45) выдачи пены, который радиально смещен относительно выхода (16) эмульгирующей камеры.
10. Вспенивающее устройство по п.9, в котором выход (45) выдачи пены является существенно, по меньшей мере, одной кольцевой частью, проходящей вокруг демпфирующего поток элемента.
11. Вспенивающее устройство по п.10, в котором выход (45) выдачи пены имеет радиальную ширину, по меньшей мере, 1 мм.
12. Вспенивающее устройство по п.11, в котором демпфирующий поток элемент (20) прикреплен к наружной кольцевой части (45) системы регулирования потока пены с помощью, по меньшей мере, одной спицы (453), которая разделяет, по меньшей мере, один выход выдачи пены.
13. Вспенивающее устройство по п.12, в котором демпфирующий поток элемент (20) прикреплен к наружной кольцевой части системы регулирования потока пены с помощью нескольких спиц (453), которые разделяют на несколько выходов (450, 451, 452) выдачи пены.
14. Вспенивающее устройство по п.13, в котором наружная часть (24) является цилиндрической или расширяющейся в направлении потока.
15. Вспенивающее устройство по п.1, в котором система (2) регулирования потока пены выполнена такой, что она гасит кинетическую энергию потока пены, позволяя пене протекать в существенно вертикальном направлении под действием силы тяжести даже в том случае, когда устройство устанавливается под некоторым наклоном по отношению к вертикали.
16. Кофеварочная машина, которая содержит вспенивающее устройство по любому из пп.1-15.
17. Кофеварочная машина по п.16, содержащая выход (80) выдачи кофе, имеющий вертикальную линию (81), вспенивающее устройство (1), выполненное с возможностью согласования с выходом (4) для пара с целью создания молочной пены, причем выход (80) выдачи кофе и вспенивающее устройство (1) устанавливаются на машине так, что они находятся в первом положении вспенивающего устройства (1) на расстоянии друг от друга, эффективном для выдачи кофе и молочной пены независимо; при этом вспенивающее устройство (1) в такой конфигурации расположено с возможностью выдачи молочной пены, по существу, вертикально, а паровое вспенивающее устройство выполнено с возможностью контролируемого перемещения во второе положение, так что его выход (45) выдачи пены может перемещаться ближе к вертикальной линии (81) выхода (80) для кофе, так что молочную пену можно выдавать, по существу не перемещая чашку под выходом.
РИСУНКИ
|
|