|
|
(21), (22) Заявка: 2009123418/09, 30.11.2007
(24) Дата начала отсчета срока действия патента:
30.11.2007
(30) Конвенционный приоритет:
20.12.2006 EP 06126733.2
(46) Опубликовано: 10.09.2010
(56) Список документов, цитированных в отчете о поиске:
JP 08149679 А, 07.06.1996. RU 2165666 C1, 20.04.2001. RU 2262170 C2, 10.10.2005. US 5033982 A, 23.07.1991. US 6383022 B1, 07.05.2002.
(85) Дата перевода заявки PCT на национальную фазу:
20.07.2009
(86) Заявка PCT:
US 2007/085995 20071130
(87) Публикация PCT:
WO 2008/079588 20080703
Адрес для переписки:
105215, Москва, Щелковское шоссе, 48-1, а/я 26, Н.А.Рыбиной
|
(72) Автор(ы):
ДЕЗАР Кристоф (FR), ТУЙОН Дидье (FR), МАРСАК Ивонник (FR)
(73) Патентообладатель(и):
3М ИННОВЕЙТИВ ПРОПЕРТИЗ КОМПАНИ (US)
|
(54) СОЕДИНИТЕЛЬНОЕ УСТРОЙСТВО ДЛЯ КАБЕЛЕЙ, ДЕРЖАТЕЛЬ ДЛЯ РАЗЪЕМА ТАКОГО СОЕДИНИТЕЛЬНОГО УСТРОЙСТВА И НАБОР ДЛЯ СОЕДИНЕНИЯ КАБЕЛЕЙ
(57) Реферат:
Соединительное устройство предназначено для кабелей, содержащих по меньшей мере один провод. Устройство включает держатель, по меньшей мере один разъем, размещенный в держателе и имеющий первое приемное отверстие для вставки соединяемого провода, и направляющее приспособление, расположенное перед первым приемным отверстием по меньшей мере одного разъема, причем первое приемное отверстие имеет поперечное сечение и направляющее приспособление включает по меньшей мере один направляющий канал, проходящий через направляющее приспособление и соосный с первым приемным отверстием по меньшей мере одного разъема для направления провод в первое приемное отверстие разъема. По меньшей мере один направляющий канал включает противоположные дальний и ближний концы, ближний конец направлен в сторону к и дальний конец направлен в сторону от первого приемного отверстия по меньшей мере одного разъема. Ближний конец имеет поперечное сечение не более поперечного сечения первого приемного отверстия по меньшей мере одного разъема. Дальний конец имеет поперечное сечение больше поперечного сечения ближнего конца. Изобретение обеспечивает создание компактного и легко доступного для крепежа соединения удобного в обращении. 2 н. и 7 з.п. ф-лы, 6 ил.
Область техники
Настоящее изобретение предусматривает соединительное устройство для кабелей, содержащих по меньшей мере один провод. Кроме того, настоящее изобретение также относится к держателю для по меньшей мере одного разъема для кабелей. Наконец, настоящее изобретение также относится к набору для соединения кабелей.
Описание известного уровня техники
Во множестве различных областей применения необходимо соединять электрические кабели, содержащие по меньшей мере один провод. Одним из примеров применения кабеля, нуждающегося в соединении, является линия электропередач для светофоров, уличные светильники для освещения улиц или общественных мест или другие виды электрической нагрузки, для которых используются кабеля, имеющие относительно жесткие провода. В частности, кабели, содержащие провода большого поперечного сечения, трудно вставить в разъемы, расположенные в держателе для размещения множества разъемов. Жесткость индивидуальных проводов затрудняет правильную вставку всех проводов одновременно в индивидуальные приемные отверстия разъемов.
Другое требование к соединительным устройствам заключается в том, что индивидуальные разъемы, размещенные в держателе, электрически изолированы друг от друга. Типично, соединительное устройство включает защитную оболочку для установки держателя, который, в свою очередь, содержит индивидуальные разъемы. После концевой заделки индивидуальных проводов в разъемы, держатель вставляется в защитную оболочку и герметизирующий материал для заполнения пространства в защитной оболочке вокруг держателя вводится в защитную оболочку. Важно, чтобы герметизирующий материал удерживал индивидуальные провода и разъемы на расстоянии друг от друга при минимальном расстоянии между соседними кабелями и соседними разъемами.
Разделяющие прокладки для проводов в соединительных устройствах известны, например, из ЕР-8-0372936 и US-A-6099345. Эти разделяющие прокладки для проводов изготавливаются в виде элементов для удерживания индивидуальных кабелей или проводов на расстоянии друг от друга. Использование известных разделяющих прокладок для проводов для электрических разъемов является довольно сложным, потому что индивидуальные разъемы должны быть размещены вокруг разделяющих прокладок для проводов, что является трудоемкой операцией, и требует определенной подготовки и опыта работы.
Направляющие приспособления для выравнивания сопряженных элементов разъема соединительного устройства в основном известны. Эти известные соединительные устройства требуют использования двух элементов разъема для каждого соединяемого кабеля, где элементы разъема ориентируются друг относительно друга. Один пример такого соединительного устройства раскрыт в US-A-2005/0271328. Известные системы требуют концевой заделки соединяемых проводов в сопряженные элементы разъема, что снова приводит к описанной выше проблеме, если провода являются достаточно жесткими из-за величины их поперечного сечения.
Из ЕР-8-1180823 известно соединительное устройство для кабеля, в котором индивидуальные штыри одного сопряженного элемента разъема заходят между индивидуальными параллельными проводящими жилами проводов кабеля, неподвижно закрепленными в другом сопряженном элементе разъема. В таком разъеме отсутствует риск ненадежного электрического соединения между штырями и проводящими жилами индивидуальных кабелей.
Для облегчения вставки проводов в приемные отверстия электрических разъемов известно обеспечение соединительного устройства направляющими приспособлениями для вставки. Пример такого соединительного устройства раскрыт в ЕР-В-0763873. Известное направляющее приспособление для вставки включает направляющий проход, имеющий коническую форму и сужающийся к приемному отверстию разъема. Однако в известном соединительном устройстве все равно необходимо вставлять индивидуальные провода в разъемы в направлении, более или менее параллельном продольному направлению разъемов. При этом в противном случае, остается возможность (которую следует ожидать, особенно, для жестких проводов) того, что индивидуальные провода могут задевать края приемных отверстий индивидуальных разъемов.
Из DE-A-3202747 известен штепсельный разъем, включающий воронкообразные проходы для вставки проводов кабеля для соединения с контактными штырями штепсельного разъема.
Другим требованием к соединительному устройству для многожильных кабелей является легкий доступ к крепежным средствам (таким как винты и т.п.) индивидуальных разъемов. В частности, легкий доступ к крепежным элементам остается необходимым в тех случаях, когда разъемы рассчитаны на обеспечение компактного соединительного устройства, занимающего лишь небольшое пространство.
Соответственно, существует потребность в усовершенствованном соединительном устройстве, удовлетворяющем вышеупомянутым требованиям простым способом и удобным в обращении.
Сущность изобретения
Настоящее изобретение предусматривает соединительное устройство для кабелей, содержащих по меньшей мере один провод, где соединительное устройство включает
– держатель,
– по меньшей мере один разъем, размещенный в держателе и имеющий первое приемное отверстие для вставки соединяемого провода, и
– направляющее приспособление, расположенное перед первым приемным отверстием по меньшей мере одного разъема, причем первое приемное отверстие имеет поперечное сечение и направляющее приспособление включает по меньшей мере один направляющий канал, проходящий через направляющее приспособление и соосный с первым приемным отверстием по меньшей мере одного разъема для направления провода в первое приемное отверстие разъема,
– где по меньшей мере один направляющий канал имеет противоположные дальний и ближний концы, причем ближний конец направлен в сторону к, и дальний конец направлен в сторону от первого приемного отверстия по меньшей мере одного разъема,
– где ближний конец имеет поперечное сечение не более поперечного сечения первого приемного отверстия по меньшей мере одного разъема,
– где дальний конец имеет поперечное сечение больше поперечного сечения ближнего конца,
– где дальний конец имеет поперечное сечение больше поперечного сечения ближнего конца, где по меньшей мере один разъем включает второе приемное отверстие, расположенное напротив первого приемного отверстия и предназначенное для вставки другого провода,
– где другое направляющее приспособление, включающее канал, соосный со вторым приемным отверстием, расположено перед вторым приемным отверстием, и
– где два направляющих приспособления размещены на противоположных концах приемного пространства.
В другом аспекте настоящего изобретения предусматривается держатель для по меньшей мере одного разъема для кабелей, содержащих по меньшей мере один провод, в котором держатель содержит:
– корпус, имеющий по меньшей мере одно приемное пространство для вставки по меньшей мере одного разъема, имеющего первое приемное отверстие для вставки соединяемого провода, и
– направляющее приспособление, расположенное перед корпусом и включающие по меньшей мере один направляющий канал, проходящий через направляющее приспособление и соосный с приемным пространством, для направления провода, вставляемого в направляющий канал в направлении к приемному пространству,
– где по меньшей мере один направляющий канал включает противоположные дальний и ближний концы, причем ближний конец направлен в сторону к и дальний конец направлен в сторону от приемного пространства,
– где ближний конец имеет поперечное сечение не более поперечного сечения первого приемного отверстия по меньшей мере одного разъема, который должен быть размещен в приемном пространстве, и
– где дальний конец имеет поперечное сечение больше поперечного сечения ближнего конца.
Соединительное устройство в соответствии с настоящим изобретением включает держатель, имеющий по меньшей мере одно приемное пространство для вставки разъема для провода. Разъем имеет по меньшей мере одно (первое) приемное отверстие для вставки соединяемого провода. Типично, такой разъем включает два приемные отверстия, например, на противоположных концах разъема. Такой разъем типично имеет трубчатую форму и включает крепежные детали, такие как, например, крепежные винты, проходящие во внутреннее пустое пространство разъема для вхождения в контакт с соединяемыми проводами путем прижимания проводов к разъему.
Перед приемным пространством и первым приемным отверстием разъема, размещенного в приемном пространстве держателя, расположено направляющее приспособление для направления провода в первое приемное отверстие разъема. Направляющее приспособление включает по меньшей мере один направляющий канал, проходящий через направляющее приспособление и соосный с первым приемным отверстием по меньшей мере одного разъема. Направляющий канал имеет два противоположных конца, а именно, дальний и ближний концы, где ближний конец направлен в сторону к первому приемному отверстию по меньшей мере одного разъема (например, приемному пространству держателя), и дальний конец направлен в сторону от разъема и, соответственно, служит для размещения провода, вставляемого в направлении к и внутрь разъема, С этой целью, дальний конец направляющего канала имеет поперечное сечение, большее поперечного сечения на ближнем конце направляющего канала. В соответствии с изобретением ближний конец направляющего приспособления имеет поперечное сечение, не превышающее поперечного сечения первого приемного отверстия по меньшей мере одного разъема. Такая конструкция гарантирует, что направляющий канал и, в частности, поверхность сопряжения между направляющим каналом и разъемом не будет содержать каких-либо уступов, краев или поверхностей, направленных в сторону дальнего отверстия направляющего канала.
Направляющее приспособление и соотношение между поперечными сечениями дальнего и ближнего концов направляющего канала и поперечным сечением приемного отверстия разъема образуют приспособление, облегчающее вставку соединяемого провода. Это приспособление, облегчающее вставку, очень полезно, в частности, для многожильного кабеля, имеющего довольно жесткие провода, которые типично не совмещены с соответствующими разъемами, но которые автоматически точно совмещаются с разъемами с помощью направляющего приспособления направляющих каналов, расположенных перед держателем, в котором размещены индивидуальные разъемы.
Для электрической изоляции индивидуальных разъемов в случае держателя, включающего множество разъемов, держатель типично изготовлен из электроизоляционного материала. В альтернативном варианте воплощения, держатель может содержать также другие материалы, и, в частности, электропроводящие материалы, если индивидуальные разъемы установлены с электрической изоляцией по отношению к держателю. Например, между индивидуальными разъемами и держателем может быть размещен изоляционный материал, в то время как держатель сам по себе изготовлен из электропроводящего материала.
В настоящем изобретении множество разъемов может быть размещено в держателе с неподвижным относительным расположением. Соответственно, держатель также выполняет функцию разделительного приспособления разъемов, удерживающего индивидуальные разъемы на расстоянии и изолированными друг от друга.
В соответствии с изобретением каждый разъем соединительного устройства включает первое и второе приемные отверстия, которые нормально расположены напротив друг друга для вставки двух соединяемых проводов. В таком варианте воплощения, в соответствии с изобретением, типично, перед каждым из приемных отверстий расположено по одному направляющему приспособлению соответственно.
В одном варианте воплощения настоящего изобретения направляющий канал каждого направляющего приспособления имеет по существу коническую форму. Нормально или обычно направляющий канал на протяжении 360° окружности его внутренней стенки сужается от дальнего конца к ближнему концу. Также предпочтительно, чтобы внутренняя поверхность направляющего приспособления была по существу ровной. В качестве альтернативы, внутренняя поверхность может иметь канавки или гребнеобразные выступы, проходящие в продольном направлении по внутренней поверхности направляющего приспособления.
В другом варианте воплощения настоящего изобретения держатель содержит множество разъемов, т.е. держатель имеет множество приемных пространств, в каждом из которых размещен по меньшей мере один разъем, где каждое направляющее приспособление включает множество направляющих каналов, проходящих через него, причем каждый направляющий канал расположен соосно с соответствующим одним из первых отверстий множества разъемов. В таком соединительном устройстве, предпочтительно, разъемы размещены равноудалено по отношению к продольной оси держателя. Такая конструкция является предпочтительной, так как крепежные средства индивидуальных разъемов доступны с наружной стороны держателя в пределах вписанного угла не более примерно 270°, предпочтительно, не более примерно 180°. Конкретнее, такое размещение разъемов в держателе удобно для выполнения операций с разъемами для крепления кабелей, потому что доступ ко всем крепежным средствам всех разъемов обеспечивается в области вокруг держателя, охватывающей менее 360°, так чтобы не было необходимости в доступе к крепежным средствам, например, с нижней стороны держателя. Конкретнее, когда соединяемые кабеля вставлены в разъемы, в частности, в случае жестких кабелей, держатель невозможно повернуть так, чтобы получить доступ к крепежным средствам нижней части наружной стороны держателя. Поскольку держатель в такой конфигурации, т.е. со вставленными в разъемы проводами, трудно вращать или поворачивать, очень важно, чтобы никакие крепежные средства не требовали выполнения операций с нижней стороны держателя.
Как указывалось выше, соединительное устройство типично окружено защитной оболочкой, образующей перемычку в пространстве между наружной изоляционной оболочкой двух кабелей. Для создания свободного пространства вокруг держателя между держателем и защитной оболочкой, предпочтительно, обеспечивают держатель и/или каждое направляющее приспособление наружными распорными выступами. Эти наружные распорные выступы позволяют центрировать соединительное устройство в защитной оболочке таким образом, чтобы герметизирующий материал (например, двухкомпонентная смола, коммерчески доступная от фирмы 3М Company, St. Paul, Minnesota, USA, под торговой маркой SCOTCHCAST) мог быть введен в защитную оболочку для заполнения пространства между соединительным устройством и защитной оболочкой.
Типично, с целью безопасности, силовые кабеля снабжены защитными или экранирующими оболочками кабелей, расположенными вокруг группы проводов кабеля, и окруженными наружным изоляционным слоем наружной оболочки кабеля. Важно, чтобы экранирующие оболочки двух соединяемых кабелей также были электрически соединены. В одном варианте воплощения настоящего изобретения держатель и/или каждое направляющее приспособление включает или содержит по меньшей мере один наружный зажим для крепления дополнительного провода для соединения экранирующих оболочек кабелей.
В другом аспекте настоящего изобретения предусматривается набор для соединения кабелей, каждый из которых содержит по меньшей мере один провод, где набор включает:
– соединительное устройство в соответствии с по меньшей мере одним из вышеупомянутых вариантов воплощения,
– защитную оболочку, окружающую соединительное устройство, и
– герметизирующий материал для заполнения пространства, находящегося в защитной оболочке вокруг соединительного устройства при ее размещении в защитной оболочке.
В альтернативном варианте воплощения настоящего изобретения набор включает:
– держатель в соответствии с по меньшей мере одним из вышеупомянутых вариантов воплощения,
– по меньшей мере один разъем для размещения внутри держателя,
– защитную оболочку для окружения держателя, и
– герметизирующий материал для заполнения разделяющего пространства в защитной оболочке, находящегося вокруг держателя при его размещении в защитной оболочке.
В обоих вариантах воплощения набора герметизирующий материал предназначен для заполнения пространства в защитной оболочке вокруг соединительного устройства. Герметизирующий материал типично вводится через отверстие в защитной оболочке. После заполнения пространства в защитной оболочке вокруг соединительного устройства, отверстие в защитной оболочке закрывают. Герметизирующий материал может быть отверждаемым или неотверждаемым и, в частности, может быть смолой или гелем или пеной (предпочтительно пеной с закрытыми ячейками для предотвращения прохождения воды через пену).
Соединительное устройство по настоящему изобретению может быть снабжено корпусом, образующим держатель и направляющее приспособление в виде единой детали или в виде отдельных элементов. Соответственно, держатель и направляющее приспособление могут быть сформованы заедино. Типично, держатель и направляющее приспособление изготавливаются из пластических материалов методом литья под давлением. В таком процессе разъем или разъемы могут быть вставлены в форму перед формованием соединительного устройства. Типично, держатель и каждое направляющее приспособление являются отдельными элементами, которые подгоняются друг к другу и собираются после формования индивидуальных элементов.
Краткое описание чертежей
Настоящее изобретение будет описано более подробно со ссылками на чертежи, из которых:
фиг.1 изображает защитную оболочку соединительного устройства для соединения индивидуальных проводов двух кабелей линии электропередач,
фиг.2 представляет собой вид в перспективе соединительного устройства с индивидуальными элементами, соединенными друг с другом,
фиг.3 представляет собой перспективное покомпонентное изображение соединительного устройства в соответствии с фиг.2,
фиг.4 представляет собой вид в поперечном сечении по линии IV-IV на фиг.2,
фиг.5 представляет собой вид с торца соединительного устройства в направлении V на фиг.2, и
фиг.6 представляет собой вид с частичным разрезом соединительного устройства по линии VI-VI на фиг.2.
Описание предпочтительного варианта воплощения
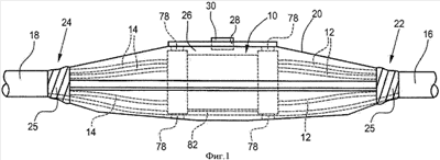
Фиг.1 изображает соединительное устройство 10 для соединения индивидуальных проводов 12, 14 двух кабелей линии электропередач 16, 18. Соединительное изделие 10 расположено внутри наружной защитной оболочки 20, имеющей два противоположных конца 22, 24, окружающей кабеля 16 и 18 и герметизированной с ней, например, с помощью материала герметика 25. Пространство 26 в защитной оболочке 20 вокруг соединительного устройства 10, а также вокруг индивидуальных проводов 12, 14, заполнено герметизирующим материалом, таким как смола. Этот материал вводится в защитную оболочку 20 через отверстие 28, закрытое крышкой 30.
Конструкция и схема соединительного изделия 10 изображены более детально на фиг.2-5.
Индивидуальные элементы и детали соединительного изделия 10 изображены на фиг.2 и 3. Соединительное изделие 10 включает держатель 32 и два направляющих элемента для вставки проводов 34, 36, расположенных с противоположных сторон держателя 32. Держатель 32 включает корпус 38, имеющий протяженность в продольном направлении и содержащий приемные пространства 40 для вставки по существу трубчатых электрических разъемов 42. В этом варианте воплощения корпус 38 держателя 32 содержит пять приемных пространств 40 с пятью размещенными в них разъемами 42. Каждый разъем 42 содержит электропроводящую втулку 44 с двумя крепежными винтами 46 для зажима электрических проводов 12, 14, вставляемых в приемные отверстия 48, 50 разъемов 42 (см. также фиг.5).
В этом варианте воплощения приемные пространства 40 являются открытыми в направлении к противоположным концам 52, 54 корпуса 38 держателя 32. Соответственно разъемы 42 могут быть вставлены в приемные пространства 40 с одного из противоположных концов 52, 54. Кроме того, приемные пространства 40 снабжены щелевидными отверстиями 56 на круговой наружной поверхности корпуса 38. В собранном состоянии, когда разъемы 42 вставлены в приемные пространства 40, крепежные винты 46 проходят через щелевидные отверстия 56, обеспечивающие доступ к крепежным винтам 46 и, в частности, предотвращают вращение трубчатых разъемов 42 в приемных пространствах 40, так чтобы крепежные винты 46 сохраняли свое положение, обеспечивая доступ со стороны круговой наружной поверхности держателя 32, что, в частности, является полезным перед затягиванием винтов 46 для соединения проводов.
Как изображено на фиг.2-5, каждый направляющий элемент 34, 36 снабжен множеством направляющих каналов 58, количество которых совпадает с числом приемных пространств 40 и, соответственно, разъемов 42 корпуса 38 держателя 32. Каждый направляющий канал 58 имеет входное отверстие 60 и выходное отверстие 62 (см. также фиг.5). Выходное отверстие 62 является ближним к приемному отверстию 48, 50, соответственно, разъема 42, в то время как входное отверстие 60 расположено дальше от разъема 42. Кроме того, каждый направляющий канал 58 содержит имеющий по существу коническую форму или сужающийся участок 64 и по существу цилиндрический участок 66. Сужающийся участок 64 включает входное отверстие 60, которое имеет большее поперечное сечение, чем выходное отверстие 62, у которого заканчивается по существу цилиндрический участок 66 направляющего канала 58. В этом варианте воплощения внутренняя поверхность 68 каждого направляющего канала 58 является по существу ровной.
Как изображено, в частности, на фиг.5, поперечное сечение выходного отверстия 62 каждого направляющего канала 58 является меньшим, чем поперечное сечение приемного отверстия 48, 50 разъема 42. Обычно, поперечное сечение выходного отверстия 62 не превышает поперечного сечения приемного отверстия 48 или 50 разъема 42. Такая конструкция позволяет вводить или вставлять провод 12, 14 в направляющий канал 58 через его входное отверстие 60 с плавным вхождением в разъем 42, поскольку ни направляющий канал 58, ни его поверхность сочленения с разъемом 42 не имеют выступающих вовнутрь участков, так чтобы направляющий канал 58 и приемные отверстия 48, 50 разъемов 42 не содержали каких-либо препятствий или упоров для соединяемых проводов 12, 14.
Направляющие элементы 34, 36, а также корпус 38 держателя 32 предпочтительно изготовлены из пластмассы. Этот вид материалов обеспечивает достаточное связывание с герметизирующим материалом, расположенным вокруг соединительного устройства 10 в защитной оболочке 20 для герметизации от воздействия влаги с целью предотвращения попадания какой-либо влаги на поверхность сопряжения между держателем 32 и герметизирующим материалом. Пластмасса корпуса 38 также способствует обеспечению электрической изоляции индивидуальных разъемов 42. Как можно увидеть, в частности, на фиг.3, предусмотрено два направляющих элемента 34, 36 с выступающими столбиковыми выступами 70, 72, вставляемыми с противоположных концов приемного канала 74, проходящего через корпус 38 держателя 32 в его продольном направлении 75. Внутри приемного канала 74 два столбиковых выступа 70, 72 скрепляются с помощью защелки для удерживания направляющих элементов 34, 36 на месте на противоположных концах 52, 54 держателя 32. Возможны другие технические решения соединения направляющих элементов 34, 36 с держателем 32, такие как, например, путем склеивания, с помощью болтов.
Как можно увидеть, в частности, на фиг.4, винты 46 всех разъемов 42 являются доступными с наружной стороны корпуса 38 держателя 32 в пределах вписанного угла, составляющего менее 180°. Это позволяет обеспечить расположение держателя 32 и его удерживание в требуемом положении с помощью опоры, как изображено на фиг.4, причем доступ ко всем винтам 46 осуществляется без кругового вращения держателя 32 для доступа к винтам 46 двух нижних разъемов 42.
Кроме того, как изображено на фиг.2, 3 и 5, втулка 44 каждого разъема 42 снабжена смотровым отверстием 76, расположенным по существу посередине разъема 42 для наблюдения и контроля правильности вставки соединяемых проводов 12, 14 в соответствующий разъем 42.
Как было упомянуто выше, в целом соединительное устройство 10 центрировано в защитной оболочке 20 и расположено на некотором расстоянии от нее с помощью нескольких распорных выступов 78, расположенных вокруг двух направляющих элементов 34, 36. Это позволяет обеспечить достаточное пространство вокруг всего соединительного устройства 10 в защитной оболочке 20 так, чтобы это пространство могло быть заполнено герметизирующим материалом.
На фиг.4 и 5 можно также увидеть, что соединительное устройство 10 дополнительно включает зажимные выемки 80 на наружных поверхностях направляющих элементов 34, 36, служащие для фиксакции и удерживания дополнительного провода 82, предназначенного для соединения защитных металлических экранирующих оболочек (не показаны) кабелей 16, 18.
В проиллюстрированном варианте воплощения соединительного устройства направляющие элементы 34, 36 и держатель 42 изображены и описаны как индивидуальные элементы, соединенные друг с другом для образования соединительного устройства. Следует отметить, что все эти элементы, включая разъемы, могут быть изготовлены литьевым формованием со вставляемыми в форму элементами (insert-molded) в виде цельной детали или ее части, например один из направляющих элементов и корпус держателя формуются как одна деталь.
Хотя изобретение было описано и проиллюстрировано со ссылкой на конкретный иллюстративный вариант его воплощения, предполагается, что изобретение не ограничивается данным иллюстративным вариантом воплощения. Квалифицированным специалистам будет понятно, что варианты и модификации могут быть выполнены без выхода за пределы действительного объема изобретения, определяемого приведенной ниже формулой изобретения. Поэтому предполагается, что изобретение включает все такие варианты и модификации, входящие в объем приложенной формулы изобретения и ее эквивалентов.
Формула изобретения
1. Соединительное устройство для кабелей, содержащих по меньшей мере один провод, содержащее: держатель, по меньшей мере один разъем, размещенный в держателе и имеющий первое приемное отверстие для вставки соединяемого провода, и направляющее приспособление, расположенное перед первым приемным отверстием по меньшей мере одного разъема, причем первое приемное отверстие имеет поперечное сечение, а направляющее приспособление включает по меньшей мере один направляющий канал, проходящий через направляющее приспособление и соосный с первым приемным отверстием по меньшей мере одного разъема для направления провода в первое приемное отверстие разъема, при этом по меньшей мере один направляющий канал включает противоположные дальний и ближний концы, ближний конец направлен в сторону к, и дальний конец направлен в сторону от первого приемного отверстия по меньшей мере одного разъема, при этом ближний конец имеет поперечное сечение не более поперечного сечения первого приемного отверстия по меньшей мере одного разъема, при этом дальний конец имеет поперечное сечение, превышающее поперечное сечение ближнего конца, причем по меньшей мере один разъем включает второе приемное отверстие, расположенное напротив первого приемного отверстия и предназначенное для вставки другого провода, и при этом другое направляющее приспособление, включающее канал, соосный со вторым приемным отверстием, расположено перед вторым приемным отверстием.
2. Соединительное устройство по п.1, отличающееся тем, что множество изолированных друг от друга разъемов расположены в держателе и множество направляющих каналов проходят через каждое направляющее приспособление, при этом каждый направляющий канал расположен соосно с соответствующим одним из первых приемных отверстий множества разъемов.
3. Держатель для по меньшей мере одного разъема для кабелей, содержащих по меньшей мере один провод, содержащий: корпус, имеющий по меньшей мере одно приемное пространство для вставки по меньшей мере одного разъема, имеющего первое приемное отверстие для вставки соединяемого провода, и направляющее приспособление, расположенное перед корпусом и включающее по меньшей мере один направляющий канал, проходящий через направляющее приспособление и соосный с приемным пространством, для направления вставляемого провода в направляющий канал в направлении к приемному пространству, при этом по меньшей мере один направляющий канал включает противоположные дальний и ближний концы, ближний конец обращен в сторону приемного пространства, а дальний конец обращен в сторону от приемного пространства, при этом ближний конец имеет поперечное сечение не превышающее поперечное сечение первого приемного отверстия по меньшей мере одного разъема, который должен быть размещен в приемном пространстве, при этом дальний конец имеет поперечное сечение, превышающее поперечное сечение ближнего конца, и при этом два направляющих приспособления расположены с противоположных концов приемного пространства.
4. Соединительное устройство по п.1, отличающееся тем, что направляющий канал выполнен сужающимся от дальнего конца к ближнему концу.
5. Держатель по п.3, отличающийся тем, что корпус содержит множество приемных пространств и множество направляющих каналов, проходящих через каждое направляющее приспособление, при этом каждый канал расположен соосно с соответствующим одним из приемных пространств.
6. Соединительное устройство по п.2, отличающееся тем, что разъемы расположены равноудаленно по отношению к продольной оси держателя.
7. Соединительное устройство по п.1, отличающееся тем, что один или оба из держателя и каждого направляющего приспособления содержат наружные распорные выступы для поддержания положения держателя и каждого направляющего приспособления в защитной оболочке на некотором расстоянии от защитной оболочки.
8. Держатель по п.3, отличающийся тем, что приемные пространства расположены равноудаленно по отношению к продольной оси корпуса.
9. Держатель по п.3, отличающийся тем, что один или оба из корпуса и каждого направляющего приспособления содержат наружные распорные выступы для поддержания положения корпуса и каждого направляющего приспособления в защитной оболочке на некотором расстоянии от защитной оболочки.
РИСУНКИ
|
|