|
|
(21), (22) Заявка: 2007128054/09, 23.12.2005
(24) Дата начала отсчета срока действия патента:
23.12.2005
(30) Конвенционный приоритет:
23.12.2004 EP 04030602.9
(43) Дата публикации заявки: 27.01.2009
(46) Опубликовано: 27.08.2010
(56) Список документов, цитированных в отчете о поиске:
GB 2217871 А, 01.11.1989. US 2605315 А, 29.07.1952. US 5984645 А, 16.11.1999. RU 2179678 С2, 20.02.2002. GB 2322449 А, 26.08.1998. US 4601536 А, 22.07.1986.
(85) Дата перевода заявки PCT на национальную фазу:
23.07.2007
(86) Заявка PCT:
EP 2005/057169 20051223
(87) Публикация PCT:
WO 2006/069987 20060706
Адрес для переписки:
129090, Москва, ул. Б.Спасская, 25, стр.3, ООО “Юридическая фирма Городисский и Партнеры”, пат.пов. Ю.Д.Кузнецову, рег. 595
|
(72) Автор(ы):
ЗУТЕР Роджер (CH), КЛЕЙНХАНС Джордж (CH), ОРТМАНН Петер (CH)
(73) Патентообладатель(и):
МАН ТУРБО АГ ШВАЙЦ (CH)
|
(54) ГЕРМЕТИЧНЫЙ ДЛЯ ТЕКУЧЕЙ СРЕДЫ ВВОД ПРОВОДОВ
(57) Реферат:
Изобретение относится к электротехнике и может быть использовано для прокладки проводов через стенку напорного резервуара с приводными средствами, датчиками или исполнительными механизмами внутри него. Технический результат состоит в повышении надежности и удешевлении изготовления. Герметичный проводной ввод (1) для ввода проводника (2) в нагружаемое давлением пространство (3) содержит корпус (4), по меньшей мере, один проводник (2), а также первое и второе стойкие к нагрузке давлением уплотнения (5а, 5b). Два нагружаемые давлением уплотнения (5а, 5b) и корпус (4) ограничивают внутреннее полое пространство (4d). Проводник (2) входит через первое уплотнение (5а) во внутреннее полое пространство (4d), проходит через внутреннее полое пространство (4d) и выходит через второе уплотнение (5b) из полого внутреннего пространства (4d). Второе уплотнение (5b) расположено в направлении нагружаемого давлением пространства (3). Внутреннее полое пространство (4d) имеет не закрытое отверстие (4с) для сброса давления, которое выходит в наружное пространство (6). 2 н. и 14 з.п. ф-лы, 7 ил.
Изобретение относится к герметичному для текучей среды (флюида) вводу проводов согласно ограничительной части пункта 1 формулы изобретения.
Известна прокладка электрических проводов через стенку напорного резервуара для снабжения электрической энергией, например, расположенных внутри напорного резервуара приводных средств или же, например, для обеспечения с помощью контрольных, управляющих или регулировочных линий обмена данными с расположенными внутри напорного резервуара датчиками и исполнительными механизмами. Так, например, в турбокомпрессоре весь компрессор, а также приводное устройство могут быть расположены внутри напорного резервуара. Для снабжения электроэнергией, а также для управления и контроля турбокомпрессора и двигателя необходимо множество проходящих через стенку напорного резервуара проводов, в частности, когда вращающиеся части опираются без соприкосновения с помощью магнитных подшипников.
Недостатком известных вводов проводов, которые применяются в находящихся под внутренним давлением корпусах, является то, что во вводах проводов могут возникать утечки, так что, например, газ может неконтролируемым образом выходить наружу.
Это становится опасным, в частности, когда в определенных частях установки незаметно происходит нарастание давления, и они оказываются под неожиданно высоким давлением, или когда вследствие выхода газа возникает опасность взрыва. В GB 2217871 раскрыт такой ввод проводов, в котором во время работы может незаметно нарастать давление.
Задачей данного изобретения является создание надежного и недорогого ввода проводов, который пригоден для помещений, в которых может создаваться давление.
Эта задача решена с помощью герметичного для текучей среды ввода проводов, имеющего признаки пункта 1 формулы изобретения. Зависимые пункты 2-17 формулы изобретения относятся к другим предпочтительным вариантам выполнения.
Заявленная задача, в частности, решается с помощью герметичного для текучей среды проводного ввода для подвода проводника в нагружаемое давлением пространство, при этом проводной ввод содержит корпус, по меньшей мере, один проводник, а также первое и второе стойкие к нагрузке давлением уплотнения, при этом два стойких к нагрузке давлением уплотнения и корпус ограничивают полое внутреннее пространство, при этом проводник входит через первое уплотнение в полое внутреннее пространство, проходит через полое внутреннее пространство и выходит через второе уплотнение из полого внутреннего пространства, и при этом полое внутреннее пространство имеет отверстие для сброса давления, которое выходит в наружное пространство, которое находится снаружи нагружаемого давлением пространства.
Ввод проводов согласно изобретению имеет то преимущество, что при утечке уплотнения выходящие из нагружаемого давлением пространства через уплотнение газы попадают в полое внутреннее пространство ввода проводов и через отверстие для сброса давления контролируемым образом выходят в наружное пространство. За счет этого обеспечивается, с одной стороны, что входящий во ввод проводов газ утечки не приводит к неконтролируемому нарастанию давления в проводном вводе. С другой стороны, обеспечивается, что входящий газ утечки подается контролируемым образом в определенное наружное пространство. За счет этого контролируемого отвода газа весь ввод проводов остается герметичным для текучей среды. Кроме того, исключается опасность взрыва.
Проводник во вводе проводов предпочтительно выполнен в виде электрического проводника, в частности стержнеобразного электрического проводника. Однако проводник может быть также выполнен в виде волновода для светового излучения.
В одном предпочтительном варианте выполнения ввод проводов выполнен в виде штекерного соединения, содержащего первую и вторую части корпуса с одним проводником каждая, которые во вставленном состоянии соединены друг с другом, в частности соединены с обеспечением электрической проводимости. Штекерное соединение может иметь, например, единственный проводник или же несколько соединяющихся друг с другом проводников. Проводники могут быть выполнены, например, для передачи управляющих сигналов в диапазоне от мВ до В или мА. Проводники могут быть предназначены также для снабжения электроэнергией, например, расположенных внутри корпуса электродвигателей и тем самым для передачи токов и/или напряжений в диапазоне кА и кВ. Герметичный для текучей среды, соответственно газа, проводной ввод согласно изобретению пригоден для применения, в частности, в областях применения с разницей давления в диапазоне между 5 бар и 500 бар.
Проводной ввод согласно изобретению пригоден, например, для применения в комбинации с турбокомпрессором, в частности турбокомпрессором с магнитными подшипниками, в котором весь приводной электродвигатель, а также ступени компрессора расположены в общем напорном корпусе. В таком турбокомпрессоре необходимо с помощью ввода проводов вводить множество питающих и управляющих проводов через напорный корпус. Для длительной, требующей небольшого обслуживания и надежной работы такого турбокомпрессора особенно пригодны проводные вводы согласно изобретению.
Ниже приводится подробное описание различных примеров выполнения изобретения со ссылками на прилагаемые чертежи, на которых изображено:
фиг.1 – продольный разрез ввода проводов;
фиг.2 – продольный разрез ввода проводов согласно второму примеру выполнения;
фиг.3 – многополюсный, выполненный в виде штекерного соединения ввод проводов на виде по стрелке А;
фиг.4 – продольный разрез ввода проводов согласно третьему примеру выполнения;
фиг.5 – разрез по линии В-В ввода проводов согласно другому примеру выполнения;
фиг.6 – схематичный вид напорного резервуара с вводом проводов;
фиг.7 – схематичный вид напорного резервуара с другим вводом проводов.
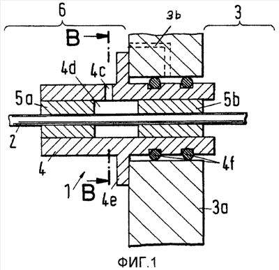
На фиг.1 показан выполненный в виде одной части проводной ввод 1, содержащий корпус 4 с крепежным фланцем 4е, внутренним пространством 4d и отверстием 4с сброса давления. Проводной ввод 1 дополнительно содержит электрический проводник 2, а также первое и второе уплотнения 5а, 5b, через которые проходит проводник 2. Второе уплотнение 5b называется в последующем также первичным уплотнением, или главным уплотнением. Первое уплотнение 5а называется в последующем также вторичным уплотнением. Эти два уплотнения 5а, 5b расположены так, что они вместе со стенкой корпуса 4 ограничивают внутреннее полое пространство 4d, которое в качестве единственного отверстия имеет проходящее через стенку корпуса, не закрытое, постоянно пропускающее текучую среду или газ отверстие 4с сброса давления. В показанном примере выполнения проводник 2 выполнен в виде электрического проводника, в частности в виде металлического стержня. В этом примере выполнения два уплотнения 5а, 5b состоят из электроизоляционного материала, такого как пластмасса или керамика. Проводник 2 может быть также окружен изолирующим слоем или же выполнен в виде изолированной проводящей проволоки. Проводник 2 может состоять также из волновода для светового излучения, выполненного из стекловолокна. При этом оба уплотнения 5а, 5b могут состоять также из электропроводного материала, например из металла. Эти уплотнения образуют одновременно барьер для давления.
По меньшей мере, уплотнение 5b выполнено стойким к давлению и должно выдерживать разницу давления между внутренним пространством 3 и внутренним полым пространством 4d. В одном предпочтительном варианте выполнения давление во внутреннем полом пространстве 4d соответствует примерно 1 бар. Давление во внутреннем полом пространстве 4d может принимать значения вплоть до уровня давления внутреннего пространства 3 в зависимости от величины утечки через второе уплотнение 5b. Поэтому первое стойкое к давлению уплотнение 5а предпочтительно выполнено так, что оно в состоянии выдерживать давление внутреннего пространства 3. Давление во внутреннем пространстве 3 может составлять в зависимости от применения до 500 бар. Если по каким-либо причинам уплотнение 5b становится негерметичным, то текучая среда, предпочтительно газ, проникает из внутреннего пространства 3 в полое внутреннее пространство 4d и затем выпускается через отверстие 4с. Выходящий из отверстия 4с газ проходит в наружное пространство 6, которое находится снаружи нагружаемого давлением пространства 3. В одном предпочтительном варианте выполнения отверстие 4с сброса давления соединено через проводящий текучую среду трубопровод с атмосферой, так что выходящий газ выпускается в атмосферу, так что и при негерметичном уплотнении 5b осуществляется герметичный для текучей среды проводной ввод 1 между внутренним пространством 3 и показанным на фиг.1 наружным пространством 6.
Проводной ввод 1 предпочтительно применяется в комбинации с напорным резервуаром 3а. На фиг.1 схематично показан напорный резервуар 3а с нагружаемым давлением внутренним пространством 3, при этом напорный резервуар 3а имеет круговое отверстие, в котором расположен цилиндрический проводной ввод 1. Два уплотнительных кольца 4f уплотняют зазор между стенкой напорного резервуара 3а и корпусом 4, так что проводник 2 герметично для флюида, в частности герметично для газа, проходит из внутреннего пространства 3 в находящееся снаружи напорного корпуса наружное пространство 6. В одном предпочтительном варианте выполнения между уплотнительными кольцами 4f может быть предусмотрено пропускающее флюид соединение 3b с наружным пространством 6, другим пространством или атмосферой. Это отверстие 3b, показанное на фиг.1, лишь штриховыми линиями служит для сброса давления для исключения в пространстве между уплотнительными кольцами 4f чрезмерного давления, которое может возникать вследствие утечки расположенного справа уплотнительного кольца 4f. Проходящий через отверстие 3b флюид выпускается предпочтительно контролируемым образом тем, что в отверстие выходят влияющие на поток средства, такие как клапаны и трубопроводы, которые обеспечивают контролируемый сброс давления. Корпус 4 может быть соединен с напорным резервуаром 3а различными способами, например с помощью сварки или пайки.
На фиг.2 показан в продольном разрезе другой проводной ввод 1, который в отличие от показанного на фиг.1 варианта выполнения выполнен в виде штекерного соединения. Штекерное соединение содержит первую часть 1а штекерного соединения и вторую часть 1b штекерного соединения, которые выполнены с возможностью разъединения. Вторая часть 1b штекерного соединения со второй частью 4b корпуса неподвижно соединяется с напорным корпусом 3а, например, через фланец 4е, как показано на фиг.1. Первая часть 1а штекерного соединения содержит приемный проводниковый соединитель 2а, который через первое уплотнение 5а соединен с первой частью 4а корпуса. Во внутреннем полом пространстве 4d расположен вводимый проводниковый соединитель 2b, при этом эти оба проводниковых соединителя 2а, 2b, соответственно обе части 4а, 4b корпуса соединяются посредством вставления друг в друга. Между обеими частями 4а, 4b могут быть расположены другие, не изображенные крепежные элементы, такие как резьба, или фиксирующие элементы для дополнительного обеспечения неподвижного или защищенного соединения обеих частей 4а, 4b корпуса.
Показанное на фиг.2 штекерное соединение 1 имеет отверстие 4с сброса давления, так что если устойчивое к давлению уплотнение 5b становится слегка негерметичным, то во внутреннем полом пространстве 4d не может возникать неконтролируемое давление. Если второе нагружаемое давлением уплотнение 5b имеет большую утечку, то во внутреннем полом пространстве 4d создается, в частности, при небольшом отверстии 4с сброса давления давление, так что в этом случае особенно важно, чтобы первое уплотнение 5а выдерживало давление, возможно, вплоть до давления во внутреннем пространстве 3.
Проводной ввод 1 может быть выполнен, как показано на фиг.2, для прохождения единственного проводника 2.
На фиг.3 показана на виде с направления А, показанного на фиг.2, вторая часть 4b корпуса в целом с девятью металлическими вставными соединителями 2b проводов, которые расположены и удерживаются в электроизоляционном уплотнении 5b. Вторая часть 4b корпуса предназначена для крепления с помощью фланца 4е с отверстиями 4g на наружной стенке напорного корпуса 3а. Проводной ввод 1, который, как показано на фиг.2, выполнен в виде штекерного соединения или, как показано на фиг.1, в виде втулки, может иметь один или при соответствующем выполнении любое количество проводников 2.
В принципе любой испытывающий давление проводной ввод 1 может выйти из строя, что приводит при некоторых условиях к неконтролируемой утечке газа.
Первичный испытывающий давление уплотнительный элемент 5b в штекерном соединении смонтирован в неподвижной части 1b штекерного соединения неподвижно на напорном резервуаре 3а. Каждый уплотнительный элемент 5b может иметь один или несколько проходов для проводников. Подвижная часть 1а штекерного соединения соединена с кабелем, который может иметь один или несколько проводников 2, соответственно жил, которые могут состоять из нескольких гибких проводов. Неподвижная и подвижная части 1а, 1b штекерного соединения в рабочем состоянии соединены неподвижно и герметично друг с другом и образуют замкнутый объем 4d внутри него.
Ввод проводов согласно изобретению исключает нарастание давления в замкнутом объеме 4d штекерного соединения 1а, 1b, если выходит из строя первичный испытывающий давление уплотнительный элемент 5b. В противном случае это нарастание давления может приводить к тому, что, в частности, при неправильной сборке подвижной части 1b штекерного соединения газ может проходить вдоль гибких проводов через кабель в несертифицированные соответствующим образом зоны. Для исключения этой вторичной утечки подвижная часть 1а штекерного соединения снабжена вторым выдерживающим давление барьером 5а. Проводящие проходы в частях 2а, 2b штекерного соединения предпочтительно выполнены из сплошных стержней, в частности, для исключения возможной утечки при применении в качестве проводника 2 гибкого провода.
Выход из строя первичного уплотнения 5b может принимать различные формы. С одной стороны, возможна постепенная утрата уплотнительной функции вследствие, например, колебаний температуры и связанных с ними внутренних напряжений. С другой стороны, может происходить непосредственное разрушение уплотнительной функции, например, под воздействием внешних механических сил. В первом случае, а также и во втором случае благодаря отверстию для сброса давления обеспечивается, что неправильное поведение испытывающего давление уплотнительного элемента 5b не приводит к чрезмерному нарастанию давления во внутреннем объеме 4d штекерного соединения. В частности, при небольшом внутреннем объеме 4d штекерного соединения иначе бы в течение короткого времени устанавливалось давление самого напорного корпуса при условии, что корпус 4 штекерного соединения может выдерживать внутреннее давление.
Проводной ввод 1 согласно изобретению, выполненный, в частности, в виде штекерного соединения, содержит внутренний объем 4d, который имеет выход для флюида и, в частности, соединен с окружающей средой. За счет этого обеспечивается, что внутренний объем штекерного соединения при дефектном уплотнительном элементе 5b не остается постоянно нагруженным давлением. В зависимости от величины отверстия и утечки первичного уплотнительного элемента 5b во внутреннем объеме 4d устанавливается соответствующее давление. За этой утечкой можно следить с помощью датчиков, например датчика давления или датчика обнаружения газа, и при необходимости можно выдавать сигнал тревоги.
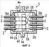
На фиг.4 схематично показан корпус 4, который состоит из двух герметично для газа свинченных друг с другом частей 4а, 4b корпуса. Часть 4а корпуса содержит отверстие 4с для сброса давления. Каждая из частей 4а и 4b корпуса содержит уплотнения соответственно 5а и 5b, через которые проходят по четыре жестких проводника 2. Внутри корпуса 4 жесткие проводники 2 соединены с гибкими проводниками 2d. Внутри корпуса 4 расположено соединительное устройство 4h для соединения гибких проводников 2d, а также при необходимости для их рассоединения. В предпочтительном варианте выполнения гибкие проводники 2d изготовлены из гибкого провода, и соединительное устройство 4h выполнено в виде зажимной шины, так что гибкие проводники 2d можно закреплять с помощью винтов на соединительном устройстве 4h, и дополнительно к этому между соответствующим двумя проводниками 2d образуется электрический контакт. Однако проводники 2d могут быть также выполнены в виде волноводов для светового излучения.
На фиг.5 показан разрез по линии В-В на фиг.1 проводного ввода 1 согласно другому варианту выполнения изобретения. Показанное на фиг.1 внутреннее полое пространство 4d в примере выполнения согласно фиг.5 частично заполнено наполнительным материалом, таким как изолятор 4i, так что внутреннее полое пространство 4d становиться меньше, как показано на фиг.5. Внутреннее полое пространство 4d обеспечивает пропускающее флюид соединение вдоль пространства между первым и вторым уплотнениями 5a, 5b, а также снабжено отверстием 4c сброса давления. Изолятор 4i предпочтительно выполнен в виде электрического изолятора и может быть различным образом снабжен внутренними полыми пространствами 4d для пропускания флюида. Изолятор 4i предпочтительно состоит из твердого тела. Однако в качестве изолятора 4i можно также применять жидкость, например масло, которое частично заполняет внутреннее полое пространство 4d.
На фиг.6 схематично показан напорный резервуар 3а с нагружаемым давлением внутренним пространством 3, при этом на напорном резервуаре 3а расположен проводной ввод 1, который ведет электрический проводник 2 герметично для флюида/или газа из внутреннего пространства 3 в наружное пространство 6. Ограниченное выдерживающими давление уплотнениями 5a, 5b внутреннее полое пространство 4d соединено через отверстие 4с сброса давления и трубопровод 7 с возможностью прохождения флюида с клапаном 7b с выходным отверстием 7a. Клапан 7b имеет пружину, при этом уровень давления, при котором клапан 7b открывается, можно предпочтительно регулировать с помощью пружинной силы сжатия пружины. В наружном пространстве 6 расположен датчик 9 газа с электрическим проводом 9а. Датчик 9 газа способен распознавать выходящий из клапана 7b газ. В показанном варианте выполнения изобретения проводники 2d, 2e выполнены в виде гибких металлических проводников, например в виде гибких проводов. Эти проводники 2d, 2e электрически соединены со стержнеобразным металлическим проводником 2.
Напорный резервуар 3а может быть выполнен в качестве напорного корпуса турбокомпрессора, содержащего турбонагнетатель, а также электродвигатель. Проводящие флюид входы и выходы турбокомпрессора не изображены. Для электропитания электродвигателя необходимо расположить на напорном корпусе несколько показанных на фиг.1 проводных вводов 1 для снабжения энергией электродвигателя мощностью, например, 1 МВт. Кроме того, для управления или регулирования турбокомпрессора необходим, например, волновод для светового излучения или несколько проводов, которые передают сигналы в диапазоне вплоть до нескольких вольт. Такие управляющие провода можно вводить, как показано в качестве примера на фиг.3, через выполненный в виде штекерного соединения проводной ввод 1, содержащий несколько отдельных проводников 2b.
На фиг.7 снова схематично показан напорный резервуар 3а с нагружаемым давлением пространством 3, при этом проводной ввод 1 выполнен в виде штекерного соединения с первой и второй частями 1a, 1b штекерного соединения. Во внутреннем полом пространстве 4d проводного ввода 1 расположен датчик 8. Однако этот датчик 8 может быть также расположен вне штекерного соединения 1, например, за счет соединения датчика 8 через проводящий текучую среду (флюид) трубопровод с имеющимся во внутреннем полом пространстве 4d давлением. Датчик 8 может быть расположен также в контрольном кабеле вне штекерного соединения на специально предусмотренном для этого стеллаже. Отверстие 4c сброса давления соединено через трубопровод 7 флюида и клапан 7b с выходным отверстием 7a. Клапан 7b может быть также расположен внутри отверстия 4c сброса давления. Контрольное устройство 8b получает сигнал датчика 8, например датчика давления или датчика газа, через электрический провод 8a и регулирует клапан 7b через электрический провод 8c. Клапан 7b открывается, например, при превышении задаваемого, имеющегося во внутреннем полом пространстве 4d давления. Проводной ввод 1 может быть выполнен в качестве трехфазного штекерного соединения для передачи электрической энергии в диапазоне кА и кВ. Однако проводной ввод 1 может также иметь одно или несколько штекерных соединений и может быть выполнен для передачи электрических сигналов в диапазоне от мВ до В или от мА до А. Проводные вводы согласно изобретению можно выполнять в самых различных вариантах. В частности, при выполнении в виде штекерного соединения вторая часть 1b штекерного соединения может быть выполнена так, что можно использовать предлагаемую в торговле нормированную первую часть 1а штекерного соединения. Показанное на фиг.7 штекерное соединение предпочтительно имеет не изображенное уплотнительное кольцо, которое уплотняет зазор между первой и второй частями 1а, 1b штекерного соединения, чтобы герметизировать внутреннее полое пространство 4d относительно наружного пространства 6.
Показанный на фиг.1 и 2 проводной ввод 1 предпочтительно выполнен в качестве встраиваемой части, которая крепится на напорном корпусе 3а. Проводной ввод 1 может быть соединен с напорным корпусом различным образом, например с помощью сварки, химической сварки или пайки. Корпус 4 проводного ввода 1 может состоять, например, из пластмассы или металла. Например, первая часть 1а штекерного соединения может состоять также из металла, а вторая часть 1b штекерного соединения может состоять из другого материала, такого как пластмасса.
Отверстие 4с сброса давления может иметь такую геометрическую форму, что за счет этого осуществляется дополнительное воздействие на выходящую текучую среду, например, из выходящей через отверстие 4с текучей среды дополнительно извлекается тепло. Например, отверстие 4с сброса давления может быть выполнено в виде длинного тонкого сверленого отверстия или щели (флюида), которая имеет задачу охлаждения выходящей текучей среды или газа, так что выходящий из отверстия 4с сброса давления газ имеет пониженную температуру. Это может быть преимуществом, когда существует опасность дефлаграции, называемой также вспышкой. Если во внутреннем полом пространстве 4d возникает такой быстрый процесс сгорания, то создаваемые при этом горячие газы при прохождении отверстия 4с сброса давления дополнительно охлаждаются, так что выходящие газы имеют соответственно пониженную, более низкую температуру.
Проводной ввод согласно изобретению особенно пригоден для использования в расположенных над водой платформах, в частности платформах для добычи нефти.
Формула изобретения
1. Герметичный для текучей среды проводной ввод (1) для ввода проводника (2) в нагружаемое давлением пространство (3), включающий корпус (4), по меньшей мере, один проводник (2), а также первое и второе стойкие к нагрузке давлением уплотнения (5а, 5b), при этом два нагружаемые давлением уплотнения (5а, 5b) и корпус (4) ограничивают внутреннее полое пространство (4d), при этом проводник (2) входит через первое уплотнение (5а) во внутреннее полое пространство (4d), проходит через внутреннее полое пространство (4d) и выходит через второе уплотнение (5b) из внутреннего полого пространства (4d), и при этом второе уплотнение (5b) расположено в направлении нагружаемого давлением пространства (3), отличающийся тем, что внутреннее полое пространство (4d) имеет не закрытое отверстие (4с) для сброса давления, которое выходит в наружное пространство (6), которое находится снаружи нагружаемого давлением пространства (3), при этом проводник (2) является электрическим проводником (2) в виде конструкции, подобной стержню.
2. Проводной ввод (1) по п.1, отличающийся тем, что проводной ввод (1) выполнен в виде штекерного соединения, при этом корпус (4) содержит первую и вторую части (4а, 4b) корпуса, которые предназначены для разъемного соединения, и при этом проводник (2) содержит первую соединительную часть (2а) и вторую соединительную часть (2b), которые выполнены и расположены так, что штекерное соединение в соединенном вместе состоянии имеет внутри корпуса (4) проводящее соединение между первой и второй соединительными частями (2а, 2b).
3. Проводной ввод (1) по п.1, отличающийся тем, что внутри корпуса (4) расположено соединительное устройство (4h), которое позволяет соединять и/или разъединять проводник (2).
4. Проводной ввод (1) по п.3, отличающийся тем, что проводник (2) выполнен внутри корпуса (4) гибким.
5. Проводной ввод (1) по п.3, отличающийся тем, что соединительное устройство (4h) выполнено так, что обеспечивается соединение нескольких проводников (2) друг с другом.
6. Проводной ввод (1) по п.1, отличающийся тем, что первое и второе уплотнения (5а, 5b) содержат электрический изолятор, через который проходит проводник (2).
7. Проводной ввод (1) по п.6, отличающийся тем, что проводник (2) состоит из металла.
8. Проводной ввод (1) по п.1, отличающийся тем, что датчик (8) расположен так, что он может контролировать, по меньшей мере, существующее во внутреннем полом пространстве (4а) давление.
9. Проводной ввод (1) по п.1, отличающийся тем, что отверстие (4с) для сброса давления соединено с возможностью прохождения текучей среды с клапаном (7), и что клапан (7) соединен с возможностью прохождения текучей среды с выходным отверстием (7а), которое выходит в наружное пространство (6).
10. Проводной ввод (1) по п.1, отличающийся тем, что клапан (7) расположен в отверстии (4с) для сброса давления, и что клапан (7) соединен с возможностью прохождения текучей среды с наружным пространством (6).
11. Проводной ввод (1) по п.9, отличающийся тем, что клапан (7) является управляемым.
12. Проводной ввод (1) по п.2, отличающийся, что содержит несколько соединяемых проводников (2).
13. Проводной ввод (1) по п.1, отличающийся тем, что проводник (2) состоит из светового волновода или содержит световой волновод.
14. Проводной ввод (1) по п.1, отличающийя тем, что внутреннее полое пространство (4d) частично заполнено жидким или твердым изолятором (4i).
15. Проводной ввод (1) по п.1, отличающийся тем, что отверстие (4с) для сброса давления выполнено геометрически так, что из проходящей через отверстие (4с) для сброса давления текучей среды извлекается тепло.
16. Нагружаемое давлением устройство, включающее проводной ввод (1) согласно п.1.
РИСУНКИ
|
|