|
|
(21), (22) Заявка: 2008120707/09, 24.10.2006
(24) Дата начала отсчета срока действия патента:
24.10.2006
(30) Конвенционный приоритет:
25.10.2005 DE 102005052182.7
(43) Дата публикации заявки: 10.12.2009
(46) Опубликовано: 27.08.2010
(56) Список документов, цитированных в отчете о поиске:
US 4445394 А, 01.05.1984. СН 530710 А, 15.11.1972. DE 1108301 А, 08.06.1961. RU 2110103 C1, 27.04.1998.
(85) Дата перевода заявки PCT на национальную фазу:
26.05.2008
(86) Заявка PCT:
EP 2006/067683 20061024
(87) Публикация PCT:
WO 2007/048774 20070503
Адрес для переписки:
129090, Москва, ул. Б.Спасская, 25, стр.3, ООО “Юридическая фирма Городисский и Партнеры”, пат.пов. С.А.Дорофееву, рег. 146
|
(72) Автор(ы):
ЛУТЦКЕ Гуннар (DE)
(73) Патентообладатель(и):
СИМЕНС АКЦИЕНГЕЗЕЛЛЬШАФТ (DE)
|
(54) ЗАЩЕЛКИВАЮЩЕЕ УСТРОЙСТВО ДЛЯ ПРУЖИННОГО ПРИВОДА
(57) Реферат:
Изобретение относится к области электротехники и может быть использовано в высоковольтных силовых выключателях. Техническим результатом является повышение скорости расцепления. Защелкивающее устройство содержит возвращающее (1) устройство, расцепляющее (2) устройство для создания действующей в первом (12) направлении силы на срабатывание, нажимной элемент (9) и верхний (4) и нижний (5) опорные элементы, расположенные в корпусе (3) в защелкнутом состоянии друг над другом. Указанные опорные элементы (4), (5) соединены друг с другом, по меньшей мере, одним связующим элементом (6) таким образом, что они расположены на расстоянии друг относительно друга и нагружены в защелкнутом состоянии силой давления (F) для пружинного привода, вводимой через нажимной элемент (9) вдоль линии действия. Нижний (5) опорный элемент, нагруженный в защелкнутом состоянии силой давления (F), отведен относительно упора (11) и удерживается в этом положении. Траектории движения верхнего (4) и нижнего (5) опорных элементов установлены посредством направляющих (7а, 7b) в корпусе (3), причем траектория движения для нижнего (5) опорного элемента в основном проходит перпендикулярно к траектории движения верхнего (4) опорного элемента. 11 з.п. ф-лы, 2 ил.
Изобретение относится к защелкивающему устройству с возвращающим устройством, с расцепляющим устройством, с нажимным элементом и с расположенными в корпусе друг над другом опорными элементами, которые в защелкнутом состоянии нагружены вводимой через нажимной элемент силой давления для пружинного привода.
Уровень техники
Подобные защелкивающие устройства для пружинных приводов используют, например, на высоковольтных силовых выключателях. Содержащийся в пружинном приводе пружинный энергоаккумулятор может удерживаться защелкивающим устройством в заряженном состоянии. За счет защелкивающего устройства может контролированно освобождаться сравнительно большая аккумулированная энергия заряженного пружинного энергоаккумулятора. Для освобождения аккумулированной энергии защелкивающее устройство содержит расцепляющее устройство, которое работает со сравнительно малой энергией по сравнению с освобождаемой энергией.
Уже было предложено, применять в защелкивающем устройстве принцип роликовой опоры. При этом принципе четыре ролика расположены друг над другом, причем оба средних ролика не расположены по одной линии обоих внешних роликов. Сила давления от опорной защелки вводится через нажимной элемент сверху и передается на самый верхний ролик, так что, опираясь через оба средних ролика, она передается на самый нижний ролик. В процессе расцепления оба средних ролика смещаются расцепляющим устройством против их отклонения от соосности до тех пор, пока получается отклонение от соосности в противоположном направлении. После процесса расцепления оба средних ролика удалены из своего положения остановки и поддерживающее действие снято; оба средних ролика разжимаются сбоку и освобождают путь для нажимного элемента. Прилегающая на нажимном элементе опорная защелка тем самым может проходить заданный путь и заряженный до сих пор пружинный энергоаккумулятор освобождается.
При этом принципе расцепления однако получается, что ход нажимного элемента может быть только настолько большим, каким является размер диаметров обоих внутренних роликов. При желаемом увеличении хода нажимного элемента вследствие этого должны бы увеличиваться диаметры по меньшей мере внутренних роликов, что имело бы следствием также увеличение всего защелкивающего устройства и влекло бы за собой повышенную потребность в материале и площади.
Далее публикация DE 1108301 А раскрывает контактное устройство для электрических выключателей, которое содержит подвижную часть главного контакта, охватывающую несколько параллельно включенных отдельных контакт-деталей, и одну разрывную контакт-деталь.
Постановка задачи
В основе изобретения лежит задача – предоставить в распоряжение защелкивающее устройство для пружинного привода, которое может надежно удерживать большие силы и в момент времени расцепления по возможности быстро освобождает силу пружинного аккумулятора. При этом необходимая для расцепления энергия должна быть по возможности малой.
Решается эта задача согласно пункта 1 формулы изобретения за счет защелкивающего устройства с возвращающим устройством, с расцепляющим устройством для создания действующей в первом направлении пусковой силы, с нажимным элементом и с верхним и нижним в защелкнутом состоянии расположенными друг над другом в корпусе опорными элементами, которые соединены друг с другом по меньшей мере одним связующим элементом, и которые в защелкнутом состоянии нагружены вводимой через нажимной элемент вдоль линии действия силой давления для пружинного привода, причем нижний опорный элемент в защелкнутом состоянии нагруженный силой давления отклонен относительно упора и удерживается в этом положении, и при котором траектории движения верхнего и нижнего опорного элемента установлены за счет направляющих в корпусе, причем траектория движения для нижнего опорного элемента в основном проходит перпендикулярно к траектории движения верхнего опорного элемента и вызванная расцепляющим устройством пусковая сила выводит нижний опорный элемент из упора, и при котором при приведении в действие расцепляющего устройства нижний опорный элемент является смещаемым перпендикулярно к линии действия силы давления, действующей через нажимной элемент на верхний опорный элемент.
Предпочтительные формы выполнения указаны в соответствующих зависимых пунктах формулы изобретения.
Достигнутые изобретением преимущества состоят, в частности, в том, что при малом ходе расцепления, малой пусковой силе и при малой массе подвижных деталей становится возможным большой ход нажимного элемента. Это расположение позволяет, кроме того, быстрое срабатывание при появлении пусковой команды для пружинного привода. Кроме того, расходы материала, а также производственные расходы по сравнению с существующими решениями являются меньше. Упор может быть, например, выполнен так, что в лежащей непосредственно ниже направления действия нажимного элемента области первой направляющей предусмотрена выемка в первой направляющей, так что нижний опорный элемент является отклоняемым в направлении действия и удерживается там стабильно в соответствующей выемке, действующей в качестве упора. Упор может однако находиться также в альтернативном положении.
Предпочтительным образом может быть предусмотрено, что возвращающее устройство является прижимаемым посредством пружины в направлении к нижнему опорному элементу.
Возвращающее устройство согласно форме выполнения может прижиматься пружиной сжатия против нижнего опорного элемента и тем самым против направления создаваемой расцепляющим устройством пусковой силы или оно выполнено таким образом, что нижний опорный элемент посредством пружины растяжения является растягиваемым против первого направления.
Далее может быть предпочтительно предусмотрено, что возвращающее устройство является направляемым в корпусе вдоль первого направления.
За счет направления возвращающего устройства в корпусе дальнейшие вспомогательные приспособления становятся излишними. За счет этого становится возможным компактный корпус, который позволяет также механическую защиту для возвращающего устройства. Для осуществления подвижности нижнего опорного элемента, возвращающее устройство может двигаться вдоль первого направления как вперед, так и назад.
Далее может быть предпочтительно предусмотрено, что возвращающее устройство и нижний опорный элемент являются подвижными в направлении к расцепляющему устройству посредством действующей на возвращающее устройство винтовой пружины.
Далее может быть предпочтительно предусмотрено, что направляющие соответственно имеют линейное прохождение.
Линейные направляющие могут изготавливаться экономично относительно расходов. Кроме того, в случае линейных направляющих появляются малые силы трения.
В дальнейшей форме выполнения может быть предпочтительно предусмотрено, что по меньшей мере один опорный элемент направляется сбоку в интегрированных в корпусе щелевых траекториях.
Тем самым при этом выполнении не требуется расположения отдельных направляющих элементов для по меньшей мере одного опорного элемента.
Предпочтительным образом в расцепленном состоянии точка упора верхнего опорного элемента с связующим элементом может находиться над линией действия силы возврата возвращающего устройства.
Это обуславливает то, что при нагружении нижнего опорного элемента вызванной возвращающим устройством силой возможно смещение верхнего опорного элемента в направлении нажимного элемента и опорной защелки.
Дальнейшая предпочтительная форма выполнения может предусматривать, что направляемые в корпусе на щелевых траекториях опорные элементы по меньшей мере на одной стороне выступают сбоку из корпуса и на их выступающих концах закреплен связующий элемент.
Боковое соединение опорных элементов позволяет упрощенный монтаж защелкивающего устройства. Так опорные элементы могут вводиться в щелевые траектории и простым образом соединяться вне корпуса со связующим элементом. При этом может быть предусмотрено, что опорные элементы соединены со связующим элементом под постоянным углом. Однако может быть также предусмотрено, что опорные элементы соединены со связующим элементом с возможностью вращения. За счет поворотной установки опорных элементов трение во время движения опорных элементов в щелевых траекториях уменьшается. За счет этого необходимые силы, которые требуются для движения отдельных подвижных элементов, уменьшены.
Предпочтительным образом связующий элемент можно устанавливать изменяющимся по его длине.
Эта изменяемость длины связующего элемента вызывает возможность регулирования хода нажимного элемента. В защелкнутом состоянии через нажимной элемент на опорные элементы и связующий элемент действует сила. Для освобождения опорной защелки и тем самым освобождения пружинного энергоаккумулятора пружинного привода необходим определенный ход за счет нажимного элемента и, как следствие, отсюда для опорной защелки. Различные пружинные приводы требуют для освобождения опорной защелки различные ходы нажимного элемента. Изменение длины связующих элементов делает возможным использование защелкивающего устройства для различных пружинных приводов с различными требованиями относительно хода нажимного элемента или, соответственно, опорной защелки. Предпочтительным образом можно соответственно согласовывать конечные положения нижнего опорного элемента.
В альтернативной форме выполнения нажимной элемент может быть изменяемым по своей длине. Это имеет преимущество, что при изменении длины связующего элемента опорная защелка, несмотря на это, может удерживаться в том же самом положении, если нажимной элемент, например, при укорочении связующего элемента в качестве контрмеры удлиняют.
Предпочтительно изменение хода нажимного элемента может также производиться за счет того, что длина пути перемещения по меньшей мере одного опорного элемента является изменяемой.
Предпочтительным образом это может достигаться за счет того, что путь перемещения нижнего опорного элемента ограничен посредством возвращающего устройства.
Пример выполнения изобретения схематически представлен на чертеже и в последующем описывается более подробно.
При этом показывает:
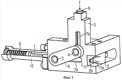
Фигура 1 защелкивающее устройство в расцепленном состоянии
и
Фигура 2 защелкивающее устройство в защелкнутом состоянии.
На основе представленного в расцепленном состоянии на Фигуре 1 защелкивающего устройства сначала описывается его принципиальная конструкция. Защелкивающее устройство содержит корпус 3, который служит в качестве шасси для приема остальных навесных деталей. Корпус 3 является, например, металлической литой или фрезерной деталью. На корпусе 3 расположено возвращающее устройство 1, которое расположено внутри гильзы 10 с возможностью перемещения вдоль гильзы 10. На обращенной от гильзы 10 стороне корпуса 3 расположено расцепляющее устройство 2. Расцепляющее устройство 2 содержит кулачок 2а. Расцепляющее устройство 2 установлено поворотно, так что кулачок 2а при вращательном движении расцепляющего устройства 2 может вызывать движение хода на расцепляющем пальце 2b. Расцепляющий палец 2b является подвижным в основном в том же направлении вперед и назад, как и возвращающее устройство 1.
Далее корпус 3 содержит первую и вторую направляющие 7а, 7b. Направляющие 7а, 7b введены в корпус 3 в виде сквозных щелевых траекторий. Первая направляющая 7а придана в соответствие верхнему опорному элементу 4. Вторая направляющая 7b придана в соответствие нижнему опорному элементу 5. Опорные элементы 4, 5 скользят соответственно в одной из направляющих 7а, 7b. Направляющие 7а, 7b при этом расположены относительно друг друга таким образом, что они стоят перпендикулярно друг на друге. Щели, которые образуют направляющие 7а, 7b, касаются друг друга в форме L. Направляющие однако могут также быть выполненными отдельно друг от друга. Посредством направляющих 7а, 7b установлены проходящие вдоль прямых траекторий движения для опорных элементов 4, 5. Опорные элементы 4, 5 расположены на расстоянии относительно друг друга. Они выполнены соответственно в виде валков и выступают из плоскости корпуса 3. Для фиксирования расстояния опорных элементов 4, 5 относительно друг друга применен связующий элемент 6. Связующий элемент 6 выполнен в виде планки, которая расположена параллельно к плоскости, из которой выдаются опорные элементы 4, 5. Предпочтительным образом на скрытой стороне представленного на Фигуре 1 примера выполнения может быть предусмотрено подобное выполнение связующего элемента, так что обеспечено симметричное прохождение опорных элементов 4, 5. Опорные элементы 4, 5 могут быть связаны со связующим элементом 6 с возможностью вращения. За счет этого трение при движении опорных элементов 4, 5 в направляющих 7а, 7b может уменьшаться. Нажимной элемент 9 является выполненным в виде штыря, причем продольная ось штыря направлена параллельно к первой направляющей 7а таким образом, что штырь 9 заходит в первую направляющую 7а и может вступать в соединение с верхним опорным элементом 4, чтобы оказывать силу давления F на верхний опорный элемент 4.
Направляющие 7а, 7b расположены вертикально относительно друг друга, так что возникает форма L. Направляющие 7а, 7b сами выполнены соответственно в основном линейными. В области точки пересечения обоих направляющих 7а, 7b вторая направляющая в направлении расцепляющего пальца 2b выполнена слегка выходящей за край первой направляющей 7а и образует там упор 11. Этот упор 11 служит для образования сверххода, чтобы обеспечить стабильное положение опорных элементов 4, 5 в защелкнутом состоянии.
В последующем должен описываться перевод защелкивающего устройства из его расцепленного состояния в защелкнутое состояние. Ведомое натянутой пружиной 8, которая опирается на обращенной от корпуса 3 области дна гильзы 10, возвращающее устройство 1 приводится в движение в направлении нижнего опорного элемента 5 против него. При этом нижний опорный элемент 5, направляемый через вторую направляющую 7b, движется на линейном пути в направлении расцепляющего пальца 2b расцепляющего устройства 2. Так как нижний опорный элемент 5 соединен через связующий элемент 6 с верхним опорным элементом 4, верхний опорный элемент 4 захватывается и движется в первой направляющей траектории 7а в направлении нажимного элемента 9. При этом вследствие положения нажимного элемента 9 на пути движения верхнего опорного элемента 4 нажимной элемент 9 частично выводится из корпуса 3. Нажимной элемент 9 при этом вводит силу давления F с направлением действия, работающего в направлении верхнего опорного элемента. На свободном конце нажимного элемента 9 может, например, размещаться опорная защелка пружинного привода. Через эту опорную защелку заряженный пружинный аккумулятор пружинного привода является блокируемым. Через нажимной элемент 9 может производиться возврат опорной защелки.
С достижением области первой направляющей 7а, лежащей непосредственно под направлением действия нажимного элемента 9, связующий элемент 6 с обоими опорными элементами 4, 5 занимает нестабильное положение. Верхний опорный элемент 4 имеет в этот момент наибольшее расстояние от второй направляющей 7b. С продолжением движения нижнего опорного элемента 5 в направлении упора 11 происходит легкое обратное движение верхнего опорного элемента 4 в направлении второй направляющей 7b, так что связующий элемент 6 с обоими опорными элементами после достижения упора 11 занимает стабильное положение. При нагрузке давлением нажимного элемента 9 таким образом защелкнутое положение защелкивающего устройства может обеспечиваться на длительный срок. Эта нагрузка давлением передается на нажимной элемент 9, например, от пружинного элемента.
Для позиционирования нижнего опорного элемента 5 в положении мертвой точки в одной из направляющих может быть предусмотрен упор, который в основном позволяет отклонение поперек к одной из направляющих траекторий.
Упор может, например, быть выполнен на обращенном к расцепляющему устройству 2 конце приданной нижнему опорному элементу 5 второй направляющей 7b, так что упор 11 ориентирован поперек к первой направляющей 7а, в которой является перемещаемым верхний опорный элемент 4. При L-образном расположении обеих направляющих 7а, 7b это может быть фрезерованная выточка, которая позволяет сверхход нижнего опорного элемента 5 и удерживает его нагружая силой давления в таким образом полученном положении мертвой точки. Альтернативно или дополнительно может быть также предусмотрено, что упор находится на конце первой направляющей 7а, приданной в соответствие верхнему опорному элементу 4, то есть упор расположен тогда поперек к второй направляющей 7b, которая является приданной в соответствие нижнему опорному элементу 5. Также в этом случае нижний опорный элемент вследствие действующей силы давления удерживается стабильно в положении мертвой точки. Боковой выход из образованного таким образом упора может происходить таким же образом, как описывается в последующем.
После достижения защелкнутого положения (смотри Фигуру 2) пружина 8 находится теперь в разряженном состоянии. Возвращающее устройство 1 могло бы двигаться обратно в показанное на Фигуре 1 положение, так как связующий элемент 6 с опорными элементами опирается на упоре 11 и таким образом установлен стабильно.
Для расцепления защелкивающего устройства и перевода защелкивающего устройства из защелкнутого в расцепленное состояние может производиться вращательное движение расцепляющего устройства 2, за счет чего кулачок 2а прижимает расцепляющий палец 2b в первое направление 12. Кулачок 2b, который до сих пор лежал за упором 11, на котором опирался нижний опорный элемент 5, покидает это положение и при приложении пусковой силы выжимает нижний опорный элемент 5 в первое направление 12 из упора. При этом создается сверхход и через связующий элемент 6 верхний опорный элемент 4 движется против внесенной нажимным элементом 9 силы давления. Если точки упора связующего элемента 6 и соответствующих опорных элементов 4, 5 находятся на линии действия силы давления, действующей на нажимной элемент 9, достигнуто нестабильное положение. С продолжающимся движением расцепляющего пальца 2b проходят нестабильное положение и верхний опорный элемент 4, приводимый действующей на нажимной элемент 9 силой давления F, прижимают в направлении второй направляющей 7b. При этом нижний направляющий элемент 5 пересекает линию действия силы давления F. За счет принудительного направления нижнего опорного элемента 5 внутри второй направляющей 7b и связующего элемента 6 между опорными элементами 4, 5 нижний опорный элемент 5 движется в первом направлении 12. Поскольку возвращающее устройство 1 еще не возвращено в свое расцепленное положение, оно сдвигается теперь против силового воздействия пружины 8. Вследствие расстояния от верхнего опорного элемента 4 и нижнего опорного элемента 5 через связующий элемент 6 предотвращено, что верхний опорный элемент 4 вводится в область первой направляющей 7а. За счет изменения длины связующего элемента 6 можно варьировать ход нажимного элемента 9, вызванный движением верхнего опорного элемента 4.
Формула изобретения
1. Защелкивающее устройство с возвращающим устройством (1), с расцепляющим устройством (2) для создания действующей в первом направлении (12) пусковой силы, с нажимным элементом (9) и с верхним и нижним расположенными в защелкнутом состоянии друг над другом в корпусе (3) опорными элементами (4, 5), которые соединены друг с другом, по меньшей мере, одним связующим элементом (6) так, что они находятся на расстоянии относительно друг друга, и которые в защелкнутом состоянии нагружены вводимой через нажимной элемент (9) вдоль линии действия силой давления (F) для пружинного привода, причем нижний опорный элемент (5), в защелкнутом состоянии нагруженный силой давления (F), отклонен относительно упора (11) и удерживается в этом положении, при котором траектории движения верхнего и нижнего опорного элемента (4, 5) установлены за счет направляющих (7а, 7b) в корпусе (3), причем траектория движения для нижнего опорного элемента (5) в основном проходит перпендикулярно к траектории движения верхнего опорного элемента (4), и вызванная расцепляющим устройством (2) пусковая сила выводит нижний опорный элемент (5) из упора (11), и при котором при приведении в действие расцепляющего устройства (2) нижний опорный элемент (5) является смещаемым перпендикулярно к линии действия силы давления, действующей на верхний опорный элемент (4) через нажимной элемент (9).
2. Защелкивающее устройство для пружинного привода по п.1, отличающееся тем, что возвращающее устройство (1) является прижимаемым посредством пружины (8) в направлении к нижнему опорному элементу (5).
3. Защелкивающее устройство по п.1 или 2, отличающееся тем, что возвращающее устройство (1) направляется вдоль первого направления в корпусе (3).
4. Защелкивающее устройство для пружинного привода по любому из пп.1 или 2, отличающееся тем, что возвращающее устройство (1) и нижний опорный элемент (5) являются смещаемыми действующей на возвращающее устройство (1) винтовой пружиной в направлении к расцепляющему устройству (2).
5. Защелкивающее устройство по любому из пп.1 или 2, отличающееся тем, что направляющие (7а, 7b) соответственно имеют линейное прохождение.
6. Защелкивающее устройство для пружинного привода по любому из пп.1 или 2, отличающееся тем, что, по меньшей мере, один опорный элемент (4, 5) направляется сбоку в интегрированных в корпусе (3) щелевых траекториях.
7. Защелкивающее устройство для пружинного привода по любому из пп.1 или 2, отличающееся тем, что в расцепленном состоянии точка упора верхнего опорного элемента (4) с связующим элементом (6) находится выше линии действия силы возврата возвращающего устройства (1).
8. Защелкивающее устройство для пружинного привода по любому из пп.1 или 2, отличающееся тем, что направляемые в корпусе (3) на щелевых траекториях опорные элементы (4, 5), по меньшей мере, на одной стороне выступают сбоку из корпуса (3), и на их выступающих концах закреплен связующий элемент (6).
9. Защелкивающее устройство для пружинного привода по любому из пп.1 или 2, отличающееся тем, что связующий элемент (6) является изменяемым по своей длине.
10. Защелкивающее устройство для пружинного привода по любому из пп.1 или 2, отличающееся тем, что нажимной элемент (9) является изменяемым по своей длине.
11. Защелкивающее устройство для пружинного привода по любому из пп.1 или 2, отличающееся тем, что длина пути смещения для, по меньшей мере, одного опорного элемента (4, 5) является изменяемой.
12. Защелкивающее устройство для пружинного привода по п.11, отличающееся тем, что длина пути смещения нижнего опорного элемента (5) ограничена за счет конструктивного выполнения возвращающего устройства (1).
РИСУНКИ
|
|