|
(21), (22) Заявка: 2007147646/09, 23.05.2006
(24) Дата начала отсчета срока действия патента:
23.05.2006
(30) Конвенционный приоритет:
02.06.2005 DE 102005026388.7
(43) Дата публикации заявки: 27.06.2009
(46) Опубликовано: 27.08.2010
(56) Список документов, цитированных в отчете о поиске:
DE 19509474 A1, 19.09.1996. SU 1598004 A2, 07.10.1990. FR 2170801 A, 21.09.1973. FR 1541812 A, 11.10.1968.
(85) Дата перевода заявки PCT на национальную фазу:
20.12.2007
(86) Заявка PCT:
EP 2006/062513 20060523
(87) Публикация PCT:
WO 2006/128801 20061207
Адрес для переписки:
129090, Москва, ул.Б.Спасская, 25, стр.3, ООО “Юридическая фирма Городисский и Партнеры”, пат.пов. А.В.Мицу, рег. 364
|
(72) Автор(ы):
ШМИДТ Марио (DE)
(73) Патентообладатель(и):
СИМЕНС АКЦИЕНГЕЗЕЛЛЬШАФТ (DE)
|
(54) КОНТАКТНОЕ УСТРОЙСТВО
(57) Реферат:
Изобретение относится к контактному устройству (3, 40) с контактным блоком (15, 42) с по меньшей мере одним контактным элементом (18, 45) для создания электрического соединения между первым контактом (4, 49), который расположен неподвижно на выдвижном блоке (1) для низковольтного распределительного устройства (2), и вторым контактом (5, 54), который расположен неподвижно в распределительном устройстве. Первая (31, 53) и вторая (32, 56) контактные поверхности контактного элемента (18, 45) проходят перпендикулярно друг другу, причем дополнительно к одному контакту, на котором скользит контактный элемент, предусмотрен по меньшей мере один ограничительный элемент (17; 50), который имеет проходящую параллельно ко второй контактной поверхности (32; 66) ограничительную поверхность (36; 66), посредством которой механически направляется контактный элемент. Технический результат – обеспечение возможности электрического соединения контактов, плоскости контактирования которых проходят перпендикулярно друг другу, 3 н.п. и 17 з.п. ф-лы, 10 ил.
Изобретение относится к контактному устройству
– с контактным блоком для создания электрического соединения между первым контактом, который расположен неподвижно на выдвижном блоке для низковольтного распределительного устройства, и вторым контактом, который расположен неподвижно в распределительном устройстве, и
– со средством для смещения контактного блока от положения разъединения до коммутационного положения и обратно,
– при котором контактный блок содержит по меньшей мере один контактный элемент и по меньшей мере одну предварительно пружиняще натягивающую контактный элемент контактную пружину.
Подобные смещаемые контактные блоки предусматривают все чаще в выдвижных блоках низковольтных распределительных устройств, чтобы иметь возможность реализации различных положений выдвижных блоков при закрытой двери распределительного устройства и тем самым гарантировать высокую безопасность для обслуживающего персонала и потребителей.
Возможность смещения контактных элементов при этом решалась в прошлом, например, за счет того, что контактные блоки сдвигали и разницу пути к первому контакту перекрывали за счет использования гибких проводов. В этом решении существует недостаток, что прежде всего при больших токах гибкие провода требуют относительно много места. Эти гибкие провода необходимо также тщательно прокладывать и фиксировать для избежания повреждений.
Из публикации DE 19509474 С2 известно другое подобным образом смещаемое контактное устройство, в котором первая контактная поверхность контактного элемента проходит так, что она при смещении контактного блока от положения разъединения до коммутационного положения контакта и обратно находится скользяще в электрическом контакте с одним из контактов, и в котором вторая контактная поверхность контактного элемента проходит так, что она в случае контактного блока, находящегося в ремонтном положении, электрически разъединена от другого контакта, а в случае контактного блока, находящегося в коммутационном положении, находится в электрическом контакте с другим контактом. В этом известном контактном устройстве первые контакты, расположенные неподвижно на выдвижном блоке, выполнены в виде жестких контактных шин, чтобы наряду с контактированием служить также для механического направления множества контактных блоков. При этом каждый их контактных блоков содержит два контактных элемента, которые предварительно натянуты относительно контактных шин посредством пружин, причем пружины опираются подобно качалке на служащем в качестве контропоры корпусе, чтобы плавающе устанавливать контактные элементы. Эта плавающая установка контактных элементов позволяет незначительные допустимые отклонения относительно положения встраивания соответствующих токовых сборных шин, которые образуют вторые контакты и плоскости контактирования которых проходят параллельно к плоскостям контактирования контактных шин.
Исходя из контактного устройства согласно ограничительной части пункта 1 формулы изобретения (DE 19509474 С2) в основе изобретения лежит задача выполнить контактное устройство таким образом, чтобы им можно было электрически соединять два контакта, плоскости контактирования которых проходят перпендикулярно друг к другу.
Эта задача решается согласно изобретению за счет того, что первая контактная поверхность и вторая контактная поверхность контактного элемента проходят перпендикулярно друг к другу, причем дополнительно к одному контакту, на котором скользит контактный элемент, предусмотрен по меньшей мере один ограничительный элемент, который имеет проходящую параллельно второй контактной поверхности ограничительную поверхность, посредством которой механически направляется контактный элемент.
При подобном выполнении плоскость, в которой проходит вторая контактная поверхность контактного элемента, в противоположность к плоскости, в которой проходит первая контактная поверхность контактного элемента, определена не положением одного из контактов, а положением ограничительной поверхности. Первый контакт не вносит вклада относительно части направления контактного элемента, которая определяет плоскость второй контактной поверхности.
Предпочтительное выполнение нового контактного устройства предусматривает, что по меньшей мере одна ограничительная поверхность выполнена на средстве для смещения контактного блока.
При этом ограничительная поверхность может быть выполнена на направляющем штифте, который пронизывает выемку контактного элемента.
Предпочтительным является, если по меньшей мере одна ограничительная поверхность является смещаемой перпендикулярно второй контактной поверхности. За счет этого вторая контактная поверхность может механически простым образом смещаться в желательную плоскость. Предпочтительным является, кроме того, что тем самым весь контактный блок может сдвигаться без влияния на предварительное натяжение пружин.
Следующая предпочтительная форма выполнения нового контактного устройства предусматривает, что средство для смещения контактного блока содержит поперечный толкатель и опорное тело, образующее ограничительный элемент, причем опорное тело удерживается с возможностью смещения на поперечном толкателе перпендикулярно ко второй контактной поверхности контактного элемента.
Направляющий штифт может быть при этом образован на опорном теле.
Для электрического соединения множества первых контактов с множеством вторых контактов предусмотрено, что на поперечном толкателе удерживаются с возможностью смещения несколько опорных тел.
Предпочтительная форма выполнения нового контактного устройства предусматривает, что контактный элемент образован плоской, U-образной пластиной. При этом свободные концы U-образной пластины могут иметь на обращенных друг к другу сторонах контактное утолщение. Предпочтительно при этом одна из контактных пружин выполнена в виде U-образной плоской пружины, которая предварительно пружиняще натягивает относительно друг друга свободные концы U-образной пластины.
Ограничительный элемент может также фиксироваться неподвижно к одному из контактов и содержать для этого крепежные элементы. В этом случае направление контактного элемента является реализуемым простым образом за счет того, что ограничительный элемент содержит направляющую рейку. Две плоские стороны этой направляющей рейки служат при этом в качестве ограничительных поверхностей для по меньшей мере двух контактных элементов, выполненных в виде контактных пальцев, причем каждый из обоих контактных пальцев предварительно натянут относительно одной из ограничительных поверхностей посредством соответственно одной пружины.
Подлежащие приложению силы контактирования при этом можно с успехом поддерживать малыми за счет того, что направляющая рейка на своем одном конце сужена, так что движущиеся вдоль рейки противоположно лежащие контактные пальцы направляются друг к другу под действием пружинной силы.
Предпочтительно, ограничительный элемент выполнен в виде пластмассовой фасонной детали.
С точки зрения простого выполнения и приведения в действие средства для смещения контактного блока является предпочтительным, если оно удерживается на выдвижном блоке. Оно может, однако, удерживаться также на каркасе распределительного устройства.
В последующем изобретение поясняется более подробно с помощью представленных на чертежах форм выполнения нового контактного устройства. При этом показывают:
Фигура 1 и 2 – выдвижной блок для низковольтного
распределительного устройства с находящейся
в положении разъединения или, соответственно,
в коммутационном положении первой формой
выполнения контактного устройства.
Фигура 2 – первая форма выполнения контактного
устройства в разобранном представлении.
Фигура 3 – первая форма выполнения контактного
устройства в его положении разъединения.
Фигура 4 – первая форма выполнения контактного
устройства в его коммутационном положении.
Фигуры 5-10 – вторая форма выполнения контактного
устройства в положении разъединения,
промежуточном или, соответственно,
коммутационном положении.
Показанный на Фигурах 1 и 2 выдвижной блок 1 для низковольтного распределительного устройства 2 содержит первую форму выполнения контактных устройств 3, из которых показаны только четыре, в целом однако предусмотрены восемь. Контактные устройства 3 показаны на Фигуре 1 в коммутационном положении, а на Фигуре 2 – в положении разъединения. Согласно Фигуре 1 в коммутационном положении электрическое соединение создано между первыми контактами 4, которые выполнены в виде плоских пластин, и вторыми контактами 5, которые выполнены в виде шин и могут состоять из меди.
Согласно Фигуре 3 обе плоских пластины, которые образуют первые контакты, удерживаются на расстоянии относительно друг друга посредством распорной шайбы 6 и предварительно пружиняще натянуты относительно друг друга посредством двух плоских пружин 7. Снабженные плоскими пружинами 7 плоские пластины, распорная шайба 6 и кабельный наконечник 8 соединены через резьбовое соединение 10 в первый механический блок и помещены в неподвижно фиксированной на выдвижном блоке 1 корпусной детали 11. При этом плоские пластины содержат боковые выступы 12, которые с геометрическим замыканием входят в зацепление в соответствующие выемки 13 (сравни Фигуру 4) корпусной детали, чтобы фиксировать первый механический блок на выдвижном блоке.
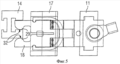
Вместо шины в качестве второго контакта может быть предусмотрена также рейка 14 с Н-образным поперечным сечением, как это показано на Фигурах 4 и 5.
Контактные устройства 3 состоят из контактного блока, который в целом обозначен на Фигуре 3 позицией 15, и средства для смещения контактного блока, который в целом обозначен на Фигуре 1 позицией 16.
Контактный блок состоит из опорного тела 17, двух контактных элементов 18 и двух контактных пружин 19. При этом, с одной стороны, первые контакты предварительно натянуты относительно контактных элементов 18 за счет плоских пружин 7. С другой стороны, каждый из обоих контактных элементов предварительно натянут соответственно за счет одной из контактных пружин 19 относительно второго контакта 5 (сравни также Фигуру 3).
Как, в частности, следует из Фигуры 1, средство 16 для смещения контактного блока 15 содержит две проходящие перпендикулярно спереди в выдвижном блоке 1 зубчатые рейки 20, которые являются сдвигаемыми в сторону через шестерню 21. В шестерню 21 при этом через переднюю сторону можно воздействовать ключом на месте стрелки 22. Через угловые отклонения 23 рейки 24 движутся вперед или, соответственно, назад. Связанный с рейками 24 поперечный толкатель 25 движется тогда также сзади вперед и наоборот.
Контактный блок 15 направляется посредством поперечного толкателя 25 в его направлении смещения 26. Для этого поперечный толкатель 25 входит в зацепление в паз 27 на нижней стороне опорного тела 17, который проходит перпендикулярно к направлению смещения 26 по всей ширине опорного тела 17. Тем самым опорное тело 17 установлено плавающе на поперечном толкателе 25 перпендикулярно к направлению смещения 26.
Согласно Фигуре 3 каждый из контактных элементов 18 образован плоской, U-образной, прорезанной пластиной, у которой концы обеих полок 28 имеют на обращенных друг к другу сторонах соответственно выпукло-выгнутое контактное утолщение 29, которым они прилегают в коммутационном положении (сравни Фигуру 5) ко второму контакту 5. В то время как плоские стороны пластин образуют первые контактные поверхности 31, которые присвоены первым контактам 4, края контактных утолщений 29 образуют вторые контактные поверхности 32, которые присвоены вторым контактам 5 или, соответственно, 14.
Согласно Фигуре 4 обе полки 28 предварительно пружинно взаимно натянуты с помощью U-образно изогнутой контактной пружины 19, которая охватывает U-образную пластину. Обе полки 28 содержат соответственно по заднему вырезу, причем задние вырезы лежат против друг друга таким образом, что за счет этого образовано приемное отверстие 34 с в основном прямоугольным поперечным сечением. Это приемное отверстие 34 пронизывается с геометрическим замыканием приформованным монолитно на опорном теле 17 направляющим штифтом 35 так, что контактный элемент 18 надежно удержан без проворота в опорном теле 17. Опорное тело тем самым является ограничительным элементом, в котором боковые поверхности направляющего штифта, которые проходят параллельно к двум контактным поверхностям, образуют ограничительные поверхности 36, к которым с геометрическим замыканием прилегают и тем самым направляются контактные элементы 18.
Согласно Фигурам 4 и 5 первый контакт 4 в положении разъединения простирается в основном вдоль всей длины первой контактной поверхности 31 контактного элемента 18. При этом выполненные в виде плоской пластины первые контакты 4 на обращенной к первой контактной поверхности 31 стороне содержат соответственно по два контактных бугорка 37 (сравни Фигуру 3), через которые они находятся в постоянном электрическом контакте с первой контактной поверхностью 31. Контактный блок 15 является смещаемым от положения разъединения, в котором контактные элементы 18 электрически разъединены от вторых контактов 5 – в показанное на Фигуре 5 коммутационное положение, при котором вторая контактная поверхность 32 под действием силы пружины прилегает ко вторым контактам 14 и тем самым находится в электрическом контакте. При этом первые контакты 4 содержат проходной шлиц 38, который является более широким, чем направляющий штифт 35. Первые контакты 4 являются далее уже, чем внутренняя ширина на просвет 39 опорного тела 17, так что боковое направление контактных элементов 18 не находится под влиянием положения первых контактов 4.
Фигуры 6-10 показывают дальнейшую форму выполнения нового контактного устройства.
На Фигуре 6 вторая форма выполнения нового контактного устройства обозначена в целом позицией 40, причем однако от средства 41 для смещения контактного блока 42 показан только поперечный толкатель 43, так как все другие звенья в основном соответствуют таковым из первой формы выполнения. В противоположность к первой форме выполнения поперечный толкатель 43 несет здесь четыре цилиндрических штифта 44, посредством которых смещается контактный блок 42.
Контактный блок 42 состоит из шести контактных элементов 45 в виде контактных пальцев, двух контактных пружин 46 и одной натяжной рамы 47. Обе контактные пружины 46 выполнены при этом, соответственно, в виде плоских пружин и имеют на обоих концах, соответственно, по три пальца 48, которые присвоены одному из контактных пальцев. Натяжная рама 47 охватывает контактные пальцы и контактные пружины так, что лежащие против друг друга контактные пальцы пружиняще предварительно натянуты относительно друг друга.
Шесть первых контактов 49, которые образованы плоскими попарно изогнутыми в виде тюльпана пластинами, пронизывают подобные окнам отверстия ограничительного элемента 50. Пластины имеют на обращенных к контактным пальцам сторонах соответственно по два контактных бугорка 51. Эти контактные бугорки 51 прилегают от положения разъединения до коммутационного положения под действием силы пружины 52 к первой контактной поверхности 53 контактных пальцев. Контактные пальцы имеют на своей обращенной ко второму контакту 54 стороне контактные утолщения 55, края которых образуют вторые контактные поверхности 56.
Пластины, которые образуют первые контакты 49, распорные шайбы 57 и кабельный наконечник 58 вместе с ограничительным элементом 50 через резьбовое соединение 59 связаны во второй механический блок и размещены в фиксированной неподвижно на выдвижном блоке 60 корпусной детали 61. При этом ограничительный элемент 50 имеет крепежные элементы 62 в виде боковых выступов, которые с геометрическим замыканием входят в зацепление в соответствующие выемки 63 корпусной детали 61, чтобы фиксировать второй механический блок на выдвижном блоке.
Контактный блок 42 является смещаемым из показанного на Фигурах 7 и 8 положения разъединения, в котором контактные элементы 45 электрически разомкнуты от вторых контактов 54, в показанное на Фигуре 10 коммутационное положение, при котором вторые контактные поверхности 56 прилегают ко вторым контактам 56 под действием силы пружины и поэтому находятся в электрическом контакте. При этом корпусная деталь 61 содержит два проходных шлица 64 для цилиндрических штифтов 44, которые являются шире, чем цилиндрические штифты. Цилиндрические штифты 44 для смещения контактного блока 42 пронизывают проходные отверстия контактных элементов 45 и натяжной рамы 47. При этом боковое направление контактных элементов 45 происходит за счет монолитно приформованной к упорному элементу направляющей рейки 65, две плоские стороны которой проходят параллельно вторым контактным поверхностям, образуют ограничительные поверхности 66 для, соответственно, трех контактных элементов. При этом, соответственно, по три контактных элемента 45 прилегают под действием силы пружины 46 к, соответственно, одной из ограничительных поверхностей 66 направляющей рейки 65.
Согласно Фигуре 9, которая показывает промежуточное положение контактного блока, направляющая рейка 65 на своей второй обращенной к второму контакту стороне выполнена слегка суженной и содержит два скоса 67. Контактные утолщения 56 скользят вдоль этих скосов 67, в результате чего получается, что контактные элементы 45 по обе стороны направляющей рейки 65 движутся друг к другу, причем они во время этого поворотного движения скользят к соответствующим контактным поверхностям 68 вторых контактов 54, чтобы таким образом получить показанное на Фигуре 10 коммутационное положение.
В обоих формах выполнения нового контактного устройства ограничительный элемент 17 или, соответственно, 50 может быть выполнен в виде пластмассовой фасонной детали.
Формула изобретения
1. Контактное устройство (3; 40) с контактным блоком (15; 42) для создания электрического соединения между первым контактом (4; 49), который расположен неподвижно на выдвижном блоке (1) для низковольтного распределительного устройства (2) и вторым контактом (5; 54), который расположен неподвижно в распределительном устройстве, и со средством (16; 41) для смещения контактного блока от положения разъединения до коммутационного положения и обратно, при этом контактный блок (15; 42) содержит по меньшей мере один контактный элемент (18; 45) и по меньшей мере одну предварительно пружиняще натягивающую контактный элемент контактную пружину (19; 46), причем первая контактная поверхность (31; 53) контактного элемента проходит таким образом, что она при смещении контактного блока от положения разъединения до коммутационного положения и обратно находится скользяще в электрическом контакте с одним (4; 49) из контактов, и причем вторая контактная поверхность (32; 56) контактного элемента проходит так, что она в случае находящегося в положении разъединения контактного блока электрически отделена от другого (5; 54) из контактов, а в случае находящегося в коммутационном положении контактного блока находится в электрическом контакте с другим из контактов, отличающееся тем, что первая контактная поверхность (31; 53) и вторая контактная поверхность (32; 56) контактного элемента (18; 45) проходят перпендикулярно друг к другу, причем дополнительно к одному контакту, на котором скользит контактный элемент, предусмотрен по меньшей мере один ограничительный элемент (17; 50), который имеет проходящую параллельно ко второй контактной поверхности (32; 66) ограничительную поверхность (36; 66), посредством которой механически направляется контактный элемент.
2. Контактное устройство по п.1, отличающееся тем, что по меньшей мере одна ограничительная поверхность (36) выполнена на средстве (16) для смещения контактного блока (15).
3. Контактное устройство по п.2, отличающееся тем, что ограничительная поверхность (36) выполнена на направляющем штифте (35), который пронизывает приемное отверстие (34) контактного элемента (18).
4. Контактное устройство по п.2, отличающееся тем, что по меньшей мере одна ограничительная поверхность (36) является смещаемой перпендикулярно ко второй контактной поверхности (32).
5. Контактное устройство по п.1, отличающееся тем, что средство (16) для смещения контактного блока (15) содержит поперечный толкатель (25) и образующее ограничительный элемент (17) опорное тело, причем опорное тело удерживается на поперечном толкателе (25) с возможностью перемещения перпендикулярно ко второй контактной поверхности (32) контактного элемента (18).
6. Контактное устройство по п.3, отличающееся тем, что средство (16) для смещения контактного блока (15) содержит поперечный толкатель (25) и образующее ограничительный элемент (17) опорное тело, причем опорное тело удерживается на поперечном толкателе (25) с возможностью перемещения перпендикулярно ко второй контактной поверхности (32) контактного элемента (18).
7. Контактное устройство по п.5, отличающееся тем, что направляющий штифт (35) выполнен на опорном теле.
8. Контактное устройство по п.5, отличающееся тем, что на поперечном толкателе (25) удерживаются с возможностью перемещения множество опорных тел.
9. Контактное устройство по п.1, отличающееся тем, что контактный элемент (18) образован плоской U-образной пластиной.
10. Контактное устройство по п.9, отличающееся тем, что свободные полки (28) U-образной пластины на обращенных друг к другу сторонах имеют контактное утолщение (29).
11. Контактное устройство по п.9, отличающееся тем, что контактная пружина (19) выполнена в виде U-образной плоской пружины, которая предварительно пружиняще натягивает относительно друг друга свободные полки U-образной пластины.
12. Контактное устройство по п.1, отличающееся тем, что ограничительный элемент (50) содержит крепежные элементы (62), посредством которых он является неподвижно фиксируемым к одному (49) из контактов.
13. Контактное устройство по п.12, отличающееся тем, что ограничительный элемент (50) содержит направляющую рейку (65), причем две плоских стороны направляющей рейки служат в качестве ограничительных поверхностей (66) для по меньшей мере двух выполненных в виде контактных пальцев контактных элементов (45), и причем каждый из обоих контактных пальцев предварительно натянут посредством соответственно одной пружины (46) относительно одной из ограничительных поверхностей (66).
14. Контактное устройство по п.13, отличающееся тем, что направляющая рейка (65) на своем одном конце является суженной так, что движущиеся вдоль рейки, противоположно лежащие контактные пальцы направляются друг к другу под действием пружинной силы.
15. Контактное устройство по п.1, отличающееся тем, что ограничительный элемент (17; 50) выполнен в виде пластмассовой фасонной детали.
16. Выдвижной блок (1) для низковольтного распределительного устройства (2) с контактным устройством (3; 40) для создания электрического соединения между первым контактом (4; 49), который расположен неподвижно на выдвижном блоке, и вторым контактом (5; 54), который расположен неподвижно в распределительном устройстве, отличающийся тем, что контактное устройство (3; 40) выполнено по любому из пп.1-15, причем средство (16; 41) для смещения контактного блока удерживается на выдвижном блоке.
17. Выдвижной блок по п.16, отличающийся тем, что первый контакт (4; 49) выполнен в виде плоской пластины.
18. Выдвижной блок по п.17, отличающийся тем, что плоская пластина на обращенной к контактному элементу (18; 45) стороне снабжена контактными бугорками (37; 51).
19. Выдвижной блок по п.17, отличающийся тем, что плоская пластина содержит выступы (12), которые проходят перпендикулярно к направлению смещения (26) контактного блока (15) и входят в зацепление в соответствующие выемки (13) неподвижно фиксированной на выдвижном блоке (1) корпусной детали (11).
20. Низковольтное распределительное устройство (2) с выдвижным блоком (1) и с контактным устройством (3; 40) для создания электрического соединения между первым контактом (4; 49), который расположен неподвижно на выдвижном блоке (1), и вторым контактом (5; 54), который расположен неподвижно в распределительном устройстве, отличающееся тем, что контактное устройство (3; 40) выполнено по любому из пп.1-15, причем средство для смещения контактного блока удерживается на каркасе распределительного устройства.
РИСУНКИ
|