|
|
(21), (22) Заявка: 2007103771/09, 25.07.2005
(24) Дата начала отсчета срока действия патента:
25.07.2005
(30) Конвенционный приоритет:
13.08.2004 US 10/917,700
(43) Дата публикации заявки: 20.09.2008
(46) Опубликовано: 27.08.2010
(56) Список документов, цитированных в отчете о поиске:
US 2002/0097970 A1, 25.07.2002. RU 2144701 C1, 20.01.2000. RU 2192103 C1, 27.10.2002. JP 2002077300, 02.01.2002. WO 00/48413 A1, 17.08.2000.
(85) Дата перевода заявки PCT на национальную фазу:
13.03.2007
(86) Заявка PCT:
IB 2005/002260 20050725
(87) Публикация PCT:
WO 2006/018685 20060223
Адрес для переписки:
191036, Санкт-Петербург, а/я 24, “НЕВИНПАТ”, пат.пов. А.В.Поликарпову
|
(72) Автор(ы):
ААЛТОНЕН Янне (FI)
(73) Патентообладатель(и):
Нокиа Корпорейшн (FI)
|
(54) ДОСТАВКА ДАННЫХ ВО ВРЕМЯ ПЕРЕДАЧИ РЕКЛАМЫ ПО РАДИО ИЛИ ТЕЛЕВИДЕНИЮ
(57) Реферат:
Изобретение относится к средствам передачи телевизионного и радиовещания. Техническим результатом является обеспечение передачи в сети информационных блоков, адаптированных к профилям, заказанным пользователями. В способе трансляции и обработки информационного содержания, такого как звуковые, визуальные или аудиовизуальные данные, разбивают эти данные на дискретные блоки. При передаче информационного содержания множеству мобильных терминалов между дискретными блоками с информационным содержанием вставляют рекламу, ассоциированную с профилем, заказанным пользователем. Пользователям мобильных терминалов предоставляют бонусную информацию, которая включает бонусные данные или указывает, как их получить, чтобы заставить пользователей следить за рекламой. 6 н. и 27 з.п. ф-лы, 3 ил.
ОБЛАСТЬ ТЕХНИКИ
Аспекты настоящего изобретения касаются передачи информационного содержания для просмотра и прослушивания конечными пользователями. Более подробно, аспекты настоящего изобретения обеспечивают системы и способы, которые побуждают пользователей просматривать и прослушивать содержание рекламы.
УРОВЕНЬ ТЕХНИКИ
Радио- и телевизионные вещательные станции обычно используют рекламные материалы для того, чтобы оплачивать создание и передачу материалов вещания. Например, обычно станции вещания при трансляции через эфир, кабельном или спутниковом вещании разбивают программу вещания на несколько дискретных блоков, и трансляция рекламы происходит в промежутках между этими блоками программы.
Обычно пользователи стараются избежать рекламных материалов при просмотре или прослушивании программы. Зачастую пользователи переключают канал или занимаются другими делами, пока происходит вещание рекламных материалов. Развитие цифровых видеомагнитофонов дало пользователем возможность легко просматривать содержание телепередачи без просмотра рекламных материалов. С помощью видеомагнитофона можно записать несколько часов телепередачи, а при воспроизведении пользователь может ускоренно перемотать кадры с рекламой или перескочить через такие кадры.
Поэтому в этой области техники существует потребность в системах и способах, которые побуждают пользователя следить за рекламными материалами, транслируемыми наряду с информационным содержанием, сопровождаемым рекламой. Без такого рода побуждения, скорее всего, наступит время, когда пользователи не будут смотреть рекламу. Это может привести к тому, что рекламодатели с неохотой будут заказывать рекламу или будут выделять для этого меньше средств. Без рекламных услуг под угрозой окажется сама коммерческая модель, использующая заказ рекламы для финансирования создания и подачи информационного содержания.
СУЩНОСТЬ ИЗОБРЕТЕНИЯ
Аспекты настоящего изобретения направлены на решение одной или нескольких указанных выше проблем, посредством чего предоставляются системы и способы, побуждающие пользователей следить за рекламой в процессе вещания программы.
В первом варианте осуществления изобретения предлагается способ вещания информационного содержания, сопровождаемого рекламой. Этот способ включает разбиение информационного содержания на дискретные блоки и вещание информационного содержания и рекламного материала так, что по меньшей мере некоторые рекламные материалы разделяют дискретные блоки информационного содержания (вставлены между ними). Кроме того, в процесс вещания включается бонусная информация, которая побуждает пользователя следить за рекламой.
В другом варианте осуществления изобретения предлагается мобильный терминал, который обрабатывает информационное содержание, сопровождаемое рекламой. Мобильный терминал включает приемное устройство, которое принимает поток данных дискретных блоков информационного содержания, разделенных рекламными материалами. Модуль информации об оформлении заказа сохраняет информацию о заказе бонусных данных, которые транслируются вместе с рекламными материалами. Модуль передачи сообщений формирует сообщение из информации об оформлении заказа для заказа бонусных данных.
В еще одном варианте осуществления изобретения предлагается мобильный терминал, который обрабатывает информационное содержание, сопровождаемое рекламой. Мобильный терминал включает приемное устройство, которое принимает поток данных дискретных блоков информационного содержания, разделенного рекламными материалами. Мобильный терминал также включает модуль памяти для бонусных данных, который сохраняет бонусные данные, которые транслируются вместе с одним или несколькими рекламными материалами.
Один или несколько раскрытых способов могут быть полностью или частично записаны в виде выполняемых компьютером команд на машиночитаемом носителе, например на оптическом диске, магнитном диске или в физической памяти.
КРАТКОЕ ОПИСАНИЕ ЧЕРТЕЖЕЙ
Аспекты настоящего изобретения описываются со ссылками на сопровождающие чертежи, на которых одинаковыми номерами ссылок обозначаются одни и те же элементы.
На фиг.1 приведена схема, на которой мобильный терминал принимает информационное содержание, сопровождаемое рекламой, и бонусную информацию в соответствии с вариантом осуществления изобретения.
На фиг.2 показан способ вещания информационного содержания, сопровождаемого рекламным материалом, и бонусной информации в соответствии с вариантом осуществления изобретения.
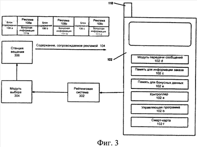
На фиг.3 показана схема, на которой мобильный терминал обеспечивает информацию о профиле, которая используется для выбора бонусных данных, в соответствии с вариантом осуществления изобретения.
ПОДРОБНОЕ ОПИСАНИЕ ИЗОБРЕТЕНИЯ
На фиг.1 приведена схема, на которой мобильный терминал 102 принимает поток 104 информационного содержания (“контента”), сопровождаемого рекламой, в соответствии с вариантом осуществления изобретения. Поток 104 информационного содержания, сопровождаемого рекламой, включает несколько блоков 106а, 106b и 106с информационного содержания. Блоки 106а, 106b и 106с информационного содержания могут включать аудиосодержание, видеоизображение или и то, и другое вместе. Блоки 108а, 108b и 108 с рекламного материала разделяют блоки информационного содержания. Блоки 110а, 110b и 110с бонусной информации транслируются вместе с блоками 108а, 108b и 108с рекламного материала. Далее подробно описывается использование блоков бонусной информации.
Поток 104 информационного содержания, сопровождаемого рекламой, может транслироваться или передаваться с помощью телевизионной станции, радиостанции, веб-сайта Интернета или любым иным средством вещания, которое транслирует или передает информационное содержание и рекламу пользователям. В одном варианте осуществления изобретения данные транслируются или передаются с использованием Интернет-протокола службы вещательной передачи данных. В другом варианте осуществления изобретения данные транслируются или передаются с использованием цифрового радио- и телевещания (Европейский проект по цифровому телевидению (DVB), Американский стандарт цифрового телевещания (ATSC), Объединенные службы цифрового вещания (ISDB) и различных модификаций перечисленных технологий, включая технологии вещания для мобильных и переносных терминалов).
Как показано на чертеже, терминал 102 может включать антенну 118 для передачи сигналов на базовую станцию, а также для приема сигналов от упомянутой станции. Базовая станция может быть частью сети сотовой связи, которая включает блоки, необходимые для работы этой сети, например центр мобильной коммутации (MSC). Как хорошо известно специалистам в этой области, сеть сотовой связи может также называться базовая станция/MSC/функция взаимодействия (BMI). Центр мобильной коммутации в процессе работы способен маршрутизировать телефонные вызовы и сообщения по направлению к терминалу и от него, в тех случаях, когда терминал формирует и принимает телефонные вызовы. Кроме того, в том случае, когда терминал используется для телефонных переговоров, центр мобильной коммутации обеспечивает подсоединение к внешним линиям наземной связи. Далее, центр мобильной коммутации может быть подсоединен к шлюзу сервера.
Центр мобильной коммутации может быть подсоединен к сети передачи данных, например, к локальной сети (LAN), городской сети (MAN) и/или глобальной сети передачи данных (WAN). Центр мобильной коммутации может быть непосредственно подсоединен к сети передачи данных. Однако в одном типичном варианте осуществления изобретения центр мобильной коммутации соединяется с шлюзом сервера, а этот шлюз сервера соединяется с глобальной сетью передачи данных, например с Интернетом. В свою очередь, такие устройства, как блоки обработки (например, персональные компьютеры, серверные компьютеры и им подобные устройства) могут быть подсоединены к терминалу 102 через Интернет.
Помимо центра мобильной коммутации, базовая станция может быть подсоединена к обслуживающему узлу поддержки GPRS (SGSN). Как известно специалистам в этой области, узел SGSN способен к выполнению функций, подобных функциям центра мобильной коммутации в службах с коммутацией пакетов. Узел SGSN может, как и центр мобильной коммутации, быть подсоединен к сети передачи данных, например к Интернету. Узел SGSN может быть непосредственно подсоединен к сети передачи данных. Тем не менее, в более типичном варианте осуществления изобретения узел SGSN подсоединяется к базовой сети с коммутацией пакетов, например к базовой сети GPRS. Затем эта базовая сеть с коммутацией пакетов подключается к другому шлюзу, например шлюзовому узлу поддержки GPRS (GGSN), а этот узел подключается к Интернету. Кроме узла SGSN, к шлюзу может также подключаться базовая сеть с пакетной коммутацией.
Благодаря подключению узла SGSN к сети GPRS и шлюзовому узлу GGSN, такие устройства, как передающие серверы, могут подсоединяться к терминалу 102 через Интернет, через SGSN и GGSN. В этом смысле устройства наподобие исходных серверов могут обмениваться информацией с терминалом посредством SGSN и GGSN. Например, исходные серверы могут поставлять информационное содержание на терминал, например, в соответствии с технологией службы мультимедийной многоадресной передачи (MBMS). Более подробно с технологией MBMS можно ознакомиться в техническом описании 3GPP TS 22.146 (Проект партнерства по разработке систем 3-го поколения” (3GPP)), включенного в данное описание путем ссылки.
Наряду с подключением к базовой станции, терминал 102 может беспроводным способом подключаться к одной или нескольким точкам доступа. Точки доступа могут включать точки доступа, настроенные для передачи информации в соответствии с такими технологиями, как, например, передача посредством радиосвязи, технологии Bluetooth или передачи по инфракрасному каналу связи, или по любой технологии из множества различных технологий беспроводной связи, включая технологии беспроводных локальных сетей передачи данных. Дополнительно, либо в качестве альтернативы, терминал 102 может соединяться с одним или несколькими пользовательскими процессорами. Каждый пользовательский процессор может включать компьютерную систему, например персональный компьютер, переносной компьютер или им подобное устройство. В этой связи пользовательский процессор может быть сконфигурирован для обмена информацией с терминалом, например, в соответствии с такими технологиями, как радиосвязь, технология Bluetooth, или передача по инфракрасному каналу связи, или по любому каналу связи из множества различных типов проводных или беспроводных линий связи, включая связь по шине USB, локальной сети и/или локальной беспроводной сети. Одни или несколько пользовательских процессоров могут дополнительно, или в качестве альтернативы, включать сменный блок памяти, способный хранить информационное содержание, которое может в дальнейшем передаваться на терминал.
Затем терминал 102 может соединяться с одним или несколькими переносными электронными устройствами, например цифровыми камерами и/или иными устройствами для сбора мультимедийного информационного содержания, его обработки и хранения. Как и в случае с пользовательскими процессорами, терминал может быть сконфигурирован для обмена информацией с переносными электронными устройствами в соответствии с такими технологиями связи, как, например, радиосвязь, технология Bluetooth, передача по инфракрасному каналу связи или по любой технологии из множества различных технологий проводных или беспроводных линий связи, включая связь по шине USB, локальной сети и/или локальной беспроводной сети.
Точки доступа и пользовательские процессоры могут подсоединяться к Интернету. Как и в случае с центром мобильной коммутации, точки доступа и пользовательские процессоры могут непосредственно подсоединяться к Интернету. Тем не менее, в одном варианте осуществления изобретения точки доступа опосредствованно подключаются к Интернету через шлюз сервера. Как будет обсуждаться далее, за счет прямого или опосредованного подсоединения терминала и исходного сервера, так же как и любого иного устройства, к Интернету, эти терминалы, как и подключенные к ним переносные электронные устройства, могут обмениваться информацией друг с другом, с другим исходным сервером и тому подобными устройствами. Посредством такого подключения выполняются различные функции терминалов (или переносных электронных устройств), например передача данных, информационного содержания или подобной информации на исходный сервер и/или прием информационного содержания, данных или подобной информации с исходного сервера. Используемые здесь термины “данные”, “информационное содержание”, “информация” и им подобные термины могут равнозначно обозначать данные, которые могут передаваться, приниматься и/или храниться в соответствии с вариантами осуществления настоящего изобретения. Итак, использование любых подобных терминов не ограничивает смысл и область действия настоящего изобретения.
Далее, терминал 102 может дополнительно, либо в качестве альтернативы, быть подсоединен к станции цифрового вещания посредством сети цифрового вещания, например сети наземного цифрового телевещания (например, сети цифрового телевещания: DVB-T (европейский стандарт для обеспечения наземного цифрового телевещания), DVB-H (европейский стандарт для обеспечения цифрового телевещания для переносных устройства связи), ISDB-T (японский стандарт для обеспечения наземного цифрового телевещания), ATSC и другим). Как будет обсуждаться далее, за счет прямого или опосредованного соединения терминалов и станции цифрового вещания терминалы могут принимать от станции цифрового вещания информационное содержание, например информационное содержание одного или нескольких телевизионных и/или радиовещательных каналов. В этой связи станция цифрового вещания может включать передатчик, например передатчик DVB-T, или подсоединяться к передатчику. В подобном случае терминал может включать приемник, например приемник DVB-T. Этот терминал сможет принимать информационное содержание от любой из множества станций вещания каким-либо одним или несколькими способами. Например, в одном варианте осуществления изобретения терминал может включать терминал, способный передавать и/или принимать данные, информационное содержание или подобную информацию в соответствии со стандартом DVB (например, программы наземного телевидения (DVB-T), телевидения для переносных устройств (DVB-H) и так далее), а также технологией сотовой связи (например, для сотовых телефонов поколений 1G, 2G, 2.5G, 3G и так далее). В таком варианте осуществления изобретения терминал 102 может включать антенну для приема информационного содержания от передатчика DVB-T, а также другую антенну для передачи сигналов на базовую станцию и приема сигналов от этой базовой станции. Более подробно такого рода терминал описан в заявке на патент США 09/894532 под названием “Приемник”, поданной 29 июня 2001. Полное описание этой заявки включено в данное описание путем ссылки.
В дополнение, или вместо осуществления непосредственной связи терминала 102 со станцией цифрового вещания посредством передатчика, терминал может быть связан с передатчиком цифрового вещания, который, в свою очередь, связан с цифровой станцией вещания, например, напрямую и/или посредством передатчика. В таких случаях приемник цифрового вещания может включать приемник DVB-T, например DVB-T приемник в виде приставки. Терминал может быть связан в определенном месте с приемником цифрового вещания, например, посредством персональной сети связи. Тем не менее в одном варианте осуществления изобретения терминал может дополнительно, или в качестве альтернативы, быть соединен с приемником цифрового вещания опосредованно через Интернет.
Мобильный терминал 102 может быть реализован в виде мобильного телефона, карманного персонального компьютера, компьютерного устройства или подобного устройства, способного принимать и обрабатывать поток 104 информационного содержания, сопровождаемого рекламным материалом. Мобильный терминал 102 может включать контроллер 102а и управляющую программу 102b для управления всеми операциями мобильного терминала 102, модуль 102с памяти для информации об оформлении заказа может быть задействован для хранения информации об оформлении заказа, которая может быть использована для заказа бонусных данных. В одном варианте осуществления изобретения бонусная информация 110а, 110b и/или 110с может включать информацию об оформлении заказа. Мобильный терминал 102 может включать необходимые компоненты и блоки для обеспечения возможностей двухстороннего обмена данными, например, мобильный телефон, а также для обеспечения возможностей приема цифрового телевещания, причем для выполнения этих функций по меньшей мере ряд компонентов и блоков может быть общим.
Модуль 102d передачи сообщений может быть задействован для передачи сообщений об оформлении заказа, например SMS сообщения 112 о заказе к одному или нескольким провайдерам 114 информационного содержания. Помимо SMS, сообщения могут быть отсылаться с использованием систем, поддерживающих протоколы WAP, WEB, технологию Bluetooth, а также могут использоваться сообщения других форматов и систем. В одном варианте осуществления изобретения модуль 102d передачи сообщений использует информацию об оформлении заказа, хранящуюся в модуле 102с памяти для информации об оформлении заказа. Вместо этого, или в дополнение к этому, данные для идентификации пользователя и/или терминала и данные предпочтений могут храниться на смарт-карте или в ином месте хранения или на других устройствах. Эти устройства могут располагаться либо в пределах мобильного терминала, либо подключаться к нему. К таким устройствам, например, может относиться флэш-память или иные съемные устройства памяти. Провайдер 114 информационного содержания может использовать принимаемые сообщения в целях отслеживания клиентов.
В одном варианте осуществления изобретения провайдер 114 информационного содержания после приема сообщения о заказе передает бонусные данные 116 на мобильный терминал 102. Бонусные данные могут быть представлены в форме рингтона (мелодии звонка для мобильного телефона), логотипа оператора, ключа шифрования, приложения, игрового приложения на языке Java, Symbian, C++ или другом языке программирования, приложения Symbian или любых данных, которые могут быть переданы в мобильный терминал или иной приемник. В одном варианте осуществления изобретения бонусные данные содержат пароль, который может быть использован для доступа к следующему блоку информационного содержания. В другом варианте осуществления изобретения бонусные данные могут быть представлены рингтоном или экранной заставкой, которая имеет отношение к содержанию или которая извлекается из информационного содержания. Примерами таких бонусных данных являются рингтоны, соответствующие теме фильма, или изображения или видеоклипы из этого фильма. В ряде вариантов осуществления изобретения бонусные данные дополнительно могут быть представлены дисконтным купоном, либо в качестве дисконтного купона может быть использован принятый рингтон, логотип оператора или экранная заставка.
Согласно одному варианту осуществления настоящего изобретения бонусные данные могут быть использованы в качестве частичной оплаты подписки на получение информационного содержания. В соответствии с этим вариантом осуществления изобретения пользователь подписывается на получение информационного содержания и получает скидку на стоимость подписки за просмотр им рекламы. В этом варианте осуществления изобретения фактически нет необходимости передавать какие-либо бонусные данные на терминал, поскольку ими можно управлять с помощью сервера и хранить на сервере.
Бонусные данные также могут транслироваться на мобильное устройство в процессе вещания множества рекламных материалов. Принимаемые блоки бонусных данных могут сохраняться и объединяться в мобильном терминале. Пользователь может принимать извещение, после того как последний блок бонусных данных приходит на мобильный терминал. В вариантах осуществления изобретения, в которых происходит вещание множества блоков бонусных данных, пользователю может быть дан короткий промежуток времени, чтобы отправить сообщение или выполнить некоторые действия для подтверждения того, что пользователь принял соответствующий рекламный материал и заинтересован в получении бонусных данных. Например, экранная заставка может быть разбита на четыре сегмента бонусных данных, и сегменты могут передаваться в эфир вместе с четырьмя различными рекламными материалами. После вещания каждого сегмента пользователю может быть предоставлен короткий период времени, например одна минута, для отправки SMS сообщения на некий адрес, чтобы сохранить этот сегмент в памяти, отведенной для хранения бонусных данных. В еще одном варианте осуществления изобретения пользователь может получать напоминание после того, как получен очередной бонусный сегмент, и пользователя могут запросить о приеме этого сегмента, чтобы сохранить его в памяти, отведенной для хранения бонусных данных. Может требоваться, чтобы сегмент принимался в пределах заранее заданного интервала времени. В одном варианте осуществления изобретения сегменты бонусных данных объединяются в файл бонусных данных, когда пользователем принят последний сегмент. В другом варианте осуществления изобретения бонусные данные могут быть использованы сразу же после принятия последнего сегмента. В еще одном варианте осуществления изобретения пользователь получает напоминание после того, как все или несколько предшествующих сегментов не были приняты, и пользователь может не допускаться к отправке заказа, либо в ответ на заказ пользователю сообщается о нехватке.
На фиг.2 показан способ вещания информационного содержания, сопровождаемого рекламой, и бонусной информации в соответствии с вариантом осуществления изобретения. Во-первых, на шаге 202 информационное содержание разбивается на дискретные блоки. На шаге 204 информационное содержание и рекламный материал транслируются в эфир, при этом по меньшей мере некоторые рекламные материалы разделяют блоки информационного содержания. На шаге 206 транслируется бонусная информация, которая побуждает пользователя следить за рекламой.
Вещание бонусной информации может происходить в процессе вещания рекламных материалов. В альтернативных вариантах осуществления изобретения бонусная информация транслируется в эфир в другие моменты времени, а информация, стимулирующая пользователя, или информация об авторизации может транслироваться или предоставляться пользователю либо в процессе предоставления пользователю рекламного материала, либо спустя короткий промежуток времени после предоставления пользователю рекламного материала. В нескольких вариантах осуществления изобретения бонусная информация включает информацию, которая позволяет пользователю заказывать или активировать бонусные данные. В других вариантах осуществления изобретения бонусная информация может включать бонусные данные полностью либо частично.
Тип бонусных данных, доступных пользователям, может определяться самими пользователями. На шаге 208 данные о профиле пользователя могут быть приняты по меньшей мере от одного пользователя и затем, на шаге 210, бонусные данные могут быть отобраны на основе принятых данных о профиле. В некоторых вариантах осуществления изобретения вместо данных о профиле пользователя, либо в дополнение к этим данным, также могут быть приняты данные о профиле терминала или данные о предпочтениях. Тогда выбор бонусных данных или их формат основывается на объединении данных о профиле пользователя и данных о профиле терминала.
На фиг.3 показана конфигурация, в которой мобильный терминал предоставляет профильную информацию, которая используется для отбора бонусных данных, в соответствии с вариантом осуществления изобретения. Вариант осуществления изобретения, показанный на фиг.3, подобен варианту, изображенному на фиг.1. Одни и те же элементы обозначены одинаковым образом. В варианте осуществления изобретения, показанном на фиг.3, блоки 111а, 111b и 111с бонусных данных транслируются как часть потока 104 информационного содержания, сопровождаемого рекламой. То есть блоки 110а, 110b и 110с бонусной информации (показанные на фиг.2) реализованы в виде блоков 111а, 111b и 111с бонусных данных. Два или более блока 111а, 111b и 111с бонусных данных могут быть сегментами более крупного блока бонусных данных.
В варианте осуществления изобретения, показанном на фиг.3, мобильный терминал 102 может предоставить информацию для рейтинговой системы 302. Эта информация может быть представлена в виде информации о профиле, извлекаемой или выводимой из информации, которая хранится на смарт-карте 102f. Рейтинговая система 302 может попеременно принимать запросы или ответы на вопросы от пользователей мобильных терминалов. Рейтинговая система 302 может выбирать нужную информацию из принятой информации и предавать выбранную информацию в модуль 304 выбора. После этого модуль 304 выбора может выбирать бонусную информацию на основе выбранной информации. Затем выбранная бонусная информация или идентификатор бонусной информации могут быть переданы на станцию 306 вещания. После этого станция 306 вещания вставляет эту бонусную информацию в поток 104 информационного содержания, сопровождаемого рекламой. Вариант осуществления изобретения, показанный на фиг.3, гарантирует, что бонусная информация, предоставляемая пользователям, является тем типом информации, которая нужна по меньшей мере нескольким пользователям.
Согласно одному варианту осуществления настоящего изобретения статистические данные, относящиеся к просмотру рекламы и/или использованию бонусной информации, сохраняются на сервере и/или передаются на него. Например, терминал может сохранять информацию, указывающую на то, какие рекламные материалы принимались и какие бонусные данные были использованы. Затем сохраненные данные могут быть посланы на сервер или в иной источник рекламных материалов и/или бонусных данных. Данные корреляции между просмотром рекламы и использованием бонусных данных могут быть использованы при отборе бонусных данных. Кроме того, полученные данные могут быть использованы для оценки рекламы.
Настоящее изобретение было описано на основе предпочтительных примеров его осуществления. Большое число других вариантов осуществления, модификаций и вариантов в рамках прилагаемых пунктов формулы изобретения могут быть предложены обычными специалистами в этой области при прочтении этого описания. Например, вместо описанных здесь мобильных терминалов может быть использован приемник в виде приставки для приема сигналов цифрового вещания.
Формула изобретения
1. Способ передачи информационного содержания, включающий разбиение информационного содержания, сопровождаемого рекламой, на дискретные блоки; передачу информационного содержания и рекламы так, что по меньшей мере некоторые рекламные материалы вставлены между дискретными блоками информационного содержания; прием информации о профиле пользователя по меньшей мере от одного пользователя; выбор на основе принятой информации о профиле, бонусной информации, которая побуждает по меньшей мере одного пользователя следить за рекламой; передачу бонусной информации вместе с рекламными материалами.
2. Способ по п.1, в котором бонусная информация включает информацию об оформлении заказа для заказа бонусных данных.
3. Способ по п.2, в котором информация об оформлении заказа включает период времени для заказа бонусных данных.
4. Способ по п.1, в котором бонусная информация включает бонусные данные.
5. Способ по п.4, в котором бонусные данные включают рингтон.
6. Способ по п.4, в котором бонусные данные включают логотип оператора.
7. Способ по п.4, в котором бонусные данные включают ключ шифрования.
8. Способ по п.4, в котором бонусные данные включают пароль.
9. Способ по п.8, в котором пароль позволяет пользователю получать доступ по меньшей мере к одному из дискретных блоков информационного содержания.
10. Способ по п.4, в котором бонусные данные включают приложение.
11. Способ по п.1, в котором передача информационного содержания и рекламы включает радиотрансляцию данных.
12. Способ по п.1, в котором передача информационного содержания и рекламы включает телевизионную трансляцию данных.
13. Способ по п.1, в котором бонусная информация включает бонусные данные, которые разбивают на сегменты, и передача бонусной информации включает передачу одного из сегментов во время передачи одного из рекламных материалов.
14. Способ по п.2, в котором информация об оформлении заказа включает адрес SMS.
15. Способ по п.2, в котором информация об оформлении заказа включает информацию для отправки множества сообщений, каждое из которых отправляют в пределах заранее заданного периода времени, следующего за вещанием рекламного материала.
16. Способ по п.2, дополнительно включающий сохранение бонусных данных в приемнике, когда от пользователя принята команда на прием.
17. Терминал, способный обрабатывать информационное содержание, сопровождаемое рекламой, включающий приемник для приема потока данных в виде дискретных блоков информационного содержания, разделенных рекламными материалами, транслируемыми вместе с бонусной информацией, которая побуждает пользователя терминала следить за рекламой; модуль информации об оформлении заказа для хранения информации об оформлении заказа для заказа бонусных данных, связанных с бонусной информацией; и модуль передачи сообщений для формирования сообщения из информации об оформлении заказа для заказа бонусных данных.
18. Терминал по п.17, дополнительно включающий модуль памяти для хранения бонусных данных.
19. Терминал по п.18, в котором бонусные данные хранятся в модуле памяти до того, как модуль передачи сообщений сформирует сообщение для заказа бонусных данных.
20. Терминал по п.19, представляющий собой мобильный терминал.
21. Терминал по п.20, в котором бонусные данные включают рингтон.
22. Терминал по п.20, в котором бонусные данные включают логотип оператора.
23. Терминал по п.17 или 20, в котором бонусные данные включают ключ шифрования.
24. Терминал по п.17 или 20, в котором бонусные данные включают пароль.
25. Терминал по п.24, в котором пароль позволяет пользователю получить доступ к одному из дискретных блоков информационного содержания.
26. Машиночитаемый носитель данных, содержащий компьютерные команды, которые вызывают выполнение компьютерным устройством способа по любому из пп.1-16.
27. Сервер информационного содержания, включающий процессор для разбиения информационного содержания, сопровождаемого рекламой, на дискретные блоки; передачи информационного содержания и рекламы так, что по меньшей мере некоторые рекламные материалы вставлены между дискретными блоками информационного содержания; приема информации о профиле пользователя по меньшей мере от одного пользователя; выбора на основе принятой информации о профиле, бонусной информации, которая побуждает по меньшей мере одного пользователя следить за рекламой, и передачи бонусной информации вместе с рекламными материалами.
28. Способ обработки информационного содержания, сопровождаемого рекламой, включающий прием потока данных в виде дискретных блоков информационного содержания, разделенных рекламными материалами, транслируемыми вместе с бонусной информацией, которая побуждает пользователя терминала следить за рекламой; хранение информации об оформлении заказа для заказа бонусных данных, связанных с бонусной информацией; и формирование сообщения из информации об оформлении заказа для заказа бонусных данных.
29. Способ по п.28, в котором бонусные данные включают рингтон.
30. Способ по п.28, в котором бонусные данные включают логотип оператора.
31. Способ по п.28, в котором бонусные данные включают ключ шифрования.
32. Способ по п.28, в котором бонусные данные включают пароль.
33. Машиночитаемый носитель данных, содержащий компьютерные команды, которые вызывают выполнение терминалом способа по любому из пп.28-32.
РИСУНКИ
|
|