|
|
(21), (22) Заявка: 2006124749/09, 12.11.2004
(24) Дата начала отсчета срока действия патента:
12.11.2004
(30) Конвенционный приоритет:
12.12.2003 US 10/734,889
(43) Дата публикации заявки: 27.01.2008
(46) Опубликовано: 27.08.2010
(56) Список документов, цитированных в отчете о поиске:
US 2003043052 A, 06.03.2003. US 2002183863 A, 05.12.2002. RU 2109402 C1, 20.04.1998. EP 1045302 A, 18.10.2000.
(85) Дата перевода заявки PCT на национальную фазу:
12.07.2006
(86) Заявка PCT:
US 2004/038531 20041112
(87) Публикация PCT:
WO 2005/060482 20050707
Адрес для переписки:
117393, Москва, а/я 279, “Константин Шилан и Ко.”, пат.пов. К.А.Шилану, рег. 367
|
(72) Автор(ы):
КАРШНИА Роберт Дж. (US), ПЕЛУЗО Маркос (US), РОМО Марк Дж. (US)
(73) Патентообладатель(и):
РОУЗМАУНТ, ИНК. (US)
|
(54) СИЛОВАЯ ШИНА РАДИОПЕРЕДАТЧИКА
(57) Реферат:
Использование: в области управления технологическим процессом. Технический результат заключается в повышении надежности и снижении себестоимости сетей управления. Распределенная система управления и/или контроля содержит центр управления/контроля, множество полевых приборов в рамках промышленного предприятия, не имеющих постоянной линии связи с центром управления/контроля и друг с другом, при этом в состав каждого полевого прибора входит: преобразователь; беспроводный трансивер для беспроводной связи; и шина питания всего предприятия, не связанная с центром управления/контроля, для подачи электропитания на каждый полевой прибор, при этом шина питания не включает канал передачи сигнала и отделена от любого канала передачи сигнала между центром управления/контроля и полевыми приборами. 9 н. и 28 з.п. ф-лы, 6 ил.
ПРЕДПОСЫЛКИ СОЗДАНИЯ ИЗОБРЕТЕНИЯ
Настоящее изобретение относится к передатчикам управления технологическим процессом, используемым для измерения технологических параметров на промышленных технологических установках. В частности, настоящее изобретение относится к полевым приборам с беспроводными трансиверами с питанием от внешней общей шины постоянного тока или от имеющейся сети электропитания.
В промышленных установках, системах управления, установках контроля и управления, промышленных и химических технологических процессах и т.п., как правило, система управления выполняет эти функции, используя полевые приборы, размещенные в ключевых точках технологического процесса и подключенные к схеме управления на пульте управления посредством контура управления технологическим процессом. Под термином “полевой прибор” следует понимать любой прибор, который выполняет функцию в распределенной системе управления, включая все контрольно-измерительные приборы, известные в настоящее время.
Вообще, каждый полевой прибор включает преобразователь. Под преобразователем понимают либо прибор, который выдает выходной сигнал на основе аналогового входного сигнала или выдает аналоговый выходной сигнал на основе входного сигнала. Как правило, преобразователь преобразует входной сигнал в выходной сигнал другого вида. Например, громкоговоритель является преобразователем, который преобразует электрические сигналы в энергию звука. Типы преобразователей включают различную аналитическую аппаратуру, преобразователи давления, терморезисторы, термопары, тензорезисторы, датчики расхода, устройства позиционирования, исполнительные механизмы, соленоиды, сигнальные лампы и т.п.
Как правило, каждый полевой прибор также включает передатчик, который приводит сигнал преобразователя к стандартному виду. Вообще, такие передатчики подключаются к пульту управления через контур управления технологическим процессом. Как правило, контур управления технологическим процессом подает регулируемый ток и/или напряжение для питания полевых приборов. Кроме того, контур управления технологическим процессом может передавать кодируемые сигналы. Обычно, аналоговые полевые приборы подключаются к пульту управления через двухпроводные токовые контуры на основе витой пары, при этом каждый прибор подключается к пульту управления через отдельный двухпроводный контур на основе витой пары. Как правило, разность напряжения между двумя проводниками для аналогового режима поддерживается в диапазоне от 12-45 В, для цифрового режима – до 9-50 В. Аналоговый полевой прибор передает сигнал на пульт управления путем модулирования тока, идущего по токовому контуру, с получением тока, пропорционального измеренному параметру технологического процесса. Аналоговый полевой прибор, который работает под управлением пульта управления, управляется величиной электрического тока через контур с модулированием через порты технологической подсистемы под управлением пульта управления.
Дискретные или цифровые полевые приборы реагируют на двоичные сигналы и передают двоичную информацию. Как правило, дискретные приборы работают с сигналом напряжением 5-30 В (переменного или постоянного тока), сигналом 120 или 240 В переменного тока, подаваемым по тем же самым или подобным двухпроводным контурам на основе витой пары. Конечно, дискретный прибор может соответствовать любым электротехническим требованиям, предъявляемым к системам управления.
Вообще, на промышленных установках отдельные полевые приборы подсоединяются проводами к распределительной коробке и оттуда к пульту управления или к сортирующей стойке через местные кабели. Так как длина кабелей от полевого прибора до распределительной коробки относительно мала, основная стоимость прокладки кабелей приходится на местные линии. Вообще, HART® – это хорошо зарекомендовавший себя стандарт, но системы управления не поддерживают многоточечные топологии HART®; поэтому от монтажных схем, использующих протокол HART®, мало что осталось. Вообще, некоторые системы управления, поддерживающие HART®, имеют ограниченное применение для диагностики приборов и не используют в системах управления цифровую информацию из-за ограниченного быстродействия.
Так как передача информации и электропитания обычно осуществляется по одним и тем же проводам, то для успешного монтажа необходимо учитывать то, что эти системы используют разные характеристики, к которым относится, например, экранировка от помех, источники электропитания с низким коэффициентом пульсаций, соответствующие входной импеданс линии передачи и полное сопротивление, протяженность и свойства проводников, концевых заделок и т.п. Использование одной пары проводов для обеспечения связи и подачи электропитания также делает регулировку мощности прибора более сложной. Простые пропускающие фильтры низких частот не могут использоваться для устранения помех от силового сигнала потому, что они должны пропускать “режекцию” частоты связи. В частности, пропускающий фильтр низких частот может “повысить качество” тока нагрузки, уменьшая таким образом неравномерность или режекцию в сигнале связи переменного тока. Важно отметить, что передатчики в основном шунтируют регуляторы, при этом ток шунтирования в аналоговых передатчиках составляет от 4 до 20 мА. При шунтировании малого тока (то есть 4 мА) передатчик должен работать на мощности менее 4 мА.
С появлением маломощных беспроводных линий связи можно представить сети новых топологий. Однако ограничения беспроводных передатчиков по мощности обычно накладывают ограничения на сети управления технологическим процессом до уровня традиционной проводной топологии. Реально беспроводный полевой прибор – это прибор, который содержит свой собственный источник энергии типа батареи, солнечной батареи, топливного элемента, источника энергии на основе переработки мусора и т.п. и не ограничен традиционными проводными топологиями.
Однако основной проблемой таких беспроводных передатчиков является низкая имеющаяся мощность, которая может ограничивать использование таких полевых приборов. В частности, низкая имеющаяся мощность вынуждает использовать низкие скорости передачи данных с целью сбережения энергии и/или требует частой, периодической замены источника энергии. Передаваемая энергия также ограничивает расстояние передачи.
КРАТКОЕ ИЗЛОЖЕНИЕ СУЩНОСТИ ИЗОБРЕТЕНИЯ
Система подачи электропитания на множество полевых приборов имеет интегральную или полевую шину питания для подачи электропитания на каждый полевой прибор. Некоторые полевые приборы могут регулировать свою собственную мощность и обеспечивать беспроводную связь с центром управления. Другие полевые приборы подключаются к сети через распределительную коробку, и распределительная коробка может регулировать подачу электропитания на группу полевых приборов. Распределительная коробка может также иметь общую беспроводную связь с центром управления. Существующие сети управления технологическим процессом могут снабжаться беспроводной связью путем объединения беспроводного трансивера с центром управления. Сеть управления технологическим процессом может быть полностью беспроводной или может быть гибридной проводной/беспроводной сетью. Каждый полевой прибор имеет корпус, преобразователь внутри корпуса и электрический вывод для подачи электропитания на схему от существующей цепи электропитания. В некоторых вариантах осуществления настоящего изобретения каждый полевой прибор содержит беспроводные коммуникационные платы для обеспечения беспроводной связи с центром управления. В другом варианте осуществления настоящего изобретения группы полевых приборов имеют общую беспроводную коммуникационную плату в распределительной коробке для обеспечения беспроводной связи с центром управления. Беспроводные коммуникационные платы используют стандартные протоколы связи для упрощения связи между полевыми приборами и центром управления и между различными полевыми приборами. Таким образом, система может быть организована как традиционная сеть управления технологическим процессом или может быть организована динамически как самоорганизующаяся сеть.
КРАТКОЕ ОПИСАНИЕ ЧЕРТЕЖЕЙ
Фиг.1 – блок-схема системы управления технологическим процессом на основе беспроводного полевого прибора по настоящему изобретению.
Фиг.2 – блок-схема беспроводного полевого прибора по фиг.1.
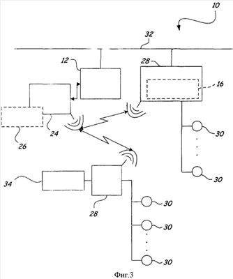
Фиг.3 – блок-схема распределенной беспроводной сети управления технологическим процессом с распределительной коробкой для подачи электропитания на полевые приборы и для беспроводной передачи данных полевого прибора через общий беспроводный трансивер.
Фиг.4 – блок-схема распределенной сети беспроводного управления технологическим процессом с распределительной коробкой, обеспечивающей общий беспроводный трансивер на группу полевых приборов, каждый из которых снабжен собственным источником питания.
Фиг.5 – блок-схема самоорганизующейся беспроводной сети управления технологическим процессом по настоящему изобретению.
Фиг.6 – блок-схема другого варианта осуществления беспроводной сети управления технологическим процессом по настоящему изобретению.
ПОДРОБНОЕ ОПИСАНИЕ
Настоящее изобретение использует преимущества доступных беспроводных технологий, чтобы освободить сеть управления технологическим процессом от ее традиционной проводной топологии. Беспроводные трансиверы могут использоваться как для того, чтобы обеспечить существующие сети управления технологическим процессом возможностями беспроводных коммуникаций, так и для того, чтобы создавать сети управления технологическим процессом без дорогостоящего прокладывания кабеля и без дорогих сетевых фильтров.
Вообще, беспроводные трансиверы посылают и принимают данные без использования проводов, разделяя таким образом линию передачи сигналов или связи и физическую проводку. В то время как традиционные сети управления технологическим процессом обеспечивают подачу электропитания и передачу сигналов по одному комплекту проводов, полевые приборы по настоящему изобретению больше не связаны с физической проводной сетью управления, что обеспечивается путем перемещения источника питания в полевые приборы отдельно от линий передачи сигналов или связи. Вместо этого данные передаются без использования проводов, и питание подается на полевые приборы от различных средств, позволяя полевым приборам быть развернутыми динамически и иметь разное устройство.
В то время как в традиционных сетях управления технологическим процессом для строгого распределения мощности используются дорогостоящие сетевые фильтры, отделение источника питания от линий связи позволяет снабжать полевые приборы их собственной схемой питания, которая может быть намного дешевле и которую не надо так строго контролировать, как традиционные системы. Таким образом, вся сеть управления технологическим процессом может быть построена без дорогих сетевых фильтров и с распределенными полевыми приборами, берущими мощность у многих различных источников. Такие источники могут включать батареи, существующие кабели домашней сети, стандартный подвод электропитания (например, розетки в стене, обеспечивающие подвод 120 Вт переменного тока, и т.п.), однофазный провод, солнечную электрическую схему и другие источники питания. Вообще, так как нет необходимости строго регулировать источник питания и так как связь осуществляется без использования проводов между полевыми приборами и системами управления в пределах пульта управления, любой тип источника питания может использоваться для питания полевых приборов. При питании полевых приборов от источников питания, которые располагаются отдельно от линий связи, архитектура сети управления технологическим процессом становится более универсальной и ниже по стоимости, учитывая топологию сети, которая не была ранее возможна без существенных инвестиций в прокладку кабелей, и учитывая недорогие элементы аппаратного обеспечения.
Настоящее изобретение позволяет объединить беспроводные технологии с существующими сетями управления технологическим процессом. В частности, беспроводные приборы могут включаться в существующие сети, и существующие полевые приборы могут передавать беспроводную информацию. Кроме того, существующие кабельные проводки могут использоваться как для подвода электропитания к полевым приборам (индивидуально и в группы), так и для удлинения или сокращения сети.
Как показано на фиг.1, сеть управления технологическим процессом 10 снабжена системой управления 12 и полевым прибором 14 с источником питания 16 и схемой питания 18 (показано пунктиром) соответственно. Схема питания 18 показана пунктиром, чтобы отметить, что схема питания 18 может быть внутренней или внешней относительно полевого прибора 14. Как показано, для передачи и получения данных и различных сигналов полевой прибор 14 обменивается информацией с системой управления 12 без использования проводов.
Вообще, система управления 12 обращается к одной или более компьютерным системам для того, чтобы управлять технологическим процессом и/или контролировать его. Система управления 12 может находиться в пределах пульта управления, может занимать больше одного офиса или может быть географически отделена и осуществлять связь через сеть (типа телефонных сетей, Интернета или сети любого другого типа). Кроме того, система управления 12 включает как автоматизированную, так и включаемую пользователем систему управления.
В данном варианте осуществления настоящего изобретения система управления 12 и полевой прибор 14 могут питаться от одной схемы или от независимых источников питания. Однако при снабжении полевых приборов 14 их собственной схемой питания 18 не потребуются дорогие и строго контролируемые сетевые фильтры. И при этом не нужны многочисленные провода для питания приборов. Для подачи электропитания на полевые приборы 14 могут использоваться относительно нерегулируемые источники питания, обеспечивающие питание полевых приборов 14 от простых, недорогих источников питания 16, 18. Так как в настоящем изобретении сетевая фильтрация передаваемой информации не связана с проводкой, то источники питания 16, 18 могут использовать простые методы сетевой фильтрации.
Важно обратить внимание на фиг.1, где показано, что система управления 12 оборудована или структурирована таким образом, чтобы передавать и получать данные и сигналы без использования проводов. Кроме того, на фиг.1 показан вариант осуществления полевого прибора 14 по настоящему изобретению с беспроводной передачей и приемом информации.
На фиг.2 показана система управления технологическим процессом 10 с системой управления 12 и полевым прибором 14 с беспроводной связью. Как показано, полевой прибор 14 снабжен схемой питания 18, которая подает электропитание на исполнительный механизм/преобразователь 20 (далее – “преобразователь 20”) и на беспроводную коммуникационную плату 22. Беспроводная коммуникационная плата 22 обращается к схеме для передачи и получения информации без использования проводов между системой управления 12 и полевым прибором 14. В некоторых случаях, беспроводная коммуникационная плата 22 может выполнять другие функции, типа оцифровывания аналоговой информации, полученной от преобразователя 20, до передачи информации.
Понятно, что преобразователь 20 обращается к любому прибору, который переводит входной сигнал в выходной сигнал, отличающийся по виду от входного сигнала (например, прибор, который вырабатывает аналоговый выходной сигнал на основе электрического входного сигнала, или электрический выходной сигнал на основе аналогового входного сигнала).
Таким образом, полевой прибор 14, содержаний преобразователь 20, может быть или устройством ввода, или устройством вывода, или и тем и другим сразу. Полевой прибор 14 может содержать как составляющие входа, так и составляющие выхода, соединенные с коммуникационной платой 22. Например, полевой прибор 14 может содержать и преобразователь, и сигнальные лампы или жидкокристаллический дисплей для считывания информации, и передачи необработанных данных или необработанного аналого-цифрового импульса на беспроводную коммуникационную плату 22, и для получения либо сигнала дисплея, либо кода дисплея от трансивера 24 системы управления 12, и выдачи величины на дисплей.
Вообще, как беспроводная коммуникационная плата 22, так и беспроводный трансивер 24 могут обеспечить двухстороннюю беспроводную связь с элементами односторонней беспроводной связи между системой управления 12 и полевыми приборами 14. Двухсторонняя беспроводная связь может быть выполнена с использованием беспроводных технологий организации сети (типа беспроводных точек доступа IEEE 802.11 b и беспроводных сетевых приборов, выполненных компанией Линксис (Linksys), Ирвин, шт. Калифорния), сотовых или цифровых сетевых технологий (типа Майкробёрст (Microburst)® компании Айрес Комьюникейшис (Aeris Communications), Сан-Хосе, шт. Калифорния), ультрашироких полос, оптики свободного пространства, Глобальной Системы для Мобильной Связи (Global System for Mobile С ommunications – GSM), Общей Службы Пакетной Радиосвязи (General Packet Radio Service – GPRS), Коллективного Доступа с Кодовым Делением (каналов) (Code Division Multiple Access – COMA), широкополосной технологии, методов инфракрасной связи, SMS (служба коротких сообщений/текстовые сообщения) или любой другой беспроводной технологии.
В более широком смысле настоящее изобретение может использовать любой беспроводный протокол, способный поддерживать передачу данных, включая передачу по любой сети с коммутацией каналов или любой сети с маршрутизацией пакетов.
И опять схема питания 181s показана пунктиром, чтобы иллюстрировать, что схема питания 18 может быть в полевом приборе 14 или может выполняться отдельно от полевого прибора 14. Источник питания 16 (см. фиг.1) для системы управления 12 может быть общей шиной питания, стандартной сетью электропитания или источником питания любого другого типа. Как показано, питание полевого прибора 14 не зависит от системы управления 12, и беспроводная передача данных между полевым прибором 14 и системой управления 12 не воздействует на схему источника питания.
В качестве схемы питания 18 полевого прибора 14 может использоваться стенной штепсель стандартной электрической розетки с трансформатором для понижения и сетевой фильтрации. В другом случае в качестве схемы питания 18 полевого прибора 14 может быть схема сетевой фильтрации, подключенная к общей шине питания, или перезаряжаемой батарее, подключенной к солнечному прибору, или любой другой источник питания. Вообще, схема питания 18 подключается к любой электрической схеме для подачи напряжения и/или тока соответствующего уровня на полевой прибор 14 для обеспечения его работы.
Важно понять, что традиционные сети управления технологическим процессом используют кабели домашней сети для соединения центра управления с распределенными полевыми приборами. Как правило, кабели домашней сети проходят от центра управления до распределительной коробки, которая, в свою очередь, соединяется непосредственно с полевыми приборами. Сообщение между полевыми приборами и центром управления проходит от центра управления через распределительную коробку и на полевой прибор, и информация от полевого прибора передается по той же самой линии в обратном направлении.
На фиг.3 показан один из вариантов осуществления системы управления технологическим процессом 10 по настоящему изобретению, который стал возможен в результате беспроводной передачи. В частности, система управления технологическим процессом 10 включает систему управления 12, которая сама по себе не является беспроводной. Однако система управления 12 соединена с беспроводным трансивером 24, у которого может быть свой собственный источник питания 26 (внутренний или внешний по отношению к беспроводному трансиверу 24). Беспроводный трансивер 24 позволяет системе управления 12 посылать и принимать информацию без использования проводов. Таким образом, при использовании минимальной дополнительной аппаратуры система управления 12 может отправлять и принимать сигналы без использования проводов.
Система управления технологическим процессом 10 также имеет одну распределительную коробку 28 или большее их число, которые связаны с несколькими полевыми приборами 30 и с источником питания 34 и/или схемой питания 16. В этом случае, в отличие от полевых приборов 14 (см. фиг.1 и 2), которые являются беспроводными, полевые приборы 30 не могут непосредственно передавать и получать информацию без использования проводов. Однако может быть найдено решение, при котором распределительные коробки 28 могут включать общие беспроводные трансиверы, так что данные могут быть переданы по проводам от полевого прибора 30 на распределительную коробку 28 и затем без использования проводов от распределительной коробки 28 на беспроводный трансивер 24, и затем на систему управления 12.
Что касается подачи энергии, то в данном варианте осуществления настоящего изобретения распределительная коробка 28 подает электропитание на каждый полевой прибор 30. Распределительная коробка 28 может включать внешний источник питания 34 и/или схему питания 16 для регулировочной мощности, подаваемой на полевые приборы 30. Кроме того, распределительная коробка 28 может подпитываться от общей шины питания 32 или от любого другого источника энергии, включая электрический вывод.
В процессе адаптации существующих сетей к передаче и приему информацию без использования проводов было получено множество преимуществ по традиционной проводной топологии сети. Во-первых, дополнительные проводные полевые приборы 30 и беспроводные полевые приборы 14 (фиг.2) могут включаться без издержек на дополнительные домашние кабельные сети.
Кроме того, в сеть управления технологическим процессом 10 могут дополнительно войти “интеллектуальные приборы” (например, полевые приборы 14 или 30, способные передавать диагностическую информацию, информацию о неисправности прибора и т.п. в систему управления 12) без необходимости изменения системы управления 12. В частности, в то время как интеллектуальные приборы могут войти в традиционную сеть управления технологическим процессом, традиционная система управления не может использовать переданную диагностическую информацию. Адаптация системы управления 12 для обеспечения передачи и приема беспроводной информации через беспроводный трансивер 24 гарантирует, что диагностическая информация достигает системы управления 12 без сетевой фильтрации. Кроме того, если система управления 12 не может использовать информацию, переданную интеллектуальным прибором, необходимые данные не будут потеряны, поскольку они могут быть приняты на беспроводный трансивер 24 и затем прагматично переведены в компьютер на пульте управления, который может использовать диагностическую информацию. Таким образом, система управления может быть переделана в систему управления и контроля с минимальными инвестициями в аппаратуру и программное обеспечение.
Наконец, так как информация передавалась без использования проводов между полевыми приборами 30 и системой управления 12 через беспроводный трансивер 24, требования по регулированию мощности минимизированы, учитывая, что используются более дешевые источники питания. Как предварительно обсуждалось, традиционные сети управления технологическим процессом требовали строгого контроля за источником питания, потому что как электричество, так и сигналы передавались по одному и тому же кабелю. Так как связь и подача электропитания осуществлялись по одному проводу, регулирование мощности прибора было затруднено и поэтому дорого.
Как правило, блоки регулирования мощности и/или концевые заделки кабеля должны устанавливаться так, чтобы обеспечить такую передачу сигналов. Кроме того, прокладка кабеля обходится дорого, потому что кабель должен экранироваться, потому что он должен быть сбалансирован с отдельным полным сопротивлением и так далее. Не могут использоваться простые пропускающие фильтры низких частот, потому что необходимо пропускать “режекцию” (notch) на частоте связи. Кроме того, обычные полевые приборы не включают электрическую схему регулирования мощности или схему сетевой фильтрации сигнала, которая является достаточно сложной для осуществления передачи сигналов по проводу, несущему нерегулируемое напряжение.
При использовании настоящего изобретения общая шина питания 32 может быть слаборегулируемой линией электроснабжения, без учета полевых приборов 3D, потому что точечные источники питания 34 или сети электропитания 16 могут выполнять необходимую сетевую фильтрацию. Таким образом, общая шина питания 32 может быть единственным проводником, несущим потенциал. Например, общая шина питания 32 может подавать переменный ток или постоянный ток напряжением двадцать четыре или сорок восемь вольт.
В другом случае питание на различные приборы может подаваться от существующей сети питания переменного тока, установленной в стенах, через стандартные электрические выводы на 120 или 240 В, например от сети, обеспечивающей подачу электропитания на штепсели и выключатели в офисах. Для промышленных целей такие сети электропитания могут быть на 480 В, а в странах за пределами Америки может использоваться другое напряжение.
Как рассматривалось ранее, полевые приборы 3D 14 могут получать питание от батарей или солнечного источника в зависимости от определенных требований передачи сигналов. Например, можно неэффективно использовать батареи в среде, где прибор 30, 14 должен часто подавать сигналы, потому что батареи быстро бы сели, что требует их частой замены. Однако, если батареи перезаряжающиеся и используются в среде, где они могут перезаряжаться (через солнечные панели) или где они нечасто используются, тогда такие источники питания также могут использоваться.
В сущности, возможности распределительной коробки 28 предусматривают подключение групп беспроводных полевых приборов 14 или проводного полевого прибора 30 к сети управления технологическим процессом 10 без необходимости прокладывания дополнительного кабеля. Такие группы полевых приборов могут питаться от простой местной электросети или от индивидуальных источников питания. Так как на промышленных предприятиях используется переменный ток, так же как и в быту, для подачи питания постоянного тока на группу передатчиков может использоваться дешевый источник питания, который получают просто путем врезки в сеть переменного тока и понижения напряжения.
На фиг.4 показан другой пример осуществления настоящего изобретения, при этом полевой прибор 30 снабжен своим собственным источником питания 18. В данном варианте осуществления настоящего изобретения, как питание распределительной коробки 28, так и системы управления 12 осуществляется от общей шины питания 32. Система управления 12 обеспечивает беспроводную передачу по беспроводному трансиверу 24. Кроме того, распределительная коробка 28 снабжена общим беспроводным трансивером 36 (показан пунктиром), чтобы приспособить группу проводных полевых приборов 30 для беспроводных передач.
Таким образом, отдельные источники питания, и проводка распределительной коробки 28 (не показано), и источники питания 18 полевых приборов 30 могут быть очень дешевыми в изготовлении с подачей питания соответствующего уровня каждому из различных элементов, не заботясь о сетевой фильтрации сигнала. Еще раз, беспроводная связь между полевыми приборами 30 и системой управления 12 осуществляется с использованием источников питания, которые не имеют в данном случае другого применения.
Таким образом, при разделении подачи электропитания и передачи сигналов полевые приборы 30, 14 могут устанавливаться в существующую сеть путем врезки в существующую сеть электропитания, например в стандартную сеть переменного тока (например, через выводы в стене). Источником питания 18 может быть просто стандартный штепсель с трансформатором. В другом случае, источником питания 18 может быть перезаряжаемая батарея, соединенная с солнечной батареей или другим подпитываемым от окружающей среды источником питания. В другом варианте осуществления настоящего изобретения источником питания 18 может быть перезаряжаемая батарея, подключаемая к стандартной стенной розетке или источнику бесперебойного питания, подобного (но меньше по размерам) приборам, разработанным для переключения нагрузки при отказе питания в сетях и т.п.
Еще более важно то, что так как подача напряжения не должна сильно регулироваться, то для обеспечения регулировки мощности в полевых приборах 18 или в распределительной коробке 28 может использоваться простой пропускающий фильтр низких частот или фильтры других типов. Таким образом, полная стоимость монтажа и расширения сети управления технологическим процессом 10 уменьшается частично потому, что к сети 10 могут быть добавлены дополнительные полевые приборы 14, 30 и распределительные коробки 28 без дорогостоящей прокладки кабелей домашней сети 14.
Вообще, при разделении канала передачи сигналов и источника питания и обеспечении разнообразия средств подачи электропитания на полевые приборы 14 и 30 сеть управления технологическим процессом 10 может формироваться разными способами, используя топологию сети и конфигурации, которые иначе не возможны. В частности, дополнительные полевые приборы 14 и 30 (вместе с общими беспроводными трансиверами 36 при необходимости) могут добавляться к сети управления технологическим процессом 10 при необходимости, не беспокоясь при этом за географическую близость индивидуальных беспроводных полевых приборов 14 или адаптированных полевых приборов 30 к существующей проводной сети. Используя стандартные и недорогие источники питания вместе с существующей электрической схемой питания, полевые приборы 30 (с общим беспроводным трансивером 36) и полевые приборы 14 (со встроенными беспроводными коммуникационными платами 22) могут без использования проводов связываться с системой управления 12 независимо от их физического размещения относительно системы управления 12.
Настоящее изобретение обладает несколькими преимуществами по сравнению с традиционными сетями управления. Во-первых, при разделении источника питания и канала передачи сигналов настоящее изобретение предусматривает недорогое расширение существующих сетей, потому что, как только система управления 12 адаптируется к беспроводной передаче, при необходимости могут добавляться новые полевые приборы 14, не требуя при этом дополнительной проводки. Кроме того, полагаясь на существующие сети электропитания для питания отдельных полевых приборов 14 или групп полевых приборов 14 или 30, число полевых приборов 14, 30 в сети не ограничивается кабельной проводкой, предусматривая при этом небольшое расширение существующих сетей 10.
Кроме того, так как полевые приборы 14, 30 больше не получают электропитание и сигналы из одного канала, связь может драматически и/или динамически меняться. В частности, в некоторых случаях желательно, чтобы полевые приборы 14, 30 или скорее их соединения с системой управления 12 были самоорганизующимися.
На фиг.5 показана гибридная схема, содержащая элемент самоорганизующейся беспроводной связи и беспроводную связь, показанную на фиг.1-4. Как показано, система управления 121s адаптирована для передачи и приема информации без использования проводов через беспроводный трансивер 24. Система управления 12 питается от общей шины питания 32, которая может быть единственным проводом под напряжением, существующей сетью электропитания или любым другим механизмом подачи питания. В зависимости от механизма подачи питания, используемого общей шиной питания 32, система управления 12 и распределительная коробка 28 могут включать при необходимости схему сетевой фильтрации (не показана).
Как показано, распределительная коробка 28 может обеспечивать беспроводную 15 связь между проводными полевыми приборами 30 и системой управления 12 через общий беспроводный трансивер 36. Распределительная коробка 28 получает электропитание от той же самой общей шины питания 32, что и система управления 12.
Наконец, в данном варианте осуществления настоящего изобретения самоорганизующийся участок сети управления 10 включает распределительную коробку 38, снабженную беспроводным трансивером 40А и беспроводным трансивером 40В. Распределительная коробка 38 получает питание от собственного источника питания 26. Показаны два полевых прибора 14, соединенных друг с другом и с беспроводным трансивером 40В распределительной коробки 38. Каждый полевой прибор 14 снабжен своим собственным источником питания 18.
В данном варианте осуществления настоящего изобретения полевые приборы 14 включают беспроводный трансивер и преобразователь/выключатель (не показаны). Беспроводный трансивер полевого прибора 14 (в данном случае) может быть короткодиапазонным или типа 802.11 (b) (или любого другого типа для беспроводной связи). Полевые приборы 14 могут транслировать сообщения от другого полевого прибора 14 или связываться непосредственно с распределительной коробкой 38 и ее беспроводным трансивером 40В. Распределительная коробка 38 транслирует информацию между центром управления 12 и полевыми приборами 14. В частности, информация, переданная полевыми приборами 14, принимается беспроводным трансивером 408, который передает эту информацию на беспроводный трансивер 40А для передачи на центр управления 12 через беспроводный трансивер 24. Сигналы, посланные с центра управления 12, проходят по тому же каналу в обратном порядке. Если, по каким-то причинам полевой прибор 14 не может передавать сигналы непосредственно на распределительную коробку 38, полевой прибор 14 может просто найти другой канал путем передачи данных на распределительную коробку 38 через другой полевой прибор 14.
Как показано, тип сигнала между полевыми приборами 14 и распределительной коробкой 38 отличается от типа сигнала между распределительной коробкой 38 и системой управления 12, что указывает на другой тип карты трансивера. Однако вся сеть управления 10 может применяться как самоорганизующаяся сеть, так что при передаче информации данные могут проходить вперед и назад по сети без использования проводов. По существу, полевые приборы 14 могут использоваться для создания свободноорганизующейся, изменяемой сети управления технологическим процессом 10, которая может адаптировать время передачи и приема информации между полевыми приборами 14 и системой управления 12 по любому доступному информационному каналу. Этот тип сети может использовать короткодиапазонную, беспроводную связь типа 802.11 (b), связь в инфракрасном диапазоне или беспроводную связь любого другого типа.
При использовании самоорганизующейся сети управления технологическим процессом 10 недавно добавленные полевые приборы 14 просто отслеживают беспроводный сигнал и начинают передачу. Если по некоторым причинам полевой прибор 26 выходит за пределы линии, передача сигналов мгновенно приспосабливается к другим трактам сигнала через самоорганизующуюся сеть. Как показано, при необходимости сигналы могут занимать другие тракты. Кроме того, новые каналы связи могут создаваться или разрушаться при необходимости упрощения связи между системой управления 12 и отдельными полевыми приборами 14.
Структура самоорганизующейся сети обладает массой преимуществ, хотя одним очевидным недостатком является тот факт, что существенная часть установки, возможно, должна “настраиваться” на эту архитектуру, чтобы работать. По мере того, как беспроводная связь становится более дешевой и более легкой в использовании, существующие системы могут легко и рентабельно адаптироваться. Кроме того, если протокол связи, который отобран, является стандартным протоколом связи (типа IEEE 802.15.4 и т.п.), то соединение с узловым компьютером осуществляется очень просто. Стоимостные преимущества этой конструкции являются настолько существенными, и цены беспроводных элементов настолько низки, что адаптация традиционной системы узлового компьютера может стоить очень мало.
Дополнительное преимущество системы 10 состоит в том, что источники питания, используемые для питания беспроводных датчиков или полевых приборов 14, могут отсутствовать, уменьшая таким образом воздействие на окружающую среду отработанных источников типа батарей. При питании полевых приборов 14 от существующей сети электропитания не требуются никакие новые инфраструктурные проводки и не образуются никакие отработанные источники питания. Кроме того, снижение издержек только на проводках может быть существенным, особенно на больших установках или процессах управления, где изменение технологии драматично.
На фиг.6 показана сеть управления технологическим процессом 10 с системой управления 12, адаптированной к беспроводным коммуникациям через беспроводный трансивер 24. Распределительная коробка 28 снабжена общим беспроводным трансивером 36 для полевых приборов 30. Как система управления 12, так и распределительная коробка 28А питаются от одной общей шины питания 32. Вторая распределительная коробка 288 снабжена отдельным источником питания 26 и схемой питания 42 для подачи питания от источника питания 26 на беспроводные полевые приборы 14. Как показано, полевые приборы 14 заземлены индивидуально (заземление 46), позволяя подавать электропитание через единственный провод 44 на один полевой прибор 14 или большее их число.
Как рассматривалось ранее, при разделении канала связи и источника питания сеть управления технологическим процессом 10 больше не нуждается в формировании путем применения проводки (или кабеля домашней сети). Существующие сети управления технологическим процессом могут быть приспособлены под использование беспроводной связи, и при необходимости и без дорогостоящей замены проводов могут быть построены, модифицированы и расширены новые сети управления технологическим процессом и контроля. В частности, к существующей сети могут подключаться беспроводные полевые приборы 14, проводные приборы 30 могут быть приспособлены под беспроводную связь через общий беспроводный трансивер 36, могут быть установлены интеллектуальные приборы, и каждый может получать питание от имеющихся сетей электропитания. Если поблизости находится стенная розетка, то прибор может подключаться к стенной розетке. В другом случае для подачи необходимого электропитания через установку может проходить единственный провод под напряжением (в противоположность более дорогому кабелю домашней сети), и сетевая фильтрация может затем выполняться на отдельных полевых приборах 14, 30 или на распределительной коробке.
Хотя настоящее изобретение было описано со ссылкой на предпочтительные варианты осуществления, специалисты понимают, что могут быть изменения по форме и в некоторых деталях, что, однако, не является отступлением от объема и сущности настоящего изобретения.
Формула изобретения
1. Распределенная система управления и/или контроля в рамках промышленного предприятия, в состав которой входит центр управления/контроля, множество полевых приборов в рамках промышленного предприятия, не имеющих постоянной линии связи с центром управления/контроля и друг с другом, при этом в состав каждого полевого прибора входит преобразователь; беспроводный трансивер для беспроводной связи; и шина питания всего предприятия, не связанная с центром управления/контроля, для подачи электропитания на каждый полевой прибор, при этом шина питания не включает и отделена от любого канала передачи сигнала между центром управления/контроля и полевыми приборами.
2. Распределенная система по п.1, отличающаяся тем, что в состав каждого полевого прибора также входит сеть электропитания для контроля за подачей питания от шины питания на преобразователь и к беспроводному трансиверу внутри полевого прибора.
3. Распределенная система по п.1, отличающаяся тем, что каждая шина питания является единственным проводом под напряжением.
4. Распределенная система по п.1, отличающаяся тем, что каждый полевой прибор из множества полевых приборов осуществляет беспроводную связь с центром управления/контроля.
5. Распределенная система по п.1, отличающаяся тем, что часть множества полевых приборов устанавливается в непосредственной близости друг к другу в группе, при этом в состав системы также входит сеть электропитания для контроля за подачей питания в группу полевых приборов.
6. Распределенная система по п.5, отличающаяся тем, что в состав сети электропитания также входит контур заземления, подключенный к земле для заземления каждого полевого прибора из группы полевых приборов.
7. Распределенная система по п.5, отличающаяся тем, что каждый полевой прибор заземлен индивидуально.
8. Распределенная система для контроля технологического процесса, в состав которой входит центр управления/контроля; множество полевых приборов для выполнения измерений параметров или изменения технологического процесса, при этом каждый полевой прибор снабжается преобразователем и беспроводным трансивером для передачи сигналов между полевым прибором и центром управления/контроля, и шина питания всего предприятия, не связанная с центром управления/контроля, в состав которой входит провод под нефильтрованным напряжением для подачи напряжения на каждый из множества полевых приборов, при этом шина питания не включает и отделена от любого канала передачи сигнала между центром управления/контроля и полевыми приборами.
9. Распределенная система по п.8, отличающаяся тем, что в состав каждого из множества полевых приборов также входит регулятор напряжения для контроля за питанием, подаваемым на беспроводный трансивер.
10. Распределенная система по п.9, отличающаяся тем, что в состав каждого множества полевых приборов также входит прямое соединение с землей.
11. Распределенная система по п.8, отличающаяся тем, что два или больше из множества полевых приборов, которые находятся в непосредственной близости друг к другу, составляют группу, в состав которой также входит схема питания для понижения существующего напряжения переменного или постоянного тока от шины питания всего предприятия до более низкого, при этом от каждого полевого прибора к источнику питания проходит единственный провод.
12. Распределенная система по п.8, отличающаяся тем, что в состав каждого полевого прибора также входит схема регулирования мощности для понижения имеющегося напряжения переменного или постоянного тока от шины питания всего предприятия до напряжения, подаваемого на полевой прибор.
13. Распределенная система по п.8, отличающаяся тем, что величина напряжения меньше пяти вольт.
14. Распределенная система управления и/или контроля, в состав которой также входит центр управления/контроля, множество полевых приборов, при этом каждый полевой прибор снабжен преобразователем; множество беспроводных трансиверов, при этом каждый беспроводный трансивер для отправки и приема беспроводных сигналов между центром управления/контроля и одним или большим числом полевых приборов, при этом каждый беспроводный трансивер образует электрическую связь по крайней мере с одним из множества полевых приборов; и источники питания для подачи электропитания от существующей сети электропитания от шины питания всего предприятия, не связанной с центром управления/контроля, на беспроводные трансиверы и на множество полевых приборов, при этом шина питания не включает и отделена от любого канала передачи сигнала между центром управления/контроля и полевыми приборами.
15. Распределенная система по п.14, отличающаяся тем, что существующая сеть электропитания является стандартным контуром переменного или постоянного тока.
16. Способ модификации существующей сети полевых приборов внутри промышленного предприятия для обеспечения беспроводной связи, включающий установку первого беспроводного трансивера, связанного с центром управления/контроля; установку второго беспроводного трансивера на существующую шину питания, соединенную с одним или большим числом полевых приборов; и выбор конфигурации для обеспечения связи между вторым беспроводным передатчиком и одним или большим числом полевых приборов, и для передачи данных без использования проводов от того или большего числа полевых приборов на центр управления/контроля в дополнение к данным, переданным по существующей линии связи, при этом шина питания всего предприятия, не связанная с центром управления/контроля, не включает и отделена от любого канала передачи сигнала между центром управления/контроля и полевыми приборами.
17. Способ по п.16, включающий также установку “интеллектуального” полевого прибора в сеть полевой шины, при этом в состав “интеллектуального” полевого прибора входит беспроводный трансивер, и “интеллектуальный” полевой прибор передает диагностическую информацию в центр управления.
18. Распределенная система полевых приборов, в состав которой входит однопроводная шина питания всего предприятия; и множество беспроводных полевых приборов, при этом в состав каждого беспроводного полевого прибора входит преобразователь; беспроводный трансивер для отправки информации от преобразователя к центру управления; и схема электропитания для отбора соответствующей мощности от однопроводной шины питания всего предприятия для питания преобразователя и беспроводного трансивера, при этом шина питания всего предприятия, не связанная с центром управления/контроля, не включает и отделена от любого канала передачи сигнала к или от полевых приборов.
19. Распределенная система полевых приборов по п.18, отличающаяся тем, что каждое множество беспроводных полевых приборов имеет заземление.
20. Полевой прибор для использования внутри промышленного предприятия, имеющего шину питания всего предприятия, при этом в состав полевого прибора входит преобразователь; беспроводный трансивер; вывод питания для соединения полевого прибора с шиной питания всего предприятия; вывод заземления для заземления полевого прибора; и внутренняя схема питания, подключенная к выводу питания, и вывод заземления для подачи электропитания на преобразователь и беспроводный трансивер; при этом шина питания всего предприятия, не связанная с центром управления/контроля, не включает и отделена от любого канала передачи сигнала к или от полевых приборов.
21. Полевой прибор по п.20, отличающийся тем, что шина питания всего предприятия является единственным проводом под напряжением, отличным от нуля, и вывод питания может быть присоединен к единственному проводу.
22. Полевой прибор по п.20, отличающийся тем, что полевой прибор может непосредственно подключаться к земле через вывод заземления.
23. Полевой прибор, в состав которого входит корпус; схема, расположенная внутри корпуса, при этом в состав схемы входит беспроводный трансивер для беспроводной связи с центром управления/контроля; преобразователь; и электрический вывод, который может подсоединяться к шине питания всего предприятия, для подачи электропитания на беспроводный трансивер и преобразователь от шины питания всего предприятия, при этом шина питания всего предприятия, не связанная с центром управления/контроля, не включает и отделена от любого канала передачи сигнала между центром управления/контроля и полевыми приборами.
24. Полевой прибор по п.23, отличающаяся тем, что шина питания всего предприятия является контуром переменного или постоянного тока.
25. Полевой прибор по п.24, в состав которого также входит вывод заземления для заземления схемы.
26. Полевой прибор для использования внутри промышленного предприятия, имеющего шину питания всего предприятия, при этом в состав полевого прибора входит преобразователь и/или исполнительный механизм, беспроводный трансивер и схема питания, которая может подсоединяться к шине питания всего предприятия, для подачи электропитания на преобразователь и/или выключатель и беспроводный трансивер, при этом шина питания всего предприятия, не связанная с центром управления/контроля, не включает и отделена от любого канала передачи сигнала к или от полевых приборов.
27. Полевой прибор по п.26, отличающийся тем, что схема питания может быть подключена к стандартному электрическому выводу шины питания всего предприятия.
28. Полевой прибор по п.26, отличающийся тем, что полевой прибор подключен к сети без использования проводов.
29. Распределенная система управления и/или контроля, в состав которой входит центр управления/контроля; множество полевых приборов, не имеющих постоянной линии связи с центром управления/контроля и друг с другом, при этом каждый из множества полевых приборов осуществляет беспроводную связь с центром управления/контроля через самоорганизующуюся беспроводную сеть, в состав каждого полевого прибора входит преобразователь, беспроводный трансивер для беспроводной связи; и шина общего питания для подачи электропитания на каждый полевой прибор, при этом шина питания, не связанная с центром управления/контроля, не включает и отделена от любого канала передачи сигнала между центром управления/контроля и полевыми приборами.
30. Распределенная система по п.29, отличающаяся тем, что в состав каждого полевого прибора также входит сеть электропитания для контроля за подачей питания от шины питания на преобразователь и к беспроводному трансиверу внутри полевого прибора.
31. Распределенная система по п.29, отличающаяся тем, что каждая шина питания является единственным проводом под напряжением.
32. Распределенная система по п.29, отличающаяся тем, что часть множества полевых приборов устанавливается в непосредственной близости друг к другу в группе, при этом в состав системы также входит сеть электропитания для контроля за подачей питания в группу полевых приборов.
33. Распределенная система по п.32, отличающаяся тем, что в состав сети электропитания также входит контур заземления, подключенный к земле для заземления каждого полевого прибора из группы полевых приборов.
34. Распределенная система по п.32, отличающаяся тем, что каждый полевой прибор заземлен индивидуально.
РИСУНКИ
|
|