|
(21), (22) Заявка: 2007136793/28, 06.03.2006
(24) Дата начала отсчета срока действия патента:
06.03.2006
(30) Конвенционный приоритет:
04.03.2005 JP 2005-060317 30.11.2005 JP 2005-345485
(43) Дата публикации заявки: 10.04.2009
(46) Опубликовано: 27.08.2010
(56) Список документов, цитированных в отчете о поиске:
ЕР 1437632 А1, 14.07.2004. JP 2004170747 A, 17.06.2004. ЕР 0670530 A2, 06.09.1995. JP 6035321 А, 10.02.1994. US 5797073 А, 18.08.1998. US 2004208668 А, 21.10.2004. RU 2057028 А, 27.03.1996.
(85) Дата перевода заявки PCT на национальную фазу:
04.10.2007
(86) Заявка PCT:
JP 2006/304819 20060306
(87) Публикация PCT:
WO 2006/093361 20060908
Адрес для переписки:
129090, Москва, ул.Б.Спасская, 25, стр.3, ООО “Юридическая фирма Городисский и Партнеры”, пат.пов. С.А.Дорофееву
|
(72) Автор(ы):
НАГАСИМА Тосиаки (JP), МУРАКАМИ Кацуя (JP), ОКИНО Аятомо (JP)
(73) Патентообладатель(и):
КЭНОН КАБУСИКИ КАЙСЯ (JP)
|
(54) КОНТЕЙНЕР ПОДАЧИ ПРОЯВИТЕЛЯ И УСТРОЙСТВО ПРИЕМА ПРОЯВИТЕЛЯ
(57) Реферат:
Контейнер подачи проявителя, допускающий установку с возможностью съема в устройство приема проявителя. При этом контейнер подачи проявителя, установленный в устройство приема проявителя, приводится в положение готовности оператором, поворачивающим контейнер подачи проявителя в направлении приведения в готовность. Заявленный контейнер содержит вмещающий участок для вмещения проявителя; вращающийся выпускной элемент для выпуска проявителя из вмещающего участка; и элемент приводной передачи для зацепления с приводным зубчатым колесом, обеспеченным в устройстве приема проявителя для передачи приводного усилия на выпускной элемент. Причем элемент приводной передачи обращается в положение, в котором элемент приводной передачи можно вводить в зацепление с приводным зубчатым колесом, поворотом контейнера подачи проявителя в положение готовности при операции поворота оператором. Элемент приводной передачи нагружается для поворота контейнера подачи проявителя, размещенного в положении готовности, в положение выпуска проявителя в направлении приведения в готовность, когда элемент приводной передачи воспринимает приводное усилие. Технический результат – уменьшение износа приводного зубчатого колеса и элемента приводной передачи. 4 н. и 29 з.п. ф-лы, 33 ил.
ОБЛАСТЬ ТЕХНИКИ, К КОТОРОЙ ОТНОСИТСЯ ИЗОБРЕТЕНИЕ
Настоящее изобретение относится к контейнеру подачи проявителя для подачи проявителя и устройству приема проявителя для приема проявителя из контейнера подачи проявителя. Подобное устройство приема проявителя можно применять на копировальном аппарате, факсе, принтере или других устройствах формирования изображения и в блоке формирования изображения, устанавливаемом с возможностью съема в устройство формирования изображения.
ИЗВЕСТНЫЙ УРОВЕНЬ ТЕХНИКИ
Известно, что тонер в форме тонкодисперсного порошка используют как проявитель для формирования изображения в устройствах формирования изображения, например электрографическом копировальном аппарате, принтере и т.п. Известно также, что тонер подводится из контейнера подачи тонера, приведенного в готовность с возможностью смены, в устройстве формирования изображения, при расходе тонера в устройстве формирования изображения.
Поскольку тонер представляет собой очень тонкодисперсный порошок, тонер может рассыпаться при неправильном манипулировании во время операции обеспечения подачи тонера. По данной причине предложено и реализовано решение по поддержке контейнера подачи тонера в состоянии установки в устройство формирования изображения, с постепенным выпуском тонера через небольшое отверстие.
В таком традиционном контейнере подачи тонера предложена конструкция, в которой зубчатое колесо для приведения в движение перемешивающего и подающего тонер элемента, обеспеченного в контейнере подачи тонера, воспринимает приводное усилие через кинематическую связь от зубчатого колеса, обеспеченного на стороне устройства формирования изображения.
Например, в выложенной заявке на патент Японии Hei 3-288875 предложен контейнер подачи тонера в форме двойного цилиндра, содержащего внутренний цилиндр и внешний цилиндр, в котором элемент перемешивания расположен во внутреннем цилиндре, и наружная часть снабжена зубчатым колесом, приводящим элемент перемешивания. Когда такой контейнер подачи тонера вставляют в основной компоновочный узел устройства формирования изображения в продольном направлении упомянутого контейнера, зубчатое колесо, обеспеченное во внутреннем цилиндре, зацепляется с зубчатым колесом, обеспеченным на стороне основного компоновочного узла устройства формирования изображения. После того как зацепление создано, поворачивают только внешний цилиндр на угол около 90°, вследствие чего отверстия внешнего цилиндра и внутреннего цилиндра совмещаются друг с другом и также совмещаются с отверстием, обеспеченным на стороне основного компоновочного узла устройства формирования изображения, что предоставляет возможность подачи или подпитки тонера.
Однако в таком традиционном примере, когда оператор вставляет контейнер подачи тонера в устройство формирования изображения в продольном направлении контейнера подачи тонера, зубья зубчатого колеса в контейнере подачи тонера и зубья зубчатого колеса на стороне устройства формирования изображения могут упираться друг в друга. Если это случается, то возможно нанесение ущерба долговечности зубчатых колес или, в худшем случае, зубчатое колесо или зубчатые колеса могут поломаться. В частности, зубчатое колесо на стороне устройства формирования изображения неоднократно вмещает зубчатое колесо контейнера подачи тонера каждый раз, когда контейнер подачи тонера заменяют или переустанавливают, и поэтому проблема упора зубьев имеет большое значение.
Данная проблема может привести к неправильной подаче тонера и неправильному функционированию, что потребует прерывания формирования изображения.
СУЩНОСТЬ ИЗОБРЕТЕНИЯ
Соответственно, основной целью настоящего изобретения является создание контейнера подачи проявителя, с которым можно уменьшить износ элемента приводной передачи.
Другой целью настоящего изобретения является создание контейнера подачи проявителя, который может способствовать уменьшению износа приводного зубчатого колеса устройства приема проявителя.
Дополнительной целью настоящего изобретения является создание контейнера подачи проявителя, который может правильно подавать проявитель.
Дополнительной целью настоящего изобретения является создание устройства приема проявителя, с которым можно уменьшить износ приводного зубчатого колеса и элемента приводной передачи.
В соответствии с аспектом настоящего изобретения предлагается контейнер подачи проявителя, допускающий установку с возможностью съема в устройство приема проявителя, при этом контейнер подачи проявителя, установленный в упомянутое устройство приема проявителя, приводится в положение готовности оператором, поворачивающим упомянутый контейнер подачи проявителя в направлении приведения в готовность, причем упомянутый контейнер подачи проявителя содержит вмещающий участок для вмещения проявителя; вращающийся выпускной элемент для выпуска проявителя из упомянутого вмещающего участка; и элемент приводной передачи для зацепления с приводным зубчатым колесом, обеспеченным в упомянутом устройстве приема проявителя для передачи приводного усилия на упомянутый выпускной элемент, причем упомянутый элемент приводной передачи обращается в положение, в котором упомянутый элемент приводной передачи можно вводить в зацепление с приводным зубчатым колесом, поворотом упомянутого контейнера подачи проявителя в положение готовности при операции поворота оператором; при этом упомянутый элемент приводной передачи нагружается для поворота упомянутого контейнера подачи проявителя, размещенного в положении готовности, в положение выпуска проявителя в направлении приведения в готовность, когда упомянутый элемент приводной передачи воспринимает приводное усилие.
В соответствии с аспектом настоящего изобретения предлагается контейнер подачи проявителя, допускающий установку с возможностью съема в устройство приема проявителя, при этом контейнер подачи проявителя, установленный в упомянутое устройство приема проявителя, приводится в положение готовности оператором, поворачивающим упомянутый контейнер подачи проявителя в направлении приведения в готовность, причем упомянутый контейнер подачи проявителя содержит: вмещающий участок для вмещения проявителя; вращающийся выпускной элемент для выпуска проявителя из упомянутого вмещающего участка; и элемент приводной передачи для зацепления с приводным зубчатым колесом, обеспеченным в упомянутом устройстве приема проявителя для передачи приводного усилия на упомянутый выпускной элемент, причем упомянутый элемент приводной передачи обращается в положение, в котором упомянутый элемент приводной передачи можно вводить в зацепление с приводным зубчатым колесом, поворотом упомянутого контейнера подачи проявителя в положение готовности при операции поворота оператором; средство воздействия для принуждения упомянутого контейнера подачи проявителя, размещенного в положении готовности, к повороту к положению выпуска проявителя в направлении приведения в готовность.
В соответствии с дополнительным аспектом настоящего изобретения предлагается контейнер подачи проявителя, допускающий установку с возможностью съема в устройство приема проявителя, при этом контейнер подачи проявителя, установленный в упомянутое устройство приема проявителя, приводится в положение готовности оператором, поворачивающим упомянутый контейнер подачи проявителя в направлении приведения в готовность, причем упомянутый контейнер подачи проявителя содержит цилиндрический участок для вмещения проявителя; вращающийся выпускной элемент для выпуска проявителя из упомянутого цилиндрического участка; и элемент приводной передачи для зацепления с приводным зубчатым колесом, обеспеченным в упомянутом устройстве приема проявителя для передачи приводного усилия на упомянутый выпускной элемент; регулирующий элемент для регулирования установочной ориентации упомянутого контейнера подачи проявителя относительно упомянутого устройства приема проявителя так, чтобы предотвращать зацепление между упомянутым элементом приводной передачи и упомянутым приводным зубчатым колесом; и при этом упомянутый элемент приводной передачи располагается так, что при операции поворота упомянутого контейнера подачи проявителя к положению готовности он обращается вокруг центра упомянутого цилиндрического участка.
В соответствии с дополнительным аспектом настоящего изобретения предлагается контейнер подачи проявителя, допускающий установку с возможностью съема в устройство приема проявителя, при этом упомянутый контейнер подачи проявителя содержит: вмещающий участок для вмещения проявителя; вращающийся выпускной элемент для выпуска проявителя из упомянутого вмещающего участка и множество элементов зацепления, которые находятся в зацеплении между собой, для передачи вращательного усилия от приводного зубчатого колеса, обеспеченного в упомянутом устройстве приема проявителя, к упомянутому выпускному элементу.
В соответствии с дополнительным аспектом настоящего изобретения предлагается устройство приема проявителя для приема проявителя из контейнера подачи проявителя, который содержит цилиндрический участок для вмещения проявителя, вращающийся выпускной элемент для выпуска проявителя из упомянутого цилиндрического участка и элемент приводной передачи для передачи вращательного усилия на упомянутый выпускной элемент, при этом упомянутое устройство приема проявителя содержит:
установочный участок для установки с возможностью съема упомянутого контейнера подачи проявителя, причем упомянутый установочный участок допускает поворот упомянутого контейнера подачи проявителя вокруг центра упомянутого цилиндрического участка; приводное зубчатое колесо, допускающее зацепление с упомянутым элементом приводной передачи; регулирующий элемент для регулирования установочной ориентации упомянутого контейнера подачи проявителя относительно упомянутого установочного участка так, чтобы предотвращать зацепление между упомянутым элементом приводной передачи и упомянутым приводным зубчатым колесом; и при этом упомянутый элемент приводной передачи расположен так, что при повороте упомянутого контейнера подачи проявителя упомянутый элемент приводной передачи входит в зацепление с упомянутым приводным зубчатым колесом.
Вышеописанные и другие цели, признаки и преимущества настоящего изобретения очевидны из рассмотрения нижеследующего описания предпочтительных вариантов осуществления настоящего изобретения, взятого вместе с прилагаемыми чертежами.
КРАТКОЕ ОПИСАНИЕ ЧЕРТЕЖЕЙ
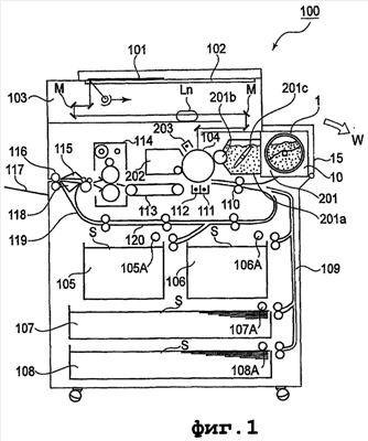
Фиг.1 – вид в разрезе, поясняющий общую схему расположения устройства формирования изображения.
Фиг.2 – вид с частичным разрезом проявочного устройства.
Фиг.3 – изображение контейнера подачи тонера, где (a) – вид в перспективе упомянутого контейнера и (b) – вид сбоку упомянутого контейнера.
Фиг.4 – изображение конструкции подающего элемента в контейнере подачи тонера.
Фиг.5 – изображение устройства приема тонера, где (a) – вид в перспективе упомянутого устройства при плотном закрытии отверстия приема тонера и (b) – вид в перспективе упомянутого устройства при вскрытии отверстия приема тонера.
Фиг.6 – изображение контейнера подачи тонера, имеющего нецилиндрическую форму, где (a) – вид в перспективе упомянутого контейнера и (b) – вид в разрезе упомянутого контейнера.
Фиг.7 – изображение второго зубчатого колеса 6, где (a) – вид в перспективе упомянутого зубчатого колеса, (b) – вид в разрезе опорной конструкции упомянутого зубчатого колеса.
Фиг.8 – изображение фиксирующей конструкции заслонки проявочного устройства, где (a) – вид в перспективе упомянутой конструкции в состоянии фиксации и (b) – вид в перспективе упомянутой конструкции в состоянии деблокировки.
Фиг.9 – вид в перспективе, поясняющий взаимосвязь между фиксирующим элементом для заслонки проявочного устройства и крышкой для смены.
Фиг.10 – изображение контейнера подачи тонера, когда упомянутый контейнер находится в положении установки, где (a) – вид в перспективе упомянутого контейнера, (b)-(d) – виды сбоку в разрезе упомянутого контейнера.
Фиг.11 – изображение контейнера подачи тонера, когда упомянутый контейнер находится в положении готовности, где (a) – вид в перспективе и (b)-(d) – виды сбоку в разрезе упомянутого контейнера.
Фиг.12 – изображение контейнера подачи тонера, когда упомянутый контейнер находится в положении подачи, где (a) – вид в перспективе упомянутого контейнера и (b)-(d) – виды сбоку в разрезе.
Фиг.13 – изображение теоретической схемы, поясняющей принцип автоматического вращения контейнера подачи тонера.
Фиг.14 – изображение контейнера подачи тонера, где (a) – вид в перспективе упомянутого контейнера и (b) – вид сбоку упомянутого контейнера.
Фиг.15 – вид в перспективе контейнера подачи тонера, который находится в процессе установки в устройство приема тонера.
Фиг.16 – вид в разрезе устройства приема тонера.
Фиг.17 – изображение защелкивающегося участка контейнера подачи тонера, где (a) – вид в разрезе, когда защелкивающийся участок находится в незацепленном состоянии, и (b) – вид в разрезе, когда защелкивающийся участок находится в зацепленном состоянии.
Фиг.18 – изображение контейнера подачи тонера, имеющего нецилиндрическую форму, где (a) – вид в перспективе упомянутого контейнера и (b) – вид в разрезе упомянутого контейнера.
Фиг.19 – виды сбоку в разрезе ((a)-(c)) контейнера подачи тонера, помещенного в положение установки.
Фиг.20 – виды сбоку в разрезе ((a)-(c)) контейнера подачи тонера, помещенного в положение готовности.
Фиг.21 – виды сбоку в разрезе ((a)-(c)) контейнера подачи тонера, помещенного в положение подачи.
Фиг.22 – изображение контейнера подачи тонера, имеющего двойную цилиндрическую конструкцию, где (a) – вид в перспективе и (b) – вид в перспективе внутреннего цилиндра.
Фиг.23 – вид в разрезе контейнера подачи тонера (a) двойного цилиндрического типа, помещенного в положение установки, вид в разрезе (b) упомянутого контейнера, помещенного в положение готовности, и вид в разрезе (c) упомянутого контейнера, помещенного в положение подачи.
Фиг.24 – изображение контейнера подачи тонера, содержащего ступенчатое зубчатое колесо, где (a) – вид в перспективе упомянутого контейнера и (b) – вид в перспективе ступенчатого зубчатого колеса.
Фиг.25 – вид в перспективе, представляющий контейнер подачи тонера, снабженный ремнем приводной передачи.
Фиг.26 – вид в перспективе (a) и вид в разрезе (b) контейнера подачи тонера, в котором размеры зубчатых колес приводной передачи различаются.
Фиг.27 – вид в разрезе контейнера подачи тонера, снабженного четырьмя зубчатыми колесами приводной передачи.
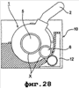
Фиг.28 – вид в разрезе контейнера подачи тонера, снабженного фрикционным колесом.
Фиг.29 – вид в разрезе контейнера подачи тонера, в котором размеры зубчатых колес приводной передачи различаются и различаются их положения.
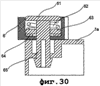
Фиг.30 – вид в разрезе опорной конструкции для второго зубчатого колеса 6.
Фиг.31 – вид в перспективе контейнера подачи тонера, на котором большая часть зубчатых колес приводной передачи закрыта захватным элементом.
Фиг.32 – вид в перспективе контейнера подачи тонера в сравнительном примере.
Фиг.33 – вид сбоку в разрезе средства передачи приводного усилия контейнера подачи тонера в сравнительном примере после того, как упомянутый контейнер установлен в устройство приема тонера.
ОПИСАНИЕ ПРЕДПОЧТИТЕЛЬНЫХ ВАРИАНТОВ ОСУЩЕСТВЛЕНИЯ ИЗОБРЕТЕНИЯ
Ниже описаны предпочтительные варианты осуществления настоящего изобретения в связи с прилагаемыми чертежами.
Вариант осуществления 1
Устройство формирования изображения
Контейнер подачи тонера согласно варианту осуществления 1 (так называемый картридж с тонером) загружен в устройство приема тонера устройства формирования изображения, которое представляет собой копировальный аппарат электрофотографического типа в настоящем варианте осуществления.
На Фиг.1 изображен подобный копировальный аппарат. На этой фигуре позицией 100 обозначен основной компоновочный узел электрофотографического копировального аппарата. Позицией 101 обозначен оригинал, помещенный на несущий стеклянный стол 102 для оригинала. Световое изображение, характеризующее информацию об изображении, проецируется на элемент переноса изображения в форме электрофотографического фоточувствительного барабана 104 зеркалами M и объективом Ln оптического участка 103. Позициями 105-108 обозначены кассеты для листов. Подходящий лист выбирается по информации о размере листов в кассетах 105-108, в соответствии с размером листа оригинала 101, или по информации, вводимой пользователем на участке управления, и подходящий лист захватывается из одной из кассет 105-108. Регистрирующий материал не ограничен листом, а может быть листом для диаскопической проекции (OHP) или чем-то подобным.
Один лист S, захваченный и выданный подающим и разделительным устройством 105A-108A, подается к регистрационному ролику 110 через подающий участок 109 и подается синхронно по времени с операцией сканирования на оптическом участке 103 и вращением фоточувствительного барабана 104. Позициями 111, 112 обозначены разрядник переноса и разрядник отделения. Порошковое изображение, сформированное на фоточувствительном барабане 104, переносится на лист S разрядником 111 переноса. Разрядник 112 отделения служит для отделения листа S, содержащего порошковое изображение, перенесенное на него с фоточувствительного барабана 104.
Затем лист S, поданный подающим участком 113, подвергается воздействию нагрева и давления на участке 114 закрепления, посредством чего порошковое изображение закрепляется на листе. В случае простой копии (односторонней копии) лист S выгружается на выводной лоток 117 выводными роликами 116 через выводной/реверсивный участок 115. В случае режима суперпозиционной копии лист S подается обратно к регистрационному ролику 110 через подающие участки 119, 120 реверсной подачи посредством управления створкой 118 выводного/реверсивного участка 115, и затем лист выводится в выводной лоток 117 по пути, по которому лист подается в случае односторонней копии.
В случае двухсторонней копии лист S частично выводится один раз выводными роликами 116 по выводному/реверсивному участку 115. Затем, после того как конечный край листа S проходит через створку 118 и пока лист S все еще зажат выводными роликами 116, выполняется управление створкой 118, и выводной ролик 116 одновременно вращается в противоположном направлении для подачи листа S обратно в устройство. После этого лист S подается к регистрационному ролику 110 через подающие участки 119, 120 реверсной подачи, и затем лист S выводится в выводной лоток 117 по тому же самому пути, как односторонняя копия.
В основном компоновочном узле устройства 100, вокруг фоточувствительного барабана 104, обеспечены средство обработки, содержащее проявочное устройство 201 (проявочное средство), участок 202 очистки (средство очистки), первичный электризатор 203 (электризующее средство) и т.п. Участок 202 очистки выполняет функцию удаления тонера, остающегося на фоточувствительном барабане 104. Первичный электризатор 203 выполняет функцию нанесения электрических зарядов на поверхность фоточувствительного барабана для создания равномерного потенциала при подготовке формирования электростатического изображения на фоточувствительном барабане 104.
Проявочное устройство
На Фиг.2 показаны проявочное устройство 201 и фоточувствительный барабан 104.
Проявочное устройство 201 выполняет функцию проявления тонером скрытого электростатического изображения, сформированного на фоточувствительном барабане 104 посредством оптического участка 103 и соответствующего информации оригинала 101. Чтобы подавать тонер в проявочное устройство 201, обеспечен контейнер 1 подачи тонера, который устанавливается с возможностью съема пользователем.
Проявочное устройство 201 содержит устройство 10 приема тонера, в которое устанавливают с возможностью разъема контейнер 1 подачи тонера, и проявочное устройство 201a. Проявочное устройство 201a содержит проявочный валик 201b и подающий элемент 201c. Тонер, подаваемый из контейнера 1 подачи тонера, подается к проявочному валику 201b подающим элементом 201c и подается на фоточувствительный барабан 104 проявочным валиком 201b. Как показано на Фиг.2, обеспечены проявочный ракель 201d, который является регулирующим элементом для регулирования величины порошкового покрытия на проявочном валике 201b, и пластинка 201e, препятствующая выдуванию тонера (элемент, препятствующий высыпанию тонера), находящаяся в контакте с проявочным валиком для предотвращения высыпания тонера через зазор между проявочным устройством 201a и проявочным валиком 201b.
Как показано на Фиг.1, крышка 15, которая является составной частью внешнего корпуса, обеспечена для смены контейнера подачи тонера. Когда пользователь устанавливает контейнер 1 подачи тонера в основной компоновочный узел устройства 100 или когда пользователь извлекает контейнер 1 подачи тонера из основного компоновочного узла устройства 100, крышку 15 открывают поворотом в направлении по стрелке W на Фиг.1.
Контейнер подачи тонера
Ниже, со ссылкой на Фиг.3, описана конструкция контейнера 1 подачи тонера по настоящему варианту осуществления. На Фиг.3 в части (a) контейнер подачи тонера показан на виде в перспективе и в части (b) представлен вид снаружи заправочного отверстия контейнера подачи тонера.
Корпус 1a контейнера, выполняющий функцию вмещения тонера (вмещающий участок), является, в общем, цилиндрическим. На окружной поверхности корпуса 1a контейнера выполнено отверстие 1b для выпуска тонера в форме щели, продолжающейся в продольном направлении контейнера 1.
Отверстие 1b для выпуска тонера, как описано в дальнейшем, направлено по горизонтали, когда контейнер подачи тонера установлен в основной компоновочный узел устройства формирования изображения и повернут на заданный угол, то есть когда завершен поворот контейнера подачи тонера в положение подачи тонера, в котором возможна подача тонера.
Корпус 1a контейнера должен обладать некоторой жесткостью из соображений защиты тонера внутри упомянутого корпуса во время транспортировки и предотвращения высыпания тонера из него, и поэтому упомянутый корпус формуют литьем под давлением из полистиролового материала.
Внешняя поверхность корпуса 1a контейнера снабжена ручкой 2 (захватным элементом) для облегчения операции, выполняемой пользователем (оператором), по обеспечению подачи из контейнера 1 подачи тонера в приемник тонера. Ручка 2 должна обладать достаточной жесткостью из тех же соображений и поэтому также формуется литьем под давлением из того же материала, что и корпус 1a контейнера.
Ручка 2 может крепиться к корпусу 1a контейнера посредством механического сопряжения/винтами, приклеиванием, сваркой или любым другим методом, если он обеспечивает достаточную прочность, чтобы выдерживать усилие, прилагаемое при операции обеспечения подачи. Из соображений прочности и производственных затрат целесообразно формование корпуса 1a контейнера и ручки 2 в одно целое.
Торец корпуса 1a контейнера, противоположный торцу, на котором обеспечено первое зубчатое колесо 5, содержит сформированное заправочное отверстие 1c, плотно закрываемое колпачком (уплотнительным элементом) после заправки тонера в корпус контейнера. Подробное описание первого зубчатого колеса 5 приведено в дальнейшем.
Одна торцевая поверхность корпуса 1a контейнера снабжена регулируемым предохранительным элементом 100 (подлежащим регулировке элементом), как показано на Фиг.3, для регулирования установочной ориентации (угла) контейнера подачи тонера относительно устройства приема тонера. С другой стороны, устройство приема тонера снабжено регулирующей выемкой 10f (регулирующим элементом) для направления регулируемого предохранительного элемента, как показано на Фиг.5, для регулирования установочной ориентации контейнера подачи тонера. Выемка выполнена так, что не мешает предохранительному элементу, когда контейнер подачи тонера устанавливают в устройство приема тонера надлежащим образом.
Подающий элемент в контейнере подачи тонера
Ниже, со ссылкой на Фиг.4, приведено описание конструкции подающего элемента. На Фиг.4 представлен вид сбоку внутреннего устройства контейнера подачи тонера.
В корпусе 1a контейнера обеспечен подающий элемент 4 (выпускной элемент), чтобы подавать тонер из нижней части в верхнюю часть к отверстию 1b для выпуска тонера при одновременном перемешивании тонера в контейнере вращением относительно корпуса 1a контейнера.
Как показано на Фиг.4, подающий элемент 4 в основном содержит ось 4a перемешивания и лопасти 4b перемешивания. Один продольный конец оси 4a перемешивания опирается с возможностью вращения на корпус 1a контейнера так, что он не может перемещаться в аксиальном направлении оси 4a перемешивания. С другой стороны, другой продольный конец оси 4a перемешивания соосно соединен с первым зубчатым колесом 5, которое подробно описано в дальнейшем. В частности, они соединены между собой зацеплением осевого участка первого зубчатого колеса 5 с другим концом оси 4a перемешивания в корпусе контейнера.
Вокруг осевого участка обеспечен уплотнительный элемент для предотвращения высыпания тонера наружу из контейнера около осевого участка первого зубчатого колеса 5. Первое зубчатое колесо 5 и ось 4a перемешивания могут соединяться между собой не напрямую, но могут иметь соосное соединение через другой элемент или другие элементы.
Ось 4a перемешивания должна обладать достаточной жесткостью для диспергирования тонера, когда тонер находится в слипшемся состоянии, и для его подачи и выпуска, и поэтому в настоящем варианте осуществления упомянутая ось выполнена из полистирольного и полиацетального материала, который является желательным.
Лопасти 4b перемешивания закреплены на оси 4a перемешивания и при вращении оси 4a перемешивания тонер в контейнере диспергируется, перемешивается и подается к отверстию 1b для выпуска тонера. Чтобы уменьшить количество тонера, остающегося в контейнере подачи тонера, лопасть 4b перемешивания скользит по внутренней поверхности контейнера. Другими словами, длина удлиненных концов лопастей перемешивания от оси перемешивания выбирается с учетом внутреннего диаметра контейнера.
Как показано на Фиг.4, лопасти перемешивания имеют L-образные участки, которые снабжены наклоненными участками X, которые обеспечивают выполнение функции подачи тонера в продольном направлении контейнера. В частности, наклоненный участок выполняет функцию подачи тонера, имеющегося около торца контейнера, к отверстию 1b для выпуска тонера, которое расположено на центральном участке по длине. Лопасти перемешивания выполнены из листового полиэфира.
Конструкции и материалы подающего элемента 4 не ограничены вышеописанной конструкцией, но могут быть любыми, если допускают перемешивание и подачу тонера при вращении. Например, можно изменить материал и/или конфигурацию лопастей перемешивания, или можно использовать другой подающий механизм.
Заслонка контейнера подачи тонера
Как показано на Фиг.3(a), заслонка 3 контейнера для открывания и закрывания отверстия 1b для выпуска тонера имеет такую кривизну, что упомянутая заслонка продолжается по внешней поверхности контейнера 1 подачи тонера. Заслонка 3 контейнера находится в зацеплении с двумя направляющими участками 1d, обеспеченными на противоположных по длине концах отверстия 1b для выпуска тонера. Направляющие участки 1d выполняют функцию направления сдвигового перемещения заслонки контейнера вдоль внешней поверхности контейнера, когда отверстие 1b для выпуска тонера должно открываться и закрываться. Направляющий участок 1d снабжен стопорным участком 1d’ для определения положения закрывания заслонки 3 контейнера.
Заслонка контейнера имеет концевой участок, передний относительно направления поворота для вскрытия, и передний концевой участок упирается в стопорный участок, обеспеченный в устройстве приема тонера, во время операции приведения в готовность контейнера подачи тонера, что предотвращает дальнейший поворот одним целым контейнера подачи тонера и заслонки контейнера. После упора в стопор контейнер подачи тонера поворачивается относительно заслонки контейнера, которая стопорится для открывания отверстия 1b для выпуска тонера, чем вскрывается контейнер подачи тонера.
Кроме того, во время операции извлечения контейнера подачи тонера, которая описана в дальнейшем, концевой участок заслонки контейнера, передний относительно направления закрывания, упирается в стопорный участок устройства приема тонера, что предотвращает дальнейший поворот одним целым контейнера подачи тонера и заслонки контейнера. Поэтому при повороте контейнера подачи тонера относительно заслонки контейнера, которая застопорена, отверстие для выпуска тонера перемещается обратно к положению, в котором упомянутое отверстие закрывается заслонкой контейнера. Таким образом, отверстие для выпуска тонера снова плотно закрывается.
Чтобы предотвратить высыпание тонера, предпочтительно обеспечивать уплотнительный элемент на поверхности заслонки 3 контейнера, находящейся напротив отверстия 1b для выпуска тонера, или можно снабдить уплотнительным элементом окрестность краев отверстия 1b для выпуска тонера корпуса 1a контейнера. Упомянутые уплотнительные элементы можно обеспечивать на заслонке 3 контейнера и корпусе 1a контейнера соответственно. Такой уплотнительный элемент сжат до заданной степени сжатия между заслонкой контейнера и внешней поверхностью корпуса контейнера.
В настоящем варианте осуществления применена конструкция, использующая заслонку 3 контейнера, способную к закрыванию и открыванию отверстия 1b для выпуска тонера. Заслонка 3 контейнера не незаменима, и в альтернативной конструкции, например, на участке корпуса контейнера вокруг края отверстия для выпуска тонера можно приваривать герметизирующую пленку из полимерного материала для герметичного уплотнения отверстия и во время подачи тонера отрывать герметизирующую пленку.
В подобной альтернативной конструкции отверстие 1b для выпуска тонера невозможно снова плотно закрыть, когда контейнер заменяют по окончании подачи тонера, и поэтому существует вероятность рассыпания тонера. По этой причине желательно обеспечивать заслонку 3 контейнера, как в настоящем варианте осуществления, и тогда отверстие для выпуска тонера можно снова плотно закрыть.
В случае, когда существует вероятность, что произойдет высыпание тонера наружу во время транспортировки, до операции подачи тонера, из-за конфигурации выпускного отверстия контейнера и/или из-за количества тонера, содержащегося в контейнере, можно применить как герметизирующую пленку, так и заслонку контейнера для дополнительного обеспечения качества уплотнения. В таком случае желательно, чтобы часть герметизирующей пленки была наклеена на заслонку контейнера и герметизирующая пленка снималась вскрывающим перемещением заслонки контейнера.
Механизм взаимодействия контейнера подачи тонера с заслонкой проявочного устройства
На окружной поверхности корпуса 1a контейнера оборудован открывающий выступ 1e (участок взаимодействия (участок зацепления)) и уплотняющий выступ 1f (участок взаимодействия (участок зацепления)) для открывания и закрывания заслонки 11 проявочного устройства (Фиг.5) операцией поворота контейнера подачи тонера.
В частности, во время операции приведения в готовность контейнера 1 подачи тонера, которая подробно описана в дальнейшем, открывающий выступ 1e опускает заслонку 11 проявочного устройства для вскрытия или открывания отверстия 10b приема тонера (Фиг.5). Во время операции извлечения контейнера подачи тонера, которая подробно описана в дальнейшем, уплотняющий выступ 1а поднимает заслонку 11 проявочного устройства для повторного уплотнения или закрывания отверстия 10b приема тонера. Участки заслонки 11 проявочного устройства, в которые упираются открывающий выступ 1e и уплотняющий выступ 1f, выполняют функцию взаимного увязывания поворота контейнера подачи тонера с операцией перемещения открывания и закрывания заслонки проявочного устройства.
Открывающий выступ 1e имеет относительное расположение спереди по ходу с точки зрения направления вскрывающего перемещения заслонки 11 проявочного устройства, когда контейнер 1 подачи тонера устанавливают в устройство 10 приема тонера (Фиг.5), и уплотняющий выступ 1f имеет относительное расположение сзади по ходу.
Средство приводной передачи контейнера подачи тонера
Ниже, со ссылкой на Фиг.3, следует описание конструкции средства приводной передачи контейнера подачи тонера, предназначенного для кинематической связи с приводным зубчатым колесом 12 (приводным элементом, Фиг.5), обеспеченным в устройстве 10 приема тонера, и для передачи вращательного приводного усилия от приводного зубчатого колеса 12 на подающий элемент 4.
В настоящем варианте осуществления средство приводной передачи содержит зубчатую передачу, содержащую смежные зубчатые колеса, и оси вращения зубчатых колес установлены с возможностью вращения непосредственно на торцевой поверхности контейнера подачи тонера.
Когда контейнер 1 подачи тонера установлен в устройство 10 приема тонера после выполненной пользователем операции (в положение установки) ((C) на Фиг.10), средство приводной передачи находится в положении, удаленном в направлении по окружности от приводного зубчатого колеса 12, и поэтому не находится в кинематической связи с приводным ведущим зубчатым колесом 12, в частности не сцеплено с ним. Контейнер подачи тонера в положении установки можно извлечь из устройства приема тонера.
При такой конструкции можно исключить прижим в упор приводного зубчатого колеса 12 и средства приводной передачи (второго зубчатого колеса 6, описание которого приведено в дальнейшем) контейнера подачи тонера одного в другое во время установки контейнера подачи тонера и поэтому можно избегнуть износа или повреждения, обусловленных упором.
Затем контейнер 1 подачи тонера поворачивают вручную на заданный угол в положение готовности ((C) на Фиг.11) из положения установки. В положении готовности средство приводной передачи и ведущее зубчатое колесо 12 находятся в кинематической связи или зацеплении между собой (в состоянии зацепления).
Как поясняется в дальнейшем, контейнер подачи тонера поворачивается автоматически из положения готовности в положение подачи, в котором допускается подача тонера, с использованием средства приводной передачи.
Средство приводной передачи в настоящем примере образовано первым зубчатым колесом 5 и вторым зубчатым колесом 6, расположенными на одной продольно торцевой поверхности корпуса 1a контейнера.
Как показано на Фиг.3, ось вращения первого зубчатого колеса 5 (реверсирующего элемента) установлена с возможностью вращения на торцевой поверхности корпуса контейнера и находится в соосном сцеплении с подающим элементом 4. Центр вращения первого зубчатого колеса 5, по существу, совмещен по оси с центром вращения контейнера подачи тонера, вокруг которого контейнер подачи тонера поворачивается на заданный угол ручкой 2, приводимой в движение пользователем во время операции приведения в готовность, из положения установки к положению готовности.
Как показано на Фиг.3, второе зубчатое колесо 6 (элемент приводной передачи, элемент, воспринимающий приводное усилие) имеет ось вращения, которая установлена с возможностью вращения на торцевой поверхности корпуса контейнера в положении, удаленном от центра вращения контейнера 1 подачи тонера (эксцентрическом положении) и находится в зубчатом зацеплении с первым зубчатым колесом 5. Следовательно, центр вращения второго зубчатого колеса 6 расположен эксцентрично относительно центра вращения контейнера подачи тонера.
Применение первого зубчатого колеса 5 и второго зубчатого колеса 6 достаточно, если они могут передавать достаточное приводное усилие от устройства 10 приема тонера, и в настоящем варианте осуществления упомянутые зубчатые колеса изготовлены из полиацетального полимерного материала методом литья под давлением. В настоящем варианте осуществления первое зубчатое колесо 5 имеет диаметр 40 мм и число его зубьев равно 40; второе зубчатое колесо имеет диаметр 20 мм и число его зубьев равно 20. Приводное зубчатое колесо 12 имеет диаметр 17 мм, и число его зубьев равно 17. Диаметры, модули и числа зубьев зубчатых колес выбирают так, чтобы приводная передача осуществлялась правильно, и приведенные значения не являются обязательными.
Вокруг упомянутого осевого участка корпуса 1a контейнера, который опирается с возможностью вращения на корпус 1a контейнера, установлено масляное уплотнение (уплотняющий элемент) для предотвращения высыпания тонера изнутри корпуса 1a контейнера. С другой стороны, поскольку второе зубчатое колесо 6 установлено с возможностью вращения во внешний корпусной элемент корпуса 1a контейнера, подобного масляного уплотнения не предусмотрено.
Поскольку второе зубчатое колесо 6 установлено в положении, удаленном от центра вращения контейнера 1 подачи тонера, то оно удалено от приводного зубчатого колеса 12 в окружном направлении, когда контейнер 1 подачи тонера находится в положении установки.
Второе зубчатое колесо 6 приводится в зубчатое зацепление с приводным зубчатым колесом 12, обеспеченным в устройстве 10 приема тонера, поворотом контейнера подачи тонера. Другими словами, когда контейнер 1 подачи тонера поворачивается в положение готовности при операции, выполняемой пользователем, создается зубчатое зацепление или кинематическая связь между вторым зубчатым колесом 6 и приводным зубчатым колесом 12 ((c) на Фиг.11).
В настоящем примере это достигается заданным позиционированием второго зубчатого колеса 6 на корпусе 1a контейнера в направлении поворота.
Затем, когда контейнер подачи тонера находится в положении подачи, второе зубчатое колесо 6 воспринимает вращательное усилие от приводного зубчатого колеса 12, посредством которого поворачивается первое зубчатое колесо 5, которое находится в кинематической связи со вторым зубчатым колесом 6. В результате подающий элемент 4 вращается относительно корпуса 1a контейнера, который, по существу, неповоротно установлен в положение готовности в устройстве приема тонера, и тем самым выпускает тонер. Во время операции подачи тонера второе зубчатое колесо 6 приводится во вращение в направлении B вращения (Фиг.12), которое является направлением вращения, идентичным направлению поворота контейнера 1 подачи тонера во время операции приведения в готовность, приводным зубчатым колесом 12, которое вращается в направлении C на Фиг.12.
В настоящем примере контейнер имеет, по существу, цилиндрическую конфигурацию, центр вращения подающего элемента является, по существу, совпадающим с центром поворота корпуса контейнера, и поэтому центр вращения первого зубчатого колеса 5, непосредственно соединенного с подающим элементом 4, также является, по существу, совпадающим с центром поворота корпуса 1a контейнера. Второе зубчатое колесо 6 имеет центр вращения, который отличается от центра вращения первого зубчатого колеса 5, чтобы при повороте контейнера 1 подачи тонера, совершить круговое движение или обращение вокруг центра поворота корпуса 1a контейнера так, что второе зубчатое колесо приводится в зацепление с приводным зубчатым колесом 12 устройства 10 приема тонера.
При этом второе зубчатое колесо 6 вращается относительно контейнера подачи тонера приводным усилием, воспринимаемым от приводного зубчатого колеса 12, на этапе подачи тонера, то есть оно вращается вокруг его оси вращения в настоящем варианте осуществления. Кроме того, второе зубчатое колесо 6 на этапе приведения в готовность контейнера подачи тонера поворачивается вместе с контейнером подачи тонера вокруг оси поворота контейнера подачи тонера приводным усилием, воспринимаемым от приводного зубчатого колеса 12.
Центр вращения подающего элемента может быть выполнен с отличием от центра поворота контейнера. Например, центр вращения подающего элемента может быть сдвинут к отверстию для выпуска тонера. В таком случае первое зубчатое колесо 5 установлено в положении, отличающемся от центра поворота корпуса контейнера, соответственно, в центре вращения подающего элемента, и аналогично вышеописанному примеру при повороте контейнера второе зубчатое колесо 6 совершает круговое движение или обращается вокруг центра поворота корпуса 1a контейнера для приведения в зацепление с приводным зубчатым колесом 12 устройства 10 приема тонера.
Когда центр вращения подающего элемента отличается от центра поворота корпуса контейнера, первое зубчатое колесо 5 может отсутствовать, то есть средство приводной передачи образовано вторым зубчатым колесом 6. В частности, второе зубчатое колесо 6 снабжено соосным подающим элементом 4 и осевой участок второго зубчатого колеса 6 и осевой участок подающего элемента 4 соединены между собой. В случае с такой конструкцией направление вращения подающего элемента 4 противоположно направлению в вышеописанном примере и тонер подается из верхней части к нижней части к отверстию для выпуска тонера, которое ориентировано вбок, в частности в направлении приблизительно на 3 часа на фигуре. То есть эффективность выпуска тонера снижается.
Тогда подающий элемент в данном случае предпочтительно имеет следующую конструкцию. Подающий элемент содержит пластину из очень жесткого полимерного материала, выполняющего функцию подъема тонера в контейнере при вращении подающего элемента, и множество направляющих выступов на каждой из сторон пластины из полимерного материала, при этом направляющие выступы выполняют функцию направления поднятого тонера к нижнему отверстию для выпуска тонера. При такой конструкции ось вращения обеспечена на каждом из противоположных по длине концов пластины из полимерного материала и один конец оси вращения непосредственно или непрямым образом соединен со вторым зубчатым колесом 6.
В случае с подобным подающим элементом, образованным пластиной из полимерного материала, в контейнере удерживается остаточное количество тонера (количество тонера, остающееся в конце срока эксплуатации контейнера с тонером). С этой точки зрения конструкция с использованием первого зубчатого колеса 5 и второго зубчатого колеса 6, как в настоящем варианте осуществления, является предпочтительной.
Другими словами, как описано в дальнейшем, направление вращения подающего элемента является противоположным направлению B на Фиг.10, с учетом эффективности подачи и выпуска тонера.
С другой стороны, как описано в дальнейшем, чтобы обеспечить автоматический поворот контейнера подачи тонера с использованием средства приводной передачи контейнера подачи тонера, желательно, чтобы направление вращения второго зубчатого колеса 6 было направлением B на Фиг.10 и направление вращения приводного зубчатого колеса 12 было противоположным направлению B.
В настоящем варианте осуществления, чтобы обеспечить двойную функцию (эффективность подачи и выпуска тонера и автоматический поворот контейнера подачи тонера), средство приводной передачи образовано первым зубчатым колесом 5 и вторым зубчатым колесом 6 (двумя зубчатыми колесами). Другими словами, первое зубчатое колесо 5 выполняет функцию механизма преобразования направления вращения для преобразования вращательного усилия, обеспечиваемого вторым зубчатым колесом 6, во вращательное усилие в направлении вращения подающего элемента.
Механизм преобразования направления вращения (реверсирующий механизм) не ограничен первым зубчатым колесом 5, а может быть следующим. Вместо первого зубчатого колеса 5 применяется комбинация из ремня приводной передачи и шкива (опорного элемента), который вращается соосно с подающим элементом (центр вращения которого совмещен с центром поворота контейнера подачи тонера). Шкив непосредственно или непрямым образом соединен с подающим элементом. Ось вращения второго зубчатого колеса 6 продолжена в продольном направлении контейнера (вперед от плоскости чертежа на Фиг.10, (c)), и между участком продолженной оси вращения и шкивом проведен вокруг них ремень приводной передачи в форме цифры «8».
В настоящем примере контейнер имеет цилиндрическую конфигурацию, но конфигурация контейнера не ограничена такой конфигурацией. Например, чтобы не допустить катания контейнера подачи тонера, когда его укладывают на стол или пол, контейнер подачи тонера может быть в сечении в форме буквы «D», как показано на Фиг.6. В подобном случае центр вращения контейнера подачи тонера является центром кривизны дуги вблизи отверстия для выпуска тонера и, по существу, совпадает с центрами поворота заслонок. При этом заслонки и т.п. могут перемещаться с высокой точностью, когда поворачивают контейнер.
Средство создания сопротивления вращению
Как показано на Фиг.7, осевой участок 6a второго зубчатого колеса 6 сцеплен с выступающим участком 1a’, обеспеченным на торцевой поверхности корпуса 1a контейнера. Второе зубчатое колесо 6 имеет форму чашки, в которой обеспечен кольцевой элемент 64 (элемент скольжения, упругий элемент) из силиконового каучука в качестве средства создания сопротивления вращению и сжат до заданной степени. В частности, кольцевой элемент 64 из силиконового каучука сжат между нажимным элементом 63 и нижней поверхностью чашки второго зубчатого колеса 6 пружиной (поджимным элементом). Нажимной элемент 63 закреплен на выступающем участке 1a’. Колпачковый элемент 61 (поджимной элемент) прикреплен к выступающему участку 1a’ так, что пружина 62 сжата между нажимным элементом 63 и колпачковым элементом 61.
При этом в настоящем варианте осуществления второе зубчатое колесо 6 имеет поверхностный контакт с кольцевым элементом 64, так что второе зубчатое колесо 6 не легко провернуть относительно корпуса 1a контейнера. Другими словами, отрегулировано достаточно большое сопротивление вращению второго зубчатого колеса 6 относительно корпуса 1a контейнера.
С другой стороны, первое зубчатое колесо 5 не снабжено подобным средством создания сопротивления вращению, и поэтому, когда в расчет принимается только первое зубчатое колесо 5, сопротивление вращению относительно корпуса 1a контейнера является достаточно слабым.
Первое зубчатое колесо 5 и второе зубчатое колесо 6 выполняют функцию передачи вращательного усилия на подающий элемент и поэтому не свободно вращаются относительно корпуса 1a контейнера благодаря созданию средства создания сопротивления вращению. Такое решение служит для обеспечения автоматического поворота контейнера подачи тонера, которое описано в дальнейшем.
Средство создания сопротивления вращению не ограничено вышеописанной конструкцией, но может иметь любую известную конструкцию. Например, вместо силиконового каучука можно применить уретановый каучук. Вместо силиконового каучука можно применить эластомерный полимерный материал. В альтернативном варианте средство создания сопротивления вращению может быть лопастью перемешивания, которое является достаточно жестким и длинным для обеспечения достаточного сопротивления скольжению относительно внутренней поверхности контейнера, против вращения. В дополнительном, альтернативном варианте уплотняющее свойство уплотняющего элемента, например масляного уплотнения, обеспечиваемого вокруг первого зубчатого колеса 5 для предотвращения высыпания тонера, можно усовершенствовать для выполнения также функции средства создания сопротивления вращению.
Положение, в котором обеспечено средство создания сопротивления вращению, может быть иным, чем второе зубчатое колесо 6. Средство создания сопротивления вращению может быть обеспечено при первом зубчатом колесе 5 или в подобном месте, если средство приводной передачи выполняет функцию торможения или задерживания его вращения относительно контейнера подачи тонера. Например, средство создания сопротивления вращению может быть обеспечено на участке (подшипнике) контейнера, служащем для опоры с возможностью вращения оси 4a перемешивания со стороны заправочного отверстия.
Специальная конструкция или положение средства создания сопротивления вращению не ограничены вышеописанными примерами, если обеспечивается автоматический поворот контейнера подачи тонера, который описан в дальнейшем.
Если сопротивление вращению, прилагаемое к первому зубчатому колесу 5 и второму зубчатому колесу 6 средством создания сопротивления вращению, является слишком сильным, то вращательный момент, требуемый от приводного электродвигателя, чтобы подавать и выпускать тонер посредством подающего элемента, является слишком большим. В настоящем варианте осуществления это также учитывается, и сопротивление вращению, прилагаемое к первому зубчатому колесу 5 и второму зубчатому колесу 6 средством создания сопротивления вращению, задано таким, чтобы обеспечивать автоматический поворот контейнера подачи тонера.
Способ сборки контейнера подачи тонера
Сборка контейнера 1 подачи тонера включает в себя следующие этапы.
Во-первых, подготавливают корпус 1a контейнера. Затем закрепляют подающий элемент 4 в корпусе 1a контейнера. После этого первое зубчатое колесо 5 устанавливают на одной торцевой поверхности корпуса 1a контейнера и затем устанавливают второе зубчатое колесо 6. Кроме того, на корпусе контейнера собирают заслонку 3 контейнера и ручку 2.
Затем заправляют тонер через заправочное отверстие 1c и, наконец, плотно закрывают заправочное отверстие уплотняющим элементом.
Порядок заправки тонера, установки второго зубчатого колеса 6, сборки заслонки 3 контейнера и ручки 2 можно изменять для удобства сборки.
В настоящем варианте осуществления корпус 1a контейнера представляет собой цилиндрический контейнер с внешним диаметром 60 мм и длиной 320 мм. Внутренний объем контейнера равен приблизительно 600 куб. см, в который заправляют 300 г тонера.
Устройство приема тонера
Ниже, со ссылкой на Фиг.5, приведено описание устройства 10 приема тонера. Устройство 10 приема тонера, содержащее установочный участок 10a для установки с возможностью съема контейнера 1 подачи тонера и отверстие 10b приема тонера для приема тонера, выпускаемого из контейнера 1 подачи тонера. Тонер, подаваемый из отверстия приема тонера, подается в проявочное устройство и служит для формирования изображения.
Устройство 10 приема тонера дополнительно снабжено заслонкой 11 проявочного устройства, имеющей, по существу, полуцилиндрическую поверхность во вложенном положении относительно конфигурации окружной поверхности установочного участка 10a и относительно контейнера 1 подачи тонера. Заслонка проявочного устройства находится в зацеплении с направляющим участком 10c, обеспеченным на нижнем краю установочного участка 10a, для обеспечения сдвигового движения по окружности для открывания и закрывания отверстии 10b приема тонера.
Кроме того, устройство 10 приема тонера снабжено стопором 10e (Фиг.11, (a)) для останова в конечном положении перемещения открывания заслонки 11 проявочного устройства. При этом, когда заслонка 11 проявочного устройства открывается, нижний край отверстия 10b приема тонера и верхний край заслонки 11 проявочного устройства совмещаются с высокой точностью для полного открывания отверстия 10b приема тонера. Стопор 10e выполняет также функцию стопорного участка для останова поворота корпуса 1a контейнера в положении, в котором отверстие 1b для выпуска тонера находится напротив отверстия 10b приема тонера. Другими словами, поворот контейнера 1 подачи тонера, находящегося в зацеплении с заслонкой 11 проявочного устройства посредством открывающего выступа (участка взаимодействия), стопорится с остановом перемещения открывания заслонки 11 проявочного устройства стопором 10e.
Механизм фиксации заслонки проявочного устройства
Заслонка 11 проявочного устройства, как показано на Фиг.8, (a), когда контейнер 1 подачи тонера не установлен на установочный участок 10a, фиксируется в положении для плотного закрывания отверстия 10b приема тонера. В частности, один край заслонки 11 проявочного устройства упирается в стопор 10d устройства 10 приема тонера, и другой край упирается в фиксирующий элемент 13 (средство фиксации), так что перемещение упомянутой заслонки блокируется в положении плотного закрывания отверстия 10b приема тонера.
Таким образом эффективно предотвращаются возможное попадание пыли или инородных материалов в проявочное устройство 201 и возможное высыпание тонера из проявочного устройства 201 в установочный участок 10a.
Фиксирующий элемент 13, как показано на Фиг.9, упирается в часть заслонки 11 проявочного устройства на фиксирующем участке 13a так, что перемещение заслонки 11 проявочного устройства в направлении вскрытия заблокировано. Кроме того, фиксирующий элемент 13 может сдвигаться в направлении A (Фиг.9).
В настоящем варианте осуществления заслонка 11 проявочного устройства деблокируется, только когда закрыта крышка 15 для смены.
В частности, при выполнении пользователем операции закрывания крышки 15 для смены деблокирующий элемент 15a (деблокирующее средство), обеспеченный на крышке 15 для смены, приводится в зацепление с воспринимающим участком 13b фиксирующего элемента 13 для сдвига фиксирующего элемента 13 в продольном направлении (по стрелке A на Фиг.8). Тогда фиксирующий участок 13a перемещается в деблокирующее положение, в котором он не мешает возможному перемещению заслонки 11 проявочного устройства в направлении открывания заслонки 11 проявочного устройства.
Как показано на Фиг.9, с задней стороны относительно продольного направления фиксирующего элемента 13 обеспечен пружинный элемент 14 (поджимной элемент). Фиксирующий элемент 13 обычно поджат пружинным элементом 14 в переднюю сторону в продольном направлении (противоположном направлению A на Фиг.9). Другими словами, фиксирующий элемент поджат так, чтобы возвращаться в положение фиксации с отводом деблокирующего элемента 15a.
Приводное зубчатое колесо устройства приема тонера
Как показано на Фиг.5, на одном конце по длине установочного участка 10a обеспечено приводное зубчатое колесо 12 (приводной элемент) для передачи вращательного приводного усилия от приводного электродвигателя, расположенного в основном компоновочном узле устройства 100 формирования изображения. Приводное зубчатое колесо 12 неподвижно установлено в устройстве приема тонера, то есть не может быть сдвинуто, даже если приводное зубчатое колесо 12 сталкивается с концом зуба второго зубчатого колеса 6 контейнера подачи тонера, и поэтому они не приводятся в зацепление между собой в противоположность широко известной конструкции, в которой приводное зубчатое колесо 12 может отводиться при упоре во второе зубчатое колесо 6.
Приводное зубчатое колесо 12, как описано в дальнейшем, выполняет функцию приложения вращательного усилия к контейнеру подачи тонера для поворота контейнера подачи тонера во время операции приведения в готовность. А именно, направление вращения приводного зубчатого колеса 12 приводным электродвигателем является таким, как указано стрелкой C на Фиг.12 (противоположным направлению поворота контейнера подачи тонера во время операции приведения в готовность). В настоящем примере приводное зубчатое колесо 12 в рабочем состоянии находится в зацеплении с приводной зубчатой передачей для вращения фоточувствительного барабана 104, проявочного валика 201b, подающего элемента 201c проявочного устройства, показанного на Фиг.2.
Операция приведения в готовность контейнера подачи тонера
Ниже, со ссылкой на Фиг.10-12, описана операция приведения в готовность контейнера подачи тонера.
На Фиг.10 показано состояние, в которое устанавливают контейнер подачи тонера, и на Фиг.11 показано состояние, в которое упомянутый контейнер приводят поворотом в положение готовности. На Фиг.12 показано состояние, в которое контейнер подачи тонера переводится поворотом в положение подачи.
На Фиг.10-12 (a) схематично представлены виды контейнера подачи тонера и устройства приема тонера. На этих фигурах виды (b) являются сечениями, поясняющими взаимное расположение отверстия 1b для выпуска тонера, отверстия 10b приема тонера и заслонки 11 проявочного устройства. На этих фигурах виды (c) являются сечениями, поясняющими взаимное расположение средств передачи приводных усилий. На этих фигурах виды (d) являются сечениями, поясняющими взаимное расположение заслонки 11 проявочного устройства и участка взаимодействия корпуса контейнера.
Операция приведения в готовность контейнера подачи тонера включает в себя ручной этап, который выполняется пользователем, и автоматический этап, который выполняется устройством приема тонера.
Ручной этап содержит операцию установки, в ходе которой пользователь устанавливает контейнер подачи тонера в положение установки в устройстве приема тонера (положение, в котором допускаются вставка и извлечение контейнера подачи тонера), и поворот, в ходе которого пользователь поворачивает контейнер подачи тонера из положения установки в положение готовности (положение, в котором второе зубчатое колесо 6 находится в зубчатом зацеплении с приводным зубчатым колесом 12). В положении готовности открывающий выступ контейнера подачи тонера находится в зацеплении с заслонкой проявочного устройства. Когда пользователь поворачивает контейнер на заданный угол (около 2-3°), участок взаимодействия (открывающий выступ) стопорится устройством приема тонера, что препятствует извлечению контейнера подачи тонера. Поэтому, когда контейнер подачи тонера находится в положении готовности или положении подачи, извлечение контейнера подачи тонера не допускается.
Поворот контейнера подачи тонера из положения готовности в положение подачи (положение, в котором возможна подача тонера) является автоматически исполняемым этапом. Все описанные повороты контейнера подачи тонера осуществляются в одном направлении (по стрелке B на Фиг.10). Когда контейнер подачи тонера находится в положении подачи, контейнер подачи тонера также заблокирован от извлечения.
Угол поворота контейнера подачи тонера между положением установки и положением готовности составляет около 60°, и угол поворота контейнера между положением готовности и положением подачи составляет около 12°.
Этап установки операции приведения в готовность
Во-первых, пользователь открывает крышку 15 для смены и вставляет контейнер 1 подачи тонера в устройство 10 приема тонера в направлении по стрелке A на Фиг.10, (a) (в направлении, по существу, перпендикулярном продольному направлению контейнера подачи тонера).
При этом регулируется установочная ориентация контейнера 1 подачи тонера в направлении поворота. В частности, пользователь вставляет контейнер 1 подачи тонера в устройство приема тонера с совмещением при этом регулируемого выступа 100 (Фиг.3) контейнера подачи тонера с регулирующей выемкой 10f (Фиг.5) устройства приема тонера. В результате контейнер подачи тонера вставляется так, что его отверстие для выпуска тонера является обращенным вверх (в направлении на 12 часов). При этом, когда контейнер подачи тонера извлекают из устройства приема тонера, как поясняется в дальнейшем, тонер, остающийся в контейнере подачи тонера, не высыпается между периферической поверхностью корпуса контейнера и заслонкой контейнера.
По ориентации отверстие для выпуска тонера во время данной операции установки пользователем не ограничено направлением строго вверх, но может быть, в общем, направлено вверх. В частности, отверстие для выпуска тонера ориентировано предпочтительно в диапазоне ±30° от вертикали (между направлениями на 11 часов и 1 час). Направлением отверстия для выпуска тонера является направление линии, соединяющей центр отверстия для выпуска тонера по направлению поворота контейнера подачи тонера и центр поворота контейнера подачи тонера. Угол, образованный между такой линией и вертикальной линией, предпочтительно находится в диапазоне ±30°. Как показано на Фиг.10, (c), приводное зубчатое колесо 12 на стенке устройства 10 приема тонера и второе зубчатое колесо 6 на стенке контейнера 1 подачи тонера не находятся в зацеплении между собой, и, в частности, они отстоят одно от другого в направлении поворота контейнера 1.
Этап ручного поворота при операции приведения в готовность
Затем пользователь манипулирует ручкой 2 для поворота контейнера 1 подачи тонера, помещенного в положение установки в устройстве 10 приема тонера, в направлении B, как показано на Фиг.10, то есть в направлении, противоположном направлению вращения подающего элемента 4. Затем при повороте контейнера 1 подачи тонера второе зубчатое колесо 6 обращается вокруг центра поворота контейнера 1 подачи тонера (центра вращения подающего элемента 4) к приводному зубчатому колесу 12 устройства 10 приема тонера. Затем, когда контейнер 1 подачи тонера повернут в положение готовности, контейнер подачи тонера блокируется от дальнейшего поворота и потому останавливается (Фиг.11). В частности, открывающий выступ 1e контейнера подачи тонера упирается в заслонку 11 проявочного устройства, которая заблокирована от перемещения фиксирующим элементом 13, и поэтому дальнейший поворот контейнера подачи тонера блокируется. Таким образом, открывающий выступ 1e выполняет функцию стопорения ручного поворота контейнера подачи тонера.
При повороте контейнера подачи тонера из положения установки в положение готовности второе зубчатое колесо 6 приводится в зацепление с приводным зубчатым колесом 12 устройства приема тонера. После этого создается возможность приводной передачи от приводного зубчатого колеса 12 на второе зубчатое колесо 6.
С другой стороны, отверстие для выпуска тонера и отверстие приема тонера еще не вскрыты, когда контейнер подачи тонера находится в положении готовности. То есть отверстие для выпуска тонера и отверстие приема тонера закрыты заслонкой контейнера и заслонкой проявочного устройства.
Этап автоматического поворота при операции приведения в готовность
Когда контейнер подачи тонера приведен в готовность в положение готовности, пользователь закрывает крышку 15 для смены. При взаимодействии с данной крышкой заслонка 11 проявочного устройства деблокируется из фиксации фиксирующим элементом 13. Во взаимосвязи с операцией закрывания крышки 15 для смены приводное зубчатое колесо 12 начинает приводиться во вращение приводным электродвигателем.
При вращении приводного зубчатого колеса 12 контейнер подачи тонера воспринимает вращательное усилие (тянущее усилие) в направлении D вторым зубчатым колесом 6, зацепленным с приводным зубчатым колесом 12, так что контейнер подачи тонера автоматически поворачивается из состояния готовности в состояние подачи. Механический принцип автоматического поворота контейнера подачи тонера описан в дальнейшем.
Когда контейнер 1 подачи тонера достигает положения подачи, дальнейший поворот контейнера подачи тонера заблокирован. Это обусловлено тем, что заслонка 11 проявочного устройства упирается в стопор 10e (Фиг.12, (b)) для определения конечного положения вскрывающего перемещения заслонки 11 проявочного устройства. Дальнейший поворот контейнера подачи тонера заблокирован открывающим выступом 1e, упирающимся в заслонку 11 проявочного устройства. А именно, открывающий выступ 1e выполняет также функцию останова автоматического поворота контейнера подачи тонера.
Во взаимосвязи с поворотом контейнера подачи тонера из положения готовности в положение подачи отверстие для выпуска тонера и отверстие приема тонера открываются, и отверстие для выпуска тонера и отверстие приема тонера полностью совмещаются между собой. То есть в момент, когда контейнер подачи тонера достигает положения подачи, обеспечивается возможность подачи тонера из контейнера подачи тонера в устройство приема тонера.
В частности, во взаимосвязи с поворотом контейнера подачи тонера из положения готовности в положение подачи заслонка 3 контейнера упирается в стопорный участок устройства 10 приема тонера, так что дальнейший поворот блокируется, и контейнер подачи тонера постепенно открывается. Когда контейнер подачи тонера повернут в положение подачи, отверстие 1b для выпуска тонера полностью открыто.
С другой стороны, во взаимосвязи с поворотом контейнера подачи тонера из положения готовности в положение подачи (операция открывания или вскрытия заслонки контейнера) заслонка 11 проявочного устройства опускается к открывающему выступу 1e контейнера 1 подачи тонера, так что отверстие 10b приема тонера постепенно открывается. Поскольку заслонка 11 проявочного устройства стопорится стопором 10e, который определяет конечное положение вскрывающего перемещения данной заслонки (Фиг.12, (b)), нижний край отверстия 10b приема тонера и верхний край заслонки 11 проявочного устройства точно совмещаются. Таким образом, когда контейнер подачи тонера поворачивается в положение подачи, отверстие 10b приема тонера полностью открывается.
В результате, когда контейнер подачи тонера повернут в положение подачи, как отверстие для выпуска тонера, так и отверстие приема тонера открыты, и при этом они совмещены между собой.
После этого, когда приводное зубчатое колесо 12 вращается, вращательное усилие передается от второго зубчатого колеса 6 к подающему элементу 4 через первое зубчатое колесо 5 и осуществляется подача тонера из контейнера подачи тонера в устройство приема тонера.
В настоящем варианте осуществления положения в направлении по окружности отверстия 1b для выпуска тонера, открывающего выступа 1e, второго зубчатого колеса 6 и т.п. относительно контейнера 1 подачи тонера отрегулированы так, что вышеописанные операции выполняются с правильным согласованием по времени в надлежащей взаимосвязи.
Таким образом, в настоящем варианте осуществления обеспечивается автоматический поворот контейнера подачи тонера в положение подачи, которое важно при выполнении этапа подачи тонера, то есть в окончательное положение поворота контейнера подачи тонера, без использования другой приводной системы для такого поворота. В результате улучшается применимость при простоте конструкции контейнера подачи тонера.
А именно, второе зубчатое колесо 6 для привода подающего элемента применяется для автоматического поворота контейнера подачи тонера, чтобы установить и обеспечить окончательное положение контейнера подачи тонера в направлении поворота, при этом окончательное положение является одним из важных факторов на последующем этапе подачи тонера. Благодаря вышеописанной конструкции, использующей второе зубчатое колесо 6, которое предназначено для привода элемента подачи тонера, для автоматического поворота контейнера подачи тонера, можно избежать износа, повреждения и т.п. второго зубчатого колеса 6, вызываемых столкновением зубьев с приводным зубчатым колесом 12 при установке контейнера подачи тонера.
То же самое относится к приводному зубчатому колесу 12 устройства приема тонера, а именно, можно избежать износа, повреждения и т.п. приводного зубчатого колеса 12, вызываемых столкновением зубьев. Другими словами, применение конструкции контейнера подачи тонера по настоящему варианту осуществления обеспечивает благоприятный фактор снижения износа, вероятности повреждения и т.п. приводного зубчатого колеса 12 устройства приема тонера.
Поэтому последующая операция подачи тонера выполняется плавно, и можно избежать появления таких дефектов изображения, как неоднородная плотность изображения, недостаточная плотность изображения и т.п.
Кроме того, в соответствии с вариантом осуществления приводное зубчатое колесо 12 вращается также на этапе подачи тонера, и поэтому контейнер подачи тонера воспринимает вращательное усилие X (толкающее внутрь усилие) в направлении B через второе зубчатое колесо 6. На этапе подачи тонера контейнер подачи тонера воспринимает по его внутренней поверхности вращательное усилие в направлении Y вращения, противоположном направлению B, вследствие трения скольжения между подающим элементом и контейнером подачи тонера, и толкающее внутрь усилие B выбирают так, чтобы оно достаточно превосходило вращательное усилие Y.
По данной причине, даже если поворот контейнера подачи тонера стопорится немного (за 1-2°) до положения подачи на этапе автоматического поворота, ошибка позиционирования (недостаточный поворот) может быть автоматически скорректирована. В частности, с началом этапа подачи тонера контейнер подачи тонера постепенно поворачивается в правильное положение подачи. Таким образом, недостаточное открывание заслонки 11 проявочного устройства может автоматически корректироваться.
Принцип автоматического поворота контейнера подачи тонера
Ниже следует подробное описание принципа автоматического поворота контейнера подачи тонера. Фиг.13 поясняет принцип автоматического поворота контейнера подачи тонера посредством второго зубчатого колеса 6 при вращении приводного зубчатого колеса 12, которое находится в зубчатом зацеплении со вторым зубчатым колесом 6.
В настоящем варианте осуществления кольцевой элемент из силиконового каучука расположен между вторым зубчатым колесом 6 и корпусом 1a контейнера и сжат до заданной степени, посредством чего вращение первого зубчатого колеса 5 и второго зубчатого колеса 6 относительно корпуса 1a контейнера тормозится и задерживается, при этом первое зубчатое колесо 5 и второе зубчатое колесо 6 предназначены для передачи вращательного усилия на подающий элемент. Тем самым прилагается нагрузка ко второму зубчатому колесу 6, препятствующая вращению относительно корпуса 1a контейнера, и второе зубчатое колесо 6 поддерживается в нагруженном состоянии.
Когда приводное зубчатое колесо 12 вращается, вращательное усилие f прилагается ко второму зубчатому колесу 6 относительно оси P данного зубчатого колеса, которое находится в зубчатом зацеплении с приводным зубчатым колесом 12. Поэтому вращательное усилие f прилагается к корпусу 1a контейнера. С другой стороны, когда контейнер подачи тонера стремится поворачиваться из положения готовности в положение подачи, контейнер подачи тонера воспринимает тормозное усилие F со стороны установочного участка устройства приема тонера, а именно тормозное усилие, вызванное трением между устройством приема тонера и внешней поверхностью контейнера подачи тонера. В настоящем примере поскольку заслонка 11 проявочного устройства сдвигается посредством открывающего выступа контейнера подачи тонера, то тормозное усилие F обеспечивается также сопротивлением скользящего перемещения заслонки 11 проявочного устройства относительно устройства приема тонера.
В настоящем варианте осуществления вращательное усилие f, прилагаемое к контейнеру подачи тонера приводным зубчатым колесом 12, выбирают таким, чтобы оно было больше, чем тормозное усилие F, прилагаемое к контейнеру подачи тонера со стороны устройства приема тонера.
Поэтому контейнер подачи тонера, находящийся в положении готовности, поворачивается к положению подачи при вращении приводного зубчатого колеса 12 с приведением в окончательное положение подачи.
Таким образом, в настоящем варианте осуществления автоматический поворот контейнера подачи тонера из положения готовности в положение подачи обеспечивается при соотношении (Ff в контейнере подачи тонера допускается, если контейнер подачи тонера окончательно приходит в положение подачи.)>
Вращательное усилие f можно измерять или определять таким образом. Приводное зубчатое колесо 12 в зубчатом зацеплении со вторым зубчатым колесом 6 вращается в направлении, показанном на Фиг.13, и вращательный момент приводного зубчатого колеса 12 в это время измеряется автоматическим устройством измерения вращательного момента. В частности, измерительная ось соосно соединена с осью вращения приводного зубчатого колеса 12, и к измерительной оси последовательно присоединены преобразователь момента и приводной электродвигатель (шаговый электродвигатель). Источник электропитания приводного электродвигателя управляется так, чтобы поддерживать скорость вращения измерительной оси на уровне 30 об/мин. Скорость вращения измерительной оси является такой же, как скорость вращения во время реального этапа автоматического поворота контейнера подачи тонера и реального этапа подачи тонера. Когда скорость вращения на реальных этапах отличается, скорость вращения при измерении соответственно изменяется. В настоящем примере вращательный момент приводного зубчатого колеса 12 равен 0,29 Н·м.
Вращательный момент приводного зубчатого колеса 12 соответствует A, который описан в дальнейшем, и вращательное усилие f определяется с использованием формулы, которая описана в дальнейшем. В случае, если данные, полученные из преобразователя момента периодически изменяются, множество таких данных надлежащим образом усредняется для определения A.
Для измерения применяли преобразователь момента (PP-2-KCE), выпускаемый компанией Kyowa Dengyo Kabushiki Kaisha.
С другой стороны, тормозное усилие F измеряют аналогичным образом. В частности, контейнер подачи тонера, который находится в зацеплении с заслонкой проявочного устройства, поворачивается из положения готовности к положению подачи. Вращательный момент относительно центра поворота контейнера подачи тонера измеряется автоматическим устройством измерения вращательного момента. В еще более конкретном случае приводное зубчатое колесо 12 снимают с устройства приема тонера, и измерительную ось соосно прикрепляют к контейнеру подачи тонера в центре поворота, и автоматическое устройство измерения вращательного момента присоединяют к измерительной оси, как при вышеописанном измерении. Источник электропитания приводного электродвигателя управляется так, чтобы поддерживать скорость вращения измерительной оси на уровне 6,4 об/мин. Частота или скорость вращения измерительной оси соответствует вращению с частотой 30 об/мин приводного зубчатого колеса 12 во время этапа автоматического поворота контейнера подачи тонера. Когда скорость вращения на этапе автоматического поворота отличается от данного значения, скорость вращения измерительной оси изменяется соответственно. В настоящем варианте осуществления вращательный момент относительно центра поворота контейнера подачи тонера равнялся 0,58 Н·м.
Вращательный момент относительно центра поворота контейнера подачи тонера соответствует D, что описано в дальнейшем, и тормозное усилие F определяется с использованием формулы, которая описана в дальнейшем. В случае, если данные, полученные из преобразователя момента, периодически изменяются, множество таких данных надлежащим образом усредняется для определения D.
Ниже, со ссылкой на Фиг.13, приведено подробное описание принципа. Радиусы начальных окружностей приводного зубчатого колеса 12, второго зубчатого колеса 6 и первого зубчатого колеса 5 равны a, b, c, и вращательные моменты этих зубчатых колес относительно соответствующих осей равны A, B, C. Центры зубчатых колес также обозначены как A, B и C. В настоящем случае вращательное усилие (толкающее внутрь усилие), прилагаемое к контейнеру подачи тонера при вращении приводного зубчатого колеса 12, равно E, и тормозной момент контейнера подачи тонера относительно центра поворота равен D.
Для автоматического поворота контейнера подачи тонера требуется, чтобы f>F.
Тормозное усилие: F=D/(b+c)
Вращательное усилие: f={(c+2b)/(c+b)}хE={(c+2b)/(c+b)}х(A/a)={(c+2b)/(c+b)}х(C/c+B/b)
Поэтому
(c+2b)/(c+b)х(C/c+B/b)>D/(b+c)
(C/c+B/b)>D/(c+2b)
Из этого следует, что для автоматического поворота контейнера подачи тонера посредством толкающего внутрь усилия необходимо удовлетворять условиям формулы. Например, радиус C, или B, или оба делают больше и/или D делают меньше.
В частности, вращательный момент или моменты первого зубчатого колеса 5, которое непосредственно соединено с подающим элементом, и/или второго зубчатого колеса 6 делают больше и тормозное усилие, прилагаемое к контейнеру подачи тонера из-за трения по установочному участку 10a устройства 10 приема тонера, делают меньше, благодаря чему обеспечивается автоматический поворот контейнера подачи тонера.
Тормозное усилие контейнера подачи тонера можно отрегулировать уменьшением площади скольжения контейнера подачи тонера по установочному участку 10a или установкой на внешней поверхности контейнера подачи тонера элемента или материала с малым сопротивлением скольжению. В альтернативном варианте внутреннюю поверхность вмещающего участка 10a устройства приема тонера можно снабдить роликом или роликами (элемент с малым сопротивлением скольжению или элемент ослабления сопротивления повороту).
Направление E усилия, в котором второе зубчатое колесо 6 воспринимает вращательное усилие от приводного зубчатого колеса 12, является другим действующим фактором. Вращательное усилие f относительно осевого участка P второго зубчатого колеса 6 является силовой компонентой усилия E, которую второе зубчатое колесо 6 воспринимает от приводного зубчатого колеса 12.
В схеме на Фиг.13 проведена линия отсчета соединением центра C вращения контейнера подачи тонера (который также является центром вращения первого зубчатого колеса 5 в представленной схеме) и центра B вращения второго зубчатого колеса 6. Угол , образованный между линией отсчета и линией, соединяющей точку B и центр A вращения приводного зубчатого колеса 12 (угол является положительным в направлении по часовой стрелке от линии отсчета (0 градусов)) предпочтительно больше чем 90° и меньше, чем 270°. С точки зрения эффективного использования компоненты (составляющего усилия в направлении касательной линии к корпусу контейнера на участке зацепления между вторым зубчатым колесом 6 и приводным зубчатым колесом 12) в направлении E усилия f зацеплением между вторым зубчатым колесом 6 и приводным зубчатым колесом 12 угол должен быть предпочтительно не меньше чем 120° и не больше чем 240°. Для дальнейшего эффективного использования силовой компоненты угол приблизительно равен 180°, что имеет место в настоящем варианте осуществления. Вышеописанное измерение выполняется в таком же состоянии. В настоящем варианте осуществления положения и конструкции зубчатых колес определяются с учетом вышеизложенного.
В реальных конструкциях имеют место потери и т.п. в приводной передаче между зубчатыми колесами, но они в схеме не учитываются для упрощения. Конструкции контейнера подачи тонера можно определять с учетом потерь и т.п., чтобы обеспечивать подходящее толкающее внутрь усилие при автоматическом повороте контейнера подачи тонера.
Как изложено выше, во время операции подачи тонера путем вращения подающего элемента второе зубчатое колесо 6 всегда воспринимает толкающее внутрь усилие (противоположное направлению D). Во время операции подачи тонера путем вращения подающего элемента контейнер подачи тонера воспринимает также усилие в обратном направлении (направлении D (Фиг.13)) из-за скользящего контакта между подающим элементом 4 и внутренней поверхностью контейнера подачи тонера.
В настоящем варианте осуществления осуществляют такой подбор, чтобы усилие, толкающее внутрь контейнер подачи тонера, было больше усилия в обратном направлении, и поэтому во время операции подачи тонера блокировался поворот контейнера подачи тонера из положения подачи в положение готовности.
Таким образом, во время операции этапа подачи тонера отверстие для выпуска тонера и отверстие приема тонера поддерживаются в соответствующих надлежаще открытых состояниях.
В частности, во время операции подачи тонера, как показано на Фиг.12 (c), приводное зубчатое колесо 12 вращается в направлении C; второе зубчатое колесо 6 вращается в направлении B; и первое зубчатое колесо 5 вращается в направлении A. При этом контейнер подачи тонера воспринимает усилие в направлении вовнутрь (E на Фиг.12, (c)), и поэтому отверстие 1b для выпуска тонера и отверстие 10b приема тонера поддерживаются совмещенными между собой так, что подача тонера происходит стабильно.
Съем контейнера подачи тонера
Ниже приведено описание съема контейнера подачи тонера с устройства приема тонера по любой из причин.
Во-первых, пользователь открывает крышку 15 для смены. Затем пользователь действует ручкой 2 для поворота контейнера подачи тонера в направлении, противоположном направлению стрелки B на Фиг.10. В частности, контейнер подачи тонера, находящийся в положении подачи, поворачивают обратно в положение установки через положение готовности при выполнении данной операции пользователем.
При этом заслонка 11 проявочного устройства закрывается (поднимается) уплотняющим выступом 1f контейнера 1 подачи тонера с закрыванием тем самым отверстия 10b приема тонера. Одновременно отверстие 1b для выпуска тонера поворачивается обратно в положение, в котором оно закрыто заслонкой 3 контейнера.
В частности, заслонка контейнера приходит в упор со стопорным участком устройства приема тонера и останавливается в таком положении, и из этого состояния контейнер подачи тонера поворачивается так, что отверстие для выпуска тонера закрывается или снова плотно запирается заслонкой контейнера. Поворот повторного плотного закрывания контейнера подачи тонера стопорится стопорным участком, обеспеченным в направляющем участке 1d заслонки 3 контейнера и приходящим в упор в заслонку 3 контейнера.
При таком повороте контейнера подачи тонера второе зубчатое колесо 6 обращается с отцеплением от приводного зубчатого колеса 12 и становится расцепленным с приводным зубчатым колесом 12, как показано на Фиг.10, (c).
Затем контейнер 1 подачи тонера в положении установки извлекается пользователем из устройства 10 приема тонера.
Тем самым завершается операция съема контейнера подачи тонера. После этого пользователь устанавливает приготовленный новый контейнер подачи тонера в установочный участок устройства приема тонера. Вышеописанный этап ручного поворота выполняют только до положения готовности и затем закрывают крышку 15 для смены.
Поворот назад контейнера подачи тонера из положения подачи в положение готовности может выполняться автоматически.
В частности, когда контейнер подачи тонера находится в положении подачи, приводное зубчатое колесо 12 вращается в направлении, противоположном направлению на операции приведения в готовность, так что к контейнеру подачи тонера прилагается противоположное усилие.
При этом контейнер подачи тонера поворачивается обратно к положению, в котором заслонка проявочного устройства закрывает отверстие приема тонера. При этом отверстие для выпуска тонера повторно плотно закрывается заслонкой контейнера.
В данном случае усилие, прилагаемое к контейнеру подачи тонера (в направлении, противоположном направлению толкающего внутрь усилия), также подбирается таким, чтобы оно было больше, чем тормозное усилие корпуса 1a контейнера.
Когда повороты контейнера подачи тонера между положением готовности и положением подачи в обоих направлениях выполняются автоматически, применимость дополнительно улучшается.
Контейнер подачи тонера в соответствии с настоящим вариантом осуществления проходил испытания качества подачи, и получены удовлетворительные результаты, и операции формирования изображений выполнялись с надлежащим качеством длительное время.
Материал, способ формования, конфигурация и т.п. элементов не ограничены теми, которые описаны выше, но могут подходящим образом видоизменяться специалистами в данной области техники.
Устройство приема тонера для вмещения контейнера подачи тонера может быть блоком формирования изображения стационарного типа, в котором устройство приема тонера закреплено на основном компоновочном узле устройства формирования изображения, или может быть блоком формирования изображения съемного типа, в котором устройство приема тонера можно легко устанавливать с возможностью отсоединения в основной компоновочный блок устройства формирования изображения. Примеры блока формирования изображения включают в себя фотомеханический картридж, содержащий в сборе фотомеханическое средство формирования изображения, например фоточувствительный барабан, электризатор, проявочное устройство и т.п., и проявочный картридж, содержащий проявочное устройство.
Вариант осуществления 2
Ниже, со ссылкой на Фиг.14, приведено описание контейнера 1 подачи тонера в соответствии с вариантом осуществления 2. Основные конструкции контейнера являются такими же, как в варианте осуществления выше, и поэтому подробного описания таких конструкций не дано для простоты.
В варианте осуществления 1 участок взаимодействия контейнера подачи тонера использует открывающий выступ и закрывающий выступ. В варианте осуществления 2 применяется зацепление защелкивающегося типа. В варианте осуществления 1 контейнер подачи тонера устанавливают в направлении, по существу, перпендикулярном продольному направлению контейнера подачи тонера. Однако в варианте осуществления 2 контейнер подачи тонера устанавливают в устройство приема тонера, по существу, в продольном направлении контейнера подачи тонера.
Это является основным отличием контейнера подачи тонера от контейнера в варианте осуществления 1. На фигурах позиции, идентичные позициям в варианте осуществления 1, присвоены элементам, имеющим соответствующие функции.
Как показано на Фиг.14 и 17, окружная поверхность контейнера 1 подачи тонера снабжена защелкивающимся участком 1e, который выполняет функцию участка взаимодействия (участка зацепления) для разъемного зацепления с заслонкой 11 проявочного устройства. Защелкивающийся участок 1e приводится в захватное зацепление с заслонкой 11 проявочного устройства посредством операции наложения по отношению к заслонке 11 проявочного устройства, когда контейнер подачи тонера вручную поворачивают из положения установки в положение готовности. При этом заслонка 11 проявочного устройства поддерживается в неподвижности фиксирующим элементом 13.
При ручном повороте контейнера подачи тонера захватный участок, расположенный на свободном концевом участке защелкивающегося участка 1e, упирается в заслонку проявочного устройства, вследствие чего захватный участок деформируется и затем упруго восстанавливается с образованием захватного зацепления между ними (Фиг.17, (a) и (b)).
Чтобы просто обеспечить деформирование и восстановление формы защелкивающегося участка 1e, защелкивающийся участок 1e изготавливают из полимерного материала, допускающего упругую деформацию.
При автоматическом повороте контейнера подачи тонера на операции приведения в готовность заслонка 11 проявочного устройства, которая находится в составном зацеплении с защелкивающимся участком 1e, опускается и отверстие приема тонера открывается.
При ручном повороте контейнера подачи тонера во время операции съема заслонка 11 проявочного устройства поднимается защелкивающимся участком 1e и отверстие приема тонера снова закрывается.
Защелкивающийся участок 1e выполняет функцию увязывания операции открывания и операции закрывания заслонки 11 проявочного устройства с поворотом контейнера подачи тонера.
Участок заслонки 11 проявочного устройства, который входит в захватное сцепление со свободным концевым захватом защелкивающегося участка 1e, представляет собой участок 11a вмещения защелки и обладает конфигурацией, соответствующей конфигурации свободного концевого захвата. Они составлены так, что они не расцепляются между собой, когда заслонка 11 проявочного устройства поднимается.
С другой стороны, они составлены так, что, после того как заслонка 11 проявочного устройства снова закрыта или плотно закупорена, защелкивающийся участок 1e и заслонка 11 проявочного устройства легко расцепляются между собой при повороте контейнера подачи тонера.
Защелкивающийся участок 1e обеспечивает две функции.
В настоящем примере, как показано на Фиг.14, контейнер подачи тонера снабжен ручкой 2 для его удобной вставки в устройство приема тонера, по существу, вдоль продольного направления, на торцевой поверхности корпуса 1a контейнера, которая по длине противоположна поверхности, содержащей зубчатые колеса 5 и 6.
Как показано на Фиг.15, крышка 15 для смены, предназначенная для смены контейнера подачи тонера открывается и закрывается на передней стенке основного компоновочного узла устройства. Контейнер 1 подачи тонера вставляется в устройство 10 приема тонера основного компоновочного узла устройства 100 формирования изображения в продольном направлении (осевом направлении подающего элемента) пользователем, удерживающим ручку 2, при этом стенка с зубчатыми колесами (5, 6) находится с передней вставляемой стороны.
С передней стороны в направлении вставки торец контейнера 1 подачи тонера снабжен установочным направляющим выступом 1g (регулирующим элементом), и устройство приема тонера снабжено направляющим участком 10g в форме выемки, соответствующей установочному направляющему выступу 1g. Такая конструкция предназначена для регулирования установочной ориентации (установочного угла) контейнера 1 подачи тонера в направлении поворота.
Регулирующий элемент для регулирования установочной ориентации в направлении поворота контейнера 1 подачи тонера не ограничен упомянутым направляющим выступом 1g. Например, описанный направляющий участок 1d заслонки 3 контейнера или защелкивающийся участок 1e могут служить для регулирования установочной ориентации контейнера подачи тонера. В таком случае в сечении конфигурация входной части установочного участка устройства приема тонера может соответствовать конфигурации направляющего участка 1d защелкивающегося участка 1e или заслонки 3 контейнера.
Устройство 10 приема тонера, как показано на Фиг.16, имеет, по существу, такую же конструкцию, за исключением участка заслонки 11 проявочного устройства, который зацепляется с контейнером подачи тонера (защелкивающегося участка 1e).
Как показано на Фиг.18, форма контейнера может быть цилиндрической, от которой отнята часть.
Ниже описаны операция приведения в готовность и операция съема контейнера подачи тонера применительно к случаю использования защелкивающегося участка 1e.
Операция приведения в готовность контейнера подачи тонера
Ниже, со ссылкой на Фиг.19-21, приведено описание операции приведения в готовность контейнера 1 подачи тонера. В настоящем варианте осуществления поворот контейнера 1 подачи тонера из положения установки в положение готовности выполняется пользователем и поворот контейнера 1 подачи тонера из положения готовности в положение подачи выполняется автоматически устройством приема тонера.
На Фиг.19 показано состояние, в котором контейнер подачи тонера находится в положении установки, на Фиг.20 показано состояние, в котором контейнер подачи тонера находится в положении готовности, и на Фиг.21 показано состояние, в котором контейнер подачи тонера находится в положении подачи.
На Фиг.10-12, в частях (a) данных фигур, показано относительное расположение заслонки 3 контейнера, заслонки 11 проявочного устройства, отверстия 1b для выпуска тонера и отверстия 10b приема тонера. На Фиг.10-12, в частях (b) данных фигур показано относительное расположение второго зубчатого колеса 6 и приводного зубчатого колеса 12 устройства 10 приема тонера. На Фиг.10-12, в частях (с) данных фигур, показано относительное расположение защелкивающегося участка 1e и участка 11a вмещения защелки.
Установочный этап на операции приведения в готовность
Во-первых, пользователь открывает крышку 15 для съема. Пользователь вставляет контейнер 1 подачи тонера в направлении установочного участка устройства приема тонера с одновременным совмещением установочного направляющего выступа 1g с направляющим участком 10g.
При этом, как показано на Фиг.19 (a), отверстие 1b для выпуска тонера закрыто заслонкой 3 контейнера, и отверстие 10b приема тонера закрыто заслонкой 11 проявочного устройства. Заслонка 11 проявочного устройства зафиксирована фиксирующим элементом 13 так, что ее перемещение открывания заблокировано. Как показано на Фиг.19, (b), приводное зубчатое колесо 12 устройства 10 приема тонера и второе зубчатое колесо 6 контейнера 1 подачи тонера разнесены так, что кинематическая связь разъединена. Как показано на Фиг.19, (c), защелкивающийся участок 1e контейнера подачи тонера разнесен с участком 11a вмещения защелки заслонки проявочного устройства, так что зацепление между ними отсутствует.
Этап ручного поворота на операции приведения в готовность
Контейнер 1 подачи тонера, находящийся в положении установки, поворачивают к положению готовности в направлении, указанном стрелкой R на Фиг.19 (направление, противоположное направлению вращения подающего элемента 4).
При ручном повороте контейнера 1 подачи тонера второе зубчатое колесо 6 приводится в зубчатое зацепление с приводным зубчатым колесом 12. При этом, когда контейнер подачи тонера достигает положения готовности, второе зубчатое колесо 6 начинает входить в зацепление с приводным зубчатым колесом 12 так, что включается приводная передача от приводного зубчатого колеса 12 на второе зубчатое колесо 6. На Фиг.20 показан конец поворота с использованием ручки пользователем, и в части (b) данной фигуры второе зубчатое колесо 6 приведено в зубчатое зацепление с приводным зубчатым зацеплением 12 и поэтому приводная передача включена.
При ручном повороте контейнера 1 подачи тонера, как показано на Фиг.17, (a), защелкивающийся участок 1e деформируется в направлении по стрелке B для входа в зацепление в участок 11a вмещения защелки с образованием тем самым захватного зацепления (Фиг.17, (b)).
При выполнении операции пользователем защелкивающийся участок 1e дополнительно толкает заслонку 11 проявочного устройства (C в части (b) Фиг.17). При этом, однако, заслонка 11 проявочного устройства фиксируется фиксирующим элементом 13, и поэтому заблокирован любой дополнительный поворот контейнера подачи тонера. На этом операция, выполняемая пользователем, заканчивается.
В настоящем варианте осуществления, как описано выше, поскольку заслонка 11 проявочного устройства зафиксирована, защелкивающийся участок 1e заблокирован от опускания заслонки 11 проявочного устройства до того, как защелкивающийся участок 1e войдет в зацепление в участок 11a вмещения защелки. Поэтому можно предотвратить нарушение взаимосвязи между контейнером подачи тонера и заслонкой проявочного устройства.
Когда контейнер подачи тонера находится в положении готовности, отверстие 1b для выпуска тонера и отверстие 10b приема тонера еще закрыты (Фиг.20, (a)).
Затем пользователь закрывает крышку 15 для смены. С другой стороны, крышка 15 для смены снабжена деблокирующим элементом 15a (регулируемым деблокирующим элементом) в форме выступа, и заслонка проявочного устройства деблокируется во взаимосвязи с операцией закрывания крышки.
В частности, как показано на Фиг.9, когда пользователь закрывает крышку 15, деблокирующий элемент 15a закрывающего элемента 15 толкает воспринимающий участок 13b фиксирующего элемента 13 заслонки 11 проявочного устройства к задней стороне в продольном направлении. При этом фиксирующий элемент 13 поджимается пружинным элементом 14, но деблокирующий элемент 15a толкает фиксирующий элемент 13 против поджимного усилия, и поэтому заслонка проявочного устройства деблокируется из фиксированного состояния. После этого допускается перемещение заслонки 11 проявочного устройства в направлении вскрытия или открывания.
Этап автоматического поворота на операции приведения в готовность
Приводное зубчатое колесо 12 начинает вращаться приводным электродвигателем во взаимосвязи с выполняемой пользователем операцией закрывания крышки 15 для смены.
Затем контейнер подачи тонера, находящийся в положении готовности, воспринимает толкающее внутрь усилие (E, в части (b) Фиг.21) через второе зубчатое колесо 6, и контейнер подачи тонера начинает автоматический поворот к положению подачи.
При автоматическом повороте контейнера подачи тонера перемещение заслонки 11 проявочного устройства в направлении открывания запускается защелкивающимся участком 1e.
И, наконец, когда контейнер подачи тонера достигает положения подачи, отверстие 1b для выпуска тонера полностью открывается заслонкой 11 проявочного устройства, и отверстие 10b приема тонера полностью открывается заслонкой контейнера, и положения отверстий совмещены между собой ((a) на Фиг.21).
Автоматический поворот контейнера 1 подачи тонера стопорится заслонкой проявочного устройства, упирающейся в стопор 10e ((a), на Фиг.21).
После этого, при дальнейшем вращении приводного зубчатого колеса 12, подающий элемент 4 вращается относительно застопоренного таким образом контейнера подачи тонера, посредством чего тонер подается и выпускается.
Операция съема контейнера подачи тонера
Ниже приведено описание съема контейнера подачи тонера с устройства приема тонера по любой из причин.
Во-первых, пользователь открывает крышку 15 для смены. Затем пользователь действует ручкой 2 для поворота контейнера подачи тонера в направлении, противоположном направлению стрелки R на Фиг.21. В частности, контейнер подачи тонера, находящийся в положении подачи, поворачивают обратно в положение установки через положение готовности при выполнении данной операции пользователем.
При этом заслонка 11 проявочного устройства поднимается защелкивающимся участком 1e контейнера 1 подачи тонера и отверстие 10b приема тонера закрывается. Одновременно отверстие 1b для выпуска тонера поворачивается обратно в положение, в котором оно закрыто заслонкой 3 контейнера ((a) на Фиг.20). В частности, заслонка контейнера приходит в упор со стопорным участком устройства приема тонера и тем самым стопорится, и контейнер подачи тонера поворачивается из этого состояния, вследствие чего отверстие для выпуска тонера снова закрывается или снова плотно запирается заслонкой контейнера.
Когда контейнер подачи тонера поворачивают из положения готовности в положение установки, защелкивающийся участок 1e расцепляется с заслонкой 11 проявочного устройства, и после этого контейнер подачи тонера поворачивается относительно заслонки проявочного устройства.
Кроме того, при повороте контейнера подачи тонера из положения готовности в положение установки второе зубчатое колесо 6 обращается с отцеплением от приводного зубчатого колеса 12 и становится расцепленным с приводным зубчатым колесом 12 ((b) на Фиг.19).
Поворот контейнера подачи тонера из положения подачи в положение установки стопорится стопорным участком, обеспеченным на направляющем участке 1d заслонки 3 контейнера и упирающемся в заслонку 3 контейнера.
Затем контейнер 1 подачи тонера в положении установки извлекается пользователем из устройства 10 приема тонера.
Тем самым завершается операция съема контейнера подачи тонера.
Поворот назад контейнера подачи тонера из положения подачи в положение готовности может выполняться автоматически и в данном варианте осуществления.
В частности, когда контейнер подачи тонера находится в положении подачи, приводное зубчатое колесо 12 вращается в направлении, противоположном направлению при операции приведения в готовность, так что к контейнеру подачи тонера прилагается противоположное усилие.
При этом контейнер подачи тонера поворачивается обратно к положению, в котором заслонка проявочного устройства закрывает отверстие приема тонера. При этом отверстие для выпуска тонера повторно плотно закрывается заслонкой контейнера.
В данном случае усилие, прилагаемое к контейнеру подачи тонера (в направлении, противоположном направлению толкающего внутрь усилия), также подбирается таким, чтобы оно было больше, чем тормозное усилие корпуса 1a контейнера.
Когда повороты контейнера подачи тонера между положением готовности и положением подачи в обоих направлениях выполняются автоматически, применимость дополнительно улучшается.
Положительные эффекты, сходные с вариантом осуществления 1, обеспечиваются, даже когда имеет место иной механизм взаимодействия между контейнером подачи тонера и заслонкой проявочного устройства и направлением установки контейнера подачи тонера.
Вариант осуществления 3
Ниже, со ссылками на Фиг.22 и 23, приведено описание варианта осуществления 3. Основные конструкции в настоящем варианте осуществления являются такими же, как в вариантах осуществления 1 и 2, и поэтому подробного описания общих частей не приводится. На фигурах позиции, идентичные позициям в вариантах осуществления 1 и 2, присвоены элементам, имеющим соответствующие функции. Фиг.22 (a) представляет вид в перспективе контейнера подачи тонера в целом, и Фиг.22 (b) представляет вид в перспективе внутреннего цилиндра. На фигуре 23 (a) показано состояние, когда внешний цилиндр находится в положении установки, и на Фиг.23 (b) показано состояние, когда внешний цилиндр находится в положении готовности, и Фиг.22 (c) показывает состояние, когда внешний цилиндр находится в положении подачи.
В вариантах осуществления 1 и 2 поворачивается корпус 1a контейнера, содержащий тонер, но в настоящем варианте осуществления поворачивается участок, не выполняющий функцию участка вмещения тонера.
Как показано на Фиг.22, контейнер подачи тонера содержит внутренний цилиндр 800, содержащий тонер, и внешний цилиндр 300, способный поворачиваться вокруг внутреннего цилиндра (двойная цилиндрическая конструкция).
Внутренний цилиндр снабжен отверстием 900 для выпуска тонера, допускающим выпуск тонера, и внешний цилиндр снабжен отверстием 400 для выпуска тонера, допускающим выпуск тонера. Внутренний цилиндр снабжен фиксирующим участком для фиксирующего зацепления с устройством приема тонера, по существу, для блокирования его поворота.
Отверстия для выпуска тонера, обеспеченные во внутреннем цилиндре и внешнем цилиндре, не совмещены между собой, по меньшей мере, по положению до установки контейнера подачи тонера, и поэтому отверстия не сообщаются между собой проходом для текучей среды. Другими словами, в настоящем примере, внешний цилиндр выполняет функцию заслонки 3 контейнера, описанной выше.
Отверстие 900 для выпуска тонера внутреннего цилиндра герметично закрыто герметизирующей пленкой 600, приваренной к внешней поверхности внутреннего цилиндра вокруг отверстия 900 для выпуска тонера. Герметизирующая пленка 600, когда контейнер подачи тонера находится в положении установки (до поворота контейнера подачи тонера), отрывается пользователем.
Чтобы предотвратить высыпание тонера между внутренним цилиндром и внешним цилиндром, вокруг отверстия 900 для выпуска тонера внутреннего цилиндра (внутри приваренного участка герметизирующей пленки) обеспечен упругий уплотнительный элемент, и упругий уплотнительный элемент сжат внутренним цилиндром и внешним цилиндром до заданной степени.
На внешнем цилиндре, имеющем глухое дно, обеспечены зубчатые колеса 5 и 6 (средства приводной передачи) и защелкивающийся участок 1e. В частности, зубчатые колеса 5 и 6 обеспечены на одном торце по длине внешнего цилиндра (поверхности дна цилиндрического участка), и защелкивающийся участок 1e обеспечен на внешней поверхности внешнего цилиндра.
Контейнер по настоящему варианту осуществления собирают посредством сцепления между выступом 500 (элементом, подлежащим направлению, или направляемым элементом), обеспеченным на внутреннем цилиндре, и выемкой (удлиненным отверстием) 700 (направляющим элементом), обеспеченной на внешнем цилиндре. Тем самым выполняется функция регулирования положения внешнего цилиндра относительно внутреннего цилиндра в продольном направлении контейнера подачи тонера. Взаимосвязь между выемкой и выступом может обращаться с точки зрения направляющего элемента и направляемого элемента.
Ниже, со ссылкой на Фиг.23, приведено описание операции приведения в готовность и операции установки контейнера подачи тонера.
Операция приведения в готовность контейнера подачи тонера
Во-первых, пользователь открывает крышку 15 для смены и вставляет контейнер подачи тонера в устройство приема тонера.
В то время, когда контейнер подачи тонера находится в положении установки, отверстие для выпуска тонера внутреннего цилиндра находится в положении напротив отверстия приема тонера, с заслонкой проявочного устройства между ними, и, с другой стороны, отверстие для выпуска тонера внешнего цилиндра не находится напротив отверстия приема тонера, но, по существу, обращено вверх. Второе зубчатое колесо 6, аналогично вариантам осуществления 1 и 2, не имеет зацепления с приводным зубчатым колесом 12 и находится в положении на расстоянии от него (Фиг.23, (a)).
Затем герметизирующая пленка отрывается от контейнера пользователем.
После этого внешний цилиндр поворачивается в положение готовности пользователем относительно внутреннего цилиндра, зафиксированного к устройству приема тонера (не способного поворачиваться относительно последнего).
Когда контейнер подачи тонера находится в положении готовности, защелкивающийся участок контейнера подачи тонера находится в захватном зацеплении с заслонкой проявочного устройства. Поскольку заслонка проявочного устройства зафиксирована, отверстие приема тонера закрыто. В это время отверстие для выпуска тонера внешнего цилиндра не сообщается проходом для текучей среды с отверстием для выпуска тонера внутреннего цилиндра (Фиг.23, (b)).
После этого крышка 15 для смены закрывается пользователем.
Во взаимодействии с операцией закрывания крышки 15 для смены приводное зубчатое колесо 12 начинает вращение, и затем внешний цилиндр (отверстие для выпуска тонера) автоматически поворачивается к положению подачи относительно внутреннего цилиндра, зафиксированного к устройству приема тонера по принципу, сходному со случаем в вариантах 1 и 2. При автоматическом повороте контейнера подачи тонера заслонка проявочного устройства опускается защелкивающимся участком.
Когда контейнер подачи тонера достигает положения подачи (отверстие для выпуска тонера внешнего цилиндра), отверстие приема тонера открывается или вскрывается и отверстие для выпуска тонера внешнего цилиндра совмещается с отверстием для выпуска тонера внутреннего цилиндра. В результате отверстие для выпуска тонера внутреннего цилиндра, отверстие для выпуска тонера внешнего цилиндра и отверстие приема тонера все оказываются совмещенными в пространстве и допускают подачу тонера (Фиг.23, (c)).
Что касается операции съема контейнера подачи тонера, пользователь приводит внешний цилиндр, помещенный в положение подачи, в поворот к положению установки в направлении, противоположном направлению во время операции приведения в готовность, вследствие чего второе зубчатое колесо 6 обращается к положению разнесения с приводным зубчатым колесом 12. При этом взаимосвязано выполняется операция повторного плотного закрывания отверстия для выпуска тонера внутреннего цилиндра и отверстия приема тонера.
При этом, когда контейнер подачи тонера перемещается из положения подачи к положению установки, отверстие 400 для выпуска тонера внешнего цилиндра поддерживается открытым, но отверстие 900 для выпуска тонера внутреннего цилиндра повторно плотно закрывается внешним цилиндром. И, так как отверстие 400 для выпуска тонера внешнего цилиндра обращено вверх, количество высыпающегося тонера очень мало, если вообще имеется.
Как описано выше, в конструкции, представленной в настоящем примере, обеспечиваются положительные эффекты, сходные с вариантами осуществления 1 и 2.
Как описано выше, внешний цилиндр может поворачиваться относительно внутреннего цилиндра, но в альтернативном варианте внутренний цилиндр, имеющий закрытый торец, может поворачиваться относительно внешнего цилиндра, зафиксированного от поворота относительно устройства приема тонера. В частности, на окружной поверхности внутреннего цилиндра обеспечен защелкивающийся участок 1e, и на торцевой поверхности (нижней поверхности цилиндрического участка) внутреннего цилиндра обеспечены первое зубчатое колесо 5 и второе зубчатое колесо 6. С другой стороны, внешний цилиндр снабжен направляющим отверстием для направления перемещения защелкивающегося участка, с проходом сквозь защелкивающийся участок 1e. При такой конструкции, когда контейнер подачи тонера находится в положении установки, отверстие для выпуска тонера внешнего цилиндра совмещено с отверстием приема тонера и отверстие для выпуска тонера внутреннего цилиндра направлено вверх. После этого пользователь вручную поворачивает контейнер подачи тонера (внутренний цилиндр), и затем выполняется автоматический поворот контейнера подачи тонера (внутреннего цилиндра) при вращении приводного зубчатого колеса 12, и отверстие для выпуска тонера внутреннего цилиндра совмещается с отверстием для выпуска тонера внешнего цилиндра и с отверстием приема тонера. Когда контейнер подачи тонера извлекается аналогично вышеописанным вариантам осуществления, пользователь поворачивает контейнер подачи тонера из положения подачи в положение установки, и тогда контейнер подачи тонера можно извлечь.
Вариант осуществления 4
Ниже, со ссылкой на Фиг.24, приведено описание контейнера 1 подачи тонера в соответствии с вариантом осуществления 4. Основные конструкции контейнера являются такими же, как в вариантах осуществления выше, и поэтому подробного описания таких конструкций не дано для простоты. На фигурах позиции, идентичные позициям в вышеописанных вариантах осуществления, присвоены элементам, имеющим соответствующие функции.
Как показано на Фиг.24, второе зубчатое колесо 6 представляет собой ступенчатое зубчатое колесо, отличающееся от вариантов осуществления 1 и 2. Второе зубчатое колесо 6 содержит зубчатое колесо 6′ также в нижнем положении. Зубчатое колесо 6′ закреплено для соосного вращения как одно целое со вторым зубчатым колесом 6. Зубчатое колесо 6′ находится в зубчатом зацеплении с первым зубчатым колесом 5.
При этом скорость вращения подающего элемента может быть настроена на относительно низкое значение, без изменения скорости вращения приводного зубчатого колеса 12, поскольку первое зубчатое колесо 5, находящееся в непосредственном зацеплении с подающим элементом, выполнено большего размера (число зубьев также больше) по сравнению с вариантом осуществления 1. С другой стороны, либо диаметр второго зубчатого колеса 6 выполнен не меньше с учетом величины автоматического поворота контейнера подачи тонера во время операции приведения в готовность, либо число зубьев выполнено не меньше, и второе зубчатое колесо 6 имеет конструкцию, сходную с вариантами осуществления 1 и 2. В настоящем варианте осуществления второе зубчатое колесо 6 имеет конструкцию ступенчатого зубчатого колеса и обеспечено зубчатое колесо 6′ для передачи вращательного усилия от второго зубчатого колеса 6 к первому зубчатому колесу 5.
Первое зубчатое колесо 5 имеет диаметр 31 мм и число зубьев 62; второе зубчатое колесо 6 имеет диаметр 23 мм и число зубьев 23; и зубчатое колесо 6′ имеет диаметр 11 мм и число зубьев 22. Приводное зубчатое колесо 12 является таким же, как в вариантах осуществления 1 и 2.
Такие же положительные эффекты, как в вариантах осуществления 1 и 2, могут быть обеспечены в настоящем варианте осуществления.
Вариант осуществления 5
Ниже, со ссылкой на Фиг.25, приведено описание варианта осуществления 5. Основные конструкции в настоящем варианте осуществления являются такими же, как в вариантах осуществления 1 и 2, и поэтому подробного описания общих частей не приводится. На фигурах позиции, идентичные позициям в вариантах осуществления 1 и 2, присвоены элементам, имеющим соответствующие функции.
В вышеприведенных вариантах осуществления средство приводной передачи контейнера подачи тонера для зацепления с приводным зубчатым колесом 12 является зубчатым колесом (второе зубчатое колесо 6), но в настоящем варианте осуществления средство приводной передачи для зацепления с приводным зубчатым колесом 12 представляет собой ремень 1000 приводной передачи, как показано на фигуре 25. Зубчатое колесо 5, находящееся в зубчатом зацеплении с ремнем приводной передачи, может вращаться соосно с подающим элементом 4 аналогично вышеописанным вариантам осуществления.
Ремень 1000 приводной передачи снабжен внешними зубьями, предназначенными для зацепления с зубьями приводного зубчатого колеса 12, по его внешней поверхности. Ремень 1000 приводной передачи проведен вокруг двух шкивов 1100 и 1200 (вращающийся опорный элемент) с заданным натяжением. Осевые участки шкивов установлены с возможностью вращения на торцевой поверхности контейнера подачи тонера.
Для предотвращения скользящего смещения ремня приводной передачи относительно любого из шкивов на этапе автоматического поворота контейнера подачи тонера, целесообразно, чтобы, по меньшей мере, что-то одно из внутренней поверхности ремня приводной передачи и внешней поверхности каждого из шкивов было обработано для усиления трения. В настоящем варианте осуществления внутренняя поверхность ремня приводной передачи и внешние поверхности шкивов подвергнуты обработке для создания шероховатой поверхности. Чтобы предотвратить проскальзывание между ремнем приводной передачи и каждым из шкивов, ремень приводной передачи и шкивы могут быть выполнены из материала с большим коэффициентом трения, в каковом случае обработка для придания высокого коэффициента трения не обязательна. В альтернативном варианте внутреннюю поверхность ремня приводной передачи можно снабдить зубьями и, соответственно, внешнюю поверхность каждого из шкивов можно снабдить зубьями для надежного исключения возможности проскальзывания между ними.
Поскольку центр вращения наружного шкива 1200, несущего ремень 1000 приводной передачи, расположен эксцентрично по отношению к центру вращения контейнера подачи тонера, то возможен автоматический поворот контейнера подачи тонера, как в вариантах осуществления 1 и 2.
В настоящем варианте осуществления обеспечено зубчатое колесо 5 для обращения направления вращения ремня приводной передачи с расчетом на характеристики подачи и выпуска тонера подающим элементом, но их можно не рассматривать. В частности, положение шкива 1200 (центра вращения) не меняется и положение шкива 1100 (центра вращения) совмещено с центром поворота контейнера подачи тонера. Шкив 1100 соосно соединен с подающим элементом 4, и, кроме того, ремень 1000 приводной передачи надет на шкивы в форме цифры «8».
При такой схеме проведения ремня 1000 приводной передачи характеристики подачи и выпуска тонера можно удовлетворительно обеспечить без необходимости обеспечения другого зубчатого колеса 5 (реверсного механизма). Другими словами, автоматический поворот контейнера подачи тонера обеспечивается без ущерба для характеристик подачи и выпуска тонера.
Кроме того, в настоящем варианте осуществления применяется ремень 1000 приводной передачи вместо второго зубчатого колеса 6, но ремень 1000 приводной передачи можно использовать, например, вместо первого зубчатого колеса 5. В таком случае второе зубчатое колесо 6 может быть таким же, как в вариантах осуществления 1 и 2.
Вариант осуществления 6
Ниже, со ссылкой на Фиг.26, приведено описание контейнера 1 подачи тонера в соответствии с вариантом осуществления 6. Основные конструкции контейнера являются такими же, как в вариантах осуществления 1 и 2, и поэтому подробного описания таких конструкций не дано для простоты. На фигурах позиции, идентичные позициям в вышеописанных вариантах осуществления, присвоены элементам, имеющим соответствующие функции.
Как показано на Фиг.26, контейнер 1 подачи тонера содержит первое зубчатое колесо 5 и второе зубчатое колесо 6, при этом соотношение между их диаметрами противоположно тому, что имеет место в вариантах осуществления 1 и 2, в частности первое зубчатое колесо 5 имеет диаметр 20 мм и второе зубчатое колесо 6 имеет диаметр 40 мм.
В настоящем варианте осуществления положение установки, в направлении по окружности, второго зубчатого колеса 6 относительно корпуса 1a контейнера выбрано так, чтобы обеспечить полезные эффекты, сходные с таковыми в вариантах осуществления 1 и 2.
В частности, когда контейнер 1 подачи тонера находится в положении установки, второе зубчатое колесо 6 не находится в зубчатом зацеплении с приводным зубчатым колесом 12, и, когда контейнер 1 подачи тонера находится в положении готовности, второе зубчатое колесо 6 приведено в зубчатое зацепление с приводным зубчатым колесом 12.
В настоящем варианте осуществления в отличие от варианта осуществления 1 скорость вращения первого зубчатого колеса 5, приводимого вращательным усилием второго зубчатого колеса 6, обеспечиваемым от приводного зубчатого колеса 12, в два раза больше, чем скорость вращения в варианте осуществления 1, благодаря передаточному отношению. Тем самым можно увеличить скорость вращения подающего элемента и можно увеличить скорость выпуска тонера из контейнера 1 подачи тонера.
С другой стороны, существует возможность, что усилится вращательный момент, необходимый для перемешивания и подачи тонера, и поэтому передаточное отношение между двумя зубчатыми колесами выбирают с учетом вида содержащегося тонера (различия по удельному весу в зависимости от того, является ли тонер магнитным или немагнитным), количества содержащегося тонера, выходной мощности приводного электродвигателя и т.п.
Чтобы дополнительно увеличить скорость выпуска тонера, диаметр первого зубчатого колеса 5 выполняют еще меньше и второе зубчатое колесо делают крупнее.
Если имеет значение требование к крутящему моменту, то диаметр первого зубчатого колеса 5 выполняют больше и диаметр второго зубчатого колеса выполняют меньше, как в вариантах осуществления 1 и 2.
Вариант осуществления 7
Ниже, со ссылкой на Фиг.27, приведено описание контейнера 1 подачи тонера в соответствии с вариантом осуществления 7. Основные конструкции контейнера являются такими же, как в вариантах осуществления 1 и 2, и поэтому подробного описания таких конструкций не дано для простоты. На фигурах позиции, идентичные позициям в варианте осуществления 1, присвоены элементам, имеющим соответствующие функции.
В настоящем варианте осуществления число зубчатых колес приводной передачи (средства приводной передачи) больше, чем в вариантах осуществления 1 и 2.
В частности, в вариантах осуществления 1 и 2 приводное усилие передается на подающий элемент 4 двумя зубчатыми колесами 5 и 6. Как показано на Фиг.27, приводное усилие передается на подающий элемент 4 четырьмя зубчатыми колесами 5, 6a, 6b и 6c.
В случае с большим числом зубчатых колес можно обеспечить положительные эффекты, сходные с упомянутыми вариантами 1 и 2. Зубчатые колеса 6a, 6b и 6c установлены с возможностью вращения на контейнер.
Как показано на Фиг.27, число зубчатых колес, которые передают приводное усилие на первое зубчатое колесо 5, является нечетным, направление вращения зубчатого колеса 6a (элемента приводной передачи, элемента, воспринимающего приводное усилие) для непосредственного восприятия вращательного приводного усилия от приводного зубчатого колеса 12 противоположно направлению вращения первого зубчатого колеса 5. Поэтому направление вращения подающего элемента 4 можно обеспечить против часовой стрелки на Фиг.12. Это допускает подачу тонера вверх к отверстию для выпуска тонера, расположенному сбоку подающего элемента 4, и поэтому можно повысить эффективность подачи и выпуска тонера.
Когда контейнер подачи тонера воспринимает вращательное приводное усилие от приводного зубчатого колеса 12, направление вращения зубчатого колеса 6a, которое установлено с возможностью вращения в самом удаленном положении от центра поворота контейнера подачи тонера, между зубчатыми колесами 6a-6c, является таким же, как направление автоматического поворота контейнера подачи тонера.
Поэтому в настоящем варианте осуществления аналогично вариантам осуществления 1 и 2 возможно надлежащее выполнение автоматического поворота на операции приведения в готовность контейнера подачи тонера.
Как описано выше, когда контейнер подачи тонера снабжают тремя или более зубчатыми колесами приводной передачи, число зубчатых колес выбирают надлежащим образом, с учетом характеристик подачи и выпуска тонера, то есть направления вращения подающего элемента. В настоящем варианте осуществления число зубчатых колес приводной передачи, обеспеченных на контейнере подачи тонера, является четным.
С точки зрения снижения стоимости изготовления путем сокращения числа составляющих элементов контейнера подачи тонера варианты осуществления 1 и 2 являются предпочтительными вследствие применения только одного зубчатого колеса для передачи приводного усилия на первое зубчатое колесо 5.
Вариант осуществления 8
Ниже, со ссылкой на Фиг.28, приведено описание контейнера 1 подачи тонера в соответствии с вариантом осуществления 8. Основные конструкции контейнера являются такими же, как в вариантах осуществления 1 и 2, и поэтому подробного описания таких конструкций не дано для простоты. На фигурах позиции, идентичные позициям в варианте осуществления 1, присвоены элементам, имеющим соответствующие функции.
В вариантах осуществления 1 и 2 применяются зубчатые колеса в качестве средства приводной передачи (первое зубчатое колесо 5 и второе зубчатое колесо 6). В настоящем варианте осуществления, как показано на Фиг.28, средство приводной передачи содержит первое фрикционное колесо 5′ и второе фрикционное колесо 6′, которые имеют сопряженные или контактирующие поверхности, способные к зацеплению или контакту между собой для приводной передачи, при этом поверхности выполнены из материала с высоким фрикционным сопротивлением. Приводное зубчатое колесо 12 устройства приема тонера сходно с аналогичным колесом в предыдущих вариантах осуществления.
Примеры материала X, обладающего высоким фрикционным сопротивлением, включают в себя резину, наждачную бумагу, липкую ленту и т.п. В настоящем варианте осуществления применяется упругий элемент из резинового материала, который обладает высоким фрикционным сопротивлением. Чтобы правильно передавать приводное усилие, между фрикционными колесами создают заданную степень давления. Чтобы предотвратить проскальзывание между фрикционными колесами, давление, подлежащее созданию между ними, правильно регулируют в зависимости от степени сопротивления материала с фрикционным сопротивлением.
Резиновая поверхность второго фрикционного колеса 6′ находится в зацеплении с приводным зубчатым колесом 12, и поэтому зубья приводного зубчатого колеса 12 врезаются в резиновую поверхность так, что зацепление является сходным с зубчатым зацеплением между зубчатыми колесами. При такой конструкции настоящего варианта осуществления вращательное приводное усилие от устройства приема тонера на контейнер подачи тонера передается надлежащим образом.
В настоящем варианте осуществления применение фрикционных колес в качестве средств приводной передачи также обеспечивает автоматический поворот на операции приведения в готовность контейнера подачи тонера аналогично вариантам осуществления 1 и 2.
С точки зрения эффективного создания толкающего внутрь усилия предпочтительно применение зубчатых колес.
Вариант осуществления 9
Ниже, со ссылкой на Фиг.29, приведено описание контейнера 1 подачи тонера в соответствии с вариантом осуществления 9. Основные конструкции контейнера являются такими же, как в вариантах осуществления 1 и 2, и поэтому подробного описания таких конструкций не дано для простоты. На фигурах позиции, идентичные позициям в вышеописанных вариантах осуществления, присвоены элементам, имеющим соответствующие функции.
В вариантах осуществления 1 и 2 (Фиг.3) второе зубчатое колесо 6 находится за пределами внешней окружной поверхности корпуса 1a контейнера при наблюдении в продольном направлении. С другой стороны, в настоящем варианте осуществления, как показано на Фиг.29, второе зубчатое колесо 6 не находится за пределами внешней окружной поверхности контейнера подачи тонера, при наблюдении в продольном направлении контейнера подачи тонера. Размеры первого зубчатого колеса 5 и второго зубчатого колеса различаются.
Приводное зубчатое колесо 12 находится больше внутри относительно внутренней области корпуса 1a контейнера за пределами внешней окружной поверхности корпуса 1a контейнера по сравнению с вышеописанными вариантами осуществления.
Центр вращения второго зубчатого колеса 6 отстоит от центра поворота контейнера подачи тонера в радиальном направлении так, что осевой участок данного колеса расположен эксцентрично. При такой конструкции автоматический поворот контейнера подачи тонера обеспечивается сходно с вариантами 1 и 2.
Конструкция по настоящему варианту осуществления, в которой первое зубчатое колесо 5 и второе зубчатое колесо 6 не выступают за пределы внешней окружной поверхности корпуса 1a контейнера, предпочтительна в том смысле, что контейнер 1 подачи тонера более удобен для упаковки, и поэтому можно снизить вероятную опасность повреждения во время операций транспортировки или поставки.
Вариант осуществления 10
Ниже, со ссылкой на Фиг.30, приведено описание контейнера 1 подачи тонера в соответствии с вариантом осуществления 10. Основные конструкции контейнера являются такими же, как в вариантах осуществления 1 и 2, и поэтому подробного описания таких конструкций не дано для простоты. На фигурах позиции, идентичные позициям в варианте осуществления 1, присвоены элементам, имеющим соответствующие функции.
В вариантах осуществления 1 и 2 ось вращения второго зубчатого колеса 6 установлена с возможностью вращения на корпусе 1a контейнера, но в настоящем варианте осуществления, как показано на Фиг.30, на корпус 1a контейнера опирается участок отверстия второго зубчатого колеса 6.
В частности, второе зубчатое колесо 6 снабжено в центре вращения опорным участком (опорным отверстием), и колпачковый элемент 61 введен в зацепление в корпус 1a контейнера и проходит через опорный участок.
В частности, как показано на Фиг.30, опорный участок второго зубчатого колеса 6 зафиксирован и закреплен в участке отверстия, выполненного в торцевой поверхности корпуса 1a контейнера, посредством сцепляющего осевого элемента 65. Второе зубчатое колесо 6 имеет форму чашки, в которой обеспечен кольцевой элемент 64 (элемент скольжения, упругий элемент) из силиконового каучука в качестве средства создания сопротивления вращению и сжат до заданной степени. Кольцевой элемент 64 из силиконового каучука сжат между пружиной (поджимным элементом) 62 и нижней поверхностью участка чашки второго зубчатого колеса 6 посредством нажимного элемента 63 (поджимного элемента). Нажимной элемент 63 закреплен на сцепляющем осевом элементе 65. Колпачковый элемент 61 (поджимной элемент) прикреплен к сцепляющему осевому элементу 65 так, что пружина 62 сжата между колпачковым элементом 61 и нажимным элементом 63.
Таким образом, сопротивление вращению второго зубчатого колеса 6 относительно корпуса 1a контейнера устанавливают достаточно сильным.
При такой конструкции сопротивление проскальзыванию между кольцевым элементом 64 и вторым зубчатым колесом 6 усиливается, так что второе зубчатое колесо 6 не легко повернуть относительно корпуса 1a контейнера.
Участок отверстия корпуса 1a контейнера, в которое вставляют сцепляющий осевой элемент 65, расположен в месте, отнесенном от центра поворота корпуса 1a контейнера. То есть центр вращения второго зубчатого колеса 6 расположен эксцентрично относительно центра поворота корпуса 1a контейнера и установлен на корпус 1a контейнера посредством сцепляющего осевого элемента 65. Первое зубчатое колесо 5 имеет конструкции, сходные с конструкциями в вариантах осуществления 1 и 2. Конструкцию средства создания сопротивления вращению можно надлежащим образом видоизменять аналогично варианту осуществления 1.
При подобной конструкции в настоящем варианте осуществления можно обеспечить положительные эффекты, сходные с упомянутыми вариантами 1 и 2.
Вариант осуществления 12
Ниже, со ссылкой на Фиг.31, приведено описание контейнера 1 подачи тонера в соответствии с вариантом осуществления 2. Основные конструкции контейнера являются такими же, как в вариантах осуществления 1 и 2, и поэтому подробного описания таких конструкций не дано для простоты. На фигурах позиции, идентичные позициям в варианте осуществления 2, присвоены элементам, имеющим соответствующие функции.
В вышеописанном варианте осуществления 2 контейнер 1 подачи тонера вставляют в устройство 10 приема тонера с зубчатыми колесами 5 и 6 на передней по ходу стенке, но в настоящем варианте осуществления, как показано на Фиг.31, контейнер 1 подачи тонера вставляют в устройство 10 приема тонера, с зубчатыми колесами 5 и 6 на задней по ходу стенке.
В частности, зубчатые колеса 5 и 6 обеспечены на заднем по ходу краю контейнера 1 подачи тонера по отношению к направлению вставки и управляющая ручка 2 смонтирована так, чтобы соединительный участок между зубчатым колесом 6 и приводным зубчатым колесом 12 был открыт.
При подобной конструкции средства приводной передачи (зубчатые колеса 5, 6) могут быть защищены ручкой 2, что дает преимущество в этом смысле.
Конструкция на стороне устройства приема тонера отличается соответственно контейнеру подачи тонера, и, например, приводное зубчатое колесо 12 и т.п. обеспечены спереди.
В настоящем варианте осуществления при отличающемся направлении установки контейнера подачи тонера в устройство приема тонера можно обеспечить те же самые полезные эффекты.
Настоящее изобретение не ограничено приведенными примерами и допускает видоизменения. Например, контейнер подачи тонера в варианте осуществления 2 может быть таким, что его устанавливают с верхней стороны устройства приема тонера аналогично варианту осуществления 1. Средство приводной передачи, обеспечиваемое на внешнем цилиндре контейнера подачи тонера в варианте осуществления 3, можно заменить средством приводной передачи для контейнера подачи тонера в варианте осуществления 4.
Сравнительный пример
Ниже приведено сравнение контейнера 1 подачи тонера по варианту осуществления 1 с контейнером подачи тонера в сравнительном примере (Фиг.32), который содержит только зубчатое колесо 5 (без зубчатого колеса 6) по варианту осуществления 1.
В противоположность варианту осуществления 1 зубчатое колесо 5 контейнера 1 подачи тонера в сравнительном примере, приведенном на Фиг.32, входит в зацепление с приводным зубчатым колесом 12 устройства 10 приема тонера в момент, когда его вставляют в основной компоновочный узел устройства 100 формирования изображения. Направление поворота контейнера подачи тонера, необходимое для операции приведения в готовность контейнера подачи тонера, указано стрелкой B, и направление вращения зубчатого колеса 5 (подающего элемента 4) указано стрелкой A.
В случае подобной конструкции зубья одного из зубчатых колес могут упираться в зубья другого зубчатого колеса во время операции установки контейнера подачи тонера с результирующим износом или повреждением зубчатого колеса 5 контейнера подачи тонера и приводного зубчатого колеса устройства приема тонера.
В случае конструкции согласно сравнительному примеру направление B поворота контейнера подачи тонера и направление A вращения зубчатого колеса 5 (подающего элемента 4) противоположны друг другу. Поэтому, если угол поворота контейнера подачи тонера пользователем является недостаточным, с недостатком нельзя справиться, как в варианте осуществления 1.
Даже если поворот контейнера подачи тонера выполнен правильно, контейнер подачи тонера может повернуться в направлении, противоположном направлению поворота контейнера подачи тонера во время операции приведения в готовность, из-за нагрузки, создаваемой вращением подающего элемента 4, на этапе подачи тонера. Если такое происходит, то объем подачи тонера может стать недостаточным, что приводит к различным проблемам. В частности, когда текучесть тонера оказывается низкой в зависимости от окружающих условий высокой температуры и высокой относительной влажности окружающей среды, или чего-то подобного, или свойств тонера, то уменьшение объема подачи тонера ощутимо. Причина, как полагают, состоит в следующем.
В случае конструкции согласно сравнительному примеру на этапе подачи тонера (во время передачи вращательного приводного усилия на зубчатое колесо 5 в направлении A вращения на Фиг.33) подающему элементу 4 и корпусу 1a контейнера передаются усилия (по стрелке C на Фиг.33) в том же направлении, что и направление усилия, воспринимаемого от ведущего зубчатого колеса 12, посредством трения между осью 4a перемешивания и ее подшипниками в корпусе 1a контейнера и посредством трения между лопастью 4b перемешивания и внутренней поверхностью корпуса 1a контейнера.
Чтобы решить данную проблему, требуется механизм для регулирования поворота корпуса 1a контейнера в направлении A с результирующим повышением стоимости.
В случае со сравнительным примером приводная передача возможна даже, когда отверстие 1b для выпуска тонера и отверстие 10b приема тонера еще не вскрыты или не совмещены между собой. Если приводная передача происходит в данном состоянии, тонер не подается в устройство 10 приема тонера. Поскольку отверстие 1b для выпуска тонера закрыто заслонкой 3 контейнера, тонер не может двигаться с тем результатом, что тонер в контейнере не обязательно фрикционно взаимодействует с направляющим элементом 4, и формируются крупные частицы тонера.
ПРОМЫШЛЕННАЯ ПРИМЕНИМОСТЬ
В соответствии с настоящим изобретением можно обеспечить контейнер подачи проявителя, в котором возможно ослабление износа элемента приводной передачи.
Кроме того, можно обеспечить контейнер подачи проявителя, который может способствовать ослаблению износа приводного зубчатого колеса устройства приема проявителя.
Дополнительно можно обеспечить контейнер подачи проявителя, который может правильно подавать проявитель.
Настоящее изобретение описано со ссылкой на приведенные здесь конструкции, однако изобретение не ограничено изложенными сведениями, и настоящая заявка предназначена для охвата таких модификаций или изменений, которые могут быть в пределах целей изобретения или объема нижеследующей формулы изобретения.
Формула изобретения
1. Контейнер подачи проявителя, устанавливаемый с возможностью съема в устройство приема проявителя, которое содержит приводное зубчатое колесо, при этом контейнер подачи проявителя содержит: вмещающий участок, выполненный с возможностью вмещения проявителя; вращающийся выпускной элемент для выпуска проявителя из вмещающего участка в устройство приема проявителя, когда контейнер подачи проявителя занимает положение выпуска проявителя; воспринимающий приводное усилие элемент, выполненный с возможностью зацепления с приводным зубчатым колесом и вращения относительно своей оси для восприятия вращательного усилия от приводного зубчатого колеса для вращения выпускного элемента, при этом воспринимающий приводное усилие элемент является вращаемым посредством поворота вручную контейнера подачи проявителя в направлении приведения в готовность вокруг оси вмещающего участка в положение готовности, в котором воспринимающий приводное усилие элемент зацепляется с приводным зубчатым колесом, при этом воспринимающий приводное усилие элемент нагружается для создания сопротивления его вращению вокруг его оси для вращения контейнера подачи проявителя из положения приведения в готовность в положение выпуска проявителя вокруг оси вмещающего участка в направлении приведения в готовность посредством восприятия вращательного усилия от приводного зубчатого колеса.
2. Контейнер по п.1, дополнительно содержащий регулирующий элемент для регулирования установочной ориентации контейнера подачи проявителя относительно устройства приема проявителя так, чтобы предотвращать зацепление между элементом приводной передачи и приводным зубчатым колесом.
3. Контейнер по п.2, дополнительно содержащий отверстие для выпуска проявителя из контейнера, при этом регулирующий элемент регулирует установочную ориентацию контейнера подачи проявителя так, чтобы ориентировать вверх отверстие для выпуска проявителя.
4. Контейнер по п.2, в котором воспринимающий приводное усилие элемент содержит зубчатое колесо, имеющее центр вращения, который отклонен от центра поворота контейнера подачи проявителя.
5. Контейнер по п.2, в котором воспринимающий приводное усилие элемент содержит бесконечный ремень, имеющий зубья, способные к зацеплению с приводным зубчатым колесом.
6. Контейнер по любому из пп.1-5, в котором имеется элемент вторичного привода, соосный с выпускным элементом, для взаимодействия между воспринимающим приводное усилие элементом и элементом выпуска.
7. Контейнер по любому из пп.1-5, дополнительно содержащий стопор для стопорения поворота вручную контейнера подачи проявителя при операции поворота в положении готовности.
8. Контейнер по любому из пп.1-5, дополнительно содержащий стопор для стопорения поворота контейнера подачи проявителя при вращении приводного зубчатого колеса в положении выпуска проявителя.
9. Контейнер по п.8, дополнительно содержащий отверстие для выпуска проявителя из контейнера, при этом отверстие для выпуска проявителя расположено таким образом, что оно приводится в сообщение по текучей среде с отверстием приема проявителя в устройстве приема проявителя поворотом контейнера подачи проявителя в положение выпуска проявителя.
10. Контейнер по п.9, дополнительно содержащий участок взаимодействия, способный к зацеплению с заслонкой устройства приема проявителя для закрывания с возможностью открывания отверстия для приема проявителя, для увязывания между собой поворота контейнера подачи проявителя из положения готовности в положение выпуска проявителя и открывания заслонки.
11. Контейнер по любому из пп.1-5, дополнительно содержащий внешний корпус, способный поворачиваться вокруг вмещающего участка, который, по существу, заблокирован от поворота устройством приема проявителя, при этом поворот контейнера подачи проявителя представляет собой поворот внешнего корпуса.
12. Контейнер по любому из пп.1-5, в котором контейнер подачи проявителя устанавливается в устройство приема проявителя, по существу, в осевом направлении контейнера подачи проявителя.
13. Контейнер подачи проявителя, устанавливаемый с возможностью съема в устройство приема проявителя, которое содержит приводное зубчатое колесо, при этом контейнер подачи проявителя содержит: вмещающий участок, выполненный с возможностью вмещения проявителя; вращающийся выпускной элемент для выпуска проявителя из вмещающего участка в устройство приема проявителя, когда контейнер подачи проявителя занимает положение выпуска проявителя; воспринимающий приводное усилие элемент, выполненный с возможностью зацепления с приводным зубчатым колесом и вращения относительно своей оси для восприятия вращательного усилия от приводного зубчатого колеса для вращения выпускного элемента, при этом воспринимающий приводное усилие элемент является вращаемым посредством поворота вручную контейнера подачи проявителя в направлении приведения в готовность вокруг оси вмещающего участка в положение готовности, в котором воспринимающий приводное усилие элемент зацепляется с приводным зубчатым колесом, и средство для создания сопротивления вращению воспринимающего приводное усилие элемента вокруг его оси для вращения контейнера подачи проявителя из положения приведения в готовность в положение выпуска проявителя вокруг оси вмещающего участка.
14. Контейнер по п.13, дополнительно содержащий регулирующий элемент для регулирования установочной ориентации контейнера подачи проявителя относительно устройства приема проявителя так, чтобы предотвращать зацепление между воспринимающим приводное усилие элементом и приводным зубчатым колесом.
15. Контейнер по п.14, дополнительно содержащий отверстие для выпуска проявителя из контейнера, при этом регулирующий элемент регулирует установочную ориентацию контейнера подачи проявителя так, чтобы ориентировать вверх отверстие для выпуска проявителя контейнера подачи проявителя.
16. Контейнер по п.13, в котором средство создания сопротивления содержит нагрузочный элемент для приложения нагрузки к воспринимающему приводное усилие элементу.
17. Контейнер по п.14, в котором воспринимающий приводное усилие элемент содержит зубчатое колесо, имеющее центр вращения, который отклонен от центра поворота контейнера подачи проявителя.
18. Контейнер по п.14, в котором воспринимающий приводное усилие элемент содержит бесконечный ремень, имеющий зубья, способные к зацеплению с приводным зубчатым колесом.
19. Контейнер по любому из пп.13-18, в котором имеется элемент вторичного привода, соосный с выпускным элементом, для взаимодействия между воспринимающим приводное усилие элементом и элементом выпуска.
20. Контейнер по любому из пп.13-18, дополнительно содержащий стопор для стопорения поворота вручную контейнера подачи проявителя при операции поворота в положении готовности.
21. Контейнер по любому из пп.13-18, дополнительно содержащий стопор для стопорения поворота контейнера подачи проявителя при вращении приводного зубчатого колеса в положении выпуска проявителя.
22. Контейнер по п.21, дополнительно содержащий отверстие для выпуска проявителя из контейнера, которое расположено так, что оно приводится в сообщение по текучей среде с отверстием приема проявителя в устройстве приема проявителя поворотом контейнера подачи проявителя в положение выпуска проявителя.
23. Контейнер по п.22, дополнительно содержащий участок взаимодействия, допускающий зацепление с заслонкой для закрывания, с возможностью открывания, отверстия для выпуска проявителя, для увязывания между собой поворота контейнера подачи проявителя из положения готовности в положение выпуска проявителя и открывания заслонки.
24. Контейнер по любому из пп.13-18, дополнительно содержащий внешний корпус, способный поворачиваться вокруг вмещающего участка, который, по существу, заблокирован от поворота устройством приема проявителя, при этом поворот контейнера подачи проявителя представляет собой поворот внешнего корпуса.
25. Контейнер по п.13, в котором контейнер подачи проявителя устанавливается в устройство приема проявителя, по существу, в осевом направлении контейнера подачи проявителя.
26. Контейнер подачи проявителя, устанавливаемый с возможностью съема в устройство приема проявителя, которое содержит приводное зубчатое колесо, при этом контейнер подачи проявителя содержит: цилиндрический участок для вмещения проявителя; вращающийся выпускной элемент для выпуска проявителя из цилиндрического участка; и воспринимающий приводное усилие элемент, выполненный с возможностью зацепления с приводным зубчатым колесом и вращения относительно своей оси для восприятия вращательного усилия от приводного зубчатого колеса для вращения выпускного элемента, регулирующий элемент для регулирования установочной ориентации контейнера подачи проявителя относительно устройства приема проявителя так, чтобы предотвращать зацепление между элементом приводной передачи и приводным зубчатым колесом; и захватный элемент для вращения элемента приводной передачи посредством вращения вручную контейнера подачи проявителя вокруг центра вращения вышеуказанного цилиндрического участка в положение приведения в готовность, в котором воспринимающий приводное усилие элемент зацепляется с приводным зубчатым колесом, и средство для создания сопротивления вращению воспринимающего приводное усилие элемента вокруг его оси для вращения контейнера подачи проявителя из положения приведения в готовность в положение выпуска проявителя вокруг центра вращения указанного цилиндрического участка в направлении приведения в готовность посредством восприятия вращательного усилия от приводного зубчатого колеса.
27. Контейнер по п.26, в котором воспринимающий приводное усилие элемент содержит зубчатое колесо, имеющее центр вращения, который отклонен от центра поворота указанного цилиндрического участка.
28. Контейнер по п.26, в котором воспринимающий приводное усилие элемент содержит бесконечный ремень, имеющий зубья, способные к зацеплению с приводным зубчатым колесом.
29. Контейнер по п.26, в котором захватный элемент расположен на торцевой поверхности контейнера подачи проявителя.
30. Устройство формирования изображения, содержащее: устройство приема проявителя, содержащее: установочный участок для установки с возможностью съема контейнера подачи проявителя, причем, установочный участок допускает поворот контейнера подачи проявителя в направлении приведения в готовность; приводное зубчатое колесо, вращающееся с возможностью приложения вращательного усилия, при этом контейнер подачи проявителя содержит: цилиндрический участок для вмещения проявителя; вращающийся выпускной элемент для выпуска проявителя из цилиндрического участка в устройство приема проявителя, когда контейнер подачи проявителя занимает положение для выпуска проявителя; воспринимающий приводное усилие элемент, выполненный с возможностью зацепления с приводным зубчатым колесом и вращения относительно своей оси для восприятия вращательного усилия от приводного зубчатого колеса для вращения выпускного элемента; регулирующий элемент для регулирования установочной ориентации контейнера подачи проявителя относительно устройства приема проявителя так, чтобы предотвращать зацепление между элементом приводной передачи и приводным зубчатым колесом; и захватный элемент для вращения воспринимающего приводное усилие элемента посредством вращения вручную контейнера подачи проявителя вокруг центра вращения вышеуказанного цилиндрического участка в положение приведения в готовность, в котором воспринимающий приводное усилие элемент зацепляется с приводным зубчатым колесом, и средство для создания сопротивления вращению воспринимающего приводное усилие элемента вокруг его оси для вращения контейнера подачи проявителя из положения приведения в готовность в положение выпуска проявителя вокруг центра вращения указанного цилиндрического участка в направлении приведения в готовность посредством восприятия вращательного усилия от приводного зубчатого колеса.
31. Контейнер по любому из пп.1-5, в котором поворот контейнера подачи проявителя представляет собой поворот корпуса контейнера.
32. Контейнер по любому из пп.13-18, в котором поворот контейнера подачи проявителя представляет собой поворот корпуса контейнера.
33. Контейнер по любому из пп.26-28, в котором поворот контейнера подачи проявителя представляет собой поворот корпуса контейнера.
РИСУНКИ
|