|
(21), (22) Заявка: 2009108203/02, 10.03.2009
(24) Дата начала отсчета срока действия патента:
10.03.2009
(46) Опубликовано: 27.08.2010
(56) Список документов, цитированных в отчете о поиске:
RU 2231742 C2, 27.06.2004. RU 2280835 C1, 27.07.2006. RU 2231741 C2, 27.06.2004. FR 2886004 A1, 24.11.2006. GB 2354060 A, 14.03.2001.
Адрес для переписки:
142406, Московская обл., г. Ногинск, ул. Советской конституции, 23-А, кв.8, А.Л.Качалову
|
(72) Автор(ы):
Вареных Николай Михайлович (RU), Вагонов Сергей Николаевич (RU), Фильковский Михаил Иосифович (RU), Брыксин Сергей Викторович (RU)
(73) Патентообладатель(и):
Вареных Николай Михайлович (RU), Вагонов Сергей Николаевич (RU), Фильковский Михаил Иосифович (RU), Брыксин Сергей Викторович (RU)
|
(54) ПИРОТЕХНИЧЕСКИЙ ПАТРОН ИНФРАКРАСНОГО ИЗЛУЧЕНИЯ
(57) Реферат:
Изобретение относится к боеприпасам, модифицированным для электрического воспламенения, используемым для защиты летательных аппаратов. Патрон включает гильзу, в которой установлена функциональная шашка, закрытая крышкой, опирающейся на обечайку, формирующую ресивер над электровоспламенительным устройством, взаимодействующим с клеммами кассетного держателя на фюзеляже летательного аппарата. Функциональная шашка установлена на сетчатой диафрагме, отделяющей ее от ресивера. Выходное окно колпачка с инициирующим зарядом перекрыто газопроницаемой мембраной, а нижний кольцевой электрод установлен на контактной поверхности фланца, коаксиально центральному токовводу, и посредством нагрузочного резистора подключен к его обтюрирующему фланцу, изолированному от верхнего дискового электрода. Предложенное техническое решение позволило механически предотвратить ложное замыкание электросхемы отработавшего патрона в его трехэлектродном электровоспламенителе с раздельным подключением в режимах контроля и действия, чем обеспечивается повышение функциональной надежности по помеховой защите летательных аппаратов, за счет регламентной проверки внутренних электроцепей перед использованием по назначению. 1.з.п. ф-лы, 5 ил.
Изобретение относится к боеприпасам, а более конкретно к пиротехническим помехосоздающим патронам, модифицированным для электрического воспламенения.
Уровень данной области техники характеризует патрон, описанный в патенте RU 2282131, F42В 5/08, 2006 г., содержащий гильзу с функциональным наполнением, которое сообщается с соосно установленным в донном фланце электровоспламенительным устройством, содержащим смонтированный посредством нетоковедущей втулки в цилиндрическом резьбовом корпусе центральный токоввод, примыкающий к нижнему из двух, разделенных изоляционной прокладкой, дисковых электродов, связанных мостиком накаливания, размещенным в инициирующем воспламенение составе.
Инициирующий состав содержится в снабженной выходным окном оболочке, опирающейся на верхний электрод, связанный с корпусом, открытый торец которого завальцован со стороны функционального заряда гильзы.
Особенностью электровоспламенительного устройства является наличие горизонтальной перемычки, представляющей собой обтюрирующий фланец центрального токоввода, который установлен на уступе корпуса и геометрически с ним связан профильной втулкой, что предохраняет прорыв горячих продуктов горения воспламенительного заряда в затвор оружия.
Описанное электровоспламенительное устройство служит автономной сборочной единицей и является независимым элементом комплектации различных патронов (см. патент RU 33642, 2003 г.).
По технической сущности наиболее близким аналогом предложенному пиротехническому патрону выбран описанный в патенте RU 2231742, F42В 5/15, 12/70, 2004 г., в котором описан пиротехнический патрон инфракрасного излучения, используемый в составе кассетного держателя, установленного на фюзеляже летательного аппарата для постановки ложной цели, имитирующей генерируемым аэрозольным облаком тепловое излучение от работающих двигателей.
Известный патрон содержит цилиндрический корпус с резьбовым электровоспламенителем, установленным в центральной обойме корпуса, которая оснащена на выходе дросселирующей дюзой для формирования огневого факела, направленного воспламенительного действия на функциональную пиротехническую шашку, опирающуюся через обтюратор на полый цилиндрический поддон (обечайку), который формирует ресивер, где накапливаются газообразные продукты горения шашки в патроне.
Цилиндрическая шашка по периметру имеет продольные каналы, развивающие поверхность горения, и примыкает к внутренней поверхности корпуса через радиальный зазор, служащий для огнепередачи воспламенительного импульса.
Глубина продольных каналов шашки имеет несколько большую величину, чем размер кольца обтюратора, для гарантированной коммуникации ресивера с наружной поверхностью шашки при воспламенении.
При подаче электрического импульса с борта летательного аппарата на электровоспламенитель патрона, удерживаемого в кассете держателя за донный фланец, посредством дросселирующей дюзы формируется плотный узконаправленный огневой форс, поступающий на воспламенение пиротехнического состава функциональной шашки, при горении которой генерируется аэрозоль, заполняющий ресивер.
Возросшее давление накопившихся газообразных продуктов горения, которое распределено, передается через кольцевой обтюратор на шашку и далее на крышку. При этом крышка своим продольным перемещением отгинает лепестки завальцованного торца, освобождая проход для шашки, выбрасываемой в атмосферу, где она догорает и создает аэрозольное облако инфракрасного излучения.
Источником инфракрасного излучения служит раскаленная твердая фаза аэрозоля, которая формирует ложную цель для средств обнаружения и наведения противника.
Однако этот пиротехнический патрон характеризуется следующими недостатками.
В дросселирующей дюзе обоймы, в которой закреплен злектровоспламенитель, динамично формируется огневой форс, который надежно воспламеняет пиротехническую шашку, но при этом (особенно на малых калибрах) возможны случаи ее разрушения, что произвольно меняет режим горения и метания полезного наполнения патрона, объем маскирующего облака уменьшается, снижая эффективность действия по назначению, боевая задача не выполняется в заданном объеме.
Кроме того, сажа, неизбежно образующаяся при горении пиротехнического состава функциональной шашки, оседает на контактные элементы внутри оболочки электровоспламенителя (центральный токоввод и верхний дисковый электрод), электрически замыкая их, что имитирует мостик накаливания, который уже перегорел.
В результате этого на дисплее пускового устройства летательного аппарата появляется ложный сигнал о готовности патрона к запуску в работу.
Защита летательного аппарата в форме постановки ложной цели при этом не реализуется, что недопустимо в условиях боевых действий.
Задачей, на решение которой направлено настоящее изобретение, является повышение функциональной надежности помехосоздающего патрона.
Требуемый технический результат достигается тем, что в известном пиротехническом патроне инфракрасного излучения, в гильзе которого установлена функциональная шашка, закрытая крышкой, опирающейся на обечайку, формирующую ресивер над электровоспламенительным устройством, взаимодействующим с клеммами кассетного держателя на фюзеляже летательного аппарата посредством смонтированных в монтажной колодке, выполненной в виде фланца гильзы, центрального токоввода и разделенных нетоковедущей прокладкой нижнего и верхнего электродов, последний из которых мостиком накаливания электрически связан с центральным токовводом, оснащенным обтюрирующим фланцем и замкнутым на корпус, при этом мостик накаливания размещен в инициирующем заряде колпачка, выходное окно которого направлено в сторону шашки, согласно изобретению функциональная шашка установлена на сетчатой диафрагме, отделяющей ее от ресивера, выходное окно колпачка с инициирующим зарядом перекрыто газопроницаемой мембраной, а нижний кольцевой электрод установлен на контактной поверхности фланца, коаксиально центральному токовводу, и посредством нагрузочного резистора подключен к его обтюрирующему фланцу, изолированному от верхнего дискового электрода, при этом газопроницаемая мембрана выходного окна электровоспламенительного устройства выполнена в форме установленного на колпачке, сетчатого кожуха, фланец которого залит слоем компаунда в зазоре между поперечной нажимной накладкой колпачка и завальцованным на нее торцом оболочки.
Отличительные признаки механически предотвратили ложное замыкание электросхемы отработавшего патрона в его трехэлектродном электровоспламенителе с раздельным подключением в режимах контроля и действия, чем обеспечивается повышение функциональной надежности по помеховой защите летательных аппаратов, за счет регламентной проверки внутренних электроцепей перед использованием по назначению.
При этом активный контроль целостности электроцепей средства инициирования помехосоздающих боеприпасов проводится непосредственно с борта летательного аппарата перед стрельбой, в дежурном режиме опорного напряжения.
Установка функциональной шашки на газопроницаемой сетчатой диафрагме, во-первых, предохраняет ее от разрушающего действия остронаправленного огненного факела, формируемого инициирующим зарядом электровоспламенителя, а во-вторых, исключает оседание сажи в ресивер и, следовательно, внутрь оболочки сработавшего электровоспламенителя.
На это же направлена газопроницаемая мембрана, непосредственно перекрывающая выходное окно колпачка электровоспламенителя, что служит второй ступенью предохранения от несанкционированного замыкания его контактов, при котором на дисплее пульта управления вырабатывается ложный сигнал о готовности к запуску уже сработавшего патрона.
Крепление фланца сетчатого кожуха, установленного на колпачке электровоспламенителя (в качестве сетчатой мембраны выходного окна), к поперечной накладке посредством слоя компаунда, залитого под завальцовку торца оболочки, обеспечило монолитную преграду, исключающую прорыв горячих продуктов горения функциональной шашки к фюзеляжу летательного аппарата.
Выполнение нижнего дискового электрода в форме кольца, установленного на контактной поверхности коаксиально обтюрирующему фланцу центрального токоввода, формирует дополнительный контакт альтернативного подключения электровоспламенителя к источнику тока, что расширяет технологические возможности изделия.
Подключение нижнего дискового электрода к центральному токовводу через нагрузочный резистор, электрическое сопротивление которого на два порядка выше электрического сопротивления мостика накаливания, позволяет регламентно прозвонить всю электроцепь устройства, гарантированно исключив при этом накаливание мостика.
Механическое разделение верхнего дискового электрода и обтюрирующего фланца нетоковедущей прокладкой обеспечивает их электрическую связь только через центральный токоввод, что необходимо для независимой подачи рабочего тока непосредственно на мостик накаливания.
Перекрытие выходного отверстия колпачка с воспламенительным зарядом газопроницаемой диафрагмой необходимо для предотвращения электрического замыкания мостика накаливания оседающей сажей после горения снаряжения боеприпаса, что исключает подачу ложного сигнала на пульте управления о готовности сработавшего электровоспламенителя к стрельбе.
Выполнение диафрагмы в виде сетки из жаропрочного материала обеспечивает проницаемость форса пламени при горении воспламенительного состава и препятствует попаданию частиц сажи внутрь колпачка электровоспламенителя, что, в конечном счете, повышает безопасность летательного аппарата при постановке ложной цели или маскировочного облака.
Дополнительный технический эффект расширения технологических возможностей заключается в том, что предложенная конструкция позволяет идентифицировать в пусковом устройстве на борту летательного аппарата патроны разного функционального назначения по видам полезной нагрузки: противолокационных дипольных отражателей, дымовой завесы инфракрасного излучения и т.п.
Это достигается использованием в электрической схеме воспламенителя нагрузочных резисторов различного номинала омического сопротивления, формирующих разный уровень контролируемого тока на выходе, каждый из которых присущ конкретному виду изделий.
Следовательно, каждый существенный признак необходим, а их совокупность в устойчивой взаимосвязи является достаточной для достижения новизны качества, неприсущей признакам в разобщенности, то есть поставленная техническая задача решается не суммой эффектов, а новым сверхэффектом суммы признаков.
Проведенный сопоставительный анализ предложенного технического решения с выявленными аналогами уровня техники, из которого изобретение явным образом не следует для специалиста по боеприпасам, показал, что оно не известно, а с учетом возможности промышленного серийного изготовления противорадиолокационных патронов и патронов инфракрасного излучения можно сделать вывод о его соответствии критериям патентоспособности.
Сущность предложенного изобретения поясняется чертежами, которые имеют чисто иллюстративные цели и не ограничивают объема притязаний формулы. На чертежах изображены:
на фиг.1 – помехосоздающий патрон инфракрасного излучения;
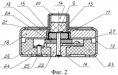
на фиг.2 – общий вид электровоспламенителя, продольный разрез;
на фиг.3 – вид 1 на фиг.2;
на фиг.4 – разрез по А-А на фиг.2;
на фиг.5 – схема электрической связи электродов.
Предлагаемый патрон инфракрасного излучения содержит (фиг.1) установленные соосно в алюминиевом корпусе 1 пиротехническую шашку 2 и электровоспламенитель 3, укрепленный в донном фланце 4 корпуса 1, за который патрон удерживается в кассетном держателе на фюзеляже летательного аппарата.
Шашка 2 опирается на обечайку 5, формирующую ресивер 6 над выходным соплом 7 электровоспламенителя 3.
Между шашкой 2 и обечайкой 5 расположена сетчатая диафрагма 8, выполненная из нержавеющей стали.
Шашка 2 сверху закрыта уплотнительной крышкой 9, завальцованной материалом открытого торца корпуса 1, обеспечивая их силовое и геометрическое замыкание в служебном обращении.
Шашка 2 оснащена продольными огнепередаточными каналами 10 для распространения теплового импульса на ее боковую поверхность, увеличивая тем самым поверхность горения шашки 2 и интенсивность генерирования функционального аэрозоля.
Электровоспламенитель 3 содержит (фиг.2) помещенный в колпачок 11 воспламенительный заряд 12, внутри которого размещен мостик 13 накаливания, электрически связанный (фиг.2 и 3) с центральным токовводом 14 и верхним дисковым электродом 15, установленным на нетоковедущей прокладке 16.
Имеющий выходное отверстие 17 колпачок 11 (фиг.2) плотно примыкает к верхнему дисковому электроду 15 посредством поперечной накладки 18, которая сверху нагружена завальцовкой открытого торца оболочки 19, чем обеспечивается их электрический контакт при геометрическом и силовом замыкании.
Соосное соплу 7 фланца 4 корпуса 1 выходное отверстие 17 колпачка 11 перекрыто сетчатой диафрагмой 20 из нержавеющей стали, которая в форме конгруэнтного кожуха установлена на колпачке 11. Фланец сетчатого кожуха залит слоем 21 герметика, заполняющего зазор между завальцовкой открытого торца оболочки 19 и опорной поверхностью накладки 18, при этом герметик слоя 21 монолитно приклеивает сетку диафрагмы 20 к несущей накладке 18.
Жаропрочный материал сетки 20 из легированной стали устойчив к температуре горения воспламенительного заряда 12.
Частицы сажи, неизбежно образующиеся при горении любого функционального состава снаряжения боеприпаса, оседают на сетке диафрагмы 20 и не проникают внутрь колпачка 11. Этим исключена возможность несанкционированного замыкания промежутка между центральным токовводом 14 и верхним дисковым электродом 15, электрически имитирующим при этом сигнал на дисплее пульта управления от мостика 13 накаливания, который фактически сгорел, что характерно для прототипа.
В этом случае может произойти ложный запуск сработавшего патрона, который не выполнит функцию по постановке аэрозольной помехи для защиты летательного аппарата, что недопустимо.
Центральный токоввод 14 оснащен обтюрирующим фланцем 22, который установлен в монтажной колодке 23 из электроизоляционного материала.
Верхний дисковый электрод 15 от обтюрирующего фланца 22 центрального токоввода 14 отделен нетоковедущей прокладкой 24.
На контактном торце колодки 23 коаксиально центральному токовводу 14 закреплен кольцевой нижний электрод 24, который проводниками-заклепками 25 жестко связан через шину 26 с нагрузочным резистором 27, подсоединенным через обтюрирующий фланец 22 к центральному токовводу 14 (фиг.2 и 4).
Таким образом сформирована трехэлектродная схема (фиг.5) электровоспламенителя 3 в составе последовательно подключенных: нижнего кольцевого электрода 25 – центрального токоввода 14 – верхнего дискового электрода 15, прикрепленного к корпусной оболочке 19, при этом нижний дисковый электрод 25 и центральный токоввод 14 связаны через нагрузочный резистор 27, а центральный токоввод 14 и верхний дисковый электрод 15 – через мостик 13 накаливания.
Особенностью этой трехэлектродной схемы электровоспламенителя 3 является то, что электрическое сопротивление участка цепи между нижним кольцевым электродом 25 и центральным токовводом 14 значительно (в 100 раз) больше, чем электрическое сопротивление участка цепи между центральным токовводом 14 и верхним дисковым электродом 15, а именно: электрическое сопротивление нагрузочного резистора 25 составляет 200 Ом, а электрическое сопротивление мостика 13 накаливания – 2 Ом.
Это позволяет производить регламентную проверку целостности электрической схемы электровоспламенителя 3, смонтированного в боеприпасе, путем подачи на нижний электрод 25 и оболочку 19 опорного напряжения Uоп, падение которого происходит на нагрузочном резисторе 27, а ток, протекающий по мостику 13 накаливания, является много ниже уровня, необходимого для разогрева до температуры плавления.
Однако при этом на дисплее блока управления на борту летательного аппарата вырабатывается сигнал, свидетельствующий о целостности электроцепи воспламенительного устройства 3 и функциональной готовности патрона в целом.
Структурно электрическая схема связи функциональных элементов представляет собой два контура связанных последовательно:
нижний кольцевой электрод 25 – нагрузочный резистор 27 – обтюрирующий фланец 22 – центральный токоввод 14 – мостик 13 накаливания – верхний дисковый электрод 15 – оболочка 19 (для регламентной проверки);
центральный токоввод 14 – мостик 13 накаливания – верхний дисковый электрод 15 – оболочка 19 (для рабочего напряжения).
Функционирует пиротехнический патрон следующим образом.
При нажатии кнопки «Пуск» на пульте управления в кабине летательного аппарата рабочее напряжение Up подается к центральному токовводу 14 электровоспламенителя 3 (фиг.5) и через корпусную оболочку 19 к верхнему дисковому электроду 15, в результате чего на мостике 13 накаливания появляется разность потенциалов с выделением тепла, которым воспламеняется термочувствительный состав заряда 12 в оболочке 11 (фиг.2).
Форс горячих газообразных продуктов горения заряда 12 через сетчатую диафрагму 20 выходного отверстия 17 оболочки 14 и фокусирующее сопло 7 фланца 4 корпуса 1 патрона (фиг.1) поступает на функциональную шашку 2, воспламеняя ее с торца и посредством каналов 10 по ее периметру.
При этом слой 21 герметика и обтюрирующий фланец 22 (фиг.2) центрального токоввода 14, примыкающий к уступу колодки 23, отражают горячие газообразные продукты горения воспламенительного заряда 12 и пиротехнической шашки 2, препятствуя их прорыву к кассетному держателю на борту летательного аппарата.
При горении пиротехнического состава шашки 2 генерируется аэрозоль, в частности, инфракрасного излучения конденсированной фазы.
Аэрозоль проникает через жаростойкую сетку мембраны 8 и заполняет объем ресивера 6.
Возросшим давлением газообразных продуктов горения шашки 2 в ресивере 6 крышка 9 вышибается из отгинаемой завальцовки открытого торца корпуса 1.
Далее функциональный аэрозоль свободно истекает в атмосферу, где формирует ложную цель для средств обнаружения и наведения в виде облака, имитирующего работающие двигатели летательного аппарата, посредством инфракрасного излучения в ближнем спектре частот диапазона.
Оседающая сажа, которая образуется при горении пиротехнического состава шашки 2, задерживается на сетках мембраны 8 и диафрагмы 20, гарантированно не попадая внутрь колпачка 11 сработавшего электровоспламенителя 3.
Предложенное техническое решение позволяет расширить функциональные возможности пускового устройства летательного аппарата за счет идентификации перед целевым запуском в работу различных видов патронов с разным наполнением за счет установки в них нагрузочных резисторов 27 дискретного номинала, например, 150 Ом, 200 Ом, 250 Ом, получая различные по уровню сигналы на дисплее пускового устройства.
Так автоматически, подачей опорного напряжения при прозвонке внутренних электроцепей электровоспламенителя 3, месторасположение однородных патронов в кассетном держателе фиксируется в каналах пуска.
Таким образом, предложенное техническое решение расширяет технологические возможности и повышает функциональную надежность патронов целевого действия, что в конечном счете увеличивает живучесть летательных аппаратов за счет мобильной постановки необходимой защиты от средств обнаружения и наведения противника.
Стендовые испытания опытных образцов предложенного пиротехнического патрона с модернизированной конструкцией электровоспламенителя подтвердили целесообразность его серийного внедрения для защитного оснащения летательных аппаратов.
Формула изобретения
1. Пиротехнический патрон инфракрасного излучения для летательного аппарата, в гильзе которого установлена функциональная шашка, закрытая крышкой и опирающаяся на обечайку, формирующую ресивер над электровоспламенительным устройством, взаимодействующим с клеммами кассетного держателя на фюзеляже летательного аппарата посредством смонтированных в монтажной колодке, выполненной в виде фланца гильзы, центрального токоввода и разделенных нетоковедущей прокладкой нижнего и верхнего электродов, последний из которых мостиком накаливания электрически связан с центральным токовводом, оснащенным обтюрирующим фланцем и замкнутым на корпус, при этом мостик накаливания размещен в инициирующем заряде колпачка, выходное окно которого направлено в сторону шашки, отличающийся тем, что функциональная шашка установлена на сетчатой диафрагме, отделяющей ее от ресивера, выходное окно колпачка с инициирующим зарядом перекрыто газопроницаемой мембраной, а нижний кольцевой электрод установлен на контактной поверхности фланца коаксиально центральному токовводу и посредством нагрузочного резистора подключен к его обтюрирующему фланцу, изолированному от верхнего дискового электрода.
2. Пиротехнический патрон по п.1, отличающийся тем, что газопроницаемая мембрана выходного окна электровоспламенительного устройства выполнена в форме установленного на колпачке сетчатого кожуха, фланец которого залит слоем компаунда в зазоре между поперечной нажимной накладкой колпачка и завальцованным на нее торцом оболочки.
РИСУНКИ
|