|
|
(21), (22) Заявка: 2006119148/11, 31.05.2006
(24) Дата начала отсчета срока действия патента:
31.05.2006
(30) Конвенционный приоритет:
01.06.2005 (пп.1-23) EP 05011815
(43) Дата публикации заявки: 27.12.2007
(46) Опубликовано: 27.08.2010
(56) Список документов, цитированных в отчете о поиске:
DE 202004012543 U1, 30.12.2004. EP 1070859 A2, 24.01.2001. DE 10200964 A1, 31.07.2003. RU 14619 U1, 10.08.2000. US 3901612 A, 26.08.1975.
Адрес для переписки:
129090, Москва, ул. Б.Спасская, 25, стр.3, ООО “Юридическая фирма Городисский и Партнеры”, пат.пов. С.А.Дорофееву, рег. 146
|
(72) Автор(ы):
БАЕР Вальтер (CH)
(73) Патентообладатель(и):
КАНИА АГ (CH)
|
(54) СИСТЕМА СОЕДИНЕНИЯ ПРОФИЛЕЙ
(57) Реферат:
Изобретение касается системы соединения профилей и способа для соединения профильных стержней. Система соединения профилей состоит из профильных стержней и соединительных элементов. Профильные стержни на наружных сторонах имеют пазы для соединений с помощью установочных шпонок. Соединительный элемент состоит из устанавливаемой опоры, которая выполнена с возможностью вставки и фиксации в аксиальном продольном отверстии в первом профильном стержне. Опора имеет сквозное отверстие для прохождения винта, который опирается на опору. На окружающем отверстие трубчатом теле предусмотрено отверстие под ключ. Во втором профильном стержне расположена анкерная стяжка, выполненная с возможностью натягивания посредством винта. Отверстие под ключ в прилегании к положению установки опоры и головки винта с аксиальной длиной, по меньшей мере, 40 мм позволяет прохождение установочного ключа с шарниром или с по существу сферической головкой с лысками под углом 10-50°, преимущественно 20-40°, к продольной оси профильного стержня одновременно через зазор паза на наружной стороне профиля и через отверстие под ключ и обеспечивает вставку в головку винта, причем во втором профильном стержне в зависимости от типа углового соединения, как соединение торцевая сторона – продольная сторона или соединение торцевая сторона – торцевая сторона, или, соответственно, в зависимости от угла соединения, как прямой угол, тупой угол или острый угол, расположена соответственно подогнанная анкерная стяжка и натянута посредством винта. Способ для соединения упомянутых многоугольных профильных стержней характеризуется тем, что с торцевой стороны первого профильного стержня в аксиальное продольное отверстие вместе с винтом вводят и фиксируют опору, которая преимущественно представляет собой самонарезающую резьбовую вставку, через отверстие под ключ предусмотренное в трубчатом теле, в головку винта устанавливают установочный ключ под углом вставки приблизительно 10-40° к продольной оси первого профильного стержня, и с помощью винта натягивают расположенную во втором профильном стержне анкерную стяжку. В результате упрощается монтаж и увеличивается надежность конструкции. 2 н. и 21 з.п. ф-лы, 10 ил.
Изобретение касается системы соединения профилей, состоящей из профильных стержней и соединительных элементов, согласно ограничительной части пункта 1 формулы изобретения и способа соединения профильных прутков.
Системы соединения профилей, состоящие из профильных стержней из прессованного в горячем состоянии алюминия или из синтетического материала с различными соединительными элементами, известны.
Большинство систем соединения профилей требуют для закрепления соединительных элементов машинной обработки концов профильных стержней, в частности сверления по точной разметке отверстий, идущих поперек продольной оси профильного стержня. В прежнее время резьба нарезалась в аксиальных продольных отверстиях одного профильного стержня или устанавливались самонарезающие резьбовые вставки. Во втором профильном стержне через просверленное отверстие вводится винт и натягивается в первом профильном стержне в резьбовой вставке.
При изменении и/или увеличении конструкций из профильных стержней на их местах установки, например на выставке, часто отсутствуют соответствующие механизированные устройства. Возведение новых конструкций из профильных стержней, их изменение или увеличение должны производиться на месте их установки только с помощью простых монтажных инструментов, например простых ручных дрелей или т.п., причем это должно делаться быстро и часто при больших нагрузках.
Из ЕР 0458069 А1 известна система соединения профилей с многоугольными профильными стержнями, преимущественно с прямоугольным поперечным сечением. Эти профильные стержни имеют аксиальное продольное отверстие и на наружных сторонах профиля имеют пазы для соединения с помощью установочных шпонок. В две противолежащие друг другу пазовые камеры профильного стержня с торцевой стороны вкручиваются опоры в форме самонарезающих резьбовых вставок. Каждая из обеих резьбовых вставок нарезает на обеих полках, образующих Т-образный паз, и в дне пазовых камер резьбу, занимающую часть периметра. Резьбовые вставки имеют отверстия под установку стержня винта, имеющего форму винта с внутренним шестигранником, который с расположенной во втором профильном стержне установочной шпонкой дает соединение профилей. При расположении резьбовых вставок и винтов с внутренним шестигранником в двух противолежащих друг другу Т-образных камерах профильных стержней для достижения симметричной силовой передачи необходимо по меньшей мере две резьбовые вставки и два винта с внутренним шестигранником по обеим сторонам от нейтральной относительно усилия на изгиб оси. Стоимость по меньшей мере двух резьбовых вставок, двух винтов с внутренними шестигранниками и двух установочных шпонок, а также, в частности, затраты на монтаж каждого соединения соответственно высоки. Кроме того, сопротивление на срез резьбовых вставок в самонарезанных коротких участках с нарезанной резьбой в Т-образных камерах относительно мало. Из-за видимых с обеих сторон установленных резьбовых вставок в открытых Т-образных камерах существуют дополнительные ограничения в использовании Т-образных, в частности, в установке плоских элементов, а также ухудшается эстетичный вид конструкций из профильных стержней.
Задачей изобретения является устранение упомянутых в уровне технике недостатков и создание системы соединения профилей и способа для соединения многоугольных профильных стержней, который как в части материалов, так и затрат на монтажные работы был бы более экономичен, а также позволял бы осуществлять соединение профильных стержней без их предварительной машинной обработки. Далее соединения профильных стержней должны выдерживать большие нагрузки. Дополнительная существенная цель заключается в том, что наряду с соединением продольная сторона – торцевая сторона под прямым углом могут быть образованы соединения торцевая сторона – продольная сторона под острым или тупым углами, а также соединения в ус под углом 10-170°, и кроме этого, прямые и с «изломом» соединения торцевая сторона – торцевая сторона (далее – соединение торцевых сторон). Вместо самонарезающих резьбовых вставок должны быть применимы также новые и современные системы крепления, такие как склеивание, распорные втулки, точечная сварка и т.п., для крепления опор.
Согласно изобретению поставленная задача решается посредством признаков пункта 1 формулы изобретения, касающихся устройства, и/или пункта 22 формулы изобретения, касающихся способа.
С помощью заявленной системы соединения профилей и/или способа соединения многоугольных профильных стержней имеется возможность с помощью устанавливаемой опоры и винта, которые расположены в продольном отверстии в первом профильном стержне, осуществить натяжение анкерной стяжки, расположенной во втором профильном стержне, не прибегая при этом к каким-либо машинным операциям по обработке профильных стержней. Это позволяет осуществлять разработку и возведение конструкций из профильных стержней прямо на месте установки, не проводя дорогостоящих и требующих времени обрабатывающих операций в мастерских. Далее на каждое соединение, как правило, требуется только один комплект необходимых соединительных элементов, состоящий из опоры, винта и анкерной стяжки. Это дает экономию материала и труда и соответственно времени между разработкой и возведением конструкции из профильных стержней. Благодаря расположению соединительных элементов в аксиальном продольном отверстии первого профильного стержня соединение может воспринимать соответственно высокие статические и/или динамические усилия. Различные возможности закрепления опоры в круглом аксиальном продольном отверстии и выбор различных отличающихся между собой анкерных стяжек позволяют быстро и экономично применять заявленную систему для всех наиболее часто встречающихся на практике соединений, таких как соединений торцевая сторона – продольная сторона, соединений в ус, а также соединений торцевая сторона – торцевая сторона с различными углами соединения.
Опора в круглом аксиальном продольном отверстии может быть вставлена и зафиксирована самым различным способом. В принципе могут применяться все известные способы крепления, в частности, склеивание, соединения с помощью синтетических смол, распорные втулки, точечная сварка и т.п. Согласно одному примеру осуществления опора может быть выполнена в виде резьбовой вставки с самонарезающей наружной резьбой, которая устанавливается в аксиальном продольном отверстии.
Из уровня техники также известны различные виды осуществления для присоединения установочного (торцевого) ключа для натяжения винта. В качестве примера присоединительного профиля могут быть названы внутренний шестигранник, крестообразный шлиц и т.п. Далее при применении изобретения применимы все виды установочных ключей, аксиально вращаемых и вставляемых под углом через внешний паз и через отверстие под ключ, например, с карданным шарниром, шарнирной осью и т.д. Согласно одному примеру осуществления предлагается применять винт с цилиндрической головкой с внутренним шестигранником. Такие винты имеются в распоряжении по значительно меньшей стоимости, чем стандартные винты, и могут с помощью шестигранного ключа со сферической головкой присоединяться (т.е. сцепляться) под углом, преимущественно 15-50° к продольной оси профильного стержня, через отверстие под ключ к головке винта.
При квадратном поперечном сечении профиля аксиальное продольное отверстие расположено в виде центрального отверстия и имеет две нейтральные относительно работы на изгиб оси. При прямоугольном поперечном сечении, как правило, вдоль нейтральной относительно работы на изгиб оси профильного стержня расположено два или более аксиальных продольных отверстий, в которых могут, в зависимости от потребности, устанавливаться опоры.
Отверстие под ключ может быть сформировано в виде открытого паза или разрывного паза при изготовлении профиля. В профилях согласно уровню техники отсутствуют предварительно сформированные отверстия под ключ или поперечные сечения профиля с разрывным пазом. Согласно варианту осуществления предлагается в прилегании (смежно) к положению установки опоры и головки винта в профильном стержне с помощью монтажного инструмента открывать отверстие под ключ на длину приблизительно 40-80 мм.
Перекашивания резьбовой вставки при вкручивании в аксиальное продольное отверстие профильного стержня можно избежать, в частности, в случае срезанного в ус соединения профильных стержней, если резьбовые вставки примерно на 50% своей длины состоят из направляющей части с почти беззазорным допуском на скольжение относительно продольного отверстия и примерно на 50% своей длины из резьбовой части.
Режущие кромки на самонарезающей резьбовой части, которая преимущественно выполнена слегка конической, могут создаваться, например, с помощью по меньшей мере одного крепежного паза или т.п., на резьбовой части.
Продольное отверстие в резьбовой вставке должно выполнять две задачи. С одной стороны, оно должно быть достаточным для пропуска винта и, с другой стороны, оно должно обеспечивать установку с геометрическим замыканием затяжного инструмента при вкручивании резьбовой вставки в профильный стержень. Согласно изобретению продольное отверстие в резьбовой вставке на части длины снабжено, например, внутренним шестигранником под установку шестигранного ключа.
Отверстие под ключ для прохождения установочного ключа через трубчатое тело аксиального продольного отверстия может быть выполнено с помощью ручной дрели, малой ручной фрезы, с помощью небольшого режущего диска и т.д. прямо на месте установки конструкции из профильных стержней. Согласно дополнительному признаку изобретения в поперечном сечении трубчатого тела, которое образует аксиальное продольное отверстие, может быть предусмотрен разрывной паз для открывания отверстия под ключ предварительно заданной длины с помощью простых монтажных инструментов. Такой разрывной паз весьма существенно сокращает время сооружения конструкции из профильных стержней. При этом не происходит повреждения полок паза на внешних сторонах профиля, так что они не ограничены для других соединений. Кроме этого, из соображений дизайна можно отказаться от устройств, закрывающих отверстия под ключ.
Чтобы самонарезающие резьбовые вставки можно было без больших затрат усилий закрепить в аксиальном продольном отверстии, согласно одному примеру осуществления аксиальное продольное отверстие по окружности снабжено аксиально проходящими ребрами. Высота ребер может быть несколько больше, чем предусмотренная глубина резьбы, а расстояние между ребрами равно или больше ширины ребер.
Наряду с прямоугольными соединениями профильных стержней очень часто речь может идти о соединениях в ус с образованием тупого или острого угла в диапазоне 10-170° и прямолинейных аксиальных соединениях. Также могут быть изготовлены дополнительные примеры соединения с одинаковыми затяжными элементами, состоящими из устанавливаемой опоры или из резьбовой вставки и винтов, и подходящей к требуемому соединению анкерной стяжки с одинаковым способом натяжения. Наряду с простой установочной шпонкой с резьбой, нарезанной поперек или под углом к продольной оси паза, в качестве анкерной стяжки могут применяться: установочные шпонки с шарнирно установленной цилиндрической гайкой с глухой резьбой для винта; две шарнирно соединенные цилиндрические гайки; каждая с глухой резьбой для винта; открытая с обоих концов цилиндрическая гайка с внутренней резьбой для винта; опора со сквозной резьбой и т.д.
Для передачи больших усилий цилиндрические гайки согласно примеру осуществления могут иметь наружный диаметр, меньший по сравнению с аксиальным продольным отверстием на величину допуска на скольжение.
Дополнительная фиксация от смещения прямоугольного узла торцевая сторона – продольная сторона согласно другому примеру осуществления достигается за счет того, что стержень винта имеет острие с углом около 90° и длина стержня допускает врезание в дно паза второго профильного стержня.
Заявленная система соединения делает возможным согласование ширины отверстия под ключ к ширине Т-образного паза, расположенного на наружной стороне профильного стержня, или не превышать ее. Как правило, ширина отверстия под ключ соответствует ширине предварительно выполненному пазу. Подобное ограничение ширины отверстия под ключ допускает предусматривание отверстия под ключ при его изготовлении в виде сквозного паза под ключ в поперечном сечении профильного стержня и таким образом путем оптимизации поперечного сечения, насколько это необходимо, компенсировать обусловленную этим уменьшенную прочность на изгиб профильного стержня. В случае сквозного паза может быть обеспечена особенно предпочтительная фиксация опоры в аксиальном продольном отверстии с помощью приклеивания вместо самонарезающей резьбы.
Экономичности при применении заявленной системы соединения наряду с недорогими, простыми соединительными элементами способствуют простые и немногочисленные этапы способа, при этом все они могут быть реализованы на месте возведения или применения конструкции из профильных стержней.
В зависимости от положения соединительного узла в конструкции, состоящей из профильных стержней, вставка и ввод винтов через аксиальное продольное отверстие в опору может занимать достаточно времени и представлять сложности. Для устранения этих сложностей, согласно примеру осуществления предлагается в опоре или в резьбовой вставке на конце продольного отверстия на стороне направляющей части располагать выступающую внутрь кольцевую кромку. Кольцевая кромка может иметь такие размеры, что она зацепляется с резьбой винта с зазором и винт удерживается в резьбовой вставке с зазором (неплотно).
Ниже изобретение дополнительно поясняется с помощью примеров осуществления.
На чертежах показано:
фиг.1 – пример поперечного сечения профильного стержня;
фиг.2 – три соединительных элемента, необходимых для соединения профильных стержней;
фиг.3 – прямоугольное соединение профильных стержней в готовом монтажном состоянии;
фиг.4 – вид сверху на фиг.3, без установочного ключа;
фиг.5 – другой пример поперечного сечения профильного стержня;
фиг.6 – другой пример прямоугольного соединения профильных стержней;
фиг.7 и фиг.7а – другие примеры соединений профильных стержней под острым углом;
фиг.8 – другой пример прямолинейного аксиального соединения профильных стержней;
фиг.9 – другой пример поперечного сечения профильного стержня.
На фиг.1 изображено типовое квадратное поперечное сечение профильного стержня 2 для конструкций из профильных стержней. Такие профильные стержни 2 имеют, как правило, по меньшей мере на одной наружной стороне пазы 3 для установки установочных шпонок. В центре поперечного сечения расположено аксиальное продольное отверстие 4, здесь же показаны нейтральные относительно усилия на изгиб оси 5 и 6. В прямоугольном поперечном сечении может быть расположено, например, два аксиальных продольных отверстия с только одной нейтральной относительно усилия на изгиб осью. В трубчатом теле 7, которое окружает аксиальное продольное отверстие 4 и которое обозначено пунктирной линией, находится отверстие 8 под ключ, которое имеет приблизительно одинаковую ширину с пазом 3, которое дополнительно описывается применительно к фиг.3. Позицией 9 обозначены аксиально проходящие ребра в продольном отверстии 4. Такие ребра облегчают нарезку резьбы, в частности, с помощью самонарезающих резьбовых вставок.
На фиг.2 позицией 20 обозначена соответствующая поперечному сечению пазовой камеры установочная шпонка с резьбой 21. Вместо такой установочной шпонки 20 может применяться простая пластинчатая установочная шпонка. Резьбовая вставка 22 с самонарезающей преимущественно конически выполненной частью 23 с наружной резьбой и направляющей частью 24 представляет пример осуществления опоры. Другими примерами осуществления опор могут быть клеевые втулки, распорные втулки и т.д. Резьбовая и направляющая части занимают примерно по 50% общей длины резьбовой вставки 22. Далее резьбовая вставка 22 снабжена отверстием 25 для прохождения стержня 29 винта 28 с внутренним шестигранником. На стороне резьбовой части 23 отверстие 25 на части длины расширяется в шестигранник 26 для установки шестигранного ключа. На противоположной стороне внутреннего шестигранника 26 продольное отверстие 25 может быть снабжено выступающей внутрь кольцевой кромкой 41. Для получения режущих кромок на наружной резьбе 23 выполнен по меньшей мере один крепежный паз 27. С помощью выбора длины и глубины вкручивания резьбовой вставки 22 в профильный стержень может определяться длина стержня 29 винта 28 с внутренним шестигранником и, если желательно, то может быть выбрана стандартная длина стержня. Головка винта 28 снабжена внутренним шестигранником. Вместо винта с внутренним шестигранником могут быть выбраны винтовые и другие соединительные профили под установку ключа. Винт 28 может иметь на стержне 29 острие 40 с углом около 90°.
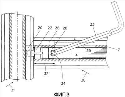
На фиг.3 и фиг.4 первый профильный стержень 30 соединен со вторым профильным стержнем 31 с помощью представленных на фиг.2 соединительных элементов (установочная шпонка 20, резьбовая вставка 22 и винт 28 с внутренним шестигранником). Шестигранный ключ 33 со сферической головкой 34 на фиг.3 изображен во вставленном положении. Сборка соединения осуществляется в соответствии с нижеследующими этапами. В первом профильном стержне 30, смежно с установочной длиной 32 резьбовой вставки 22 и винта 28 с внутренним шестигранником, в трубчатом теле 7, которое окружает аксиальное продольное отверстие 4, с помощью монтажного инструмента выполнено отверстие 35 под ключ. Длина (L) отверстия 35 под ключ выбирается таким образом, чтобы она была достаточной для установки шестигранного ключа 33 или ключа с шарнирной головкой или т.п. Затем в первый профильный стержень 30 с торцевой стороны в аксиальное продольное отверстие 4 с помощью шестигранного ключа вкручивается самонарезающая резьбовая вставка 22 и при этом одновременно в продольном отверстии 4 нарезается резьба. Направляющая часть 24 (фиг.2) обеспечивает центрирование резьбовой вставки 22 в продольном отверстии 4. Теперь винт 28 с внутренним шестигранником можно установить с другого конца профильного стержня 30 в продольное отверстие 4 и через отверстие 25 (фиг.2) резьбовой вставки 22. Шестигранный ключ 33 своей приблизительно сферической головкой 34 с лысками может быть установлен только наклонно, т.е. под углом примерно 10-40°, во внутренний шестигранник в головке винта 28 с внутренним шестигранником и после позиционирования установочной шпонки 20 во втором профильном стержне 31 с помощью винта с внутренним шестигранником может быть получено соединение обоих профильных стержней и после этого шестигранный ключ может быть извлечен. Т-образная камера 36 паза выше отверстия 35 под ключ остается нетронутой, как это можно видеть на фиг.4, и при необходимости может предоставить возможность присоединения других профильных стержней.
Имеются значительные преимущества, если вместе с опорой в отверстие аксиального продольного отверстия может быть установлен также и винт. Для этой цели в опоре или в резьбовой вставке (22) на направляющем конце продольное отверстие (25) (фиг.2) снабжено выступающей внутрь кольцевой кромкой (41), которая может входить в неплотное зацепление с резьбой винта (28). Винт может с помощью своей резьбы закрепляться на этой кромке (41) и вкручиваться в профильный стержень вместе с резьбовой вставкой. При натяжении винта 28 в анкерной стяжке 20 кольцевая кромка 41 теряет свою фиксирующую функцию на конце резьбы в области головки винта и позволяет обеспечить безупречное натяжение анкерной стяжки.
На фиг.5 согласно одному примеру осуществления показано поперечное сечение профильного стержня 50. Основное отличие этого профильного стержня 50 от поперечного сечения, показанного на фиг.1, заключается в формировании аксиального продольного отверстия 51. В трубчатом теле 52 (обозначено штрихпунктирной линией) при изготовлении профильного стержня 50 отформован разрывной паз 53. На обеих сторонах этого разрывного паза 53 имеются предварительно сформированные уменьшенные поперечные сечения 54, 541, которые образуют заданные места разрыва. После того, как на обеих концах предусмотренного отверстия под ключ, в разрывном пазу 53 просверлено по одному ограничивающему отверстию с помощью инструмента, например, отвертки, путем разрыва можно открыть этот паз 53 между обоими просверленными ограничительными отверстиями и таким образом быстро получить предусмотренное отверстие под ключ с соответствующей шириной и длиной. Так как длина отверстия под ключ составляет только от 5 до 8 см, т.е. составляет небольшой разрыв на длине профильного стержня, снижение прочности за счет открытого разрывного паза пренебрежимо мало. Также уменьшенная примерно на 60° окружность отверстия аксиального продольного отверстия 51, которая представлена для нарезания резьбы для резьбовой вставки или для вклеивания опоры, остается все еще достаточной для восприятия высоких статических или динамических усилий. Позицией 55 обозначены аксиально проходящие ребра вдоль окружности аксиального продольного отверстия 51. Высота ребер 55 несколько больше, чем предусмотренная глубина резьбы резьбовой вставки. Расстояние 56 между ребрами примерно равно или больше ширины ребер 57.
На фиг.6 представлено соединение 60 профильных стержней, в котором стержни соединены в ус, а само соединение образует угол 90°. Угол может быть и меньше и больше 90°, например, 150°. Оба профильных стержня 61 и 62 с торцевой стороны срезаны под углом 45°. В оба стержня в продольные отверстия 4, 41 вкручены резьбовые вставки 22, 221. Анкерная стяжка 63 состоит из двух цилиндрических гаек 64, 641 с глухой резьбой 65, 651 под винты 28, 281 с внутренним шестигранником. На сторонах, обращенных от глухой резьбы 65, 651, обе цилиндрические гайки 64, 641 соединены с шарниром 67. С помощью обоих винтов 28, 281 с внутренним шестигранником анкерная стяжка 63 натягивается в профильных стержнях 61, 62 относительно резьбовых вставок 22, 221 и так образуется соединение в ус. Позициями 35, 351 обозначены отверстия под ключ.
На фиг.7 показано остроугольное соединение торцовая сторона – продольная сторона. Анкерная стяжка 71 состоит из установочной шпонки 72 с шарнирно установленной цилиндрической гайкой 73 с глухой резьбой 74 под винт 28 с внутренним шестигранником. Позицией 35 обозначено отверстие под ключ. Вместо установочной шпонки 72 с шарнирно установленной цилиндрической гайкой 73, винт с внутренним шестигранником, как это представлено на фиг.7а, может взаимодействовать непосредственно с установочной шпонкой 20 с расположенной под углом резьбой 21.
На фиг.8 показано прямолинейное аксиальное соединение торцевых сторон. Анкерная стяжка 81 в форме открытой с двух сторон цилиндрической гайки 82 снабжена внутренней резьбой 83 под винты 28, 281 с внутренним шестигранником. Цилиндрическая гайка 82 на соответствующую частичную длину введена в первый или соответственно второй профильный стержень 84 или 85 в аксиальное продольное отверстие 4, 41 и с помощью винтов 28, 281 с внутренним шестигранником натянута в резьбовых вставках 22, 221. Позициями 35, 351 обозначено отверстие под ключ. В по существу прямолинейном соединении торцевых сторон, как вариант, можно отказаться от применения цилиндрической гайки 82, если одна из обеих резьбовых вставок 22, 221 снабжена внутренней резьбой в сквозном отверстии для удлиненного винта. Удлиненный винт может в этом случае вкручиваться непосредственно в резьбовую вставку профильного стержня, подлежащего соединению. Этот вариант не показан на фиг.8.
На фиг.9 в поперечном сечении профильного стержня 90 в трубчатом теле 91, которое образует аксиальное продольное отверстие 4, отформован паз 95 под ключ в процессе прессования профильного стержня.
Ширина паза 95 под ключ соответствует в этом примере ширине наружного паза 96. Паз 95 под ключ в трубчатом теле 91 уменьшает изгибающий момент профильного стержня 90. С помощью соответствующего увеличения толщины стенки трубчатого тела 91, насколько необходимо, может быть повышен изгибающий момент профильного стержня. В таких профильных стержнях 90 отпадает необходимость в открывании отверстия под ключ, что делает возможным более быстрый монтаж конструкции из профильных стержней на месте их использования с минимальным количеством монтажных инструментов. Профильные стержни 90 с пазом 95 под ключ могут применяться с дополнительным преимуществом для закрепления опор с помощью клеящих веществ, синтетических смол и т.д. Паз 95 под ключ в трубчатом теле 91 может быть, например, после установки опоры в профильном стержне, заполнен на длину опоры клеящим веществом и закрыт.
Формула изобретения
1. Система соединения профилей, состоящая из профильных стержней и соединительных элементов, при этом профильные стержни имеют многоугольное, преимущественно прямоугольное, поперечное сечение и на наружных сторонах имеют пазы (3, 36) для соединений с помощью установочных шпонок, а соединительный элемент состоит из устанавливаемой опоры, которая выполнена с возможностью вставки и фиксации в аксиальном продольном отверстии (4, 51) в первом профильном стержне (30), при этом опора имеет сквозное отверстие для прохождения винта (28), который опирается на опору, причем на окружающем отверстие трубчатом теле (7, 52) предусмотрено отверстие (35) под ключ, а во втором профильном стержне (31) расположена анкерная стяжка, выполненная с возможностью натягивания посредством винта (28), отличающаяся тем, что отверстие (35) под ключ в прилегании к положению (32) установки опоры и головки винта (28) с аксиальной длиной, по меньшей мере, 40 мм позволяет прохождение установочного ключа (33) с шарниром или с, по существу, сферической головкой (34) с лысками под углом 10-50°, преимущественно 20-40°, к продольной оси профильного стержня (30) одновременно через зазор паза (3, 36) на наружной стороне профиля и через отверстие (35) под ключ и обеспечивает вставку в головку винта (28), причем во втором профильном стержне (31, 85) в зависимости от типа углового соединения, как соединение торцевая сторона – продольная сторона или соединение торцевая сторона – торцевая сторона, или соответственно в зависимости от угла соединения, как прямой угол, тупой угол или острый угол, расположена соответственно подогнанная анкерная стяжка (20, 63, 71, 81) и натянута посредством винта (28).
2. Система соединения профилей по п.1, отличающаяся тем, что опора выполнена в виде резьбовой вставки (22) с самонарезающей наружной резьбой (23), которая нарезает резьбу в отверстии первого профильного стержня (30).
3. Система соединения профилей по п.1, отличающаяся тем, что винт (28) имеет цилиндрическую головку с присоединительным профилем для установочного ключа (33), преимущественно с внутренним шестигранником.
4. Система соединения профилей по п.1, отличающаяся тем, что аксиальное продольное отверстие (4, 51) имеет по меньшей мере одну нейтральную относительно усилия на изгиб ось (5, 6) профильного стержня (30).
5. Система соединения профилей по п.1, отличающаяся тем, что смежно с положением (32) установки опоры и головки винта (28) в профильном стержне (30) имеется отверстие (35) под ключ с длиной (L) около 40-80 мм.
6. Система соединения профилей по п.1, отличающаяся тем, что предназначена для соединения торцевая сторона – продольная сторона под прямым, тупым или острым углом, причем анкерная стяжка состоит из установочной шпонки (20) с отверстием (21) с внутренней резьбой под винт (28), причем отверстие (21) с внутренней резьбой размещено в установочной шпонке (20) под прямым углом или другим углом к продольной оси, а установочная шпонка (20) расположена во втором профильном стержне (31) в Т-образном пазу.
7. Система соединения профилей по п.1, отличающаяся тем, что предназначена для соединения торцевая сторона – продольная сторона под тупым или острым углом, причем анкерная стяжка (71) состоит из установочной шпонки (72) с шарнирно установленной цилиндрической гайкой (73) с глухой резьбой (74) под винт (28), а установочная шпонка (72) расположена во втором профильном стержне (31) в Т-образном пазу.
8. Система соединения профилей по п.1, отличающаяся тем, что предназначена для соединения в ус под углом 10-170°, причем анкерная стяжка (63) состоит из двух цилиндрических гаек (64, 641) с соответствующей глухой резьбой (65, 651) под винты (28, 281) и на стороне, обращенной от глухой резьбы (65, 651), соединены с помощью шарнира (67) и цилиндрические гайки (64 или 641) выполнены с возможностью установки в первом или соответственно во втором профильном стержне (30 или 31) в аксиальном продольном отверстии (4) и натяжения с помощью винтов (28, 281).
9. Система соединения профилей по п.1, отличающаяся тем, что предназначена для прямолинейного аксиального соединения торцевых сторон профильных стержней, причем анкерная стяжка (81) состоит из открытой с обеих сторон цилиндрической гайки (82) с внутренней резьбой (83) под винты (28, 281), и выполнена с возможностью ввода на частичную длину в первый или второй профильный стержень (84, 85) в аксиальное продольное отверстие (4, 41) и натяжения с помощью винтов (28, 281).
10. Система соединения профилей по п.2, отличающаяся тем, что предназначена для прямолинейного аксиального соединения торцевых сторон профильных стержней, причем резьбовая вставка (22) в одном из обоих профильных стержней снабжена внутренней резьбой и одновременно осуществляет функции опоры и анкерной стяжки.
11. Система соединения профилей по одному из пп.7-9, отличающаяся тем, что цилиндрические гайки (64, 641, 73, 82) имеют наружный диаметр, который меньше диаметра аксиального продольного отверстия (4) на допуск скольжения.
12. Система соединения профилей по п.2, отличающаяся тем, что резьбовая вставка (22) примерно на 50% своей длины состоит из направляющей части (24) и примерно на 50% из резьбовой части (23).
13. Система соединения профилей по п.12, отличающаяся тем, что резьбовая часть (23) снабжена по меньшей мере одним крепежным пазом (27).
14. Система соединения профилей по п.2, отличающаяся тем, что продольное отверстие (25) резьбовой вставки (22) на части длины имеет внутренний шестигранник (26) для установки шестигранного ключа.
15. Система соединения профилей по п.1, отличающаяся тем, что винт (28) на стержне (29) имеет острие (40) с углом около 90°, а длина стержня (29) допускает врезание в донную часть паза второго профильного стержня.
16. Система соединения профилей по п.1, отличающаяся тем, что поперечное сечение профильного стержня в трубчатом теле (52), которое образует аксиальное продольное отверстие (51), имеет разрывной паз (53) с предварительно сформированными заданными местами (54, 541) разрыва для открывания с помощью монтажного инструмента отверстия (35) под ключ на предварительно заданную длину (L).
17. Система соединения профилей по п.1, отличающаяся тем, что в поперечном сечении профильного стержня в трубчатом теле, которое образует аксиальное продольное отверстие (4), предусмотрен паз (95) под ключ.
18. Система соединения профилей по п.1, отличающаяся тем, что аксиальное продольное отверстие (4, 51) по окружности снабжено аксиально проходящими ребрами (9, 55), высота которых несколько больше предусмотренной глубины резьбы резьбовой вставки (22), а расстояние между ребрами (56) равно или больше ширины (57) ребра.
19. Система соединения профилей по п.1, отличающаяся тем, что ширина отверстия под ключ равна или меньше ширины (96) паза (97) на наружной стороне профиля.
20. Система соединения профилей по п.1 или 2, отличающаяся тем, что в опоре или соответственно в резьбовой вставке (22) на конце продольного отверстия (25) на стороне направляющей части (24) предусмотрена выступающая внутрь кольцевая кромка (41) для зацепления с резьбой винта.
21. Способ для соединения многоугольных профильных стержней по п.1, отличающийся тем, что с торцевой стороны первого профильного стержня (30) в аксиальное продольное отверстие (4) вместе с винтом вводят и фиксируют опору, которая преимущественно представляет собой самонарезающую резьбовую вставку (22); через отверстие (35) под ключ предусмотренное в трубчатом теле (7, 52), в головку винта (28) устанавливают установочный ключ (33) под углом вставки приблизительно 10-40° к продольной оси первого профильного стержня (30); и с помощью винта (28) натягивают расположенную во втором профильном стержне (31) анкерную стяжку.
22. Способ по п.21, отличающийся тем, что перед или после введения и фиксации опоры в примыкании к предварительно заданной монтажной позиции (32) опоры, преимущественно резьбовой вставки (22), и головки винта (28), с помощью монтажного инструмента, например ручной дрели или ручной фрезы, путем сверления или фрезерования осуществляют открытие отверстия (35) под ключ в первом или втором профильном стержне.
23. Способ по п.21, отличающийся тем, что в поперечном сечении профиля в трубчатом теле (52), окружающем продольное отверстие, предусмотрен разрывной паз (53) с предварительно сформированными заданными местами (54, 541) разрыва, перед или после введения и фиксации опоры в первом или втором профильном стержне с помощью монтажного инструмента путем пробивки или надрыва открывают разрывной паз (53) на предварительно заданную длину (L).
РИСУНКИ
|
|