|
|
(21), (22) Заявка: 2006123479/06, 26.11.2004
(24) Дата начала отсчета срока действия патента:
26.11.2004
(30) Конвенционный приоритет:
26.11.2003 NZ 529777 22.01.2004 NZ 530735 16.09.2004 NZ 535351
(43) Дата публикации заявки: 10.01.2008
(46) Опубликовано: 27.08.2010
(56) Список документов, цитированных в отчете о поиске:
RU 2137933 С1, 20.09.1999. US 1316192 A, 16.09.1919. DE 2832909 A1, 14.02.1980. US 2322056 A, 19.10.1943. US 4586881 A, 06.05.1986. US 6032622 A, 07.03.2000. SU 45769 A, 31.01.1936.
(85) Дата перевода заявки PCT на национальную фазу:
26.06.2006
(86) Заявка PCT:
NZ 2004/000306 20041126
(87) Публикация PCT:
WO 2005/052338 20050609
Адрес для переписки:
191036, Санкт-Петербург, а/я 24, “НЕВИНПАТ”, пат.пов. А.В.Поликарпову
|
(72) Автор(ы):
ШЕПЕРД Грейдон Обри (NZ)
(73) Патентообладатель(и):
ШЕПЕРД Грейдон Обри (NZ)
|
(54) ПОРШНЕВОЙ ДВИГАТЕЛЬ (ВАРИАНТЫ) И ТРАНСПОРТНОЕ СРЕДСТВО ИЛИ СУДНО, СОДЕРЖАЩЕЕ ПОРШНЕВОЙ ДВИГАТЕЛЬ
(57) Реферат:
Поршневой двигатель (10), работающий по двухтактному циклу, содержащий пару неподвижных установленных одной оси напротив друг друга поршней (13, 15) и гильзу (11), выполненную с возможностью совершения возвратно-поступательного движения относительно этих неподвижных поршней. Гильза (11) возвратно-поступательного движения ограничивает две полости, каждая из которых функционально связана с одним из поршней с ограничением камеры. Первая камера представляет собой камеру (21) предварительного впуска заряда и имеет по меньшей мере одно входное отверстие (25), а вторая камера является камерой (19) сгорания и имеет по меньшей мере одно выходное отверстие (35), при этом две камеры разделены управляемым давлением перепускным клапаном (23). Возвратно-поступательное движение гильзы (11) может быть преобразовано во вращательное движение. Двигатель не требует смешивания масла с топливом для смазки двигателя, имеет улучшенную систему всасывания и более эффективную систему продувки. 2 н. и 9 з.п. ф-лы, 19 ил.
ОБЛАСТЬ ПРИМЕНЕНИЯ
Изобретение относится к поршневому двигателю, в частности, но не исключительно, к поршневым двигателям с гильзовым распределением без коленчатого вала, и к транспортному средству или судну, содержащему такой двигатель.
ПРЕДПОСЫЛКИ ИЗОБРЕТЕНИЯ
За многие годы было разработано большое количество поршневых двигателей, каждый из которых обладает преимуществами или усовершенствованиями по сравнению с предыдущими моделями.
Поршневые двигатели на природном топливе в основном используют двухтактные или четырехтактные циклы. Двухтактные двигатели обладают тем преимуществом, что имеют один рабочий такт за один полный оборот в отличие от четырехтактных двигателей, имеющих один рабочий такт за каждые два полных оборота. Однако двухтактные двигатели имеют два явных недостатка. Первый состоит в том, что их система всасывания не всегда эффективна, некоторое количество несгоревшего топлива и/или кислорода теряется в выхлопной системе, а некоторое количество выхлопных газов остается в двигателе после такта выхлопа. Во-вторых, двухтактные двигатели часто нуждаются в добавлении масла в топливо для смазки коленчатого вала и поршня. Объединение обоих этих факторов означает, что двухтактные двигатели часто производят загрязнения окружающей среды более высокого уровня.
Дополнительной проблемой существующих известных двигателей является преобразование сил, испытываемых поршнем, во вращательное движение. Обычно это выполняется с использованием коленчатого вала. Однако коленчатый вал наиболее эффективен тогда, когда колено вала расположено под прямым углом к направлению движения поршня, и менее эффективен при других углах. Так как поршень испытывает наибольшие силы вблизи верхней мертвой точки, когда колено вала находится почти на одной линии с направлением движения поршня, то следствием этого является неэффективная передача сил к коленчатому валу.
ЦЕЛЬ ИЗОБРЕТЕНИЯ
Таким образом, задача представленного изобретения состоит в создании поршневого двигателя, который по меньшей мере является усовершенствованным и решает отмеченные выше проблемы, или по меньшей мере дает потребителю полезную альтернативу. Еще одна задача изобретения состоит в создании транспортного средства или судна, содержащего такой двигатель.
СУЩНОСТЬ ИЗОБРЕТЕНИЯ
Достижение указанной цели обеспечено путем создания поршневого двигателя, содержащего пару неподвижных и по существу концентрически расположенных на одной оси взаимно противоположных поршней, разделенных гильзой, выполненной с возможностью совершения возвратно-поступательного движения относительно поршней и ограничивающей две полости, каждая из которых функционально связана с одним из поршней с ограничением камеры, причем первая камера представляет собой камеру предварительного впуска заряда и имеет по меньшей мере одно входное отверстие, а вторая камера является камерой сгорания и имеет по меньшей мере одно выходное отверстие, и эти две камеры разделены перепускным клапаном, при этом гильза снабжена приводным элементом, который выполнен с возможностью воздействия на криволинейную направляющую на выходном элементе, имеющую кулачковый профиль, так что когда приводной элемент действует на направляющую, возвратно-поступательное движение гильзы вызывает вращательное движение выходного элемента.
Специалисты в этой области техники поймут преимущества этого поршневого двигателя. Объем камеры предварительного впуска заряда может быть больше, чем объем камеры сгорания, создавая возможность улучшенного выпуска струи отработанных газов из камеры сгорания и/или наддува камеры сгорания. К тому же, можно смазывать поршневые кольца через неподвижные проходные каналы, устраняя необходимость добавления масла в топливо.
Такой двигатель не подвержен ограничениям, накладываемым вращательным движением коленчатого вала. Ограничения двигателя с коленчатым валом состоят в том, что наибольшая мощность извлекается из цилиндра в то время, когда коленчатый вал находится в положении, соответствующем интервалу от двух часов до четырех часов по циферблату. В противоположность этому предложенный двигатель способен эффективно извлекать мощность из гильзы возвратно-поступательного движения в течение большего интервала времени движения гильзы.
Выходной элемент предпочтительно содержит поворотную гильзу, выполненную с возможностью вращения вокруг гильзы возвратно-поступательного движения. Такое устройство особенно компактно, и выходная мощность от двигателя может быть непосредственно приложена к нагрузке, например, к колесу или к ступице гребного винта.
Тогда как криволинейная направляющая может быть выполнена в форме кривой с одним максимумом, она предпочтительно может быть выполнена в форме кривой с несколькими максимумами, так что для совершения одного полного оборота выходной гильзы необходимо более одного полного цикла движения гильзы возвратно-поступательного движения. Для некоторых применений преимуществом может быть использование двигателя с большим крутящим моментом, но с малым числом оборотов в минуту, например, двигателя, в котором необходимо выполнить 12 циклов движения гильзы возвратно-поступательного движения для совершения одного оборота выходной гильзы. Такой двигатель может быть полезен для приведения в движение судового гребного винта на соответствующей скорости без необходимости использования коробки передач.
Хотя перепускной клапан может приводиться в действие механически, предпочтительно, чтобы перепускной клапан приводился в действие давлением. Такое устройство клапана имеет по меньшей мере два преимущества. Во-первых, это устраняет необходимость использования дополнительного механизма, который может вызвать связанные с ним дополнительные потери мощности и может нуждаться в дополнительном обслуживании. Во-вторых, устройство может улучшить систему всасывания газов в двигателе, так как клапан может быть выполнен так, что он открывается, как только давление в камере предварительного впуска заряда превысит давление в камере сгорания, что желательно для содействия однонаправленному потоку воздуха из камеры предварительного впуска заряда в камеру сгорания.
Входное отверстие камеры предварительного впуска заряда предпочтительно может быть снабжено клапаном, управляемым давлением. Такое устройство имеет те же преимущества, что и перепускной клапан, управляемый давлением.
Выходное отверстие камеры сгорания предпочтительно может представлять собой отверстие в гильзе возвратно-поступательного движения, которое имеет такой размер и такое расположение, что оно может быть закрыто поршнем во время по меньшей мере части возвратно-поступательного движения гильзы.
Такая система отверстий и клапанов, которая описана выше, означает, что двигатель может работать без необходимости в приводном механизме любого типа для приведения в действие клапанов.
Предложенный поршневой двигатель может работать по двухтактному циклу.
Достижение указанной цели обеспечено также путем создания поршневого двигателя, содержащего две пары неподвижных и по существу концентрически расположенных на одной оси взаимно противоположных поршней, при этом в каждой паре противоположные поршни разделены гильзой, выполненной с возможностью совершения возвратно-поступательного движения относительно поршней, и каждая гильза ограничивает две полости, каждая из которых функционально связана с одним из поршней с ограничением камеры, причем первая камера каждой пары поршней представляет собой камеру предварительного впуска заряда и имеет по меньшей мере одно входное отверстие, а вторая камера каждой пары поршней является камерой сгорания и имеет по меньшей мере одно выходное отверстие, и две камеры каждой пары поршней разделены перепускным клапаном, при этом двигатель дополнительно содержит выходной элемент, на каждом конце которого расположена криволинейная направляющая, имеющая кулачковый профиль, а каждая гильза снабжена приводным элементом, и каждый приводной элемент выполнен с возможностью воздействия на одну указанную направляющую, так что когда приводные элементы действуют на направляющие, возвратно-поступательное движение гильз вызывает вращательное движение выходного элемента. Двигатель предпочтительно может иметь такую конфигурацию, что каждая гильза возвратно-поступательного движения приводится во взаимно-противоположное движение по отношению к другой гильзе при работе двигателя. Такое устройство может обеспечить улучшенную балансировку двигателя. Предложенный поршневой двигатель также может работать по двухтактному циклу.
Во втором аспекте изобретения можно в целом сказать, что оно состоит в транспортном средстве или судне, содержащем двигатель с возвратно-поступательным движением, как по существу здесь описано.
ПОДРОБНОЕ ОПИСАНИЕ ИЗОБРЕТЕНИЯ
Изобретение в целом состоит из частей, элементов и признаков, относящихся к нему или указанных в описании, по отдельности или в совокупности, и любых или всех комбинаций любых двух или большего числа частей, элементов или признаков, причем указанные здесь некоторые конкретные целые числа имеют известные эквиваленты, которые включены сюда, как если бы они были по отдельности были включены в это описание.
Ниже описаны несколько предпочтительных вариантов выполнения изобретения посредством примера со ссылкой на прилагаемые чертежи, на которых:
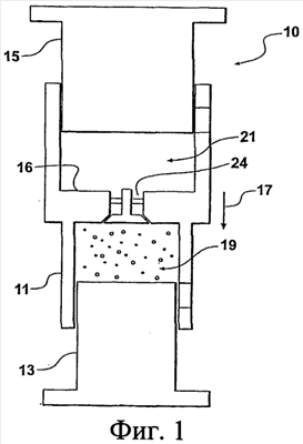
Фиг.1 представляет собой упрощенную схему, изображающую цикл поршневого двигателя, на которой камера сгорания показана в такте сжатия.
Фиг.2 представляет собой упрощенную схему цикла поршневого двигателя, в котором камера сгорания находится в такте сжатия, а воздух начинает проникать в камеру предварительного впуска заряда.
Фиг.3 представляет собой упрощенную схему, изображающую работу поршневого двигателя в цикле, когда введено топливо, происходит воспламенение и начинается такт рабочего хода.
Фиг.4 представляет собой упрощенную схему, изображающую работу поршневого двигателя при движении к окончанию такта рабочего хода, когда выхлопные газы начинают выходить из камеры сгорания.
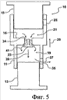
Фиг.5 представляет собой упрощенную схему, изображающую работу поршневого двигателя в точке цикла, в которой открывается входной клапан, чтобы дать возможность заряду свежего воздуха перейти из камеры предварительного впуска заряда в камеру сгорания и завершить ее очищение от выхлопных газов.
Фиг.6 представляет собой упрощенную схему, изображающую работу поршневого двигателя на этапе, когда входной клапан закрыт, а гильза возвратно-поступательного движения изменяет направление для начала такта сжатия.
Фиг.7 представляет собой упрощенную схему поршневого двигателя, изображающую преобразование возвратно-поступательного движения гильзы во вращательное движение с использованием коленчатого вала.
Фиг.8 представляет собой упрощенную схему поршневого двигателя, изображающую преобразование возвратно-поступательного движения гильзы во вращательное движение с использованием приводного ролика, который воздействует на криволинейную направляющую, расположенную на выходном элементе.
Фиг.9 представляет собой разрез поршневого двигателя со спаренными противоположно расположенными гильзами возвратно-поступательного движения.
Фиг.10 представляет в аксонометрии с продольным разрезом поршневой двигатель со спаренными противоположно расположенными гильзами возвратно-поступательного движения.
Фиг.11-15 представляют виды в аксонометрии, иллюстрирующие постепенную сборку двигателя со спаренными противоположно расположенными гильзами возвратно-поступательного движения.
Фиг.16 представляет собой упрощенный вид двигателя для применения в судах, а
Фиг.17 изображает в аксонометрии вид коробки передач, которая может использоваться для изменения скорости вращения выходного вала.
Фиг.18 представляет собой упрощенный вид в аксонометрии двигателя в сборе, включающего несколько отдельных двигателей со спаренными противоположно расположенными гильзами возвратно-поступательного движения.
Фиг.19 представляет собой разрез спаренной камеры сгорания в двигателе с гильзой возвратно-поступательного движения.
На фиг.1 видно, что поршневой двигатель (10) изображен содержащим по меньшей мере гильзу (11) возвратно-поступательного движения, первый неподвижный поршень (13) и второй неподвижный поршень (15). Гильза (11) содержит две цилиндрические части, каждая из которых может иметь различный диаметр, как изображено, и эти две цилиндрические части разделены промежуточной перегородкой (16).
Гильза (11) изображена перемещающейся в направлении (17) хода сжатия, и это вызывает сжатие газов в камере (19) сгорания. В камере (21) предварительного впуска заряда создается частичное разрежение.
Перепускной клапан (23) используют для управления потоком газов через проход (24) в промежуточной перегородке (16). Перепускной клапан (23) представляет собой обратный клапан и, хотя это не показано, смещается в закрытое положение слабой пружиной. На проиллюстрированном этапе цикла работы двигателя (10) перепускной клапан (23) закрыт.
На фиг.2-6 продолжается иллюстрация одного полного цикла работы двигателя с возвратно-поступательным движением, начало которого проиллюстрировано на фиг.1.
На фиг.2 двигатель (10) изображен с гильзой (11), продолжающей движение в направлении (17) хода сжатия. Газы в камере (19) сгорания продолжают сжиматься. На этом этапе входное отверстие (25) более не перекрыто вторым поршнем (15), и воздух может всасываться в направлении (27) в камеру (21) предварительного впуска заряда.
На фиг.3 двигатель (10) изображен с гильзой (11), достигшей предела своего движения в направлении (17) хода сжатия и начинающей двигаться в противоположном направлении, представленным как направление (29) рабочего хода. На этом этапе газы в камере (19) полностью сжаты. Дизельное топливо (31) в соответствующее время впрыскивается в камеру (19) сгорания и самовоспламеняется благодаря давлению внутри цилиндра. Горящее топливо и сжатые газы расширяются, толкают в промежуточную перегородку (16) и двигают гильзу (11) в направлении (29) рабочего хода.
На фиг.4 двигатель (10) изображен с гильзой (11), совершающей движение в направлении (29) рабочего хода и завершающей такт рабочего хода. При этом завершается горение и расширение газов в камере (19) сгорания. Выходное отверстие (35) больше не перекрыто полностью первым поршнем (13), что позволяет отработанным или выхлопным газам начать выход в направлении (37).
Газы, предварительно поданные в камеру (21) предварительного впуска заряда, сжимаются в этой камере, и входное отверстие (25) теперь закрыто вторым поршнем (15).
На фиг.5 двигатель (10) изображен с гильзой (11), продвинувшейся несколько дальше в направлении (29) рабочего хода. На этом этапе значительная доля выхлопных газов уже покинула камеру (19) сгорания. Скорость и импульс выхлопных газов, покидающих камеру (19) сгорания, приводят к выходу или удалению выхлопных газов из камеры сгорания, дополнительно снижая давление. Когда давление в камере (21) предварительного впуска заряда станет больше, чем давление в камере (19) сгорания, это вызовет перемещение перепускного клапана (23) в направлении (39) и открытие прохода (24). Это позволит газам, сжатым в камере (21) предварительного впуска заряда, двигаться в направлении (41) и быстро продуть камеру (19) сгорания и наполнить ее зарядом свежего воздуха, тогда как оставшиеся выхлопные газы выйдут наружу через выходное отверстие.
Может быть достигнуто преимущество, если диаметр камеры (21) предварительного впуска заряда больше, чем диаметр камеры (19) сгорания, так как это позволяет обеспечить улучшенную продувку камеры (19) сгорания и/или наддув в камере (19) сгорания.
На фиг.6 двигатель (10) изображен с гильзой (11), достигшей предела в своем движении в направлении (29) рабочего хода и начинающей снова двигаться в направлении (17) хода сжатия. Когда газы из камеры (21) предварительного впуска заряда в значительной степени перешли в камеру (19) сгорания, перепускной клапан (23) будет двигаться в направлении (41) для закрытия.
Далее цикл продолжается так, как это описано со ссылкой на фиг.1, и так далее.
На фиг.7 изображен более полный пример поршневого двигателя (10). В этом примере гильза (11) изображена соединенной посредством короткого стержня (43) с соединительным штоком (45), который, в свою очередь, соединен с коленчатым валом (47). Коленчатый вал (47) поддерживается подшипниками (49) и содержит закрепленный на нем маховик (51).
Таким образом возвратно-поступательное движение (53) преобразуется во вращательное движение (55). Некоторая часть энергии, перешедшей к маховику (51) во время такта рабочего хода, используется, в свою очередь, для движения гильзы (11) во время такта сжатия, давая возможность продолжения циклов работы двигателя. Очевидно, что коленчатый вал (47) также может содержать выходной вал или поверхность, передающую крутящий момент.
На фиг.8 изображен другой пример более сложного двигателя с возвратно-поступательным движением. В этом случае коленчатый вал заменен выходной гильзой (57) в форме короткой стальной трубы, имеющей криволинейную направляющую (59), образованную на одном конце. Ролик (61) опирается на расположенный вдоль радиуса стержень (63), который прикреплен к наружному диаметру гильзы (11). Когда гильза (11) движется в направлении (17) рабочего хода, ролик (61) воздействует на криволинейную направляющую (59), приводя к вращению выходной гильзы (57).
Криволинейная направляющая (59) имеет постоянный радиус относительно главной оси выходной гильзы (57), причем направляющая (59) имеет форму кривой, включающей четыре точки перегиба, имея два максимума, разделенные двумя минимумами. Направляющая (59) может иметь синусоидальный или подобный профиль.
Криволинейная направляющая (59) имеет в некотором роде кулачковый профиль, хотя принцип действия ведущего ролика (61) и криволинейной направляющей по существу противоположен принципу действия кулачкового профиля. А именно, возвратно-поступательное движение ведущего ролика (61), воздействующее на направляющую (59), создает вращательное движение выходной гильзы (57), в противоположность кулачку, который обычно использует вращательное движение для создания возвратно-поступательного движения во втором предмете, находящимся в контакте с кулачком.
Поскольку выходная гильза (57) приводится во вращение приводным роликом (61), энергия передается маховику (65). Накопленная маховиком (65) энергия вызывает дальнейшее вращение выходной гильзы (57), а продолжение (67) криволинейной направляющей, в свою очередь, перемещает ролик (61) в направлении, противоположном направлению (17). Это действие вызывает перемещение гильзы (11) в направлении (29) хода сжатия. Конструкция, изображенная на этой фигуре, имеет преимущество, состоящее в том, что она имеет два рабочих хода за один оборот выходной гильзы (57). Различные криволинейные направляющие, имеющие более двух пиков или рабочих выступов, могут использоваться для обеспечения более двух тактов рабочего хода за один оборот. Может использоваться единственный максимум, но динамическая балансировка при этом может быть затруднена.
В этом примере выходная гильза (57) установлена на группе подшипников (69). Очевидно, что выходная гильза (57) может также содержать выходной привод или поверхность, передающую крутящий момент.
Преимуществом является то, что крутящий момент двигателя создается на криволинейной направляющей (59), которая расположена на выходной гильзе (57), окружающей неподвижную гильзу, в которой находится гильза возвратно-поступательного движения. Основанием этому утверждению является то, что усилия от гильзы (11) во время рабочего хода могут быть переданы через стержни (63) наружу через щели в неподвижной трубе, на радиус криволинейной направляющей (59), при этом чем больше радиус, тем больше крутящий момент, создаваемый выходной гильзой (57), в то время как приводные ролики (61) толкают направляющую (59). Ясно, что чем больше радиус выходной гильзы (57), тем она медленнее будет вращаться, но в ситуациях, в которых требуется большой выходной крутящий момент при относительно низкой скорости вращения, эта характеристика может быть полезной и может устранить необходимость в коробке передач. Больший радиус также позволяет создать нескольких рабочих выступов и большее число тактов рабочего хода за один оборот.
Для сравнения, двигатель с коленчатым валом имеет максимальный радиус коленчатого вала, ограниченный рабочим ходом двигателя, который может ограничить величину максимального крутящего момента.
Использование приводного ролика (61), воздействующего на криволинейную направляющую (59), также имеет преимущество, состоящее в том, что криволинейная направляющая может иметь почти любой требуемый профиль для того, чтобы соответствовать силе, приложенной гильзой (11) в течение каждого этапа рабочего хода. В противоположность этому, двухтактный двигатель с коленчатым валом ограничен эффективными углами между коленами, соответствующими положениям в пределах только от двух часов до четырех часов на циферблате, т.е. только 60 градусами из каждых 360 градусов вращения. Один цилиндр четырехтактного двигателя ограничен диапазоном углов, равным только половине этого. Криволинейная направляющая представленного изобретения может быть выполнена так, чтобы эффективно преобразовывать прямолинейную силу во вращательный момент в течение более 60 градусов, так как приводной ролик (61) воздействует на склон каждого максимума криволинейной направляющей (59). Так как направляющая (59) может иметь по меньшей мере два максимума, то двигатель может эффективно преобразовывать прямолинейную силу во вращательный крутящий момент в течение более 120 градусов (дважды по 60) из каждых 360 градусов вращения.
На фиг.7 и 8 первый и второй поршни (13) и (15) и наружные кольца подшипников (49) и (69) изображены неподвижными один относительно другого с использованием номера (71) позиции, как это показано на этих чертежах.
Фиг.9-15 изображают более сложный вариант двигателя с возвратно-поступательным движением, выполненного в виде двигателя (73) со спаренными расположенными напротив друг друга гильзами возвратно-поступательного движения, в котором объединена пара узлов, по существу таких же, как описаны со ссылкой на фиг.8, но имеющих одну выходную гильзу с криволинейной направляющей на каждом конце.
На фиг.9 и 10 в разрезе изображен двигатель с расположенными напротив друг друга спаренными гильзами возвратно-поступательного движения. Этот двигатель (73) имеет две гильзы (11), два первых поршня (13) и два вторых поршня (15), причем каждый комплект установлен на одной оси напротив друг друга. Работа с такой конфигурацией рассчитана на то, чтобы уменьшить вибрацию или улучшить динамическую балансировку двигателя (73) во время работы.
Двигателю (73) придана форма или поддержка путем размещения его в неподвижной гильзе (75). Гильза (11) приводится в действие внутри неподвижной гильзы (75), а выходная гильза (57а и 57b) приводится в действие вокруг неподвижной гильзы (75) и опирается на подшипники (69). Вращательное движение гильз (11) предотвращено стержнями (63), которые приводятся в действие внутри расположенных продольно на одной линии щелей в неподвижной гильзе (75). Для уменьшения трения стержней (63) о боковые поверхности расположенных продольно на одной линии щелей, могут быть предусмотрены дополнительные подшипники. Продольные расположенные на одной линии щели могут иметь такой размер, который способствует предотвращению отделения приводных роликов от криволинейной направляющей.
В этом примере выходная гильза (57а и 57b) изготовлена из двух частей, внутренней части (57b), имеющей криволинейную направляющую на каждом конце, и наружной части (57а), выполненной с возможностью сопряжения с наружными обоймами подшипников (69). Первый и второй поршни (13 и 15) удерживаются в неподвижном состоянии внутри неподвижной гильзы (75). Винт (75а) прикрепляет второй поршень (15) к гильзе (75).
Можно видеть, что конструкции двух вторых поршней (15) отличаются друг от друга на фиг.9 и 10, однако, эти изменения представляют собой просто производственные вариации и не оказывают влияния на работу двигателя (73). Точно также фиг.10 иллюстрирует использование упорного кольца (69а) подшипника, которое не является обязательным и не используется на фиг.9. Между двигателями, изображенными на фиг.9 и 10, также существуют и другие незначительные отличия, но они существенно не оказывают влияния на работу двигателя.
Входящий воздух поступает во входную камеру (21) через входное отверстие (25), которое соединено с двумя отверстиями (25а) и (25b).
Выхлопные газы могут выходить через выходной канал (77) в промежуточную выходную камеру (79). Давление выхлопных газов при их выходе может содействовать толканию гильзы (11). Затем отработанные газы могут пройти через промежуточное выходное отверстие (81) в оконечную камеру (83) перед выходом наружу через оконечное отверстие (85) для отработанных газов.
Также предусмотрена дизельная форсунка (87), выполненная для обеспечения впрыска дизельного топлива, при необходимости, непосредственно в камеру (19) сгорания.
В изображенном на фиг.8 двигателе (10) ролик (61) поддерживается каждой гильзой (11) посредством стержня (63). Во время такта рабочего хода двигателя (73) гильза (11) прижимает ролики (61) к криволинейной направляющей на каждом конце внутренней части выходной гильзы (57b), приводя к вращению выходной гильзы (57а и 57b). Импульс выходной гильзы (57а и 57b) и любого маховика, к которому она может быть присоединена, заставляет выходную гильзу (57а и 57b) продолжать вращаться, а взаимодействие криволинейных направляющих с роликами (61) приводит к перемещению гильзы (11) в направлении (17) такта сжатия. Этот рабочий цикл точно такой же, как и описанный выше со ссылками на фиг.1-6, но в этом случае он происходит одновременно в расположенных навстречу друг другу спаренных гильзах возвратно-поступательного движения, но в противоположных направлениях.
Фиг.11-15 иллюстрируют постепенную сборку двигателя (73) со спаренными гильзами возвратно-поступательного движения, используя при этом дополнительные пояснения.
На фиг.11 изображены правильно ориентированные первый и второй поршни (13) и (15), а также ролики (61) и стержни (63). Первый поршень (13) также изображен включающим в себя концевой штуцер (83а) оконечной выходной камеры.
На фиг.12 изображены гильзы (11), расположенные вокруг поршней (13) и (15).
На фиг.13 изображена установленная неподвижная гильза (75), а также подшипники (69) и упорные кольца (69а) подшипников.
На фиг.14 изображена установленная внутренняя часть выходной гильзы (57b). На этом виде ясно изображены криволинейные направляющие на каждом конце гильзы (57b).
На фиг.15 изображена установленная и сопряженная с упорными кольцами (69а) подшипников наружная часть выходной гильзы (57а).
На фиг.16 изображен узел (10) двигателя, установленный, например, на лодку (89). В этом примере узел двигателя установлен на устройство (91) крепления двигателя, выполненное на переборке внутри лодки. Соединительная муфта (93) соединяет выходную гильзу (57) с валом (95) гребного винта лодки (89). Можно видеть, что такое устройство обеспечивает компактную конструкцию однорядного судового двигателя.
На фиг.17 изображен узел (10) двигателя, соединенный с системой коробки передач. В этом примере выходная гильза (57), или ее продолжение вызывает орбитальное движение трех планетарных шестерен (101) внутри неподвижного зубчатого колеса (103), причем планетарные шестерни (101) также взаимодействуют с центральной шестерней (105), которая прикреплена к одному концу выходного вала (107). Неподвижное зубчатое кольцо (103) изображено частично в разрезе. Такое устройство может использоваться для обеспечения установки повышающей коробки передач, которая может использоваться для увеличения скорости вращения выходного вала (107) по сравнению с рабочей скоростью вращения двигателя. В случае, когда узел (10) имеет большое количество максимумов или рабочих выступов на выходной гильзе (57), а также много рабочих тактов за один оборот, использование повышающей коробки передач может давать определенные преимущества в некоторых применениях. Очевидно, что могут использоваться другие системы передачи и приводные системы.
На фиг.18 на схематическом чертеже изображен узел (150) двигателя, имеющий четыре описанных выше двигателя (73) с гильзами возвратно-поступательного движения, расположенными вокруг выходного вала (151). Зубчатое колесо (153) установлено на выходной гильзе (57) каждого двигателя (73) и приводится в движение выходной гильзой (57). Каждое зубчатое колесо (153) взаимодействует с выходным зубчатым колесом (155), которое прикреплено к выходному валу (151). Таким образом, четыре двигателя (73) совместно приводят в движение выходной вал (151).
Отдельные двигатели (73) установлены на опорной конструкции (157) для создания узла (150) двигателя. Несмотря на то, что в этом примере представленная на чертеже опорная конструкция (157) использует сеть кронштейнов, отдельные двигатели могут в другом варианте выполнения иметь опору внутри цилиндрической опорной конструкции, которая, в свою очередь, может быть установлена на конструкции корабля или на других опорных конструкциях любого типа.
Этот пример изображает узел (150) двигателя, имеющей четыре отдельных двигателя (73), но также можно увидеть, что может использоваться любое количество двигателей (73), которое зависит от пространства вокруг выходного зубчатого колеса (155) и числа выходных зубчатых колес (155). Хотя изображенный пример показывает четыре равномерно расположенных двигателя (73), очевидно, что двигатели (73) могут быть расположены в стороне или группами для того, чтобы соответствовать любым конкретным требованиям установки.
Так, узел (150) двигателя может использоваться в качестве судового двигателя на корабле для приведения в движение гребного винта (159). Преимущество такого выполнения двигателя состоит в том, что за каждый оборот гребного винта (159) может быть осуществлено много тактов рабочего хода. Например, если каждый двигатель (73) имеет криволинейную направляющую с 12 кулачками на их соответствующих выходных гильзах, а отношение понижения числа оборотов между каждым зубчатым колесом (153) и выходным зубчатым колесом (155) равно шести к одному, то в двигателе можно осуществить 576 тактов рабочего хода за один оборот двигателя. Число 576 вычислено следующим образом: наличие двенадцати кулачков означает, что можно осуществить 24 такта рабочего хода за один оборот каждого двигателя (73), при этом 24 такта умножаются на 4, так как в собранном узле (150) двигателя имеется 4 двигателя (73), что дает 96 тактов рабочего хода, а отношение понижающей передачи, равное 6:1, означает, что имеется 6×96, или 576 тактов рабочего хода за один оборот гребного винта (159). В случае судовых двигателей, где важно обеспечить очень большую мощность на входе гребного винта, при этом это должно быть сделано при очень малой скорости вращения, такой узел (150) будет обладать явными преимуществами. Путем использования такого узла двигателя можно устранить или уменьшить потребность в коробках передач в судовых силовых установках.
Узел (150) двигателя суммирует по принципу параллельного соединения выходную мощность нескольких цилиндров внутреннего сгорания, в отличие от последовательного суммирования, которое используют в многоцилиндровом однорядном двигателе. То есть в однорядном двигателе каждый цилиндр добавляет крутящий момент единственному коленчатому валу. Коленчатый вал на выходном конце двигателя должен передавать весь суммарный крутящий момент от каждого из цилиндров, приводя к необходимости иметь большой и тяжелый коленчатый вал, если двигатель имеет большое количество цилиндров внутреннего сгорания. При условии, что требуется больше мощности и добавляют дополнительные цилиндры внутреннего сгорания, требуемый крутящий момент коленчатого вала становится еще больше. В отличие от этого, при использовании узла (150) двигателя, выполненного как описано здесь, выходная мощность может быть увеличена путем установки дополнительных двигателей (73) вокруг выходного зубчатого колеса (155) и, так как выходное зубчатое колесо (155) должно быть выполнено так, чтобы справиться с увеличенным крутящим моментом, компоненты каждого отдельного двигателя (73) не нуждаются в каком-либо усилении. Поэтому такой узел (150) двигателя может обеспечить снижение размера и веса по сравнению с традиционным однорядным двигателем.
Другое преимущество узла (150) двигателя состоит в том, что отдельные двигатели (73) могут быть удалены или заменены при необходимости для целей обслуживания. Это создает большую гибкость по сравнению с традиционными однорядными двигателями в том смысле, что узел (150) двигателя может использоваться и ремонтироваться одновременно.
Со ссылкой на фиг.19 изображен пример двигателя со спаренной камерой сгорания и одной гильзой возвратно-поступательного движения. Конструкция и работа этого двигателя во многих аспектах подобны тому, что показано со ссылкой на фиг.9-15. Наиболее важные отличия: входное отверстие и система клапанов, использование единственной гильзы возвратно-поступательного движения и вывод выхлопных газов. Каждое из этих отличий обсуждается ниже.
В этом примере входное отверстие (161) расположено в промежуточной перегородке (163) и управляется обратным клапаном (165). Преимущество входного клапана этого типа состоит в том, что он может управляться давлением, при этом воздух может начать поступать в камеру (167) предварительного впуска заряда, как только давление в камере упадет ниже давления окружающей среды.
Единственная гильза (169) возвратно-поступательного движения приводится в действие вокруг двух первых неподвижных поршней (189) и двух вторых неподвижных поршней (177). Гильза (169) также задает границы двух камер (167) предварительного впуска заряда и двух камер (171) сгорания и имеет ролики (173), прикрепленные к обоим ее концах. Преимущество этой гильзы (169) состоит в том, что ролики (173) взаимодействуют с выходной гильзой (175) на обоих концах, и поэтому ролики (173) не могут отойти от криволинейной направляющей на обоих концах гильзы (175).
Как можно видеть, два вторых поршня (177) опираются на трубчатую конструкцию (179), которая поддерживается болтами (181), проходящими из неподвижной гильзы (183). В гильзе (169) имеются несколько щелей (185) для создания возможности прохождения в них болтов (181) при ее возвратно-поступательном движении.
В этом двигателе единственная гильза (169) имеет такую форму, что максимум на одном ее конце соответствует минимуму на другом конце. Это означает, что когда камера (171) сгорания на одном конце претерпевает такт рабочего хода, гильза (169) способна передать усилие непосредственно для содействия всасыванию воздуха в камеру (167) предварительного впуска заряда, расположенной в противоположной паре камер предварительного впуска заряда/сгорания.
Показанный пример не является динамически сбалансированным, однако, хорошая динамическая балансировка может быть достигнута путем выполнения узла двигателя, имеющего два или более узлов изображенных двигателей, причем каждый узел при этом должен быть расположен и синхронизован для балансировки сил, создаваемых другим узлом. Например, два таких узла могут быть однорядными, или четыре таких узла могут располагаться в конфигурации, изображенной на фиг.18.
В этом примере гильза (169) имеет несколько отверстий (187) для отработанных газов, позволяющих этим газам выходить из камер (171) сгорания, когда эти отверстия не закрыты первыми поршнями (189). Выходящие отработанные газы собираются в кольцевой камере (191), а затем выходят из двигателя через выхлопную трубу (193). Выхлопные трубы (193) совершают возвратно-поступательное движение вместе с гильзой (169) и проходят через отверстия с зазором в паре опор (195) двигателя. Выхлопные трубы (193) также движутся внутри пазов (197) в неподвижной гильзе (183).
ВАРИАНТЫ
Несмотря на то, что в примерах двигатель использует дизельное топливо, могут использоваться и другие виды топлива, такие как любое углеводородное топливо или водород, а при необходимости в головку первого поршня может быть добавлена свеча зажигания для воспламенения топлива.
Примеры описывают двигатель с единственной или спаренной гильзой возвратно-поступательного движения, но ясно, что любое количество узлов гильзы и поршня могут быть включены в один узел двигателя для удовлетворения требований мощности или балансировки.
ОПРЕДЕЛЕНИЯ
Во всем этом описании слово “содержат” и варианты этого слова, такие как “содержит” и “содержащий” не имеют в виду исключения других дополнительных компонентов, деталей, целого или этапов.
ПРЕИМУЩЕСТВА
Таким образом, можно видеть, что по меньшей мере предпочтительная форма изобретения обеспечивает двигатель с возвратно-поступательным движением, который работает по двухтактному циклу, но не требует смешивания масла с топливом для смазки двигателя.
Также двигатель с возвратно-поступательным движением имеет улучшенную систему всасывания, по сравнению с традиционными двухтактными двигателями, и, таким образом, может быть осуществлена более эффективная продувка выхлопных газов.
Кроме того, способ, которым возвратно-поступательное движение преобразуется во вращательное движение, с использованием выходной гильзы, имеющей криволинейную направляющую на одном или обоих концах, дает большую гибкость в том отношении, что мощность извлекается во время такта рабочего хода. То есть криволинейная направляющая может быть оптимизирована таким образом, чтобы сила, создаваемая гильзой во время рабочего хода, могла бы наиболее эффективно превращаться во вращательное движение. Преобразование возвратно-поступательного движения во вращательное движение больше не ограничивается механической связью с круговым движением коленчатого вала.
Формула изобретения
1. Поршневой двигатель, содержащий пару неподвижных и, по существу, концентрически расположенных на одной оси взаимно противоположных поршней, разделенных гильзой, выполненной с возможностью совершения возвратно-поступательного движения относительно поршней и ограничивающей две полости, каждая из которых функционально связана с одним из поршней с ограничением камеры, причем первая камера представляет собой камеру предварительного впуска заряда и имеет по меньшей мере одно входное отверстие, а вторая камера является камерой сгорания и имеет по меньшей мере одно выходное отверстие, и эти две камеры разделены перепускным клапаном, при этом гильза снабжена приводным элементом, который выполнен с возможностью воздействия на криволинейную направляющую на выходном элементе, имеющую кулачковый профиль, так, что когда приводной элемент действует на направляющую, возвратно-поступательное движение гильзы вызывает вращательное движение выходного элемента.
2. Двигатель по п.1, в котором выходной элемент содержит поворотную гильзу, выполненную с возможностью вращения вокруг гильзы возвратно-поступательного движения.
3. Двигатель по п.1, в котором направляющая выполнена в форме кривой с несколькими максимумами, так, что для совершения одного полного оборота выходного элемента необходимо более одного полного цикла движения гильзы возвратно-поступательного движения.
4. Двигатель по п.1, в котором перепускной клапан управляется давлением.
5. Двигатель по п.1, в котором входное отверстие камеры предварительного впуска заряда снабжено клапаном, управляемым давлением.
6. Двигатель по п.1, в котором выходное отверстие камеры сгорания представляет собой отверстие в гильзе возвратно-поступательного движения, которое имеет такой размер и такое расположение, что оно может быть закрыто поршнем во время, по меньшей мере, части возвратно-поступательного движения гильзы.
7. Поршневой двигатель по п.1, который работает по двухтактному циклу.
8. Поршневой двигатель, содержащий две пары неподвижных и, по существу, концентрически расположенных на одной оси взаимно противоположных поршней, при этом в каждой паре противоположные поршни разделены гильзой, выполненной с возможностью совершения возвратно-поступательного движения относительно поршней, и каждая гильза ограничивает две полости, каждая из которых функционально связана с одним из поршней с ограничением камеры, причем первая камера каждой пары поршней представляет собой камеру предварительного впуска заряда и имеет по меньшей мере одно входное отверстие, а вторая камера каждой пары поршней является камерой сгорания и имеет по меньшей мере одно выходное отверстие и две камеры каждой пары поршней разделены перепускным клапаном, при этом двигатель дополнительно содержит выходной элемент, на каждом конце которого расположена криволинейная направляющая, имеющая кулачковый профиль, а каждая гильза снабжена приводным элементом, и каждый приводной элемент выполнен с возможностью воздействия на одну указанную направляющую так, что когда приводные элементы действуют на направляющие, возвратно-поступательное движение гильз вызывает вращательное движение выходного элемента.
9. Двигатель по п.8, который имеет такую конфигурацию, что каждая гильза возвратно-поступательного движения приводится во взаимно противоположное движение по отношению к другой гильзе при работе двигателя.
10. Поршневой двигатель по п.8, который работает по двухтактному циклу.
11. Транспортное средство или судно, содержащее поршневой двигатель по любому из предшествующих пунктов.
РИСУНКИ
|
|