|
|
(21), (22) Заявка: 2009117370/03, 06.05.2009
(24) Дата начала отсчета срока действия патента:
06.05.2009
(46) Опубликовано: 27.08.2010
(56) Список документов, цитированных в отчете о поиске:
Каталог “Буровые долота. Калибраторы. Центраторы”, изд. ОАО “Волгабурмаш”, 2007, с.41, 47. RU 2377111 С1, 27.12.2009. SU 1640339 A1, 07.04.1991. US 6209420 В1, 03.04.2001. US 6564866 В2, 20.05.2003. US 2008066581 A1, 20.03.2008.
Адрес для переписки:
443004, г.Самара, ул. Грозненская, 1, ОАО “Волгабурмаш”, дирекция по перспективным исследованиям и разработкам
|
(72) Автор(ы):
Богомолов Родион Михайлович (RU), Ищук Андрей Георгиевич (RU), Жуньков Валерий Анатольевич (RU), Морозов Леонид Владимирович (RU), Обидин Владимир Федорович (RU), Мухаметшин Мидхат Мухаметович (RU)
(73) Патентообладатель(и):
Открытое акционерное общество “Волгабурмаш” (ОАО “Волгабурмаш”) (RU)
|
(54) СПОСОБ ИЗГОТОВЛЕНИЯ БУРОВЫХ ДОЛОТ, ОСНАЩЕННЫХ ПЛАСТИНАМИ PDC
(57) Реферат:
Изобретение относится к области буровой техники и используется при производстве буровых долот, оснащенных пластинами из поликристаллических алмазов (PDC). Технический результат – повышение надежности защиты корпусов, их промывочных каналов, лопастей и породоразрушающих элементов долота от абразивного износа при снижении возможности сальникообразования. В способе изготовления буровых долот, оснащенных пластинами PDC, проводят токарную и фрезерную обработку составных частей корпуса, сверление каналов для подвода промывочной жидкости из внутренней полости долота к лопастям и режущим кромкам породоразрушающих вставок с пластинами PDC, обработку гнезд под них, установку в гнезда графитовых пробок, наплавку твердым сплавом пространства между пробками, удаление графитовых пробок и установку вместо них вставок с пластинами PDC, запаивание вставок, затем острые кромки промывочных каналов на их входе из внутренней полости долота осаживают расплавлением твердосплавным электродом до образования кольцевой фаскообразной площадки круглой, овальной формы, когда часть канала выходит на боковую поверхность внутренней полости долота, с плоской, вогнутой или выпуклой поверхностью и одновременно армируют полученные поверхности металлом твердосплавного электрода, а затем всю рабочую и внутреннюю поверхность долота, включая внутреннюю полость и внутренние каналы и осаженные кромки, очищают, обезжиривают и наносят электрохимическим методом высокоизносостойкое кластерное покрытие на основе хрома с микрочастицами алмаза толщиной до 0,5 мм, микротвердостью до 1200 кг/мм2, с коэффициентом трения менее 0,09. 6 ил.
Изобретение относится к области буровой техники и используется при производстве буровых долот, оснащенных пластинами из поликристаллических алмазов (PDC).
Буровые долота, оснащенные пластинами PDC, все шире применяются для бурения мягких, а также мягких, перемежающихся со средними, и средних малоабразивных горных пород. Показатели работы таких долот прямо зависят от двух факторов: способности эффективного породоразрушения и способности системы промывки эффективно очищать забой от выбуренной породы без сальникообразования на рабочей поверхности долота. С целью реализации второго фактора эффективной работы долот, оснащенных пластинами PDC, промывочные каналы для различного направления струй промывочной жидкости из внутренней полости долота выводятся в различные зоны на его наружной поверхности.
Известно алмазное долото и способ его изготовления, принятый за аналог [1]. В этом долоте защита от абразивного износа осуществляется использованием схемы установки породоразрушающих элементов со взаимным перекрытием радиуса забоя на последовательных лопастях. Кроме повышения стойкости вооружения долота, такая схема породоразрушения способствует увеличению механической скорости бурения. Предотвращение сальникообразования на режущих кромках породоразрушающих элементов и в пространствах между лопастями осуществляется с помощью специальной схемы расположения и установки промывочных узлов, обеспечивающих индивидуальное направление струй промывочной жидкости в каждом межлопастном пространстве, омывая непосредственно все элементы, от центра долота до его периферии.
Недостатком этого способа защиты долота является то, что с помощью интенсивных промывочных струй надежно защищается от сальникообразования только нижняя, торцевая часть лопастей и межлопастного пространства, обращенная к забою. Остальная часть лопастей межлопастного пространства и ниппельной части корпуса омывается потоками промывочной жидкости гораздо хуже, что способствует налипанию на них липких фракций буримых пород, снижению интенсивности подъема на дневную поверхность обратного потока промывочной жидкости и, как следствие, снижению механической скорости бурения и проходки на долото.
Кроме того, другим недостатком способа защиты долота-аналога является то, что стенки самих многочисленных каналов от внутренней полости до выхода в межлопастное пространство подвергаются сильному абразивному износу от воздействия потока промывочной жидкости.
Известно другое долото, оснащенное пластинами PDC, и способ армирования его корпуса, принятый за прототип [2]. Данный способ армирования обеспечивает качественное защитное покрытие поверхностей лопастей вокруг вставок с пластинами PDC твердым сплавом, установку их вместо графитовых пробок в отверстия корпуса с последующим запаиванием их припоем. Затем всю рабочую поверхность лопастей армируют твердосплавным покрытием, а далее очищают, обезжиривают и наносят электрохимическим методом высокоизносостойкое композиционное (кластерное) покрытие на основе хрома с микрочастицами алмаза.
Положительным в прототипе является то, что наличие прочного кластерного покрытия резко снизило возможность сальникообразования в процессе бурения с одновременным повышением износостойкости режущей части вооружения и наружной поверхности долота.
Однако повышение стойкости этого долота до 200 часов и более только усилило присущий и данному долоту недостаток, упомянутый в описании аналога – усилился износ стенок внутренних промывочных каналов от внутренней полости долота до наружного межлопастного пространства и даже каналов по всей длине. Износ стенок промывочных каналов стал так велик, что появились случаи размыва узлов крепления и выпадения на забой твердосплавных насадок. Анализ износа стенок внутренних промывочных каналов при длительной работе показал, что особенно интенсивно стенки подвергаются абразивному износу, начиная с острых кромок на входе промывочных каналов, образующихся при механической обработке. Острые кромки являются концентраторами дальнейшего износа промывочных каналов по всей их длине. Эти недостатки способствуют снижению показателей работы долот, оснащенных пластинами PDC.
Техническим результатом настоящего изобретения является повышение надежности защиты корпусов, их промывочных каналов, лопастей и породоразрушающих элементов долота от абразивного износа при снижении возможности сальникообразования.
Указанный технический результат достигается применением способа изготовления буровых долот, оснащенных пластинами PDC, при котором проводят токарную и фрезерную обработку составных частей корпуса, сверление каналов для подвода промывочной жидкости из внутренней полости долота к лопастям и режущим кромкам породоразрушающих вставок с пластинами PDC, обработку гнезд под них, установку в гнезда графитовых пробок, наплавку твердым сплавом пространства между пробками, удаление графитовых пробок и установку вместо них вставок с пластинами PDC, запаивание вставок, затем острые кромки промывочных каналов на их входе из внутренней полости долота осаживают расплавлением твердосплавным электродом до образования кольцевой фаскообразной площадки круглой, овальной или иной формы (когда часть канала выходит на боковую поверхность внутренней полости долота) с плоской, вогнутой или выпуклой поверхностью и одновременно армируют полученные поверхности металлом твердосплавного электрода, а затем всю рабочую и внутреннюю поверхность долота, включая внутреннюю полость и внутренние каналы и осаженные кромки, очищают, обезжиривают и наносят электрохимическим методом высокоизносостойкое кластерное покрытие на основе хрома с микрочастицами алмаза толщиной до 0,5 мм, микротвердостью до 1200 кг/мм2, с коэффициентом трения менее 0,09.
Кластерное алмазное покрытие может наноситься любым электрохимическим способом, например по авторскому свидетельству 1694710, C25D 15/00 от 30.11.1991 г. или по патенту РФ 2202007, C25D 15/00 от 14.09.2001 г.
При прочной адгезии состав кластерного алмазного покрытия проникает в неровности поверхностного слоя любых вышеуказанных поверхностей, включая внутренние каналы, выравнивая неровности и создавая гладкий скользкий наружный слой, плохо смачиваемый во время бурения промывочным глинистым раствором или вязким шламом. Поэтому сочетание прочных твердосплавного и кластерного алмазных покрытий одновременно резко снижает возможность абразивного износа на входе и по длине промывочных каналов, а также сальникообразования породы в процессе бурения на корпусе долота.
Замена острых кромок на входе промывочного канала из внутренней полости долота на плоские или выпуклые поверхности, армированные сначала слоем твердого сплава, а затем кластерным алмазным покрытием, ликвидирует концентраторы начала и последующего абразивного износа, резко повышает стойкость каналов, промывочных узлов и буровых долот в целом.
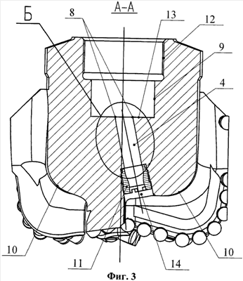
Перечень чертежей. На фиг.1 изображен общий вид долота-прототипа, в котором применяется противоизносная защита породоразрушающих элементов на лопастях. На фиг.2 показано долото-прототип со стороны торца присоединительной резьбы. На фиг.3 изображен продольный разрез долота-прототипа плоскостью А-А, проходящей через ось одного из промывочных каналов. На фиг.4 изображен фрагмент разреза долота (узел Б) с острыми кромками на входе промывочного канала. На фиг.5 изображен фрагмент разреза долота (узел Б), показанного на фиг.3, после нанесения защитного твердосплавного слоя по предлагаемому способу. На фиг.6 изображен фрагмент разреза долота (узел Б), показанного на фиг.3 и 4, после нанесения защитного кластерного алмазного покрытия по предлагаемому способу.
На фиг.1 обозначены: лопасти долота – поз.1, породоразрушающие элементы с пластинами PDC – 2, межлопастные пространства – 3, промывочные каналы – 4 с твердосплавными насадками – 5 на выходе, корпус долота – 6, износостойкие зубки – 7 на калибрующей поверхности лопастей – 1. На фиг.2 (вид долота со стороны торца присоединительной резьбы) обозначены: поз.4 – промывочные каналы с острыми кромками – 8 на их входе. На фиг.3 показан продольный разрез долота А-А по оси одного из промывочных каналов 4, соединяющих внутреннюю полость 9 с наружной поверхностью долота в межлопастном пространстве 10, узел твердосплавной насадки 11. Поз. 12 обозначена присоединительная резьба, 13 – основание внутренней полости, 14 – выход промывочного канала 4.
На фиг.4 в увеличенном масштабе показан узел Б промывочного канала 4 с острыми кромками 8. Эти острые кромки 8 являются препятствием для нанесения прочного кластерного алмазного покрытия, создаваемого при погружении долота в электрохимический раствор. На острых кромках 8 промывочных каналов толщина кластерного слоя получается нулевой, что приводит к тому, что незащищенные кромки являются концентраторами начального абразивного износа сначала самих кромок, а затем и износа поверхности с достаточным слоем покрытия, но с его внутренней стороны. Поскольку промывочный канал 4 образуется сверлением со стороны наружной поверхности долота (поз.14), то механическая обработка фаскообразной плавной поверхности на выходе из этого канала без острых кромок представляется весьма проблематичной. Поэтому в способ изготовления бурового долота, оснащенного пластинами PDC, введена операция осаживания острых кромок, образующихся на выходе сверла во внутреннюю полость, способом их оплавления до создания кольцевых площадок шириной 3÷4 мм с помощью полых стальных электродов, заполненных порошком твердого сплава, например ВК12. Когда при сверлении часть промывочных каналов выходит на боковую поверхность 9 внутренней полости, кольцевые площадки могут иметь круглую, овальную или иную форму. Во время формирования площадок на них наносится слой твердого сплава толщиной 0,5÷2 мм. Форма образующей поверхности площадки может быть различной: от плоской до выпуклой или вогнутой.
На фиг.5 показан промывочный канал 4 с осаженными острыми кромками и наплавленными твердым сплавом фаскообразными поверхностями 15 по предлагаемому способу. Подразумевается, что все острые кромки на входе канала 4 у торцевой поверхности 13 внутренней полости, а также на боковой поверхности 9 внутренней полости также обработаны твердосплавными электродами. Фиг.5 показана как фрагмент всех фаскообразных поверхностей.
На фиг.6 показан промывочный канал 4 после нанесения последующего кластерного алмазного покрытия 16, как фрагмент внутренней поверхности долота и внутренних поверхностей промывочных каналов. Высокая стойкость кластерного алмазного покрытия поверхностей, лишенных острых кромок-концентраторов износа, связанного с наличием таких концентраторов, позволяет решить поставленную задачу по достижению технического результата изобретения – повышения надежности защиты корпусов и их промывочных каналов от абразивного износа, что способствует резкому повышению стойкости всего долота и увеличения его проходки в бурении.
Испытания в различных регионах РФ опытной партии буровых долот, оснащенных пластинами PDC и изготовленных по предлагаемому способу, полностью подтвердили высокую эффективность этого способа.
Источники информации
1. Патент США 6564866, МПК E21B 10/00 от 20.05.2003 (аналог).
2. Каталог «Буровые долота. Калибраторы. Центраторы», изд. ОАО «Волгабурмаш», 2007, стр.41, 47 (прототип).
Формула изобретения
Способ изготовления буровых долот, оснащенных пластинами PDC, при котором проводят токарную и фрезерную обработку составных частей корпуса, сверление каналов для подвода промывочной жидкости из внутренней полости долота к лопастям и режущим кромкам породоразрушающих вставок с пластинами PDC, обработку гнезд под них, установку в гнезда графитовых пробок, наплавку твердым сплавом пространства между пробками, удаление графитовых пробок и установку вместо них вставок с пластинами PDC, запаивание вставок, отличающийся тем, что затем острые кромки промывочных каналов на их входе из внутренней полости долота осаживают расплавлением твердосплавным электродом до образования кольцевой фаскообразной площадки круглой, овальной формы, когда часть канала выходит на боковую поверхность внутренней полости долота, с плоской, вогнутой или выпуклой поверхностью и одновременно армируют полученные поверхности с помощью твердосплавного электрода, а затем рабочую поверхность долота, включая внутреннюю полость и внутренние каналы, очищают, обезжиривают и наносят на наружную и все внутренние поверхности, включая осаженные, электрохимическим методом высокоизносостойкое кластерное покрытие на основе хрома с микрочастицами алмаза толщиной до 0,5 мм, микротвердостью до 1200 кг/мм2, с коэффициентом трения менее 0,09.
РИСУНКИ
|
|