|
|
(21), (22) Заявка: 2009112264/15, 27.03.2009
(24) Дата начала отсчета срока действия патента:
27.03.2009
(46) Опубликовано: 27.08.2010
(56) Список документов, цитированных в отчете о поиске:
RU 13033 U1, 20.03.2000. RU 2252920 C1, 27.05.2005. RU 2214969 C1, 27.10.2003. SU 512175 A1, 30.04.1976. RU 2094382 C1, 27.10.1997. US 3706646 A, 19.12.1972. CN 2292795 Y, 30.09.1998.
Адрес для переписки:
195221, Санкт-Петербург, а/я 59, А.М. Маркову
|
(72) Автор(ы):
Юркин Александр Юрьевич (RU), Енгалычевская Наталия Владимировна (RU)
(73) Патентообладатель(и):
ЗАКРЫТОЕ АКЦИОНЕРНОЕ ОБЩЕСТВО “ВОДОЛЕЙ-М” (RU)
|
(54) УСТРОЙСТВО ЭЛЕКТРОХИМИЧЕСКОЙ ОБРАБОТКИ ВОДЫ ДЛЯ УСТРОЙСТВ ОЧИСТКИ ВОДЫ
(57) Реферат:
Изобретение относится к области очистки питьевой воды, а именно к электрохимическим устройствам для очистки воды с помощью электролиза. Сущность изобретения заключается в том, что устройство электрохимической очистки воды включает металлический корпус цилиндрической формы – катод, внутри которого размещена цилиндрическая вставка из алюминиевого сплава – анод с образованием между внутренней поверхностью корпуса и наружной поверхностью вставки полости. В одном конце корпуса размещено устройство для подвода в полость обрабатываемой воды, а в другом конце корпуса размещено устройство для отвода из полости обработанной воды, причем корпус и вставка содержат контакты для подсоединения к источнику питания электрического тока, а упомянутая полость выполнена герметичной. При этом герметичность упомянутой полости обеспечена с одной стороны корпуса упомянутым устройством для подвода воды и заглушкой торца упомянутой вставки, а с другой стороны корпуса – втулкой, размещенной между внутренней поверхностью корпуса и наружной поверхностью вставки за упомянутым устройством для отвода из полости обработанной воды, причем устройство для подвода воды, заглушка и втулка выполнены из неэлектропроводного материала. Технический результат заключается в повышении качества электрохимической обработки воды для улучшения эффективности последующей обработки, флотации и коагуляции. 2 з.п. ф-лы, 3 ил.
Заявляемое изобретение относится к области очистки питьевой воды, конкретно к электрохимическим устройствам для очистителя воды с помощью электролиза.
Устройства электрохимической очистки воды обладают наиболее широким спектром удаляемых из воды загрязнений. После данной обработки практически не меняется характерный для региона солевой состав, так как при очистке удаляются, в основном, примеси, внесенные в воду за счет деятельности человеческого общества. При электрохимической обработке воды не происходит накопления в устройстве удаляемых примесей, следовательно, качество обработанной воды остается неизменным в течение всего срока его эксплуатации.
Известны устройства электрохимической очистки воды, включающие электролизер и флотационную камеру и выполненные как единое целое.
Известно устройство для электрохимической очистки питьевой воды по патенту RU 2203226, C02F 1/463, публикация 27.04.2003. Устройство содержит флотационную камеру, электролизер с пакетом растворимых электродов, установленный под флотационной камерой, и фильтр, размещенный вдоль стенок флотационной камеры, образуя с ее стенками полость для сбора очищенной воды и ее вывода через отверстие в флотационной камере.
Известно устройство для электрохимической очистки питьевой воды по патенту RU 2236381 «Устройство для электрохимической очистки питьевой воды», C02F 1/463, публикация 20.04.2004. Устройство содержит электродный блок, выполненный в отдельном корпусе и содержащий пакет параллельных катодов из нержавеющей стали и расположенные соосно между катодами аноды электрокоагуляции, выполненные из сплавов алюминия, и аноды электрофлотации, выполненные из малоизнашиваемого материала (платина, графит, углерод, титан, покрытый оксидами рутения или кобальта). Аноды электрокоагуляции соединены с источником питания через коммутирующее устройство, позволяющее менять их полярность. Электродный блок в нижней части снабжен входным патрубком, а в верхней части – переходным патрубком, соединяющим электродный блок с емкостью шламосборника.
Оба этих устройства содержат отдельную камеру, в которой размещены электроды и происходит процесс электрохимической обработки воды. Однако конструкции этих камер не обеспечивают полную электрохимическую обработку воды. Электродная система состоит из отдельных электродов, катодов и анодов, помещенных в корпус. Вода, находящаяся между корпусом и крайними электродами, практически не обрабатывается. Кроме того, устройство не технологично в изготовлении.
Аналогом является «Устройство для электрохимической обработки воды» по патенту RU 2094382, C02F 1/46, публикация 1999.07.20. Устройство содержит источник питания постоянного или пульсирующего тока, соединенный посредством токовводов с вертикально расположенными электродами, выполненными в виде коаксиально размещенных цилиндров, установленными в корпусе. Наружный цилиндр выполняет функцию растворимого анода, а внутренний цилиндр выполняет функцию катода, на верхней и нижней частях корпуса размещены отверстия для подвода и отвода обрабатываемой воды. Анод выполнен из алюминийсодержащего металла, например алюминия, сплава алюминия с магнием или кремнием, и других известных материалов. Катод выполнен из электропроводного, стойкого к коррозии материала, например из стали, графита и других известных материалов.
В данном устройстве анодом является наружный цилиндр, который в процессе электрохимической обработки расходуется, используется для создания гидроксидов алюминия. Поэтому устройство приходится помещать в отдельный корпус. Кроме того, для того чтобы обеспечить оптимальный режим обработки воды, необходимо определенное расстояние между электродами. Если объем обрабатываемой воды достаточно большой, приходится делать внутренний электрод, который выполняется из стали, графита, достаточно большим, а значит достаточно материалоемким.
Заявляемое изобретение является устройством для электрохимической обработки воды, используемым в сочетании с другими устройствами, например флотаторами, в составе устройств для очистки воды.
Технический результат заключается в повышении качества электрохимической обработки воды для улучшения эффективности последующей обработки, флотации и коагуляции.
Устройство технологично, удобно в эксплуатации и требует малого количества расходуемых материалов.
Устройство электрохимической обработки воды для устройств очистки воды включает металлический корпус цилиндрической формы – катод, внутри корпуса размещена цилиндрическая вставка из алюминиевого сплава – анод с образованием между внутренней поверхностью корпуса и наружной поверхностью вставки полости. В одном конце корпуса размещено устройство для подвода в полость обрабатываемой воды, а в другом конце корпуса размещено устройство для отвода из полости обработанной воды. Корпус и вставка содержат контакты для подсоединения к источнику питания электрического тока. Полость между корпусом и вставкой выполнена герметичной.
Полость заполняется обрабатываемой водой, на электроды подается необходимое напряжение. Обрабатываемая вода насыщается гидроксидами металла анода и пузырьками газов, водорода и кислорода, образующимися в процессе электролиза. Ламинарное течение обрабатываемой воды в пространстве между электродами создает условия для перемешивания воды с пузырьками газа и мицеллами и хлопьями гидроксида металла анодов как электродов коагуляции. Далее обработанная вода выводится из устройства электрохимической обработки воды и подвергается, в частности, флотации.
Особенностью данной конструкции является следующее. Во-первых, катод выполнен как корпус устройства. Так как катод в данном процессе не является расходуемым, тем самым достигается простота конструкции, электрод одновременно является корпусом устройства. Второй особенностью конструкции является выполнение полости между электродами герметичной. Газ, выделяемый в процессе электролиза, не выходит из устройства, остается в объеме воды и полностью используется в последующем процессе флотации, что обеспечивает более высокую эффективность очистки воды.
Цилиндрическая форма устройства позволяет выполнить его компактным и обеспечить эффективное проведения процесса электрохимической обработки при необходимом расстоянии между электродами, при любом необходимом объеме обрабатываемой воды.
Заявляемое устройство может использоваться в сочетании с другими устройствами, например флотаторами и фильтрами, в составе устройств для очистки воды.
Устройство может быть выполнено в нескольких экземплярах, используемых параллельно, чтобы обеспечить необходимый процесс флотации в нескольких устройствах очистки.
В частном случае корпус выполнен из коррозионно-стойкой стали.
В частном случае выполнения герметичность полости обеспечена, с одной стороны корпуса устройством для подвода воды и заглушкой торца вставки, а с другой стороны корпуса втулкой, размещенной между внутренней поверхностью корпуса и наружной поверхностью вставки за устройством для отвода из полости обработанной воды. Устройство для подвода воды, заглушка и втулка выполнены из неэлектропроводного материала.
В частности, на поверхности корпуса и на поверхности вставки выполнены контакты для подвода электрического тока.
Изобретение поясняется чертежами.
На Фиг.1 приведен разрез устройства, на Фиг.2 – вид снизу, сечение А-А.
На Фиг.3 приведена схема использования устройства электрохимической обработки воды в устройстве очистки воды.
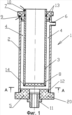
Устройство 1 электрохимической обработки воды содержит (Фиг.1 – 2) металлический корпус 2 цилиндрической формы – катод, внутри корпуса 2 расположена цилиндрическая вставка 3 из алюминиевого сплава – анод. Корпус выполнен из коррозионно-стойкой стали. Между внутренней поверхностью корпуса 2 и наружной поверхностью вставки 3 образована полость 4 цилиндрической формы. Внизу корпуса 2 выполнено устройство 5 для подвода обрабатываемой воды со штуцером 11, а вверху корпуса 1 расположено устройство 6 для отвода обработанной воды. Устройство для отвода обработанной воды 6 может быть выполнено в виде патрубка 6. Герметичность полости 4, в которой происходит электрохимическая обработка воды, обеспечена втулкой 20 и уплотнением 12 устройства для подвода воды 5, втулкой 7 с уплотнениями 13 и заглушкой 8 с уплотнением 14 вставки 3. На поверхности корпуса 2 выполнен контакт 9, а на поверхности вставки 3 – контакт 10 для подключения к источнику тока.
Устройство на Фиг.1 – 2 работает следующим образом. Через штуцер 11 устройства 5 ввода обрабатываемой воды полость 4 заполняется обрабатываемой водой. На электроды, катод 2 и анод 3 подается напряжение постоянного или пульсирующего тока, как правило, не превышающее 36 В, силой тока несколько ампер. Вода подвергается электрохимической обработке. Обрабатываемая вода насыщается гидроксидами металла анода и пузырьками газов, водорода и кислорода, образующимися в процессе электролиза. Ламинарное течение обрабатываемой воды в пространстве между корпусом 2 и вставкой 3, выполняющих роль электродов, создает условия для насыщения воды пузырьками газа и мицеллами и хлопьями гидроксида металла анодов как электродов коагуляции. В полости 4 между электродами в большой степени происходит обеззараживание воды. В какой то мере в канале происходит также и электрофлотация, начинает происходить процесс образования шлама. Далее обработанная вода через устройство 6 для отвода обработанной воды передается в на финишную обработку в устройствах очистки воды, таких как флотаторы и коагуляторы, где подвергается дополнительной обработке, процессу коагуляции и фильтрования.
На фиг.3 приведен пример схемы установки для очистки воды, которая включает устройство 1 электрохимической обработки воды, блок питания 15, соединенный с устройством 1 токоподводами 17 и 18, и устройство 16, вход которого соединен с выходом устройства 1 электрохимической обработки воды соединительным трубопроводом 19. В устройстве 16 происходят операции флотации, коагуляции, что обеспечивает полную очистку воды.
Устройство 16, где проходят процессы коагуляции, обеспечивается водой от устройства 1 электрохимической обработки воды, насыщенной пузырьками газов и гидроксидами металлов, при этом весь объем газов, полученных при электролизе, доставляется на коагуляцию, благодаря чему очистка происходит наиболее эффективно.
Формула изобретения
1. Устройство электрохимической обработки воды, включающее металлический корпус цилиндрической формы – катод, внутри корпуса размещена цилиндрическая вставка из алюминиевого сплава – анод с образованием между внутренней поверхностью корпуса и наружной поверхностью вставки полости, в одном конце корпуса размещено устройство для подвода в полость обрабатываемой воды, а в другом конце корпуса размещено устройство для отвода из полости обработанной воды, корпус и вставка содержат контакты для подсоединения к источнику питания электрического тока, а упомянутая полость выполнена герметичной, при этом герметичность упомянутой полости обеспечена с одной стороны корпуса упомянутым устройством для подвода воды и заглушкой торца упомянутой вставки, а с другой стороны корпуса – втулкой, размещенной между внутренней поверхностью корпуса и наружной поверхностью вставки за упомянутым устройством для отвода из полости обработанной воды, при этом устройство для подвода воды, заглушка и втулка выполнены из неэлектропроводного материала.
2. Устройство по п.1, отличающееся тем, что металлический корпус выполнен из коррозионно-стойкой стали.
3. Устройство по п.1, отличающееся тем на поверхности корпуса и на поверхности вставки выполнены контакты для подвода электрического тока.
РИСУНКИ
|
|