|
|
(21), (22) Заявка: 2008138339/02, 25.09.2008
(24) Дата начала отсчета срока действия патента:
25.09.2008
(43) Дата публикации заявки: 27.03.2010
(46) Опубликовано: 27.08.2010
(56) Список документов, цитированных в отчете о поиске:
Рекламный проспект «Мир книги», 8, 2008, лот 199304. SU 384667 A1, 06.12.1973. SU 20777 A, 31.05.1931. RU 2002111449 A, 27.11.2003. WO 2004082907 A, 30.09.2004.
Адрес для переписки:
628401, Тюменская обл., г. Сургут, ул. Мелик-Карамова, 47, кв.33, Е.Ю.Конюховой
|
(72) Автор(ы):
Конюхова Елена Юрьевна (RU)
(73) Патентообладатель(и):
Конюхова Елена Юрьевна (RU)
|
(54) РЕЖУЩЕЕ УСТРОЙСТВО
(57) Реферат:
Изобретение относится к ручным режущим инструментам и может быть использовано для резки мерных заготовок в сфере обслуживания, быту и в других направлениях для резки мерных заготовок вручную из пластичного материала. Устройство содержит рукоятку, нож и связанный с ним регулятор толщины реза, который выполнен в виде обоймы, внутри которой размещен ползун, связанный с радиально зафиксированным от осевого смещения винтом. На ползуне закреплена мерная планка с градуированной шкалой в зеркальном отображении по обе его стороны, проходящая через расположенное в плоскости обоймы окно и взаимодействующая с выполненным на обойме контрольным указателем. Внутри обоймы размещен разъемный вкладыш с отверстием. Рукоятка выполнена с кольцевой поверхностью, ограниченной с боковых сторон и взаимодействующей с отверстием разъемного вкладыша с обеспечением фиксированного поворота регулятора толщины реза в горизонтальной плоскости на 180°. Расширяются технологические возможности и область применения. 1 з.п. ф-лы, 17 ил.
Изобретение относится к ручным режущим инструментам и может быть использовано для резки мерных заготовок в сфере обслуживания, быту и в других направлениях для резки мерных заготовок из пластичного материала.
Известно режущее устройство, содержащее рукоятку, нож и связанный с ним регулятор толщины реза /Рекламный проспект “Мир книги”, 8, 2008/.
Недостаток такого устройства заключается в том, что оно допускает одностороннее приложение усилия реза, когда в процессе работы нагрузка приходится на обе руки оператора, одна рука, управляющая ножом, будет испытывать повышенную нагрузку, что снижает технологические возможности устройства и сокращает область его применения.
Задачей, решаемой изобретением, является повышение технологических возможностей и расширение области применения.
Поставленная цель решена в режущем устройстве, содержащем рукоятку, нож и связанный с ним регулятор толщины реза.
Новым является то, что регулятор толщины реза выполнен в виде обоймы, внутри которой размещен ползун, связанный с радиально зафиксированным от осевого смещения винтом, при этом на ползуне закреплена мерная планка с градуированной шкалой в зеркальном отображении по обе его стороны, проходящая через расположенное в плоскости обоймы окно и взаимодействующая с выполненным на обойме контрольным указателем, внутри обоймы размещен разъемный вкладыш с отверстием, а рукоятка выполнена с кольцевой поверхностью, ограниченной с боковых сторон и взаимодействующей с отверстием разъемного вкладыша с обеспечением фиксированного поворота регулятора толщины реза в горизонтальной плоскости на 180°.
Далее, рукоятка на своей кольцевой поверхности выполнена с диаметрально разнесенными в горизонтальной плоскости углублениями, а разъемный вкладыш снабжен фиксатором, взаимодействующим с углублениями рукоятки.
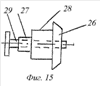
Предложенное устройство поясняется чертежами, на которых представлены: на фиг.1 – режущее устройство, общий вид; на фиг.2 – то же, правосторонний вариант, вид сверху; на фиг.3 – то же, левосторонний вариант, вид сверху; на фиг.4 – режущее устройство, фрагмент без регулятора толщины реза, общий вид; на фиг.5 – то же, вид сверху; на фиг.6 – регулятор толщины реза, продольное сечение; на фиг.7 – ползун, вид сбоку; на фиг.8 – фиксатор, продольное сечение; на фиг.9 – скорлупа фиксатора, вид изнутри; на фиг.10 – запорная скорлупа фиксатора, вид изнутри; на фиг.11 – схема размещения мерной планки; на фиг.12 – узел размещения винта ориентира, общий вид; на фиг.13 – кронштейн ориентации мерной планки, общий вид; на фиг.14 – узел закрепления мерной планки, вид сверху; на фиг.15 – ориентир, общий вид; на фиг.16 – мерная планка, рабочее положение, общий вид; на фиг.17 – схема закрепления регулятора толщины реза на рукоятке.
Устройство содержит рукоятку 1, нож 2 и связанный с ножом регулятор толщины реза 3, выполненный в виде обоймы 4, внутри которой размещен ползун 5, взаимодействующий с винтом 6, имеющим на конце колесо 7, жесткое закрепление которого обеспечивает вращение винта и перемещение внутри обоймы 4 ползуна 5. Осевому смещению винта 6 препятствует запорная шайба 8, расположенная на торцевой части обоймы 4, в которой размещен кольцевым глублением 9, ограниченным с боковых сторон, винт 6.
Вкладыш 10 выполнен разъемным и составлен из скорлуп 11 и 12, в собранном виде образующих отверстие 13.
На ползуне 5 закреплена мерная планка 14, которая проходит через окно 15 в обойме 4 и снабжена градуированной шкалой 16 в зеркальном отображении по обе стороны и взаимодействует с контрольным указателем 17, выполненным на обойме 4, который может быть стрелкой, риской или иным обозначением. Мерная планка 14 и окно 15 расположены по оси ползуна 5 и обоймы 4.
На кольцевой поверхности 18 выполнены диаметрально разнесенные в горизонтальной плоскости углубления 19, разъемный вкладыш 10 снабжен фиксатором 20, который взаимодействует с углублениями 19 для обеспечения фиксированного поворота регулятора толщины реза 3 в горизонтальной плоскости на 180°.
На мерной планке 14 закреплена пластина 21 с осевым отверстием 22, взаимодействующая с пластиной 23, ограничивающей толщину реза и снабженной вытянутым вверх овальным отверстием 24 для принятия ориентира 25 (фиг.15).
Ориентир 25 представляет собой втулку 26 с цилиндрическим 27 и овальным 28 участками, внутри которых проходит винт 29.
В известных режущих устройствах регулятор толщины реза 3 установлен на правостороннее обслуживание, когда оператор правой рукой работает с ножом, а левой прижимает продукт к разделочной поверхности, смещая его в сторону ножа.
В статическом положении на кольцевой поверхности 18 рукоятки 1 установлен регулятор толщины реза 3. Горизонтальное расположение регулятора обеспечено благодаря фиксатору 20, проходящего через скорлупу 12 в углубление 19.
Поворотом винта 6 колесом 7 ползун 5 смещен на заданную ширину реза согласно положению контрольного указателя 17 относительно градуированной шкалы 16.
Нулевая отметка шкалы 16 означает минимальный зазор между ножом 2 и пластиной 21,что соответствует минимальной толщине отрезаемого продукта.
Для удобства пользования шкала 16 может быть откалибрована в любых единицах линейного измерения.
Выбранная ширина реза устанавливается ориентиром 25 следующим образом.
В осевое отверстие 22 в пластине 21 пропускают винт 29.
В пластину 23 регулятора толщины реза 3 вводят ориентир 25 так, чтобы цилиндрический участок 27 вошел в овальное отверстие 24. По мере вращения винта 29 в отверстие 24 ориентируют овальный участок 28, который выполняет роль кондуктора, позволяющего, с одной стороны, овальному участку 28 занять положение в отверстии 24, и, с другой стороны, производить регулировку положения пластины 23 в горизонтальной плоскости. Этому способствует овальный контур отверстия 24, размеры которого допускают регулировку пластины 23 по горизонтали.
Для завершения операции приведения устройства в работу винтом 29 прижимают пластины 21 и 23, поворотом винта 6 выводят контрольный указатель 17 на определенное положение на мерной планке 14.
Чтобы перевести режущее устройство в другое крайнее положение необходимо регулятор толщины реза 3 развернуть на 180°. Для этого на обойме 4 снимают скорлупу 12, которая прикреплена к закрепленной в обойме 4 скорлупе 11 любым быстроразъемным способом, например, с помощью утопленных в теле скорлупы 12 винтов /на чертеже не показано/, входящих в соответствующие отверстия в скорлупе 11. При этом способ крепления должен быть не только надежным, но и удовлетворять эстетическим требованиям.
Эта операция одноразовая, после прикрепления скорлупы 12 размещение регулятора 3 можно считать завершенным и его положение следует закрепить фиксатором 20, входящим в соответствующее углубление 19.
Нож 2 имеет постоянное положение на рукоятке 1, поэтому отсчет ширины реза производится относительно ножа.
Установочную ориентацию пластины 23 производят на гладкой поверхности, например, стола. Допускается, чтобы ширина отверстия 24 была незначительно больше ширины овального участка 28. Это позволит менять положение кромки пластины, отклоняя ее свободный конец на некоторый угол, что способствует улучшению условий эксплуатации.
По ширине пластина 21 уже ширины ножа 2, это позволяет уменьшить массу устройства, поэтому целесообразно вывернуть винт 29, чтобы втулка 26 ориентира 25 вышла из взаимодействия с овальным пазом 24. Затем снимают пластину 23, разворачивают ее на 180° и ее закрепление на пластине 21 производят, как описано выше.
Достоинство устройства заключается в простоте переналадки на левостороннее или правостороннее обслуживание, универсальность конструкции снимает ограничения по его использованию, к традиционно правостороннему положению регулятора толщины реза добавлено аналогичное левостороннее положение, чем увеличивается число потребителей и повышаются технологические возможности.
Формула изобретения
1. Режущее устройство, содержащее рукоятку, нож и связанный с ним регулятор толщины реза, отличающееся тем, что регулятор толщины реза выполнен в виде обоймы, внутри которой размещен ползун, связанный с радиально зафиксированным от осевого смещения винтом, при этом на ползуне закреплена мерная планка с градуированной шкалой в зеркальном отображении по обе его стороны, проходящая через расположенное в плоскости обоймы окно и взаимодействующая с выполненным на обойме контрольным указателем, внутри обоймы размещен разъемный вкладыш с отверстием, а рукоятка выполнена с кольцевой поверхностью, ограниченной с боковых сторон и взаимодействующей с отверстием разъемного вкладыша с обеспечением фиксированного поворота регулятора толщины реза в горизонтальной плоскости на 180°.
2. Устройство по п.1, отличающееся тем, что рукоятка на своей кольцевой поверхности выполнена с диаметрально разнесенными в горизонтальной плоскости углублениями, а разъемный вкладыш снабжен фиксатором, взаимодействующим с углублениями рукоятки.
РИСУНКИ
|
|