|
|
(21), (22) Заявка: 2009110296/15, 24.03.2009
(24) Дата начала отсчета срока действия патента:
24.03.2009
(30) Конвенционный приоритет:
26.03.2008 UA a200803802
(46) Опубликовано: 27.08.2010
(56) Список документов, цитированных в отчете о поиске:
SU 1215730 А, 07.03.1986. SU 1311757 A1, 23.05.1987. SU 1579528 A1, 23.07.1990. KR 20010068817 A, 23.07.2001.
Адрес для переписки:
61166, Украина, г. Харьков-166, пр-т Ленина, 9, УкрГНТЦ “Энергосталь”
|
(72) Автор(ы):
Сталинский Дмитрий Витальевич (UA), Ерохин Александр Васильевич (UA), Пирогов Александр Юрьевич (UA), Стасевский Станислав Леонидович (UA), Семенов Дмитрий Вадимович (UA), Беспечный Дмитрий Николаевич (UA)
(73) Патентообладатель(и):
Украинский государственный научно-технический центр по технологии и оборудованию, обработке металлов, защите окружающей среды и использованию вторичных ресурсов для металлургии и машиностроения “Энергосталь” (UA)
|
(54) ДРЕНАЖНЫЙ КОЛПАЧОК НАПОРНОГО ФИЛЬТРА
(57) Реферат:
Изобретение относится к конструкциям дренажно-распределительных устройств напорных фильтров и может быть использовано в системах оборотного водоснабжения. Дренажный колпачок содержит выполненный в виде усеченного конуса с углом наклона 10-15° корпус с продольными щелями, глухой крышкой и донышком с отверстием, соединенный с корпусом штуцер, внутренняя поверхность которого выполнена в виде диффузора, а также соединенный со штуцером патрубок с отверстиями, расположенными в его верхней и нижней частях. Соотношение площади щелей в корпусе к площади внутреннего сечения патрубка составляет 1,0-1,6. Диаметр отверстий в верхней и нижней частях патрубка составляет 0,15-0,2 его внутреннего диаметра. Использование изобретения обеспечивает улучшение гидродинамических характеристик колпачка. 3 ил.
Изобретение относится к конструкциям дренажно-распределительных устройств напорных фильтров и может быть использовано в процессе доочистки сточных вод различного состава в системах оборотного водоснабжения на предприятиях черной металлургии.
Наиболее близким к заявляемому объекту по технической сущности и достигаемому результату является выбранный в качестве прототипа дренажный колпачок фильтра (авт. св. СССР 1215730, MПK4 B01D 23/20), содержащий цилиндрический корпус с продольными щелями и патрубок с конической насадкой, внутренняя поверхность которой выполнена в виде конфузора, узкая часть которого по направлению движения потока промывной среды обращена к корпусу колпачка. При этом корпус в верхней части снабжен глухой крышкой, а в нижней части оборудован донышком с отверстием для соединения с патрубком с конической насадкой. В верхней части патрубка выполнены три отверстия для подачи сжатого воздуха, которые равномерно расположены по окружности патрубка, диаметр которых составляет 0,12-0,125 внутреннего диаметра патрубка, и буртик, расположенный на внутренней поверхности патрубка ниже отверстий для подачи сжатого воздуха. Кроме того, в нижней части патрубка выполнен ряд отверстий, расположенных вертикально вдоль оси патрубка на расстоянии не менее 1/3 его длины, диаметр которых 0,12-0,125 внутреннего диаметра патрубка, а шаг между ними составляет 2,5-3 диаметра отверстий.
Недостатками прототипа является неравномерный сбор фильтрата при его отводе из фильтра, а также неравномерное распределение воды или водовоздушной смеси по рабочей площади фильтра при его промывке, засорение продольных щелей цилиндрического корпуса при фильтровании и промывке. Кроме того, колпачок по прототипу отличается низкой ремонтопригодностью и надежностью в эксплуатации. Конструкция колпачка усложнена наличием конической насадки, внутренняя поверхность которой выполнена в виде конфузора, узкая часть которого по направлению потока промывной среды обращена к корпусу колпачка, и буртика, расположенного в верхней части патрубка. Расположение продольных щелей в цилиндрическом корпусе колпачка создает условия для выхода промывной воды или водовоздушной смеси из колпачка во время промывки в горизонтальной плоскости, вследствие чего и поток воды, и водовоздушная смесь с зернистой загрузкой оказывают абразивное воздействие на соседние колпачки, что приводит к их преждевременному механическому износу. Монтаж и демонтаж колпачка производится путем его вращения по часовой или против часовой стрелки с помощью специальной оснастки, которая устанавливается на корпус колпачка. Корпус колпачка, изготовленный с учетом требований по незасоряемости щелей во время фильтрования и промывки из листовой нержавеющей стали толщиной 1 мм, характеризуется недостаточной механической прочностью для обеспечения многократного выполнения демонтажа колпачков во время эксплуатации.
В основу заявляемого изобретения поставлена техническая задача создать новый дренажный колпачок напорного фильтра, который за счет усовершенствований позволит обеспечить достижение технического результата, заключающегося в улучшении гидродинамических характеристик колпачка, обеспечении равномерного сбора фильтрата, равномерного распределения воды или водовоздушной смеси по рабочей площади фильтра, предотвращении засорения щелей во время фильтрования и промывки, а также в повышении ремонтопригодности колпачка, надежности в эксплуатации и упрощении конструкции при обеспечении ее компактности.
Поставленная задача решается за счет того, что в дренажном колпачке напорного фильтра, содержащем корпус с продольными щелями, глухой крышкой и донышком с отверстием, патрубок с отверстиями, расположенными в его верхней части равномерно по окружности, и рядом отверстий, расположенных в его нижней части вертикально вдоль оси патрубка, согласно изобретению корпус выполнен в виде усеченного конуса с углом наклона 10-15°, а донышко корпуса оборудовано штуцером, который сопряжен с патрубком, причем внутренняя поверхность штуцера выполнена в виде диффузора, широкая часть которого по направлению движения потока промывной среды обращена к корпусу колпачка, при этом соотношение площади щелей в корпусе к площади внутреннего сечения патрубка составляет 1,0-1,6, диаметр отверстий в верхней и нижней частях патрубка составляет 0,15-0,2 его внутреннего диаметра, а отверстия в нижней части патрубка размещены с шагом, который составляет 2,0-2,45 диаметра этих отверстий.
Выполнение корпуса колпачка в виде усеченного конуса с углом наклона 10-15° позволяет направить поток воды или водовоздушной смеси, выходящий из щелей колпачка под углом 10-15° к горизонтальной плоскости, т.е. к поверхности промежуточного днища напорного фильтра, на котором устанавливаются дренажные колпачки. При таком истечении значительно уменьшается воздействие взвешенной загрузки на соседние колпачки и исключается их абразивный износ.
Выполнение корпуса колпачка в виде усеченного конуса с углом наклона более 15° приведет к увеличению угла, под которым поток воды или водовоздушной смеси выходит из щелей колпачка, вследствие чего фильтрующая зернистая загрузка между колпачками при промывках будет находиться в неподвижном (невзвешенном) состоянии, и в ее поровом пространстве будут накапливаться загрязнения.
Выполнение корпуса колпачка в виде усеченного конуса с углом наклона менее 10° приведет к тому, что поток воды или водовоздушной смеси, выходящий из щелей корпуса, будет прижиматься к горизонтальной плоскости, образованной промежуточным днищем напорного фильтра, в результате чего соседние колпачки будут находиться в зоне направленного движения взвешенной загрузки.
Оборудование колпачка штуцером позволяет конструктивно просто, компактно и надежно обеспечить соединение корпуса колпачка с патрубком. При этом упрощение монтажа и демонтажа колпачка обеспечивается за счет выполнения верхней части наружной поверхности штуцера шестигранной формы под гаечный ключ, а также выполнение в нижней части наружной поверхности штуцера резьбы для установки колпачка в распределительной системе фильтра, что, в свою очередь, исключает возможность повреждения колпачка во время монтажа или демонтажа и в полной мере соответствует требованиям к ремонтопригодности изделия.
Выполнение внутренней поверхности штуцера в виде диффузора, широкая часть которого по направлению движения потока промывной среды обращена к корпусу колпачка, обеспечивает плавное расширение потока промывной среды и снижение потери напора во время промывки. При этом во время осуществления процесса фильтрования внутренняя поверхность штуцера выполняет функцию конфузора, узкая часть которого по направлению движения потока отфильтрованной воды обращена к патрубку колпачка, что также способствует уменьшению коэффициента сопротивления колпачка и позволяет более рационально использовать конструкцию заявляемого дренажного колпачка.
Наиболее оптимальная потеря напора при фильтровании и промывке (обуславливающая равномерный сбор отфильтрованной воды и равномерное распределение промывной воды в фильтре) в заявляемом колпачке обеспечивается при соотношении площади щелей в корпусе колпачка к площади внутреннего сечения патрубка, которое составляет 1,0-1,6.
Увеличение соотношения более, чем на 1,6, приводит к нерациональному использованию потери напора в колпачке, что связано с увеличением энергозатрат. Уменьшение соотношения менее, чем на 1,0, негативно влияет на достижение равномерного распределения воды и воздуха при эксплуатации фильтра.
Выполнение в верхней части патрубка отверстий, расположенных равномерно по его окружности, с диметром, равным 0,15-0,2 внутреннего диаметра патрубка, обеспечивает эффективную подачу воздуха в промывную воду, способствует более интенсивному перемешиванию потока промывной воды с воздухом, создавая тем самым высокодисперсную водовоздушную смесь, обеспечивающую эффективную отмывку зернистой загрузки.
Выполнение в нижней части патрубка отверстий, расположенных вертикально вдоль его оси на расстоянии не менее 1/3 его длины, с диаметром, который составляет 0,15-0,2 внутреннего диаметра патрубка, и с шагом, который составляет 2,0-2,5 диаметра этих отверстий, способствует улучшению качества перемешивания воды с воздухом, создает условия для турбулизации потока при понижении уровня воды в поддренажном пространстве фильтра, способствует созданию высокодисперсной водовоздушной среды, а после окончания водовоздушной промывки обеспечивает быстрое удаление воздуха из поддренажного пространства фильтра.
Выполнение отверстий в верхней и нижней частях патрубка с диаметром более 0,2 его внутреннего диаметра не позволяет обеспечить равномерное перемешивание воды с воздухом, что приводит к переобогащению водовоздушной смеси воздушной составляющей.
Выполнение отверстий в верхней и нижней частях патрубка с диаметром менее 0,15 его внутреннего диаметра не позволяет обеспечить равномерное перемешивание воды с воздухом, что приводит к недостаточному насыщению водовоздушной смеси воздухом.
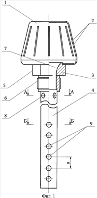
Суть заявляемого объекта поясняется графическим материалом, где представлено на:
– фиг.1 – общий вид дренажного колпачка напорного фильтра;
– фиг.2 – разрез по А-А на фиг.1;
– фиг.3 – разрез по Б-Б на фиг 1.
В конкретном примере изготовления заявляемый дренажный колпачок напорного фильтра содержит корпус 1, выполненный в виде полого усеченного конуса с углом наклона 10-15°, например 12,5°, с продольными щелями 2, глухой крышкой и донышком с отверстием. Донышко корпуса 1 оборудовано штуцером 3 для соединения корпуса 1 с патрубком 4. Наружная поверхность штуцера 3 в верхней части имеет шестигранную форму 5 под гаечный ключ, а в нижней части имеет резьбу 6 для установки колпачка в распределительной системе фильтра (не показана). Внутренняя поверхность штуцера выполнена в виде диффузора 7, широкая часть которого по направлению движения потока промывной среды обращена к корпусу 1 колпачка. В верхней части патрубка 4 для подачи сжатого воздуха выполнены, например, три отверстия 8, равномерно расположенные по его окружности, с диаметром, который составляет 0,15-0,2 внутреннего диаметра патрубка, например, 0,175. В нижней части патрубка 4 на 1/3 его длины выполнен ряд отверстий 9, расположенных вертикально вдоль его оси, с диаметром, который составляет 0,15-0,2 внутреннего диаметра патрубка, например, 0,175, и с шагом между ними, который составляет 2,0-2,5 диаметра этих отверстий, например, 2,25.
Дренажный колпачок, установленный на промежуточном днище напорного фильтра, работает следующим образом.
В режиме фильтрования отфильтрованная вода поступает сверху вниз через щели 2 в корпус 1 колпачка и далее, проходя через штуцер 3, внутренняя поверхность которого для потока отфильтрованной воды, движущейся сверху вниз, выполняет функцию конфузора, поступает в патрубок 4, после чего из поддренажного пространства фильтра отводится наружу.
В режиме промывки промывная вода, а также водовоздушная смесь поступают снизу вверх сначала в патрубок 4, а затем через штуцер 3, внутренняя поверхность которого выполнена в виде диффузора 7 (широкая часть которого по направлению потока промывной среды обращена к корпусу 1 колпачка) в корпус 1, и через щели 2 поступает в фильтрующую зернистую загрузку фильтра.
Водовоздушная смесь образуется за счет поступления в поток воды сжатого воздуха через, например, три отверстия 8, расположенные в верхней части патрубка равномерно по его окружности, с диаметром, составляющим 0,15-0,2 внутреннего диаметра патрубка 4, например, 0,175, а при понижении уровня промывной воды – через отверстия 9.
Формула изобретения
Дренажный колпачок напорного фильтра, содержащий корпус с продольными щелями, глухой крышкой и донышком с отверстием, патрубок с отверстиями, расположенными в его верхней части равномерно по окружности, и рядом отверстий, расположенных в его нижней части вертикально вдоль оси патрубка, отличающийся тем, что корпус выполнен в виде усеченного конуса с углом наклона 10-15°, а донышко корпуса оборудовано штуцером, который сопряжен с патрубком, причем внутренняя поверхность штуцера выполнена в виде диффузора, при этом соотношение площади щелей в корпусе к площади внутреннего сечения патрубка составляет 1,0-1,6, диаметр отверстий в верхней и нижней частях патрубка составляет 0,15-0,2 его внутреннего диаметра, а отверстия в нижней части патрубка размещены с шагом, который составляет 2,0-2,5 диаметра этих отверстий.
РИСУНКИ
|
|