|
|
(21), (22) Заявка: 2006137212/12, 20.10.2006
(24) Дата начала отсчета срока действия патента:
20.10.2006
(30) Конвенционный приоритет:
21.10.2005 EP 05425739.9
(43) Дата публикации заявки: 27.04.2008
(46) Опубликовано: 27.08.2010
(56) Список документов, цитированных в отчете о поиске:
WO 03092458 A1, 13.11.2003. US 4800805 A, 31.01.1989. US 2003106433 A1, 12.06.2003. RU 2013947 C1, 15.06.1994. SU 484844 A, 25.11.1975.
Адрес для переписки:
103735, Москва, ул. Ильинка, 5/2, ООО “Союзпатент”, пат.пов. С.Б.Фелицыной, рег. 303
|
(72) Автор(ы):
КОЧЧИЯ Андреа (IT), САЛА Дарио (IT)
(73) Патентообладатель(и):
ГРУППО ЧИМБАЛИ С.П.А. (IT)
|
(54) СПОСОБ РАЗОГРЕВА И ВЗБИВАНИЯ МОЛОКА И УСТРОЙСТВО ДЛЯ ЕГО ОСУЩЕСТВЛЕНИЯ
(57) Реферат:
При приготовлении кофе со взбитыми сливками в кофеварках осуществляют разогрев и взбивание молока при совместном воздействии потока пара, подаваемого от бойлера, который вырабатывает водяной пар, и потока сжатого воздуха, подаваемого от соответствующего источника сжатого воздуха. Поток сжатого воздуха подается импульсами, которые имеют заданную длительность и чередуются с неактивными периодами. Изобретение обеспечивает улучшение эксплуатационных свойств системы. 2 н. и 6 з.п. ф-лы, 1 ил.
Область техники, к которой относится изобретение
Настоящее изобретение относится к способам автоматического разогрева и взбивания молока, в частности, при приготовлении кофе со взбитыми сливками в кофеварке, где разогрев и взбивание молока выполняются одновременно в потоке пара, подаваемого из бойлера, производящего водяной пар, и в потоке сжатого воздуха, который подается из соответствующего источника сжатого воздуха.
Настоящее изобретение также относится к устройствам разогрева и взбивания молока с заданной температурой разогрева и количеством производимой пены согласно способу по настоящему изобретению.
Уровень техники
Разогрев и взбивание молока при приготовлении кофе со взбитыми сливками, который, как известно, представляет собой напиток, содержащий кофе и взбитое молоко, выполняют путем подачи пара и сжатого воздуха в сосуд, например стакан, наполненный холодным молоком, через желоб, расположенный на конце трубки, по которой подается пар и на которой имеется регулирующий вентиль, управляющий потоком пара.
Известны устройства для разогрева и взбивания молока указанного выше вида, имеющие то преимущество, что позволяют взбивать молоко с заданным количеством пены и заданной температурой.
В WO 03/092458 описано устройство, содержащее бойлер, который производит пар, направляющее средство, имеющее открытый конец, который может быть погружен в стакан, наполненный молоком, которое будет подвергаться разогреву и взбиванию, первую трубку для подачи пара, расположенную между бойлером и направляющим средством, регулирующий элемент на первой трубке, компрессор для производства сжатого воздуха, электродвигатель для компрессора, вторую трубку для подачи сжатого воздуха, расположенную между компрессором сжатого воздуха и направляющим средством, термочувствительный элемент, который соединен с погруженным в молоко концом направляющего средства и служит для определения температуры молока в сосуде, и блок управления, который подключен к регулирующему элементу, компрессору сжатого воздуха и термочувствительному элементу.
В соответствии с описанным выше техническим решением поток сжатого воздуха регулируют с помощью дроссельной заслонки, которая откалибрована и расположена в потоке воздуха с компрессора, а именно в трубке, соединяющей источник воздуха с направляющим средством, которое погружено в молоко, имеющееся в стакане.
Известно, что воздух с компрессора в результате увеличения давления конденсируется и становится влажным.
Это явление иногда приводит к ухудшению работы устройства, поскольку конденсированная вода стремится заблокировать дроссельную заслонку. Поскольку размеры дроссельной заслонки достаточны, чтобы противостоять потоку воздуха, она имеет сквозное отверстие малых размеров, что неудобно при работе с потоком жидкости, имеющим вязкость воды. Следовательно, при этих условиях сжатый воздух не сможет подаваться в направляющее средство, в которое на практике попадает только поток пара, что не позволяет взбивать молоко и, как следствие этого, пена отсутствует.
Раскрытие изобретения
Задачей настоящего изобретения является создание способа разогрева и взбивания молока, который устраняет отмеченные недостатки известных устройств, содержащих компрессор для подачи сжатого воздуха в устройство для взбивания молока.
Эта задача достигается с помощью способа по пункту 1 формулы изобретения, приведенной ниже.
Подробное описание предпочтительного варианта осуществления изобретения
Далее изобретение будет подробно описано на примере устройства, в котором реализован способ согласно настоящему изобретению со ссылкой на единственный чертеж, приложенный к данному описанию.
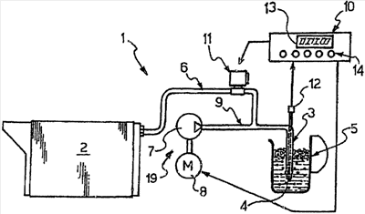
В предпочтительном варианте осуществления изобретения, приведенном на чертеже, устройство 1 для разогрева и взбивания молока содержит бойлер 2, который производит водяной пар, и направляющую трубку 3, открытый конец 4 которой погружен в сосуд 5, наполненный молоком.
Бойлер 2 для производства пара может быть такого типа, как в ручных или автоматических устройствах для приготовления кофе, в частности кофе эспрессо.
Помимо этого устройство 1 содержит первую трубку 6 для подачи пара, регулирующий вентиль 11, установленный на первой трубке 6, источник 19 сжатого воздуха и вторую трубку 9 для подачи сжатого воздуха.
Источник 19 сжатого воздуха предпочтительно, но не обязательно содержит, как показано на чертеже, компрессор 7, который приводится в действие электродвигателем 8. Источник сжатого воздуха обеспечивает производство и подачу сжатого воздуха.
По направляющей трубке 3 в сосуд 5 подается поток пара и поток сжатого воздуха соответственно через открытый конец 4 первой трубки 6 и вторую трубку 9. Направляющее средство 3 в приведенной конструкции представляет собой трубку, которая может быть сориентирована в требуемом направлении, например, гибкую трубку, с тем, чтобы ее можно было вставить в сосуд 5, например стакан, и полностью погрузить открытый конец 4 в молоко, которое будет подвергаться разогреву и взбиванию.
Управление разогревом и взбиванием молока производится с пульта 10, к которому подключен вентиль 11 перекрывания пара, электродвигатель 8 и насос 7 для подачи воздуха, а также датчик 12, который присоединен к погруженному концу 4 направляющего средства 3 и который может измерять температуру молока, когда конец 4 погружен в молоко.
В качестве датчика 12 предпочтительно использован термочувствительный элемент, такой как, например, термопара, терморезистор или подобный элемент, выходной сигнал с которого подается на вход блока управления 10 и является предпочтительно электрическим сигналом, но не обязательно таковым.
Блок управления 10 содержит в упрощенном варианте центральный процессор (не показан), дисплей 13 и ряд кнопок 14, которые связаны с центральным процессором. Блок 10 питается от электрической сети, которая на чертеже не показана.
Центральный процессор выполняет ряд действий с помощью кнопок 14. Выполняемые действия зависят от требуемой температуры и/или параметров режима взбивания молока.
При нажатии кнопок на блоке управления 10 датчик 12 немедленно измеряет температуру молока с тем, чтобы в зависимости от значения температуры молока управлять вентилем 11, регулирующим поток пара и выполненным преимущественно в виде соленоида, и источником 19 сжатого воздуха, в первом случае управляя открытием и закрытием вентиля 11, а во втором случае запуская источник 19 сжатого воздуха. В другом варианте также можно управлять открыванием вентиля 11 и/или запускать источник 19 сжатого воздуха в течение заданного периода времени.
В соответствии с настоящим изобретением на трубке 9 для подачи сжатого воздуха не установлена дроссельная заслонка. Управление потоком воздуха производится по настоящему изобретению с помощью компрессора 7, запускаемого короткими импульсами, которые задаются электродвигателем 8, управляемым с блока управления 10, при этом регулирование потока производится за счет изменения длительности интервалов между импульсами.
На практике было обнаружено, что для получения, например, высокого качества взбивания молока при подаче воздуха импульсами длительностью, например, одна секунда, интервалы между импульсами должны быть такой же длительности, т.е. равными одной секунде каждый.
Для получения среднего/высокого качества взбивания при подаче воздуха импульсами длительностью одна секунда интервалы между импульсами должны быть равны двум длительностям импульса, т.е. двум секундам каждый.
Для получения среднего/низкого качества взбивания при подаче воздуха импульсами длительностью одна секунда интервалы между импульсами должны быть равны трем длительностям импульса, т.е. трем секундам каждый.
Наконец, для получения низкого качества взбивания при подаче воздуха импульсами длительностью одна секунда интервалы между импульсами должны быть равны четырем длительностям импульса, т.е. четырем секундам каждый.
В соответствии с настоящим изобретением лучшее качество взбивания молока достигается тогда, когда импульсы сжатого воздуха начинают подаваться в молоко в сосуде 5, уже находящееся в турбулентном состоянии, потому что пар уже появился, а процесс все еще находится под контролем и происходит по команде с блока управления 10.
Следовательно, работа устройства должна начинаться с подачи импульсов сжатого воздуха с заданной задержкой по отношению к началу появления пара, причем эта задержка зависит от определенного порогового значения температуры молока, например, 30°С.
Настоящее изобретение не ограничивается описанным выше предпочтительным вариантом его осуществления, а содержит ряд вариантов его осуществления, не выходящих за предмет изобретения, определенный нижеследующей формулой изобретения.
Формула изобретения
1. Способ автоматического разогрева и взбивания молока, в частности при приготовлении кофе «капучино» в кофеварках, согласно которому разогрев и взбивание молока выполняется при совместном воздействии потока пара, подаваемого от бойлера, который вырабатывает водяной пар, и потока сжатого воздуха, подаваемого от соответствующего источника сжатого воздуха, отличающийся тем, что поток сжатого воздуха подается импульсами, которые имеют заданную длительность, и чередуются с неактивными периодами.
2. Способ по п.1, отличающийся тем, что длительность импульсов сжатого воздуха является постоянной и равна времени подачи потока сжатого воздуха.
3. Способ по любому пп.1 или 2, отличающийся тем, что неактивные периоды, расположенные между импульсами сжатого воздуха, имеют длительность, равную длительности этих импульсов.
4. Способ по любому пп.1 или 2, отличающийся тем, что неактивные периоды, расположенные между импульсами сжатого воздуха, имеют длительность, кратную длительности этих импульсов.
5. Способ по любому пп.1 или 2, отличающийся тем, что импульсы потока воздуха подаются с заданной задержкой по отношению к началу подачи потока пара.
6. Устройство (1) для разогрева и взбивания молока, в частности при приготовлении кофе со взбитыми сливками в кофеварках, содержащее: бойлер (2), который производит пар; направляющее средство (3), имеющее открытый конец (4), который может быть погружен в сосуд (5), наполненный молоком; первую трубку (6) для подачи пара, которая расположена между бойлером (2) и направляющим средством (3); перекрывающий элемент (11), который расположен на первой трубке; компрессор (7) для производства сжатого воздуха; электродвигатель (8) для приведения компрессора (7) в действие; вторую трубку (9) для подачи сжатого воздуха, расположенную между компрессором (7) для сжатия воздуха и направляющим средством (3); термочувствительный элемент (12), который связан с погруженным концом (4) направляющего средства (3) с тем, чтобы определять температуру молока в сосуде (5); блок управления (10), к которому подключены регулирующий элемент (11), компрессор (7), производящий сжатый воздух, и термочувствительный элемент (12), при этом блок управления обеспечивает открывание и закрывание регулирующего элемента (11) и включает компрессор (7) сжатого воздуха в зависимости от требуемой температуры и/или параметров режима взбивания молока, отличающееся тем, что блок управления выполнен с возможностью включения на определенные периоды времени компрессора (7) сжатия воздуха, который производит импульсы сжатого воздуха заданной длительности, чередующиеся с неактивными периодами.
7. Устройство по п.6, отличающееся тем, что неактивные периоды имеют изменяемую длительность.
8. Устройство по любому пп.6 или 7, отличающееся тем, что периоды времени действия импульсов сжатого воздуха имеют постоянную длительность, равную длительности подачи потока сжатого воздуха.
РИСУНКИ
|
|