|
|
(21), (22) Заявка: 2009115113/09, 20.04.2009
(24) Дата начала отсчета срока действия патента:
20.04.2009
(46) Опубликовано: 20.08.2010
(56) Список документов, цитированных в отчете о поиске:
Пьезоэлектрические резонаторы. Справочник под ред. П.Е. КАНДЫБЫ и П.Г. ПОЗДНЯКОВА. – М.: Радио и связь, 1992, с.332, рис.26.3. RU 2155442 C1, 27.08.2000. US 2004251779 A1, 16.12.2004. SU 855943 A1, 15.08.1981. SU 1299445 A1, 10.10.1996. US 4135108 A, 16.01.1979. US 200825217 A1, 16.10.2008. US 2006163974 A1, 27.07.2006.
Адрес для переписки:
111250, Москва, ул. Авиамоторная, 53, Открытое акционерное общество “Российская корпорация ракетно-космического приборостроения и информационных систем” (ОАО “Российские космические системы”)
|
(72) Автор(ы):
Федотов Игорь Михайлович (RU), Бояринцев Михаил Викторович (RU), Черницына Татьяна Ивановна (RU)
(73) Патентообладатель(и):
Открытое акционерное общество “Российская корпорация ракетно-космического приборостроения и информационных систем” (ОАО “Российские космические системы”) (RU)
|
(54) КВАРЦЕВЫЙ РЕЗОНАТОР
(57) Реферат:
Изобретение относится к области радиотехники, в частности к пьезотехнике, и может быть использовано при разработке кварцевых резонаторов, используемых в высокостабильных кварцевых генераторах, применяемых в связной аппаратуре и навигационной аппаратуре. Техническим результатом является улучшение спектральных характеристик пьезоустройства и снижение долговременной нестабильности частоты. Резонатор имеет повышенный предел допустимой рассеиваемой мощности. Кварцевый резонатор содержит первый пьезоэлемент в виде кварцевой пластины, на одной плоскости которой нанесен первый пленочный электрод, электрически соединенный через элементы держателя с первым внешним выводом резонатора, пьезоэлемент размещен в вакуумированном корпусе, при этом со стороны, свободной от пленочного электрода, на расстоянии не более 40 мкм размещен второй пьезоэлемент, на котором нанесен второй электрод, первый пьезоэлемент и второй пьезоэлемент обращены друг к другу плоскостями без электрода, зазор между пьезоэлементами сформирован пленочными покрытиями в виде локальных островков, нанесенных на первый пьезоэлемент на его периферийной части, второй электрод электрически соединен через элементы держателя со вторым внешним выводом резонатора. 5 ил.
Изобретение относится к области радиотехники, в частности к пьезотехнике, и может быть использовано при разработке кварцевых резонаторов, используемых в высокостабильных кварцевых генераторах, применяемых в связной аппаратуре и навигационной аппаратуре.
Из уровня техники известен кварцевый резонатор (см. патент Российской Федерации на изобретение 2155442), содержащий кварцевый пьезоэлемент, с нанесенными на него возбуждающими электродами. Пьезоэлемент размещен в вакуумированном корпусе на металлических стержнях, проходящих через диэлектрические изоляторы корпуса. Корпус снабжен металлизацией внутренней поверхности. Конструкция позволяет миниатюризировать устройство, используемое в термостатированной системе кварцевой стабилизации частоты.
Недостатком известного резонатора являются традиционные спектральные характеристики, присущие пьезоэлементам с колебаниями сдвига по толщине.
Из уровня техники известна конструкция резонатора (см. Справочник, Пьезоэлектрические резонаторы, под редакцией П.Е.Кандыбы и П.Г.Позднякова, Москва, «Радио и связь», 1992, стр.332, рис.26.3 – прототип), в которой кварцевый пьезоэлемент размещен в вакуумированном объеме. Электроды пьезоэлемента через токопроводящие элементы держателя соединены с внешними выводами резонатора. Данная конструкция является унифицированной базовой конструкцией с одним пьезоэлементом. Поэтому недостатком известного резонатора является отсутствие каких-либо средств улучшения спектральных характеристик используемого пьезоэлемента.
Техническим результатом заявленного изобретения является улучшение спектральных характеристик пьезоустройства, снижение долговременной нестабильности частоты. Увеличенная динамическая индуктивность резонатора повышает устойчивость пьезоустройства к дестабилизирующим воздействиям изменений параметров схемы генератора. Резонатор имеет повышенный предел допустимой рассеиваемой мощности.
Технический результат достигается тем, что кварцевый резонатор содержит первый пьезоэлемент в виде кварцевой пластины, на одной плоскости которой нанесен первый пленочный электрод, электрически соединенный через элементы держателя с первым внешним выводом резонатора, пьезоэлемент размещен в вакуумированном корпусе, при этом со стороны, свободной от пленочного электрода, на расстоянии не более 40 мкм размещен второй пьезоэлемент, на котором нанесен второй электрод, первый пьезоэлемент и второй пьезоэлемент обращены друг к другу плоскостями без электрода, зазор между пьезоэлементами сформирован пленочными покрытиями в виде локальных островков, нанесенных на первый пьезоэлемент на его периферийной части, второй электрод электрически соединен через элементы держателя со вторым внешним выводом резонатора.
Два кварцевых пьезоэлемента располагают в электрическом поле, сформированном между двумя электродами. Электроды расположены на двух разных пьезоэлементах. Поскольку пьезоэлементы располагаются в электрическом поле последовательно, то сигнал, проходящий через кварцевый резонатор, проходит только в случае, когда сигнал находится в полосе пропускания составной пьезоэлектрической системы. Проходящий сигнал обладает повышенной спектральной чистотой. Применение такого резонатора в составе кварцевого генератора позволяет улучшить шумовые характеристики генератора.
Данная конструкция резонатора увеличивает динамическую индуктивность по сравнению с динамической индуктивностью аналогичного одиночного резонатора в 2 раза. Это повышает устойчивость генераторного устройства к дестабилизирующим воздействиям изменений параметров схемы генератора.
Предложенное устройство позволяет увеличить допустимую мощность, рассеиваемую на кварцевом резонаторе. Уровень допустимой мощности увеличивается в два раза, поскольку рассеиваемая мощность распределяется между двумя пьезокристаллами.
Возбуждающее поле резонатора формируется двумя электродами, размещенными на разных пьезокристаллах. Отсутствие вторых электродов на рабочих пьезокристаллах позволяет уменьшить дестабилизирующее воздействие посторонних материалов, воздействующих на поверхность кварца. Такое воздействие проявляется во времени (т.к. определяется процессами диффузии материалов). Таким образом, отсутствие вторых электродов на пьезоэлементах соответственно уменьшает составляющую долговременной нестабильности частоты резонатора.
Признаки и сущность настоящего изобретения поясняются в последующем детальном описании, иллюстрируемом чертежами, где показано следующее:
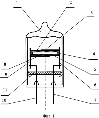
фиг.1 – конструкция предлагаемого кварцевого резонатора, содержащего вакуумированный баллон 1, в рабочем объеме которого размещен пьезоэлектрический блок, включающий первый кристаллический пьезоэлемент 2. Первый электрод 3 нанесен на первый кристаллический элемент 2 и через токопроводящий элемент 6 держателя пьезоблока соединен с первым внешним выводом резонатора 7.
Второй кристаллический элемент 5 размещен вблизи первого кристаллического элемента 2, образуя зазор. Величина зазора определяется толщиной локальных пленочных элементов 4, напыленных на плоскость первого кристаллического элемента 2 со стороны, противоположной расположению первого электрода 3.
Первый 2 и второй 5 кристаллические элементы жестко укреплены на элементах токопроводящего держателя 6 и 9, например, путем пайки к пятнам возженного серебра, размещенного на торцах и плоскостях кристаллических элементов 2 и 5. Второй электрод 8 нанесен на втором кристаллическом элементе 5 и через токопроводящие элементы держателя 9 электрически соединен с выводом 10 резонатора. Для устранения перекосов проволочных держателей 6 и 9 при монтаже резонатора, для обеспечения механической прочности конструкции и для защиты пьезоэлементов от пламени огневой заварки, используемой при герметизации стеклянного баллона 1, смонтировано основание 11.
На фиг.2а показана конструкция пьезоэлектрического блока.
Первый электрод 3 нанесен на кристаллический элемент 2. Второй электрод 8 нанесен на на кристаллический элемент 5. На торцы кристаллических элементов пьезоэлектрического блока нанесено контактное покрытие (возженное серебро), которое посредством пайки обеспечивает электрическое соединение электродов 3 и 8 соответственно с выводами резонатора 7 и 10.
На фиг.2б показан частный случай топологии пятен возженного серебра 13 на плоскости пьезоэлемента и на его торцевых поверхностях 12.
На фиг.2в представлен один из возможных вариантов топологии пленочных покрытий 4, толщина которых определяет величину зазора между пьезоэлементами. Толщина пленочных покрытий не должна превышать 40 мкм. Такая величина обоснована допустимым для практики значением ухудшения добротности кварцевого резонатора. Топология пленочных покрытий 4 выбирается из условия минимального влияния на акустические колебания пьезоэлектрической колебательной системы, сформированной на кварцевом пьезоэлементе 2. Пленочное покрытие должно быть по возможности удалено от активной области пьезоэлемента.
На фиг.3 изображена эквивалентная электрическая схема предложенного кварцевого резонатора, которой следует пользоваться при анализе режимов работы устройства. Здесь L1, C1, R1 и L2, C2, R2 – динамические параметры соответственно первой пьезоэлектрической системы, организованной на базе пьезокристаллического элемента 2, и второй пьезоэлектрической системы, организованной на базе пьезокристаллического элемента 5. Величина Сзазор определяется расстоянием между кристаллическими элементами 2 и 5 и площадями электродов в активной зоне кристаллических элементов. Со – статическая емкость кварцевого резонатора соответствует монтажной емкости резонатора (емкости между выводами резонатора).
Работа устройства осуществляется следующим образом.
При подключении резонатора к источнику высокочастотного сигнала (например, в цепь обратной связи автогенератора) между электродами резонатора возникает высокочастотное электрическое поле. Это поле, воздействуя на пьезоэлектрические элементы, приводит к соответствующим деформациям пьезоэлектрического материала. Когда частота механических деформаций совпадает с резонансной частотой механических колебаний пьезоэлектрической системы, включающей два кристаллических элемента, наступает режим стабилизации частоты. Свойства предложенного кварцевого резонатора определяют свойства устройства, в котором применяется данный кварцевый резонатор. Добротность и динамическая индуктивность кварцевого резонатора определяют стабильность частоты генератора, его устойчивость к дестабилизирующим факторам. Стабильность параметров во времени определяет характеристики старения.
С помощью заявленного изобретения улучшаются спектральные характеристики резонатора и тем самым улучшаются шумовые характеристики.
В предложенной конструкции вместо 4-х электродов (по 2 на каждом пьезоэлементе) используются только два возбуждающих электрода (по одному на каждом пьезоэлементе). Это позволяет увеличить долговременную стабильность частоты пьезоэлектрического устройства.
Формула изобретения
Кварцевый резонатор, содержащий первый пьезоэлемент в виде кварцевой пластины, на одной плоскости которой нанесен первый пленочный электрод, электрически соединенный через элементы держателя с первым внешним выводом резонатора, пьезоэлемент размещен в вакуумированном корпусе, отличающийся тем, что со стороны, свободной от пленочного электрода, на расстоянии не более 40 мкм размещен второй пьезоэлемент, на котором нанесен второй электрод, первый пьезоэлемент и второй пьезоэлемент обращены друг к другу плоскостями без электрода, зазор между пьезоэлементами сформирован пленочными покрытиями в виде локальных островков, нанесенных на первый пьезоэлемент на его периферийной части, второй электрод электрически соединен через элементы держателя со вторым внешним выводом резонатора.
РИСУНКИ
|
|