|
|
(21), (22) Заявка: 2009127670/09, 17.07.2009
(24) Дата начала отсчета срока действия патента:
17.07.2009
(46) Опубликовано: 20.08.2010
(56) Список документов, цитированных в отчете о поиске:
WO 2007103912 А2, 13.09.2007. SU 1182627 A, 30.09.1985. RU 1313317 С, 30.10.1994.
Адрес для переписки:
197376, Санкт-Петербург, ул. Проф. Попова, 5, СПГЭТУ, патентный отдел, К.И. Берковской
|
(72) Автор(ы):
Козырев Андрей Борисович (RU), Михайлов Анатолий Константинович (RU), Прудан Александр Михайлович (RU), Пташник Сергей Викторович (RU)
(73) Патентообладатель(и):
Государственное образовательное учреждение высшего профессионального образования “Санкт-Петербургский государственный электротехнический университет “ЛЭТИ” (RU)
|
(54) СЕГНЕТОЭЛЕКТРИЧЕСКИЙ АКУСТИЧЕСКИЙ РЕЗОНАТОР И СПОСОБ ПЕРЕСТРОЙКИ ЕГО РЕЗОНАНСНОЙ ЧАСТОТЫ
(57) Реферат:
Изобретение относится к СВЧ электроакустике и является основой для создания электроакустических фильтров СВЧ, широко используемых в системах связи и локации. Задача, решаемая изобретением, – расширение возможностей перестройки резонансной частоты акустических резонаторов. Задача решается следующим образом. Предлагаемый резонатор состоит из верхнего и нижнего внешних электродов (1 и 2), являющихся соответственно СВЧ входом и выходом резонатора, первого сегнетоэлектрического слоя (3), а также одного дополнительного внутреннего электрода (4) и одного дополнительного слоя сегнетоэлектрика (5), находящегося в параэлектрическом состоянии. Нижний электрод (2) располагается на диэлектрической подложке (6). Перестройка частоты акустического резонатора происходит путем подачи постоянного напряжения на внешние электроды (1 и 2), а также на дополнительный внутренний электрод (4), величины подаваемых постоянных напряжений меняют от величин, обеспечивающих одинаковое направление вектора напряженности постоянного электрического поля в слоях сегнетоэлектрика (3 и 5), до величин, обеспечивающих противоположное направление вектора напряженности постоянного электрического поля в слоях сегнетоэлектрика (3 и 5). 2 н. и 7 з.п. ф-лы, 14 ил.
Изобретение относится к СВЧ электроакустике и является основой для создания электроакустических фильтров СВЧ, широко используемых в системах связи и локации.
Известен акустический резонатор из статьи [К. Lakin, G. Kline, К. McCarron, «High-Q microwave acoustic resonators and filters», IEEE Trans. Microwave Theory Tech. V.41, N12, p.2139-2146, 1993], представляющий собой пьезоэлектрический слой, расположенный между двух металлических электродов. Недостатком этого резонатора является отсутствие возможности изменения его резонансной частоты.
Наиболее близкий аналог (прототип) устройства описан в заявке на международный патент WO 2007/103912. Устройство состоит из диэлектрической подложки, двух внешних электродов и расположенного между ними одного слоя сегнетоэлектрика в параэлектрическом состоянии.
Недостатком подобной конструкции акустического резонатора является невозможность осуществить селективное возбуждение его собственных мод.
Технической задачей, решаемой предлагаемым устройством, является создание акустического резонатора, в котором реализовано управление направлением вектора напряженности постоянного электрического поля в слоях сегнетоэлектрика.
Поставленная задача решается за счет того, что предлагаемый акустический резонатор, так же как и известный, содержит диэлектрическую подложку, два внешних электрода и слой сегнетоэлектрика в параэлектрическом состоянии. Но, в отличие от известного, в предлагаемом акустическом резонаторе между внешними электродами введен как минимум один дополнительный внутренний электрод с соответствующим увеличением числа слоев сегнетоэлектрика.
Достигаемый технический результат – расширение возможностей перестройки резонансной частоты акустических резонаторов за счет создания многослойного акустического резонатора на основе сегнетоэлектрических слоев, имеющего возможность за счет дополнительных внутренних электродов менять направление вектора напряженности постоянного электрического поля в слоях сегнетоэлектрика.
В частном случае сегнетоэлектрик дополнительных слоев находится в параэлектрическом состоянии. Это обеспечит возможность управления пьезомодулем каждого слоя.
В другом частном случае между внешними электродами дополнительно введен как минимум один слой линейного диэлектрика. Дополнительные слои линейного диэлектрика позволят уплотнить спектр собственных мод резонатора для удовлетворения конкретных требований по его перестройке.
В другом частном случае между внешними электродами дополнительно введен как минимум один слой пьезоэлектрика. Пьезоэлектрик (например, A1N или ZnO) имеет на порядок большую акустическую добротность по сравнению с сегнетоэлектриком, что приведет к возрастанию общей добротности акустического резонатора.
В другом частном случае сегнетоэлектрик как минимум одного из дополнительных слоев находится в сегнетоэлектрическом состоянии. В данном случае после изменения знака пьезомодуля напряжение с внутренних электродов может быть снято, т.к. в сегнетоэлектрическом состоянии пьезоэффект возможен и в отсутствие внешнего постояного поля.
В другом частном случае под центральной частью внешнего электрода вытравлена подложка. В этом случае на обеих внешних границах реализуются условия полного отражения акустической волны, что существенно повышает добротность резонатора.
В другом частном случае между внешним электродом и подложкой выполнен воздушный зазор. Достоинством является возможность изготовления резонаторов на полупроводниковой (например, кремниевой) подложке и объединения их с другими электронными компонентами, изготовленными на этой же подложке.
В другом частном случае между внешним электродом и подложкой расположено акустическое зеркало. Это позволяет использовать подложку из любого материала, без изменения акустической добротности резонатора и его электрических характеристик.
В патенте США US 6107721 описан способ изменения резонансной частоты акустического резонатора, заключающийся в изменении толщины отражательного слоя, находящегося под нижним электродом. Очевидным недостатком является отсутствие динамического управления изменением резонансной частоты.
В заявке на патент США US 2009/0115553 описан способ электрического изменения резонансной частоты акустического резонатора, заключающийся в изменении толщины верхнего электрода за счет дополнительного микроэлектромеханического устройства. Недостатками этого способа являются технологическая сложность и дороговизна изготовления дополнительного микроэлектромеханического устройства, а также узкий диапазон перестройки резонансной частоты (единицы процентов) в связи с ограничениями по управляющему напряжению на толщину микроэлектромеханического элемента.
Наиболее близкий аналог (прототип) способа описан в заявке на международный патент WO 2007/103912. Способ перестройки резонансной частоты заключается в подаче постоянного напряжения разного номинала на внешние электроды, что приводит к усилению либо ослаблению электрического поля в сегнетоэлектрическом слое и, следовательно, к изменению его физических свойств.
Недостатком этого способа является узкий диапазон перестройки резонансной частоты (единицы процентов) в связи со слабой зависимостью постоянной упругости сегнетоэлектрика от электрического поля.
Технической задачей, решаемой предлагаемым способом, является расширение диапазона перестройки резонансной частоты акустического резонатора.
Поставленная задача решается за счет того, что предлагаемый способ перестройки резонансной частоты, так же как и известный, осуществляется путем подачи постоянного и СВЧ-напряжения на внешние электроды. Но, в отличие от известного, в предлагаемом способе на дополнительные внутренние электроды подают постоянное напряжение, и величины подаваемых постоянных напряжений меняют от величин, обеспечивающих одинаковое направление вектора напряженности постоянного электрического поля в слоях сегнетоэлектрика, до величин, обеспечивающих противоположное направление вектора напряженности постоянного электрического поля в слоях сегнетоэлектрика.
Достигаемый технический результат – расширение возможностей перестройки резонансной частоты акустических резонаторов за счет создания способа перестройки, позволяющего за счет изменения направления вектора напряженности постоянного электрического поля в слоях сегнетоэлектрика электрически управлять возбуждением собственных мод резонатора.
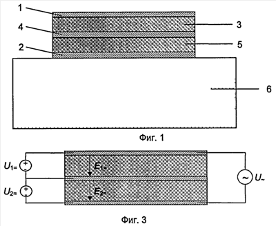
Предлагаемое изобретение поясняется чертежами, где на фиг.1 – топология акустического резонатора с опорой в виде подложки и одним дополнительным электродом и одним дополнительным слоем сегнетоэлектрика; фиг.2 – качественное изображение спектра собственных акустических частот; фиг.3 – топология акустического резонатора с двумя сегнетоэлектрическими слоями, имеющими пьезомодули одного знака; фиг.4 – пространственное распределение стоячей акустической волны для первой (нечетная) собственной моды акустического резонатора; фиг.5 – пространственное распределение стоячей акустической волны для второй (четная) собственной моды акустического резонатора; фиг.6 – топология акустического резонатора с двумя сегнетоэлектрическими слоями, имеющими пьезомодули разных знаков; фиг.7 – качественное изображение перестройки частоты акустического резонатора; фиг.8 – аномальная зависимость вещественной части электрического импеданса от частоты; фиг.9 – частотная зависимость характеристики пропускания полоснопропускающего перестраиваемого фильтра; фиг.10 – топология акустического резонатора с опорой в виде подложки и двумя дополнительными электродами и двумя дополнительными слоями сегнетоэлектрика; фиг.11 – топология акустического резонатора с опорой в виде подложки, одним дополнительным электродом, одним дополнительным слоем сегнетоэлектрика и двумя дополнительными слоями линейного диэлектрика; фиг.12 – топология акустического резонатора с вытравленной под центральной частью внешнего электрода подложкой; фиг.13 – топология акустического резонатора с выполненным между внешним электродом и подложкой воздушным зазором; фиг.14 – топология акустического резонатора с расположенным между внешним электродом и подложкой акустическим зеркалом.
Рассмотрим пример выполнения акустического резонатора (фиг.1), состоящего из верхнего и нижнего внешних электродов 1 и 2, являющихся соответственно СВЧ входом и выходом резонатора, первого сегнетоэлектрического слоя 3, а также одного дополнительного внутреннего электрода 4 и одного дополнительного слоя сегнетоэлектрика 5, находящегося в параэлектрическом состоянии. Нижний электрод 2 располагается на диэлектрической подложке 6.
Принцип работы рассматриваемого сегнетоэлектрического акустического резонатора состоит в следующем. Как показано в статье [D. Damjanovic, «Ferroelectric, dielectric and piezoelectric properties of ferroelectric thin films and ceramics». Reports on Progress in Physics, 61, pp.1267-1324, 1998], при подаче на внешние электроды, между которыми располагается слой сегнетоэлектрика в параэлектрическом состоянии, постоянного напряжения смещения (U=) в сегнетоэлектрике за счет электрострикции нарушается центральная симметрия и становится возможен прямой и обратный пьезоэффект (наведенный пьезоэффект). Таким образом пьезоэлектрический модуль (е) сегнетоэлектрика, находящегося в параэлектрическом состоянии, имеет ненулевое значение только при воздействии постоянного электрического поля (E=). Подобная структура в области СВЧ частот эквивалентна высокодобротному акустическому резонатору, содержащему источники гиперзвука, т.к. слои сегнетоэлектрика за счет наведенного пьезоэффекта возбуждают в структуре акустические волны с частотой переменного электрического поля (U~).
Феноменологическая теория сегнетоэлектриков с фазовым переходом второго рода устанавливает следующую взаимосвязь между управляющим полем и искомым пьезоэлектрическим модулем:

где E= – напряженность электрического поля в сегнетоэлектрическом слое, созданная управляющим полем; G – коэффициент электрострикции сегнетоэлектрика. Т.е. в зависимости от направления вектора напряженности постоянного электрического поля пьезоэлектрический модуль может менять знак. Как следует из выражения (1), для усиления наведенного пьезоэффекта следует повышать напряженность электрического поля. Однако существуют ограничения на предельные значения постоянного напряжения (U=h·E=, где h – толщина сегнетоэлектрического слоя), связанные с возможностью пробоя сегнетоэлектрика (обычно поля, соответствующие пробою, E=100-200 В/мкм).
Подобно любому резонатору, рассматриваемый акустический резонатор имеет спектр собственных частот, качественно представленный на фиг.2. На каждой собственной частоте в структуре реализуется стоячая волна механических смещений, пространственное распределение которой ( m(x)), описывается выражением:

где x – координата, max – амплитуда механических смещений, k – волновой вектор.
Как указано, например, в статье [S. Tappe, U. Bottger, R. Waser, «Electrostrictive resonances in Ва0.7Sr0,3TiO3 thin films at microwave frequencies», Appl. Phys. Lett. 2004, V.85, N4, p.624-626], в структуре, состоящей из внешних электродов и расположенного между ними слоя сегнетоэлектрика, в парафазе возбуждаются только нечетные моды. В структуре с двумя сегнетоэлектрическими слоями, имеющими пьезомодули одного знака (фиг.3), также возбуждаются только нечетные моды. Для примера, на фиг.4 и фиг.5 представлены пространственные распределения стоячей акустической волны для первой (нечетная) и второй (четная) собственных мод акустического резонатора с двумя слоями сегнетоэлектрика. Для первой (нечетной) моды (фиг.4) смещения внешних границ имеют разный знак, т.е. происходят в разных направлениях, поэтому происходит изменение линейных размеров структуры, что соответствует пьезоэффекту. Для второй (четной) моды (фиг.5) смещения внешних границ происходят в одном направлении, т.е. не происходит изменения линейных размеров структуры, что не соответствует пьезоэффекту. Таким образом, при одинаковом направлении постоянного электрического поля в обоих слоях сегнетоэлектрика возбуждение четных мод не происходит.
В структуре с двумя сегнетоэлектрическими слоями, имеющими пьезомодули разных знаков (фиг.6), уже нечетные моды являются непьезоэлектрическими, т.к. вследствие разных знаков у пьезомодулей смещения внешних границ происходят в одном направлении. Для четных мод происходит изменение линейных размеров структуры. Т.е. в случае противоположных направлений постоянного электрического поля в слоях сегнетоэлектрика происходит возбуждение только четных мод.
Таким образом, способ перестройки частоты сегнетоэлектрического акустического резонатора заключается в создании в сегнетоэлектрических слоях пьезомодулей либо одного знака, тогда происходит возбуждение нечетных мод резонатора на соответствующих частотах, либо разных знаков, тогда происходит возбуждение четных мод резонатора с соответствующим изменением частоты (фиг.7).
Как уже отмечалось ранее, смена знака пьезомодуля осуществляется путем изменения направления вектора напряженности постоянного электрического поля. Например, одинаковое направление вектора напряженности для конкретной структуры Pt(300 нм)/Ва0,3Sr0,7TiO3(225 нм)/Pt(50 нм)/Ва0,3Sr0,7TiO3(225 нм)/Pt(300 нм) в обоих слоях титаната бария-стронция может быть обеспечено путем подачи следующих напряжений: на верхний электрод – 40 В, на дополнительный внутренний электрод – 20 В, на нижний электрод – 0 В. При изменении напряжения на верхнем электроде с 40 на 0 В в первом слое титаната бария-стронция происходит изменение направления вектора напряженности постоянного электрического поля и, как следствие, изменение знака пьезомодуля.
Как показано в статье [S. Gevorgian, A. Vorobiev, Т. Lewin, «DC field and temperature dependent acoustic resonances in parallel-plate capacitors based on SrTiO3 and Ba0,25Sr0,75TiO3 films: Experiment and modeling», J. Appl. Phys. 99, 124112, 2006], электрический отклик акустического резонатора с сегнетоэлектрической пленкой на СВЧ сигнал проявляется в виде аномальной зависимости электрического импедаиса (Z) от частоты в области собственного акустического резонанса. Для примера, на фиг.8 показана частотная зависимость вещественной части электрического импеданса и возможная перестройка частоты для указанной выше конкретной структуры на основе двух слоев титаната бария-стронция.
Рассматриваемый перестраиваемый резонатор является основой для создания перестраиваемых электроакустических фильтров СВЧ. Фиг.9 иллюстрирует перестройку полосы пропускания трехпольного полоснопропускающего фильтра на основе сегнетоэлектрических акустических резонаторов.
На фиг.10 представлен пример выполнения акустического резонатора, состоящего из верхнего и нижнего внешних электродов 1 и 2, являющихся соответственно СВЧ входом и выходом резонатора, первого сегнетоэлектрического слоя 3, а также двух дополнительных электродов 4, 7 и двух дополнительных слоев сегнетоэлектрика 5, 8. Нижний электрод 2 располагается на диэлектрической подложке 6. Сегнетоэлектрик дополнительных слоев может находиться как в парафазе, так и в сегнетофазе, отличие заключается лишь в том, что в первом случае постоянное напряжение смещения сохраняется на электродах в течение всего периода работы резонатора, а во втором – может быть снято после переключения знака пьезомодуля, т.к. в сегнетоэлектрическом состоянии пьезоэффект возможен и в отсутствие внешнего постоялого поля. Увеличение числа слоев сегнетоэлектрика существенно не меняет принцип действия резонатора, а позволяет за счет увеличения числа источников гиперзвука дополнительно управлять амплитудой стоячих воли, т.е. менять эффективность возбуждения каждой собственной моды.
На фиг.11 представлен пример выполнения акустического резонатора, состоящего из верхнего и нижнего внешних электродов 1 и 2, первого сегнетоэлектрического слоя 3, одного дополнительного внутреннего электрода 4 и одного дополнительного слоя сегнетоэлектрика 5, а также двух дополнительных слоев линейного диэлектрика 9, 10. Введение дополнительных слоев линейного диэлектрика эквивалентно увеличению толщины сегнетоэлектрических слоев с той лишь разницей, что в случае линейного диэлектрика увеличивается добротность резонатора и уменьшается коэффициент электромеханической связи. Для увеличения добротности резонатора с сохранением величины коэффициента электромеханической связи между внешними электродами могут быть дополнительно введены слои пьезоэлектрика, т.к. пьезоэлектрик (например, AlN или ZnO) имеет на порядок большую акустическую добротность по сравнению с сегнетоэлектриком.
На фиг.12 представлен пример выполнения акустического резонатора с вытравленной под центральной частью внешнего электрода подложкой 11. В этом случае на обеих внешних границах реализуются условия полного отражения акустической волны, что существенно повышает добротность резонатора, поскольку отсутствует отток энергии в подложку.
На фиг.13 представлен пример выполнения акустического резонатора с выполненным между внешним электродом и подложкой воздушным зазором 12. В этом случае также отсутствует отток энергии в подложку. Подобные структуры изготовляются на полупроводниковых подложках с использованием методов селективного травления. Достоинством является возможность изготовления резонаторов на полупроводниковой (например, кремниевой) подложке и объединения их с другими электронными компонентами, изготовленными на этой же подложке.
На фиг.14 представлен пример выполнения акустического резонатора с расположенным между внешним электродом и подложкой акустическим зеркалом 13. Как показано в статье [Г.Д.Мансфельд «Селекция мод пьезоэлектрического слоя в составном акустическом резонаторе на объемных акустических волнах». Письма в ЖТФ, 1997, том 23, 19] акустическое зеркало представляет собой чередующиеся слои с высоким и низким акустическими сопротивлениями и позволяет использовать подложку из любого материала, без изменения акустической добротности резонатора и его электрических характеристик.
Описанное изобретение расширяет возможности перестройки резонансной частоты акустических резонаторов за счет электрического управления возбуждением собственных мод резонатора.
Формула изобретения
1. Акустический резонатор, содержащий опору в виде диэлектрической подложки, два внешних электрода и слой сегнетоэлектрика в параэлектрическом состоянии, отличающийся тем, что между внешними электродами введен как минимум один дополнительный внутренний электрод с соответствующим увеличением числа слоев сегнетоэлектрика.
2. Акустический резонатор по п.1, отличающийся тем, что сегнетоэлектрик дополнительных слоев находится в параэлектрическом состоянии.
3. Акустический резонатор по п.1, отличающийся тем, что между внешними электродами дополнительно введен как минимум один слой линейного диэлектрика.
4. Акустический резонатор по п.1, отличающийся тем, что между внешними электродами дополнительно введен как минимум один слой пьезоэлектрика.
5. Акустический резонатор по п.1, отличающийся тем, что сегнетоэлектрик как минимум одного из дополнительных слоев находится в сегнетоэлектрическом состоянии.
6. Акустический резонатор по п.1, отличающийся тем, что под центральной частью внешнего электрода вытравлена подложка.
7. Акустический резонатор по п.1, отличающийся тем, что между внешним электродом и подложкой выполнен воздушный зазор.
8. Акустический резонатор по п.1, отличающийся тем, что между внешним электродом и подложкой расположено акустическое зеркало.
9. Способ перестройки частоты сегнетоэлектрического акустического резонатора путем подачи постоянного и СВЧ-напряжения на внешние электроды, отличающийся тем, что на дополнительные внутренние электроды подают постоянное напряжение, и величины подаваемых постоянных напряжений меняют от величин, обеспечивающих одинаковое направление вектора напряженности постоянного электрического поля в слоях сегнетоэлектрика, до величин, обеспечивающих противоположное направление вектора напряженности постоянного электрического поля в слоях сегнетоэлектрика.
РИСУНКИ
|
|