|
(21), (22) Заявка: 2009112095/09, 01.04.2009
(24) Дата начала отсчета срока действия патента:
01.04.2009
(46) Опубликовано: 20.08.2010
(56) Список документов, цитированных в отчете о поиске:
SU 52093 А1, 01.01.1937. SU 196958 A1, 01.01.1967. SU 1354258 A1, 23.11.1987. SU 126164 A1, 01.01.1960. DE 2359026 A1, 27.06.1974.
Адрес для переписки:
457040, Челябинская обл., г. Южноуральск, ул. Заводская, 1, ОАО “ЮАИЗ”, отдел информации
|
(72) Автор(ы):
Рукавишников Юрий Вениаминович (RU), Дружинин Иван Иванович (RU)
(73) Патентообладатель(и):
Открытое акционерное общество “Южноуральский арматурно-изоляторный завод” (RU)
|
(54) СПОСОБ ЗАЧИСТКИ ПОДВЕСНЫХ ВЫСОКОВОЛЬТНЫХ ИЗОЛЯТОРОВ И УСТРОЙСТВО ДЛЯ ЕГО ОСУЩЕСТВЛЕНИЯ
(57) Реферат:
Изобретение относится к области электроэнергетики, в частности зачистке излишков песчано-цементной связки, образующихся на стыке шапки и стеклодетали в процессе их соединения. Техническим результатом является повышение эффективности удаления излишков песчано-цементной смеси в процессе изготовления подвесных высоковольтных изоляторов, исключение ручного труда. Способ зачистки подвесных высоковольтных изоляторов путем поверхностного механического воздействия на излишки связки на поверхности изолятора, вращающейся щеткой, в котором осуществляют предварительный обдув изолятора воздухом, температуру которого выбирают в интервале, обеспечивающим потерю связкой способности к адгезии, изолятор приводят во вращение, при этом скорость вращения щетки не менее 1000 об/мин. Устройство для зачистки подвесных высоковольтных изоляторов включает узел крепления изоляторов и вращающуюся щетку для очистки изоляторов, в котором узел крепления изоляторов выполнен в виде поворотного стола с опорными гнездами для шапок изоляторов, устройство снабжено механизмами вращения и вертикального перемещения изолятора, щетка снабжена приводом вращения и механизмом прижима, устройство снабжено элементами для подачи воздуха, установленными вдоль трассы перемещения изоляторов к поворотному столу. 2 н. и 8 з.п. ф-лы, 2 ил.
Изобретение относится к области электроэнергетики, в частности к изготовлению подвесных высоковольтных изоляторов для воздушных линий электропередач, в частности к стадии зачистки излишков песчано-цементной связки, образующихся на стыке шапки и стеклодетали в процессе их соединения (армирования изоляторов).
Известен способ очистки стержней и шапок дефектных изоляторов от изоляционной массы (авторское свидетельство СССР 196958). В соответствии с этим способом для очистки стержней и шапок от изоляционной массы используют поверхностное механическое воздействие в среде жидкости с помощью электрогидравлического эффекта.
Устройство для такой очистки включает размещенные в баке с двумя основаниями из обрезиненных и стянутых по углам гетинаксовых листов с отверстием в центре для прохода изоляторов. На нижнем основании расположены три плунжерных захвата для удержания изолятора в центре устройства. Между захватами размещены стальные электроды отрицательной полярности, связанные с конденсатором. На верхнем основании закреплены три положительных электрода.
В процессе обработки за счет кратковременного воздействия взрывного характера цементная связка подвергается хрупкому разрушению, что приводит к разъединению стержней и шапок, для чего и предназначено указанное устройство.
Такое устройство нельзя использовать для снятия излишков цементно-песчаной смеси, оставшейся после сборки изоляторов, поскольку для этого требуется размягчить только излишний, поверхностный объем смеси, оставив слой, соединяющий шапку и стеклодеталь неизменным.
Известен способ очистки линейных изоляторов на линиях электропередач без отключения напряжения путем поверхностного механического воздействия за счет ручного вращения охватывающих изолятор щеток (авторское свидетельство СССР 52093). Щетки можно предварительно намочить, что может вызвать «корону», повышающую температуру воды, а можно применять для очистки химические пасты.
Устройство для осуществления указанного способа представляет собой изоляционную штангу, снабженную на конце рогатиной для захвата головки очищаемого изолятора, подвешенного посредством специального узла крепления, и установленной на конце рогатины обоймой для подвижной скобы, приводимой в движение при вращении штанги и несущей на концах щетки, предназначенные для протирки тела изолятора – узел зачистки (см. там же).
Указанные способ и устройство предназначены для очистки изоляторов от пыли, грязи и др. и используются в полевых условиях. Способ можно было бы применить в производстве изоляторов для снятия излишков песчано-цементной смеси, однако при этом не будет происходить разогрева воды, т.к. отсутствует напряжение, поэтому качество очистки будет низким.
Устройство не применимо для указанных целей.
Кроме того, указанные способ и устройство, выбранные в качестве прототипа, отличаются низкой производительностью, ручной труд очень утомителен, требует постоянного внимания рабочего, связан с опасностью для жизни.
Задачей настоящего изобретения является повышение эффективности удаления излишков песчано-цементной смеси в процессе изготовления подвесных высоковольтных изоляторов, исключение ручного труда.
Указанная задача решается за счет того, что в способе зачистки подвесных высоковольтных изоляторов путем поверхностного механического воздействия вращающейся щеткой согласно предлагаемому изобретению осуществляют предварительный обдув изолятора воздухом, температуру которого выбирают в интервале, обеспечивающим потерю связкой способности к адгезии, изолятор приводят во вращение, при этом скорость вращения щетки не менее 1000 об/мин.
Обдув может производиться предварительно подогретым воздухом.
Указанная задача также решается за счет того, что в устройстве для зачистки подвесных высоковольтных изоляторов, содержащем узел крепления изоляторов и узел очистки, включающий щетку, установленную с возможностью вращения, согласно предлагаемому изобретению узел крепления изоляторов выполнен в виде поворотного стола с опорными гнездами для шапок изоляторов, а устройство снабжено механизмами вращения и вертикального перемещения изолятора, щетка снабжена приводом вращения и механизмом прижима, при этом устройство зачистки снабжено элементами для подачи воздуха, установленными вдоль трассы перемещения изоляторов к поворотному столу.
Устройство для зачистки подвесных высоковольтных изоляторов может быть снабжено устройством для перемещения изоляторов из зоны соединения шапки с изолирующим элементом посредством песчано-цементной смеси к опорным гнездам поворотного стола.
Механизм вращения изолятора включает планшайбу с вертикальной стойкой, установленную с возможностью вращения посредством электропривода.
Механизм вертикального перемещения изолятора включает планшайбу с вертикальной стойкой, установленные с возможностью прижима или извлечения изолятора посредством пневмопривода.
Планшайба снабжена эластичными накладками.
Механизм прижима щетки включает пневмоцилиндр, шток которого связан с поворотным основанием с размещенным на нем приводом вращения с установленной на его оси щеткой.
Элементы для подачи воздуха могут быть выполнены в виде связанных с пневмосистемой трубок с отверстиями, направленными в зону зачистки.
Элементы для подачи воздуха могут быть снабжены регулируемыми нагревателями.
Проведенные патентные исследования позволяют предположить, что заявляемые объекты соответствуют условиям патентоспособности изобретений.
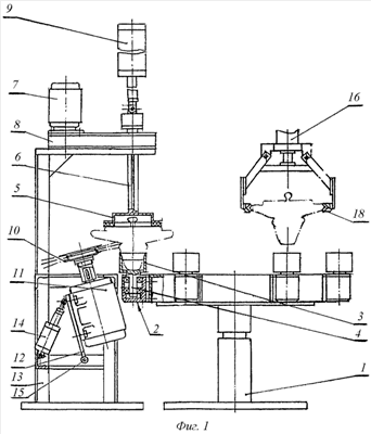
Сущность изобретений поясняется чертежами, где на фиг. 1 представлена схема устройства для зачистки подвесных высоковольтных изоляторов (вид спереди), на фиг. 2 – схематично изображена часть конвейера подачи изоляторов от позиции сборки (вид сверху).
Устройство предназначено для удаления излишков песчано-цементной смеси, остающихся на наружной поверхности изолятора после соединения его частей (армирования изоляторов).
Устройство для зачистки подвесных высоковольтных изоляторов включает поворотный стол 1 с опорными гнездами 2 для изоляторов.
Каждое гнездо 2 представляет собой стакан 3 со стойкой 4, установленной в подшипниках, размещенных в опорных втулках поворотного стола 1. Размеры внутренней полости стакана 3 соответствуют размерам шапки изолятора. Для обеспечения надежного охвата конусной части шапки изолятора в стакане 3 предусмотрена коническая заходная часть.
В рабочей позиции (позиции зачистки) над гнездом 2 установлены механизмы вращения и вертикального перемещения изолятора. Механизмы включают планшайбу 5, предназначенную для охвата верхней части перевернутого изолятора, его прижима к опорной части стакана 3, приведения изолятора во вращение.
Планшайба 5 жестко связана с вертикально расположенной стойкой 6 со шлицами, кинематически связанной с приводом. Привод включает электродвигатель 7 и редуктор 8 (механизм вращения изолятора).
Кроме того, верхняя часть стойки 6, выступающая из редуктора 8, шарнирно связана со штоком пневмоцилиндра 9 (механизм вертикального перемещения изолятора).
Щетка 10 с радиально направленными проволоками, обеспечивающая удаление излишков песчано-цементной связки, установлена на выходном валу привода вращения щетки (электродвигатель 11 с редуктором). Электропривод вращения щетки размещен на поворотном основании 12, шарнирно связанном с рамой 13 установки. На раме 13 также шарнирно закреплен корпус пневмоцилиндра 14, шток которого шарнирно связан с поворотным основанием 12. При выдвижении штока пневмоцилиндра 14 основание 12 поворачивается на оси 15, приближая щетку 10 к зоне зачистки.
Заявляемое устройство снабжено также механизмом 16 перемещения изолятора от конвейера 17, на котором осуществляется сборка изолятора (армирование), к поворотному столу 1. Указанный механизм 16 обеспечивает подъем и опускание изолятора посредством захватов 18, а также поступательное перемещение изолятора от конвейера 17 к гнезду 2 поворотного стола 1.
Воздух для обдува изоляторов может подаваться с помощью специальных вентиляторов (не показаны) или через трубки (воздуходувки) 19 с отверстиями, направленными в зону зачистки, связанные с пневмосистемой. Выходное отверстие трубок 19 ориентировано на зону соединения частей изолятора. Трубки 19 могут быть расположены по ходу перемещения армированных изоляторов на конвейере 17 или вдоль траектории перемещения изолятора от конвейера 17 к поворотному столу 1, при этом воздух подается противотоком по отношению к перемещению изоляторов.
Заявляемый способ осуществляется следующим образом.
Собранные (армированные) изоляторы перемещают конвейером 17 к поворотному столу 1 устройства зачистки. По ходу движения производится обдув изолятора воздухом, температуру которого выбирают в интервале, обеспечивающим потерю связкой способности к адгезии, то есть к слипанию с поверхностью изолятора. В таком состоянии песчано-цементная связка переходит из мягкого состояния в плотное, не распадающееся («подвяленное» состояние материала связки). Воздух подается через специальные трубки 19, размещенные по ходу движения изоляторов и связанные, например, с пневмосистемой.
Подготовленный изолятор устанавливается шапкой вниз в стакан 3 опорного гнезда 2 поворотного стола 1.
Затем изолятор поджимается посредством пневмоцилиндра 9, шток которого смещает стойку 6 относительно редуктора 8. Надежный прижим необходим для того, чтобы при дальнейшем приведении изолятора во вращение не произошло разъединение его частей. Обе составные части изолятора (шапка и стеклодеталь) должны вращаться синхронно.
После этого изолятор приводится во вращение посредством планшайбы 5 со шлицевой стойкой 6, кинематически связанной с электродвигателем 7 через редуктор 8.
Скорость вращения выбирается из условия неразрушения промежуточного слоя между шапкой и стеклодеталью изолятора.
Затем посредством электродвигателя 11 приводят во вращение щетку 10, например, в одном направлении с вращением изолятора. Скорость вращения щетки должна быть не менее 1000 об/мин. Если скорость вращения щетки 13 будем меньше указанной величины, то процесс зачистки удлиняется, что приведет к снижению производительности труда.
Далее вращающуюся щетку вводят в соприкосновение со стыком шапки и стеклодетали изолятора. Для этого, посредством пневмоцилиндра 14 поворотное основание 12 вместе электродвигателем 1, редуктором и размещенной на выходном валу редуктора щеткой 10 поворачивают на оси 15, приближая вращающуюся щетку 10 к изолятору. Обработку производят до полной очистки поверхности изолятора от излишков песчано-цементной связки.
После окончания очистки щетка 10 отводится от изолятора, последний извлекается из стакана 3 опорного гнезда 2 и передается на следующую позицию.
Формула изобретения
1. Способ зачистки подвесных высоковольтных изоляторов путем поверхностного механического воздействия на излишки связки на поверхности изолятора вращающейся щеткой, отличающийся тем, что осуществляют предварительный обдув изолятора воздухом, температуру которого выбирают в интервале, обеспечивающим потерю связкой способности к адгезии, изолятор приводят во вращение, при этом скорость вращения щетки не менее 1000 об/мин.
2. Способ зачистки подвесных высоковольтных изоляторов по п.1, отличающийся тем, что обдув производят предварительно подогретым сжатым воздухом.
3. Устройство для зачистки подвесных высоковольтных изоляторов, включающее узел крепления изоляторов и вращающуюся щетку для очистки изоляторов, отличающееся тем, что узел крепления изоляторов выполнен в виде поворотного стола с опорными гнездами для шапок изоляторов, а устройство снабжено механизмами вращения и вертикального перемещения изолятора, щетка снабжена приводом вращения и механизмом прижима, при этом устройство зачистки снабжено элементами для подачи воздуха, установленными вдоль трассы перемещения изоляторов к поворотному столу.
4. Устройство для зачистки подвесных высоковольтных изоляторов по п.3, отличающееся тем, что снабжено устройством для перемещения изоляторов из зоны соединения шапки с изолирующим элементом посредством песчано-цементной смеси к опорным гнездам поворотного стола.
5. Устройство для зачистки подвесных высоковольтных изоляторов по п.3, отличающееся тем, что механизм вращения изолятора включает планшайбу с вертикальной стойкой, установленные с возможностью вращения посредством электропривода.
6. Устройство для зачистки подвесных высоковольтных изоляторов по п.3, отличающееся тем, что механизм вертикального перемещения изолятора включает планшайбу с вертикальной стойкой, установленные с возможностью прижима или извлечения изолятора посредством пневмопривода.
7. Устройство для зачистки подвесных высоковольтных изоляторов по п.3, отличающееся тем, что планшайба снабжена эластичными накладками.
8. Устройство для зачистки подвесных высоковольтных изоляторов по п.3, отличающееся тем, что механизм прижима щетки включает пневмоцилиндр, шток которого связан с поворотным основанием с размещенным на нем приводом вращения с установленной на его оси щеткой.
9. Устройство для зачистки подвесных высоковольтных изоляторов по п.3, отличающееся тем, что элементы для подачи воздуха выполнены в виде связанных с пневмосистемой трубок с отверстиями, направленными в зону зачистки.
10. Устройство для зачистки подвесных высоковольтных изоляторов по п.3, отличающееся тем, что элементы для подачи воздуха снабжены регулируемыми нагревателями.
РИСУНКИ
|