|
|
(21), (22) Заявка: 2009135414/09, 23.09.2009
(24) Дата начала отсчета срока действия патента:
23.09.2009
(46) Опубликовано: 20.08.2010
(56) Список документов, цитированных в отчете о поиске:
ТУ 16-505.293-81. US 3684821 А, 15.08.1972. US 3772454 А, 13.11.1973. RU 2338279 С2, 10.11.2008.
Адрес для переписки:
111024, Москва, ш. Энтузиастов, 5, ОАО ВНИИКП, патентный отдел
|
(72) Автор(ы):
Дьяконов Анатолий Викторович (RU)
(73) Патентообладатель(и):
Открытое акционерное общество Всероссийский научно-исследовательский, проектно-конструкторский и технологический институт кабельной промышленности (ВНИИ КП) (RU)
|
(54) ПОЛЕВОЙ КАБЕЛЬ СВЯЗИ
(57) Реферат:
Изобретение относится к кабельной технике, в частности к электрическим кабелям связи многократного применения. Согласно изобретению в полевом кабеле связи многократного применения, имеются токопроводящие жилы, изоляционно-защитная оболочка и грузонесущий элемент, расположенный под указанной оболочкой и выполненный из синтетических высокопрочных нитей. С каждой из сторон строительной длины кабеля установлены соединительные полумуфты, в корпусе каждой из которых размещаются контактная колодка, к которой припаиваются токопроводящие жилы кабеля, уплотнительные элементы, а также узел крепления грузонесущего элемента кабеля. При этом в корпусе полумуфты имеется выступ, а узел крепления грузонесущего элемента имеет П-образную форму со средней частью цилиндрической формы. Грузонесущий элемент кабеля разделен на два пучка, встречно и не перекрывая друг друга намотанные на цилиндрическую часть узла крепления и скрепленные между собой после не менее одного витка намотки, например, с помощью узла, а торцы боковых частей (стоек) узла крепления грузонесущего элемента взаимодействуют с выступом на корпусе полумуфты. Для повышения разрывной прочности кабеля при наличии в его конструкции четырех или более пучков синтетических высокопрочных нитей на цилиндрической части узла крепления размещено, как минимум, два места соединения пучков нитей. Техническим результатом является повышение разрывной прочности полевого кабеля с грузонесущим элементом, выполненным из высокопрочных волокон. 1 з.п. ф-лы, 3 ил.
Предлагаемый полевой кабель относится к кабельной технике, в частности к электрическим кабелям связи многократного применения.
Известны электрические кабели связи многократного использования с витыми токопроводящими жилами (патент США 3772454, МПК Н01В 7/00 (174/113R); патент США 3684821, МПК Н01В 7/00 (174/102SC); патент США 4039743, МПК Н01В 11/02 (174/114R); патент США 436422, МПК H01R 4/24; патент Англии 1311552, МПК Н01В 7/04 (Н01А); патент Англии 1164256, МПК Н01В 7/00 (Н01А); патент Англии 1138653, МПК Н01В 7/00 (Н01А)). Однако данные кабели малопригодны для полевой эксплуатации, имеют неудовлетворительные массогабаритные характеристики и не обеспечивают требуемую разрывную прочность в месте заделки кабеля в соединительную арматуру.
Наиболее близким по совокупности существенных признаков к предлагаемому кабелю является кабель П-296М (технические условия ТУ 16-505.293-81, «Кабель дальней связи полевой П-296М и комплектующие изделия»), выбранный в качестве прототипа. Строительная длина данного кабеля имеет токопроводящие жилы, изоляционно-защитную оболочку и грузонесущий элемент (оплетка из 38 стальных проволок), расположенный под указанной оболочкой, который фиксируется в полумуфте с помощью пайки к втулке. При этом строительная длина оснащена с каждой из сторон соединительными полумуфтами, в каждой из которых размещаются контактная колодка, к которой припаиваются токопроводящие жилы кабеля, хвостовые и торцевые уплотнительные элементы, размещаемые со стороны ввода кабеля в полумуфту и с внешней стороны контактной колодки соответственно.
Недостаток данной конструкции состоит в том, что она не позволяет зафиксировать грузонесущий элемент, выполненный не из стали, а из высокопрочных волокон (например, из нитей СВМК). Кроме того, при приложении к кабелю растягивающих усилий под углом к оси кабеля (растягивающие усилие с изгибом) пучки нитей, расположенные по внешнему радиуса изгиба, принимают на себя большую нагрузку, чем пучки нитей, расположенные по внутреннему радиусу. Подобное механическое воздействие на полевой кабель является типовым и, как следствие, приводит к снижению общей разрывной прочности кабеля.
Поставленная задача состоит в повышении разрывной прочности полевого кабеля с грузонесущим элементом, выполненным из высокопрочных волокон.
Технический результат достигается за счет следующего. В полевом кабеле связи многократного применения имеются токопроводящие жилы, изоляционно-защитная оболочка и грузонесущий элемент, расположенный под указанной оболочкой и выполненный из синтетических высокопрочных нитей. С каждой из сторон строительной длины кабеля установлены соединительные полумуфты, в корпусе каждой из которых размещаются контактная колодка, к которой припаиваются токопроводящие жилы кабеля, уплотнительные элементы, а также узел крепления грузонесущего элемента кабеля. При этом в корпусе полумуфты имеется выступ, а узел крепления грузонесущего элемента имеет П-образную форму со средней частью цилиндрической формы. Грузонесущий элемент кабеля разделен на два пучка, встречно и не перекрывая друг друга намотанные на цилиндрическую часть узла крепления и скрепленные между собой после не менее одного витка намотки, например, с помощью узла, а торцы боковых частей (стоек) узла крепления грузонесущего элемента взаимодействуют с выступом на корпусе полумуфты.
Сопоставительный анализ заявленного устройства с прототипом показывает, что предлагаемый кабель имеет ряд общих конструктивных элементов с прототипом, но отличается наличием дополнительных элементов. Таким образом, заявленное устройство отличается наличием дополнительных элементов и, следовательно, заявленное устройство соответствует критерию изобретения «новизна».
Сравнение заявленного устройства с другими аналогичными техническими решениями, в том числе и с прототипом, показывает, что введение дополнительных элементов в конструкцию полумуфты, их взаимное расположение и форма позволяют достичь требуемый технический результат – повышение разрывной прочности полевого кабеля с грузонесущим элементом, выполненным из высокопрочных волокон. Это позволяет сделать вывод о существенности отличительных признаков заявленного кабеля в сравнении с известными аналогами и прототипом, т.е. предлагаемое техническое решение имеет изобретательский уровень.
Анализ конструкции предлагаемого кабеля показывает, что данное техническое решение является промышленно применимым, поскольку обеспечивает достижение конкретного технического результата и может быть воспроизведено на современных предприятиях кабельной промышленности.
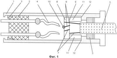
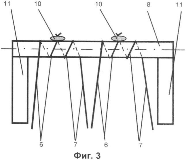
Сущность предлагаемого изобретения можно уяснить из фиг.1, на которой в разрезе представлен предлагаемый кабель с грузонесущим элементом из высокопрочных волокон и армированный полумуфтой с предлагаемым узлом крепления грузонесущего элемента. На фиг.2 представлен узел крепления грузонесущего элемента с намотанными на него двумя пучками синтетических высокопрочных волокон, а на фиг.3 – вариант узла крепления грузонесущего элемента с намотанными на него четырьмя пучками синтетических высокопрочных волокон.
На фиг.1-3 обозначено:
1 – корпус полумуфты;
2 – контактная колодка;
3 – уплотнительный элемент;
4 – жилы кабеля;
5 – неармированный кабель;
6 – первый пучок высокопрочных нитей;
7 – второй пучок высокопрочных нитей;
8 – цилиндрическая часть узла крепления грузонесущего элемента;
9 – узел крепления грузонесущего элемента;
10 – узел из двух пучков;
11 – боковые части (стойки) узла крепления грузонесущего элемента;
12 – выступ на корпусе полумуфты.
Конструктивная взаимосвязь элементов предлагаемого полевого кабеля состоит в следующем. В корпусе 1 полумуфты размещены контактная колодка 2, а также хвостовые и торцевые уплотнительные элементы 3. К контактам колодки 2 припаяны токопроводящие жилы 4 (на фиг.1 показаны неполностью) неармированного кабеля 5. Грузонесущий элемент кабеля 5 разделен на два пучка – первый 6 и второй 7, которые встречно намотаны на цилиндрическую часть 8 узла крепления 9 грузонесущего элемента. После не менее одного полного витка вокруг цилиндрической части 8 пучки 6 и 7 связаны между собой в узел 10. Боковые части 11 узла крепления 9 размещены на выступе 12, имеющемся на корпусе 1.
Устройство работает следующим образом. При приложении продольных растягивающих усилий к армированному кабелю 5 (кабель вытягивают из полумуфты) нагрузка, через пучки нитей 6 и 7, передается на узел крепления 9 грузонесущего элемента, а также на место соединения 10 (например, «прямой» узел) пучков 6 и 7, пропорционально распределяясь между данными элементами конструкции. При этом стойки 11 узла крепления 9 упираются в выступ 12 на корпусе 1, что ограничивает осевое перемещение узла крепления 9. Круговое (вращательное) перемещение узла крепления 9 исключается за счет встречной намотки пучков 6 и 7 на цилиндрическую часть 8 узла крепления 9. За счет того, что пучки 6 и 7 намотаны на цилиндрическую часть 8 без перекрытия, исключается их передавливание, то есть не снижаются прочностные характеристики данных пучков. Место соединения 10 пучков 6 и 7 является, с точки зрения прочностных характеристик, наиболее «слабым» местом данной конструкции, т.к. элементарные нити пучков 6 и 7 претерпевают в этом месте наибольший изгиб. Однако, за счет того, что значительная часть нагрузки перераспределяется с места соединения 10 пучков на фиксатор 9, обеспечивается существенное повышение разрывной прочности изделия в целом по сравнению с известными изделиями аналогичного назначения.
Отдельно следует рассмотреть работу предлагаемого устройства при воздействии на кабель 5 продольных растягивающих усилий под углом к оси кабеля (растягивающие усилие с изгибом). В этом случае пучки нитей, расположенные по внешнему радиуса изгиба, принимают на себя большую нагрузку, чем пучки нитей, расположенные по внутреннему радиусу, что в известных конструкциях аналогичного назначения приводит к резкому снижению разрывной прочности кабеля. В предлагаемом техническом решении пучок нитей, к которому приложено большее усилие, например 6, вытягивает на себя пучок нитей 7, а узел их соединения 10 несколько смещается (вращается) по цилиндрической поверхности 8 узла крепления 9. Таким образом происходит перераспределение нагрузок на пучки 6 и 7 до полного их выравнивания.
При наличии в конструкции полевого кабеля четырех или более пучков синтетических высокопрочных нитей (показано на фиг.3), целесообразно на цилиндрическую часть 8 узла крепления 9 сделать не один, а как минимум, два места соединения 10 пучков нитей 6 и 7, скрепив их аналогично описанному выше. Это позволит лучше перераспределить нагрузку при воздействии на кабель 5 продольных растягивающих усилий под углом к оси кабеля (растягивающие усилие с изгибом).
При изготовлении полевого кабеля с предлагаемым типом полумуфт необходимо учитывать, что узел крепления грузонесущего элемента должен иметь прочностные характеристики не хуже грузонесущего элемента кабеля, а цилиндрическая часть узла крепления должна иметь достаточно чистую обработку (предотвращение обрывов элементарных нитей при трении и свободное скольжение пучков нитей). Остальные элементы конструкции армированного полевого кабеля особенностей не имеют.
Технико-экономических эффект от внедрения предлагаемого изобретения состоит в том, что оно позволяет обеспечить разрывную прочность кабелей с грузонесущим элементом из синтетических высокопрочных волокон в месте их заделки в полумуфту на 20 35% больше (подтверждено результатами испытаний) по сравнению с известными техническими решениями. В результате учитывая статистику распределения нагрузок на кабель при его эксплуатации в полевых условиях, срок службы данного кабеля может увеличиться в 1,15 1,20 раза. Учитывая массовость выпуска кабелей мобильного использования, в том числе и с грузонесущим элементом из высокопрочных синтетических нитей, это позволит получить значительный экономический эффект.
Формула изобретения
1. Полевой кабель связи многократного применения, имеющий токопроводящие жилы, изоляционно-защитную оболочку и грузонесущий элемент, расположенный под указанной оболочкой и выполненный из синтетических высокопрочных нитей, с каждой из сторон которого установлены соединительные полумуфты, в корпусе каждой из которых размещаются контактная колодка, к которой припаиваются токопроводящие жилы кабеля, уплотнительные элементы, а также узел крепления грузонесущего элемента кабеля, отличающийся тем, что в корпусе полумуфты имеется выступ, а узел крепления грузонесущего элемента имеет П-образную форму со средней частью цилиндрической формы, при этом грузонесущий элемент кабеля разделен на два пучка, встречно и не перекрывая друг друга намотанные на цилиндрическую часть узла крепления и скрепленные между собой после не менее одного витка намотки, например, с помощью узла, а торцы боковых частей узла крепления грузонесущего элемента взаимодействуют с выступом на корпусе полумуфты.
2. Полевой кабель связи многократного применения по п.1, отличающийся тем, что на цилиндрической часть узла крепления размещено, как минимум, два места соединения пучков нитей.
РИСУНКИ
|
|