|
|
(21), (22) Заявка: 2009120642/06, 02.06.2009
(24) Дата начала отсчета срока действия патента:
02.06.2009
(46) Опубликовано: 20.08.2010
(56) Список документов, цитированных в отчете о поиске:
SU 1820763 А1, 20.07.1996. RU 2319236 С1, 10.03.2008. SU 384141 А1, 23.05.1973. WO 2008033087 А1, 20.03.2008. US 3945514 А, 23.03.1976.
Адрес для переписки:
125171, Москва, ул. Космонавта Волкова, 6А, ОАО “ВНИИАМ”, отд.35, зав.сектором Л.М. Андрееву
|
(72) Автор(ы):
Кобелев Александр Михайлович (RU), Жильников Дмитрий Владимирович (RU), Шлепкин Сергей Юрьевич (RU)
(73) Патентообладатель(и):
Открытое акционерное общество “Всероссийский научно-исследовательский и проектно-конструкторский институт атомного энергетического машиностроения” (ОАО “ВНИИАМ”) (RU)
|
(54) ПЕРЕГРУЗОЧНАЯ МАШИНА ЯДЕРНОГО РЕАКТОРА
(57) Реферат:
Изобретение относится к атомному машиностроению и может быть использовано для выполнения транспортно-технологических операций со свежими и отработавшими тепловыделяющими сборками (ТВС) в ядерном реакторе.
Перегрузочная машина ядерного реактора содержит рабочую штангу, вертикально установленную на тележке, и механизм подрыва. Исполнительное устройство механизма подрыва выполнено взаимодействующим с рабочей штангой. Исполнительное устройство выполнено в виде электромеханических домкратов с жесткой кинематической связью. Домкраты установлены на тележке, равноудалены от рабочей штанги и находятся с ней в одной вертикальной плоскости. Для подрыва ТВС включают привод, посредством которого электромеханические домкраты с жесткой кинематической связью, взаимодействуя с рабочей штангой, создают дополнительное вертикальное «толкающее» усилие, заставляя перемещаться рабочую штангу вместе с ТВС до момента освобождения хвостовика ТВС из опорного стакана шахты реактора. При этом рабочие винты домкратов движутся синхронно, исключая перекосы и заклинивание в рабочей штанге.
Изобретение направлено на повышение эксплуатационной надежности перегрузочной машины ядерного реактора. 4 ил.
Изобретение относится к атомному машиностроению и может быть использовано для выполнения транспортно-технологических операций со свежими и отработавшими тепловыделяющими сборками (ТВС) в ядерном реакторе.
При перегрузке ядерного реактора, во время проведения планово-предупредительных ремонтов, иногда возникает ситуация, когда извлечение ТВС из опорного стакана шахты реактора затруднено. Данное явление принято называть «прикипанием», а ТВС «прикипевшими».
Известна перегрузочная машина ядерного реактора, содержащая рабочую штангу, вертикально установленную на тележке, и электромеханические домкраты, установленные на тележке и взаимодействующие с рабочей штангой (ЕР 0743652, G21C 19/16. 20.11.1996).
В известной перегрузочной машине посредством электромеханических домкратов отклоняют рабочую штангу от вертикали в положение, при котором возможен захват искривленной ТВС. Эти домкраты не предназначены для подрыва прикипевших ТВС, и такая техническая задача в известной перегрузочной машине не ставится.
К настоящему изобретению наиболее близким техническим решением из известных технических решений (прототипом) является перегрузочная машина ядерного реактора, содержащая рабочую штангу, вертикально установленную на тележке, и механизм подрыва с исполнительным устройством, взаимодействующим с рабочей штангой (RU 1820763, G21C 19/10. 20.07.1996).
В прототипе механизм подрыва с исполнительным устройством выполнены в виде запорного клапана, тяги и привода для создания дополнительного вертикального усилия, которое приложено на некотором расстоянии от вертикальной центральной оси рабочей штанги. Это приводит к возникновению изгибающего момента в элементах штанги и может привести к их заклиниванию. Таким образом, недостатком прототипа является пониженная эксплуатационная надежность перегрузочной машины ядерного реактора.
Технической задачей изобретения является обеспечение приложения дополнительного вертикального усилия для подрыва прикипевшей ТВС по центральной оси рабочей штанги, исключение при этом изгибающих моментов в рабочей штанге и заклинивания ее элементов, что повысит эксплуатационную надежность перегрузочной машины ядерного реактора.
Техническая задача решается в перегрузочной машине ядерного реактора, содержащей рабочую штангу, вертикально установленную на тележке, и механизм подрыва с исполнительным устройством, взаимодействующим с рабочей штангой, причем исполнительное устройство выполнено в виде электромеханических домкратов с жесткой кинематической связью, установленных на тележке, равноудаленных от рабочей штанги и находящихся с ней в одной вертикальной плоскости.
Выполнение исполнительного устройства в виде электромеханических домкратов с жесткой кинематической связью, установленных на тележке, равноудаленных от рабочей штанги и находящихся с ней в одной вертикальной плоскости, обеспечивает приложение дополнительного вертикального усилия для подрыва прикипевшей ТВС по центральной оси рабочей штанги, исключает возникновение в ней изгибающих моментов и заклинивание ее элементов, что повышает эксплуатационную надежность перегрузочной машины ядерного реактора.
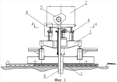
Изобретение поясняется чертежами, где на фиг.1 изображен общий вид перегрузочной машины ядерного реактора; на фиг.2 – разрез А-А фиг.1; на фиг.3 – механизм подрыва в изометрии; на фиг.4 – выносной элемент А фиг.1;
Перегрузочная машина ядерного реактора содержит рабочую штангу 1 с блоком 2 приводов, вертикально установленную на тележке 3, и механизм 4 подрыва. Рабочая штанга 1 выполнена телескопической и состоит из двух или трех трубчатых секций, к нижней из которых крепится захват для ТВС (на чертеже условно не показано). В блоке 2 приводов имеется лебедка 5, которая посредством каната 6 соединена с нижними подвижными секциями рабочей штанги 1. Механизм подрыва 4 выполнен в виде электропривода 7 и раздаточной коробки 8, соединенной жесткой кинематической связью посредством трансмиссионных валов 9 с электромеханическими домкратами 10. Домкраты 10 с такой жесткой кинематической связью являются исполнительным устройством механизма 4 подрыва. Домкраты 10 установлены на тележке 3 равноудалено от рабочей штанги 1 и в одной с ней вертикальной плоскости. Домкраты 10 имеют рабочие винты 11, посредством которых исполнительное устройство взаимодействует с рабочей штангой 1. Исполнительное устройство может взаимодействовать с рабочей штангой 1 непосредственно или, как показано на чертеже для примера, посредством блока 2 приводов, жестко соединенного со штангой 1.
Перегрузочная машина ядерного реактора работает следующим образом.
В нормальных режимах перегрузки (без прикипания ТВС) тележку 3 передвигают так, что рабочая штанга 1 устанавливается в одной из заданных координат. Захватом ТВС 1 присоединяют необходимую ТВС к внутренней подвижной секции штанги 1. Далее посредством каната 6 подвижные секции штанги 1 подтягивают в сторону лебедки 5, осуществляя подъем ТВС.
Лебедка 5 и канат 6 используются в нормальном режиме эксплуатации для перегрузки ТВС, которые извлекаются из опорных стаканов шахты реактора свободно. Извлечение прикипевшей ТВС из реактора путем создания дополнительного усилия при помощи канатной лебедки 5 недопустимо по той причине, что канат 6 является упругим элементом с достаточно большим коэффициентом относительного удлинения, и после освобождения хвостовика прикипевшей ТВС из опорного стакана канат, стремясь снять избыточное напряжение, заставит «подпрыгнуть» ТВС вверх. Сам канат при этом может запутаться, что также недопустимо.
С целью исключения этих вредных явлений применяется механизм 4 подрыва для вертикального перемещения ТВС без участия канатной лебедки 5, которая во время выполнения подрыва ТВС не работает, и канат 6 ослаблен. Для подрыва ТВС включают привод 7, посредством которого электромеханические домкраты 10 с жесткой кинематической связью, взаимодействуя со штангой 1, создают дополнительное вертикальное «толкающее» усилие, заставляя перемещаться рабочую штангу вместе с ТВС до момента освобождения хвостовика ТВС из опорного стакана шахты реактора. При этом рабочие винты 11 домкратов 10 движутся синхронно, исключая перекосы и заклинивание в рабочей штанге 1.
Формула изобретения
Перегрузочная машина ядерного реактора, содержащая рабочую штангу, вертикально установленную на тележке, и механизм подрыва с исполнительным устройством, взаимодействующим с рабочей штангой, отличающаяся тем, что исполнительное устройство выполнено в виде электромеханических домкратов с жесткой кинематической связью, установленных на тележке, равноудаленных от рабочей штанги и находящихся с ней в одной вертикальной плоскости.
РИСУНКИ
|
|