|
|
(21), (22) Заявка: 2009126316/28, 10.07.2009
(24) Дата начала отсчета срока действия патента:
10.07.2009
(46) Опубликовано: 20.08.2010
(56) Список документов, цитированных в отчете о поиске:
SU 1020855 A1, 30.05.1983. SU 1818628 A1, 30.05.1993. SU 449365 A1, 05.11.1974. SU 875445 A1, 23.10.1981.
Адрес для переписки:
111024, Москва, ул. 2-я Кабельная, 4, кв.1, Г.Ю. Квашенко
|
(72) Автор(ы):
Пичугин Станислав Владимирович (RU), Степанов Сергей Васильевич (RU)
(73) Патентообладатель(и):
Общество с ограниченной ответственностью “Химлабо” (RU)
|
(54) УЧЕБНЫЙ ПРИБОР ДЛЯ МОДЕЛИРОВАНИЯ ДВИЖЕНИЯ И ВЗАИМОДЕЙСТВИЯ ЧАСТИЦ ВЕЩЕСТВА
(57) Реферат:
Изобретение относится к учебно-наглядным пособиям и может быть использовано на занятиях, преимущественно, по физике для моделирования движения и взаимодействия частиц вещества. Технический результат заключается в повышении эффективности и наглядности обучения при проведении занятий с использованием прибора в любой аудитории. Учебный прибор для моделирования движения и взаимодействия частиц вещества содержит корпус с крышкой, установленную в корпусе пластину с отверстиями, рабочие тела – имитаторы частиц вещества, размещаемые на пластине при использовании прибора, и нагнетающее устройство, расположенное в полости корпуса под пластиной и служащее для создания потока воздуха через отверстия пластины. Кроме того, в приборе использовано видеозаписывающее устройство, имеющее возможность установки таким образом, что объектив этого устройства обращен на поверхность пластины, пластина выполнена из материала, предотвращающего попадание изображения деталей, расположенных внутри корпуса, в объектив видеозаписывающего устройства, а в корпусе имеется, по меньшей мере, одно отверстие, сообщающее полость корпуса, в которой расположено нагнетающее устройство, с атмосферой. 8 з.п. ф-лы, 2 ил.
Изобретение относится к учебно-наглядным пособиям и может быть использовано на занятиях по физике для изучения движения частиц вещества: при изучении броуновского движения микрочастиц, а также при демонстрации различных молекулярных процессов и явлений, в том числе, диффузии, распределения молекул воздуха в атмосфере Земли, теплового движения, испарения и т.д.
Известен учебный прибор для моделирования броуновского движения, содержащий диэлектрическую пластину, жестко связанное с пластиной кольцо из металлической ленты, соединенное с источником тока, расположенные на пластине металлические шарики – имитаторы молекул и средство для приведения шариков в хаотическое движение. Указанное средство содержит электрод, состоящий из установленного в центре пластины стержня и жестко связанного с ним диска. Под действием электрического поля металлические шарики, находящиеся в контакте с электродом и кольцом, приходят в движение в сторону электрода противоположного знака. При соударении с другими шариками и стенками кольца они меняют направление, приходя в непрерывное беспорядочное движение, что является наглядной моделью хаотического движения молекул газа. При увеличении напряжения между электродом и кольцом интенсивность движения шариков растет, что моделирует увеличение скорости движения молекул газа с ростом его температуры (см. SU 1020855 А1, 1983 г.). Используемое в известном приборе средство для приведения имитаторов молекул (шариков) в хаотическое движение позволяет обеспечить перемещение шариков практически только в пределах горизонтальной плоскости, не выводя их на более высокие уровни по вертикали, что в значительной степени ограничивает возможности прибора при демонстрации различных физических явлений, связанных с движением частиц вещества. Использование в известном приборе комплекта металлических шариков и металлического кольца, а также конструктивное выполнение средства для приведения шариков в хаотическое движение утяжеляет и усложняет конструкцию прибора в целом. Конструктивное выполнение прибора не обеспечивает возможность большому числу учащихся наблюдать за демонстрируемым явлением.
Известно устройство для демонстрации броуновского движения, содержащее плоское перфорированное основание (газодинамическую подушку), на котором размещены рабочие тела – плоские модули, и средство для приведения модулей в хаотичное движение, выполненное в виде источника сжатого газа. В каждом из модулей выполнен канал, проходящий через плоскую поверхность под произвольным ненулевым углом по отношению к основанию. Газ (от источника сжатого газа) подается снизу через отверстия в основании, создавая для рабочих тел – модулей – воздушную подушку, благодаря которой обеспечивается горизонтальное перемещение модулей без трения. При совмещении, в случайные моменты времени, отверстий в основании с каналами в модулях последние, в соответствии с принципами реактивного движения, начинают перемещаться. Так как моменты совмещения отверстий в основании и каналов в модулях случайны, то при перемещении модулей создается полная аналогия модельного движения и истинного броуновского движения (см. SU 1818628 А1, 1993 г.). Конструкция данного прибора ограничивает его возможности при демонстрации различных физических явлений и также затрудняет наблюдение за демонстрируемым явлением большому числу учащихся. Кроме того, оба известных прибора не проработаны в качестве компактной конструкции, удобной в переноске и хранении.
Ближайшим аналогом к заявляемому учебному прибору является прибор для демонстрации ряда опытов, моделирующих движение и взаимодействие частиц вещества. Известный прибор включает размещенную в корпусе прочную раму с напорной камерой, в прозрачной крышке которой, служащей в качестве опытной поверхности, имеется множество маленьких отверстий. В состав прибора входят также пластмассовые или алюминиевые рабочие тела. В напорную камеру компрессором по шлангу подается воздух, который, проходя через отверстия в крышке камеры, заставляет рабочие тела хаотично парить над камерой (см. каталог фирмы 3Б Сайнтифик, 09.2008 г., стр.97). Используемые в качестве средства для приведения рабочих тел в хаотичное движение и располагаемые вне корпуса известного прибора компрессор и шланг усложняют конструкцию прибора, процесс приведения его в рабочее состояние, а также переноску и хранения прибора. Кроме того, этот прибор требует использования дополнительного источника света типа графопроектор.
Заявляемое изобретение направлено на решение задачи по созданию современного учебного прибора, который может быть использован в образовательных учебных учреждениях на занятиях, преимущественно, по физике для изучения движения и взаимодействия частиц вещества.
Технический результат, который достигается при использовании заявляемого изобретения, заключается в повышении эффективности и наглядности обучения при проведении занятий с использованием прибора в любой аудитории, в упрощении конструкции прибора и процесса приведения его в рабочее состояние, в его компактности, а также в упрощении переноски и хранения прибора.
Для достижения указанного технического результата предлагается учебный прибор по физике, содержащий корпус с крышкой, установленную в корпусе пластину с отверстиями, рабочие тела – имитаторы частиц вещества, в частности, молекул, размещаемые на пластине при использовании прибора (т.е. при демонстрации опыта) и нагнетающее устройство. Нагнетающее устройство расположено в полости корпуса под пластиной и служит для создания потока воздуха через отверстия пластины. В приборе использовано видеозаписывающее устройство, имеющее возможность установки таким образом, что объектив этого устройства обращен на поверхность пластины. Пластина выполнена из материала, предотвращающего попадание изображения деталей, расположенных внутри корпуса, в объектив видеозаписывающего устройства. В корпусе имеется, по меньшей мере, одно отверстие, сообщающее полость корпуса, в которой расположено нагнетающее устройство, с атмосферой.
В качестве нагнетающего устройства, расположенного в полости корпуса под непрозрачной пластиной, использован, например, вентилятор. Поверхности рабочих тел, обращенные к непрозрачной пластине, выполняются плоскими. Преимущественно рабочие тела выполнены в виде дисков.
Отверстия в пластине могут быть расположены упорядоченными рядами или хаотично.
Пластина и рабочие тела имеют антибликовую поверхность либо за счет соответствующей обработки поверхности, либо за счет нанесения антибликового покрытия.
По периметру пластины установлены магнитные полосы, а рабочие тела выполнены из немагнитного материала и на их поверхности закреплены постоянные магниты.
В состав рабочих тел входят группы рабочих тел, различающихся по цвету и размеру.
Преимущественно в качестве видеозаписывающего устройства использована цифровая видеокамера.
Благодаря использованию в учебном приборе по физике видеозаписывающего устройства обеспечивается возможность передачи изображения, показывающего хаотичное движение рабочих тел (имитаторов частиц вещества или молекул), на компьютер (где производится обработка изображения) и далее на экран монитора или на видеопроектор с последующим проецированием изображения на экран, что, в свою очередь, позволяет демонстрировать характер движения рабочих тел – имитаторов для любой по численности аудитории. Компактность прибора, упрощение его конструкции и удобства при его хранении и переноске обеспечены тем, что все узлы и детали прибора, в том числе и видеозаписывающее устройство, располагаются при хранении внутри единого корпуса. Выполнение пластины с отверстиями непрозрачной обусловлено необходимостью скрыть наличие внутри корпуса под пластиной деталей прибора, что позволит предотвратить возможное попадания их изображения в видеокамеру (такое возможное попадание затруднит восприятие учащимися изображения, показывающего хаотичное движение рабочих тел).
Изобретение поясняется чертежами, где:
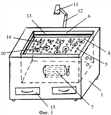
На фиг.1 изображен предлагаемый прибор в аксонометрии при открытой крышке;
На фиг.2 – то же, при закрытой крышке.
Прибор содержит корпус 1 в виде коробки с крышкой 2. Корпус имеет средство для переноски прибора, например, ручку 3.
В корпусе 1 расположена пластина 4, в которой выполнено множество сквозных отверстий 5, выходящих с одной стороны в полость корпуса, а с другой – на рабочую поверхность пластины, обращенную к крышке 2. Отверстия 5 в пластине 4 могут быть расположены упорядоченными рядами (что наиболее предпочтительно) или хаотично.
Пластина 4 установлена в корпусе 1 беззазорно по отношению к внутренним поверхностям боковых стенок 6 корпуса.
В полости корпуса 1 под пластиной 4 расположено нагнетающее устройство, которое служит для создания потока воздуха (для подачи воздуха) через отверстия 5 пластины. В качестве нагнетающего устройства использован вентилятор 7 (двигатель с крыльчаткой). В корпусе 1 имеется, по меньшей мере, одно отверстие 8, сообщающееся с атмосферой. Через отверстие 8 осуществляется подсос воздуха посредством вентилятора 7 из атмосферы в полость корпуса 1 с последующим нагнетанием воздуха через отверстия 5 в пластине 4.
На обращенной к крышке 2 рабочей поверхности пластины 4 располагаются во время опыта (свободно лежат) рабочие тела 10, которые являются имитаторами изучаемых частиц вещества, в т.ч. молекул, атомов, и размеры которых превышают размеры отверстий 5 в пластине 4. Преимущественно поверхности рабочих тел 10, обращенные к пластине 4, выполнены плоскими. Наиболее предпочтительно использовать рабочие тела в виде дисков. Площадь каждого диска выбирается такой, чтобы один диск перекрывал такое количество отверстий (как минимум, три отверстия), при котором обеспечивается эффект воздушной подушки. Рабочие тела 10 могут быть выполнены из любых немагнитных материалов (например, из пластмассы), в том числе из прозрачных материалов, которые будут приемлемы для демонстрации опытов с использованием предлагаемого прибора. Рабочие тела составлены из групп с таким расчетом, чтобы рабочие тела одной группы различались по цвету и размеру от рабочих тел другой группы.
В приборе используется видеозаписывающее устройство, преимущественно цифровая видеокамера 11, которая фиксирует процесс хаотичного движения рабочих тел 10 над пластиной 4. При хранении видеокамера 11 располагается в корпусе 1 прибора. При приведении прибора в рабочее состояние видеокамера 11 устанавливается посредством кронштейна 12 либо на опорной поверхности, на которой располагается прибор, либо на одной из стенок корпуса, либо, если это возможно, на крышке.
По периметру пластины 4 установлены магнитные полосы 13, а на поверхности рабочих тел 10 закреплены постоянные магниты 14.
Для того чтобы не возникали помехи при демонстрации опыта, к пластине 4 предъявляется существенное требование, которое заключается в том, что она должна быть выполнена из материала, предотвращающего попадание изображения расположенных внутри корпуса деталей, в частности вентилятора 7 в объектив видеокамеры 11. Наиболее предпочтительно, чтобы такой материал был полностью непрозрачным. Из соображений получения наиболее качественного изображения движения рабочих тел 10 (моделей частиц вещества, в частности, молекул) пластина 4 и рабочие тела 10 должны иметь антибликовую поверхность, которая обеспечена либо за счет соответствующей обработки поверхности, либо за счет нанесения антибликового покрытия. Цвет пластины 4 и рабочих тел 10 выбираются из условия получения контрастного изображения моделей частиц вещества, в частности, молекул на фоне пластины 4.
Габариты узлов и деталей прибора выбраны из условия обеспечения хранения их в одном корпусе. В корпусе в его нижней части имеются выдвижные ящики 15, предназначенные для хранения узлов и деталей прибора: рабочих тел, видеокамеры, штатива для установки видеокамеры, вентилятора. В ящиках 15 расположены ложементы с гнездами для размещения узлов и деталей.
Пользование прибором осуществляется следующим образом.
Открывают крышку 2. Осуществляют юстировку прибора путем регулировки положения пластины для обеспечения ее точного горизонтального положения. Для этих целей в приборе предусмотрено регулировочное устройство (на чертеже не показано), установленное в корпусе 1. Устанавливают видеокамеру 11. При этом объектив видеокамеры должен быть обращен на пластину 4 и обеспечивать показ изображения всей поверхности пластины. Включают вентилятор 7. При этом через отверстия 8 в боковой стенке корпуса 1 из атмосферы засасывается воздух, направляемый под пластину 4. Возникает избыточное давление, под действием которого воздух через отверстия 5 в пластине 4 идет вверх – эффект воздушной подушки. В результате рабочие тела 10 (модели частиц вещества, в частности молекул) парят над пластиной 4, хаотично перемещаясь. Установленные по периметру пластины 4 магнитные полосы 13 и закрепленные на поверхности рабочих тел 10 постоянные магниты 14 обеспечивают моделирование взаимодействия молекул. Видеокамера передает изображение процесса хаотичного движения моделей молекул на компьютер, где полученное изображение обрабатывается на компьютере и воспроизводится (проецируется) либо на монитор, либо на экран через видеопроектор.
Формула изобретения
1. Учебный прибор для моделирования движения и взаимодействия частиц вещества, характеризующийся тем, что он содержит корпус с крышкой, установленную в корпусе пластину с отверстиями, рабочие тела – имитаторы частиц вещества, размещаемые на пластине при использовании прибора, и нагнетающее устройство, расположенное в полости корпуса под пластиной и служащее для создания потока воздуха через отверстия пластины, причем в приборе использовано видеозаписывающее устройство, имеющее возможность установки таким образом, что объектив этого устройства обращен на поверхность пластины, пластина выполнена из материала, предотвращающего попадание изображения деталей, расположенных внутри корпуса в объектив видеозаписывающего устройства, а в корпусе имеется, по меньшей мере, одно отверстие, сообщающее полость корпуса, в которой расположено нагнетающее устройство, с атмосферой.
2. Прибор по п.1, характеризующийся тем, что в качестве нагнетающего устройства использован вентилятор.
3. Прибор по п.1, характеризующийся тем, что поверхности рабочих тел, обращенные к непрозрачной пластине, выполнены плоскими.
4. Прибор по п.3, характеризующийся тем, что рабочие тела выполнены в виде дисков.
5. Прибор по п.1, характеризующийся тем, что отверстия в пластине расположены упорядоченными рядами или хаотично.
6. Прибор по п.1, характеризующийся тем, что пластина и рабочие тела имеют антибликовую поверхность либо за счет соответствующей обработки поверхности, либо за счет нанесения антибликового покрытия.
7. Прибор по п.1, характеризующийся тем, что по периметру пластины установлены магнитные полосы, а рабочие тела выполнены из немагнитного материала и на их поверхности закреплены постоянные магниты.
8. Прибор по п.1, характеризующийся тем, что в состав рабочих тел входят группы рабочих тел, различающихся по цвету и размеру.
9. Прибор по п.1, характеризующийся тем, что в качестве видеозаписывающего устройства использована цифровая видеокамера.
РИСУНКИ
|
|