|
(21), (22) Заявка: 2008126326/28, 27.06.2008
(24) Дата начала отсчета срока действия патента:
27.06.2008
(30) Конвенционный приоритет:
29.06.2007 KR 10-2007-0065069
(43) Дата публикации заявки: 10.01.2010
(46) Опубликовано: 20.08.2010
(56) Список документов, цитированных в отчете о поиске:
US 2006188273 A1, 24.08.2006. JP 2008873 A, 12.01.1990. JP 62189484 A, 19.08.1987. RU 2304808 C1, 20.08.2007.
Адрес для переписки:
129090, Москва, ул.Б.Спасская, 25, стр.3, ООО “Юридическая фирма Городисский и Партнеры”, пат.пов. Ю.Д. Кузнецову
|
(72) Автор(ы):
ДЗОО Дзонг-хва (KR), ШИМ Воо-дзунг (KR)
(73) Патентообладатель(и):
САМСУНГ ЭЛЕКТРОНИКС КО., ЛТД. (KR)
|
(54) УСТРОЙСТВО ДЛЯ ФОРМИРОВАНИЯ ИЗОБРАЖЕНИЯ И СПОСОБ ЕГО УПРАВЛЕНИЯ
(57) Реферат:
Устройство для формирования изображения содержит: проявляющее устройство для подачи проявляющего вещества к носителю изображения; контейнер для проявляющего вещества для хранения проявляющего вещества, содержащий блок подачи для подачи хранящегося проявляющего вещества к проявляющему устройству; элемент обнаружения для обнаружения оставшегося количества проявляющего вещества в контейнере для проявляющего вещества; и контроллер для изменения темпа подачи блока подачи, когда оставшееся количество проявляющего вещества, обнаруженное элементом обнаружения, меньше заданного уровня, чтобы равномерно поддерживать количество проявляющего вещества, подаваемого из контейнера для проявляющего вещества в проявляющее устройство. Технический результат – поддержание равномерного количества проявляющего вещества, которое подается из контейнера для проявляющего вещества в проявляющее устройство для предотвращения дефектного изображения. 5 н. и 22 з.п. ф-лы, 8 ил., 1 табл.
Область техники, к которой относится изобретение
Устройства и способы, совместимые с настоящей общей идеей изобретения, относятся к устройству для формирования изображения и его способу управления, в частности к устройству для формирования изображения, в котором контейнер для проявляющего вещества выполнен с возможностью подавать проявляющее вещество к проявляющему устройству, и его способу управления.
Уровень техники
Устройство для формирования изображения позволяет формировать на печатном носителе видимое изображение, сформированное на носителе изображения, таком как фоторецептор-цилиндр. Проявляющее устройство, которое хранит проявляющее вещество, может подавать проявляющее вещество к носителю изображения для формирования видимого изображения. Устройство для формирования изображения имеет различные способы пополнения запаса проявляющего вещества в проявляющем устройстве. Например, в проявляющем устройстве устанавливается контейнер для проявляющего вещества, который хранит проявляющее вещество и подает проявляющее вещество в проявляющее устройство.
Однако проявляющее вещество может подаваться в проявляющее устройство неустойчиво. Таким образом, поток проявляющего вещества и давление в проявляющем устройстве становятся неустойчивыми, и проявляющее вещество должным образом не подается к проявляющему устройству. Это препятствует равномерному электрическому заряду проявляющего вещества, и, таким образом, на печатном носителе может быть сформировано дефектное изображение.
Раскрытие изобретения
Настоящая общая идея изобретения представляет устройство для формирования изображения для поддержания по существу равномерного количества проявляющего вещества, которое подается из контейнера для проявляющего вещества в проявляющее устройство, контейнер для проявляющего вещества и его способ управления.
Дополнительные аспекты и полезность настоящей общей идеи изобретения будут изложены частично в последующем описании и частично будут очевидны из описания или могут быть изучены посредством использования настоящей общей идеи изобретения на практике.
Предшествующие и/или другие аспекты настоящей общей идеи изобретения могут быть достигнуты посредством обеспечения устройства для формирования изображения, содержащего проявляющее устройство для подачи проявляющего вещества к носителю изображения, контейнер для проявляющего вещества для хранения проявляющего вещества, который содержит блок подачи для подачи хранящегося проявляющего вещества к проявляющему устройству, элемент обнаружения для обнаружения оставшегося количества проявляющего вещества в контейнере для проявляющего вещества и контроллер для изменения интенсивности процесса работы блока подачи, когда оставшееся количество проявляющего вещества, обнаруженное элементом обнаружения, меньше заданного уровня.
Контроллер может увеличивать интенсивность процесса работы, когда оставшееся количество проявляющего вещества в контейнере для проявляющего вещества меньше заданного уровня.
Контроллер может увеличивать интенсивность процесса работы ступенчато или постепенно, по мере того как оставшееся количество проявляющего вещества становится меньше.
Интенсивность процесса работы может представлять собой отношение времени действия блока подачи к единице времени.
Интенсивность процесса работы может представлять собой скорость действия блока подачи.
Предшествующие и/или другие аспекты настоящей общей идеи изобретения также могут быть достигнуты посредством обеспечения способа управления блока подачи контейнера для проявляющего вещества, способ применяется к устройству для формирования изображения, содержащему проявляющее устройство для подачи проявляющего вещества к носителю изображения и контейнер для проявляющего вещества, хранящий проявляющее вещество и содержащий блок подачи для подачи проявляющего вещества к проявляющему устройству, способ содержит этапы, на которых обнаруживают оставшееся количество проявляющего вещества в контейнере для проявляющего вещества и изменяют интенсивность процесса работы блока подачи, когда оставшееся количество проявляющего вещества, обнаруженное элементом обнаружения, меньше заданного уровня.
Изменение интенсивности процесса работы может включать в себя увеличение интенсивности процесса работы, когда оставшееся количество проявляющего вещества меньше заданного уровня.
Увеличение интенсивности процесса работы может включать в себя увеличение интенсивности процесса работы ступенчато или постепенно, по мере того как уровень оставшегося количества проявляющего вещества становится ниже.
Интенсивность процесса работы может представлять собой отношение времени действия блока подачи к единице времени.
Интенсивность процесса работы может представлять собой скорость действия блока подачи.
Предшествующие и/или другие аспекты настоящей общей идеи изобретения также могут быть достигнуты посредством обеспечения способа управления устройства для формирования изображения, которое содержит проявляющее устройство для подачи проявляющего вещества к носителю изображения и контейнер для проявляющего вещества, который хранит проявляющее вещество и содержит блок подачи для подачи проявляющего вещества к проявляющему устройству, способ содержит этапы, на которых обнаруживают оставшееся количество проявляющего вещества в контейнере для проявляющего вещества и изменяют интенсивность процесса работы блока подачи, когда обнаруженное оставшееся количество проявляющего вещества меньше заданного уровня.
Изменение интенсивности процесса работы может включать в себя увеличение интенсивности процесса работы, когда обнаруженное оставшееся количество проявляющего вещества меньше заданного уровня.
Увеличение интенсивности процесса работы может включать в себя увеличение интенсивности процесса работы ступенчато или постепенно, по мере того как обнаруженное оставшееся количество проявляющего вещества становится меньше.
Интенсивность процесса работы может представлять собой отношение времени действия блока подачи к единице времени.
Интенсивность процесса работы может представлять собой скорость действия блока подачи.
Предшествующие и/или другие аспекты настоящей общей идеи изобретения также могут быть достигнуты посредством обеспечения способа управления устройства для формирования изображения, содержащего этапы, на которых подают проявляющее вещество из проявляющего блока к носителю изображения, хранят проявляющее вещество в контейнере для проявляющего вещества и подают хранящееся проявляющее вещество к проявляющему блоку, причем подача содержит этапы, на которых обнаруживают оставшееся количество проявляющего вещества в контейнере для проявляющего вещества и изменяют интенсивность подачи проявляющего вещества из контейнера для проявляющего вещества к проявляющему блоку, когда обнаруженное оставшееся количество проявляющего вещества в контейнере для проявляющего вещества меньше заданного уровня.
Предшествующие и/или другие аспекты настоящей общей идеи изобретения также могут быть достигнуты посредством обеспечения устройства для формирования изображения, содержащего проявляющее устройство для подачи проявляющего вещества к носителю изображения для формирования изображения, контейнер для проявляющего вещества для хранения проявляющего вещества и подачи хранящегося проявляющего вещества к проявляющему устройству и контроллер для управления подаваемым количеством хранящегося проявляющего вещества к проявляющему устройству, чтобы оно было по существу равномерным в течение единицы времени, когда хранящееся проявляющее вещество подается к проявляющему устройству из контейнера для проявляющего вещества.
Предшествующие и/или другие аспекты настоящей общей идеи изобретения также могут быть достигнуты посредством обеспечения контейнера для проявляющего вещества, пригодного для использования с устройством для формирования изображения, причем контейнер содержит кожух контейнера для вмещения хранящегося проявляющего вещества, часть для закрепления контейнера, соединенную с кожухом контейнера, для выведения хранящегося проявляющего вещества, элемент обнаружения для обнаружения оставшегося количества сохраненного проявляющего вещества в кожухе контейнера и блок подачи для подачи хранящегося проявляющего вещества к части для закрепления контейнера, блок подачи увеличивает интенсивность процесса работы, когда оставшееся количество сохраненного проявляющего вещества в кожухе контейнера меньше заданного количества.
Краткое описание чертежей
Упомянутые выше и/или другие аспекты и полезность настоящей общей идеи изобретения станут понятны и более ясны из последующего описания иллюстративных вариантов воплощения совместно с сопроводительными чертежами, на которых:
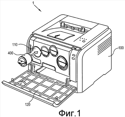
фиг.1 – вид в перспективе, иллюстрирующий устройство для формирования изображения в соответствии с иллюстративным вариантом воплощения настоящей общей идеи изобретения;
фиг.2 – вид в разрезе, иллюстрирующий основную часть для иллюстрации проявляющего устройства и контейнера для проявляющего вещества в устройстве для формирования изображения в соответствии с иллюстративным вариантом воплощения настоящей общей идеи изобретения;
фиг.3 – блок-схема управления, иллюстрирующая устройство для формирования изображения в соответствии с иллюстративным вариантом воплощения настоящей общей идеи изобретения;
фиг.4 – блок-схема последовательности операций для пояснения иллюстративного варианта воплощения процесса подачи проявляющего вещества в устройстве для формирования изображения в соответствии с настоящей общей идеей изобретения;
фиг.5 – график для иллюстрации изменения подаваемого количества проявляющего вещества в соответствии с уменьшением оставшегося количества проявляющего вещества в контейнере для проявляющего вещества в устройстве для формирования изображения предшествующего уровня техники;
фиг.6 – график для иллюстрации иллюстративного изменения отношения времени действия к единице времени для блока подачи в соответствии с уменьшением оставшегося количества проявляющего вещества в контейнере для проявляющего вещества в устройстве для формирования изображения в соответствии с иллюстративным вариантом воплощения настоящей общей идеи изобретения;
фиг.7 – график для иллюстрации иллюстративного изменения подаваемого количества проявляющего вещества в соответствии с оставшимся количеством проявляющего вещества в контейнере для проявляющего вещества, когда блок подачи приводится в действие, как проиллюстрировано на фиг.6, в устройстве для формирования изображения в соответствии с иллюстративным вариантом воплощения настоящей общей идеи изобретения; и
фиг.8 – график для иллюстрации другого иллюстративного изменения отношения времени действия к единице времени для блока подачи в соответствии с уменьшением оставшегося количества проявляющего вещества в контейнере для проявляющего вещества в устройстве для формирования изображения в соответствии с иллюстративным вариантом воплощения настоящей общей идеи изобретения.
Осуществление изобретения
Теперь будет сделана подробная ссылка на иллюстративные варианты воплощения настоящей общей идеи изобретения, примеры которых проиллюстрированы на сопроводительных чертежах, причем аналогичные номера для ссылок везде относятся к аналогичным элементам. Иллюстративные варианты воплощения описываются ниже таким образом, чтобы пояснить настоящую общую идею изобретения посредством ссылки на чертежи.
Устройство 1 для формирования изображения в соответствии с иллюстративным вариантом воплощения настоящей общей идеи изобретения может включать в себя множество проявляющих устройств 300, которые соответствуют множеству цветов проявляющих веществ T для формирования цветного изображения на печатном носителе. Следует отметить, что в иллюстративных вариантах воплощения в соответствии с настоящей общей идеей изобретения будет репрезентативно разъяснено одно иллюстративное проявляющее устройство 300 и соответствующий ему иллюстративный контейнер 400 для проявляющего вещества. Однако другие проявляющие устройства 300 также могут использовать иллюстративные варианты воплощения, которые не будут описываться повторно.
На фиг.1-3 показано, что устройство 1 для формирования изображения в соответствии с иллюстративным вариантом воплощения настоящей общей идеи изобретения может включать в себя кожух 100 корпуса, носитель 200 изображения, например фоторецептор-цилиндр, на котором формируется скрытое изображение, и проявляющее устройство 300, которое формирует видимое изображение с помощью проявляющего вещества T на носителе 200 изображения. Носитель 200 изображения и проявляющее устройство 300 могут быть размещены в пределах кожуха 100 корпуса.
Устройство 1 для формирования изображения включает в себя контейнер 400 для проявляющего вещества, который может быть фиксировано или разъемно соединен с кожухом 100 корпуса для хранения в нем проявляющего вещества T. Контейнер 400 для проявляющего вещества может включать в себя блок 440 подачи, который приводится в действие для подачи проявляющего вещества T в проявляющее устройство 300. Блок 440 подачи предпочтительно обеспечивается движущей силой от двигателя 500 корпуса, установленного на кожухе 100 корпуса.
Устройство 1 для формирования изображения включает в себя элемент 600 обнаружения, который предусматривается в пределах контейнера 400 для проявляющего вещества для обнаружения оставшегося количества проявляющего вещества T в контейнере 400 для проявляющего вещества, и контроллер 700 для управления приведением в действие блока 440 подачи. Контроллер 700 может изменять интенсивность процесса работы блока 440 подачи и предпочтительно увеличивать интенсивность процесса работы блока 440 подачи, если определено (например, с помощью элемента 600 обнаружения), что оставшееся количество проявляющего вещества T меньше заданного уровня.
Кожух 100 корпуса может включать в себя приспособление 110 для контейнера, предусмотренное на его передней поверхности для размещения контейнера 400 для проявляющего вещества, и переднюю крышку 120 для закрывания передней поверхности кожуха 100 корпуса, в том числе приспособления 110 для контейнера.
Приспособление 110 для контейнера может продолжаться или сообщаться от внешней стороны до внутренней стороны кожуха 100 корпуса. Приспособление 110 для контейнера может размещать контейнер 400 для проявляющего вещества, который должен быть установлен в кожухе 100 корпуса и подавать в проявляющее устройство 300 проявляющее вещество, хранящееся в контейнере 400 для проявляющего вещества.
Если контейнер 400 для проявляющего вещества размещен в приспособлении 110 для контейнера, контейнер 400 для проявляющего вещества и проявляющее устройство 300 могут быть соединены друг с другом, чтобы предоставить возможность подачи проявляющего вещества T. Кроме того, для подачи проявляющего вещества T приспособление 110 для контейнера может представлять собой конфигурацию передачи движущей силы от двигателя 500 корпуса к блоку 440 подачи. Например, приспособление 110 для контейнера может представлять собой конфигурацию соединения или сцепления (например, механического) шестерни 520 корпуса и шестерни 441 контейнера (описанных позже).
Приспособление 110 для контейнера может быть установлено так, чтобы контактная часть 130 корпуса входила в контакт с контактной частью 430 контейнера с тем, чтобы сигнал обнаружения элемента 600 обнаружения мог быть передан на контроллер 700. Контактная часть 130 корпуса предпочтительно электрически соединена с контроллером 700 для передачи сигнала от контактной части 430 контейнера на контроллер 700.
Скрытое изображение посредством разности потенциалов может быть сформировано на внешней поверхности носителя 200 изображения. На носитель 200 изображения, на котором сформировано скрытое изображение, подается проявляющее вещество T из проявляющего устройства 300 для формирования видимого изображения. Затем видимое изображение может быть перенесено с носителя 200 изображения на печатный носитель.
Проявляющее устройство 300 подает проявляющее вещество T на внешнюю поверхность носителя 200 изображения, на котором сформировано скрытое изображение. Проявляющее устройство 300 может хранить в себе проявляющее вещество T и включать в себя проявляющий валик 310 для вращения соответственно носителю 200 изображения, чтобы подать проявляющее вещество T на носитель изображения 200.
По мере того, как проявляющее устройство 300 подает проявляющее вещество T на носитель изображения 200, количество проявляющего вещества T в проявляющем устройстве 300 уменьшается. Таким образом, проявляющее устройство 300 нуждается в пополнении дополнительным количеством проявляющего вещества T. С этой целью на проявляющее устройство 300 может быть установлен контейнер 400 для проявляющего вещества, который с обеспечением опоры размещен в приспособлении 110 для контейнера. Например, на проявляющем устройстве 300 устанавливается часть 320 для закрепления контейнера, в которую контейнер 400 для проявляющего вещества может быть установлен для сообщения с внутренней частью проявляющего устройства 300 с тем, чтобы проявляющее вещество T в контейнере 400 для проявляющего вещества могло быть перенесено в проявляющее устройство 300.
Проявляющее устройство 300 может включать в себя перемешиватель 330, установленный в проявляющем устройстве 300, в котором хранится проявляющее вещество T. Перемешиватель 330 (который, например, имеет форму винта и вращается параллельно с проявляющим валиком 310) может подавать проявляющее вещество T на проявляющий валик 310 и перемешивать проявляющее вещество T в проявляющем устройстве 300, чтобы увеличить текучесть проявляющего вещества T в нем.
Отводная трубка 420 для проявляющего вещества может быть закреплена в части 320 для закрепления контейнера, когда контейнер 400 для проявляющего вещества устанавливается на проявляющее устройство 300. Проявляющее вещество T, отводимое через отводную трубку 420 для проявляющего вещества, может подаваться в проявляющее устройство 300, по мере того как приводится в действие блок 440 подачи.
Контейнер 400 для проявляющего вещества хранит проявляющее вещество T, которое должно быть подано в проявляющее устройство 300. Контейнер 400 для проявляющего вещества с обеспечением опоры размещен в приспособлении 110 для контейнера и, таким образом, установлен на проявляющее устройство 300 для подачи проявляющего вещества T в проявляющее устройство 300 посредством приведения в действие блока 440 подачи. Если проявляющее вещество T, хранящееся в контейнере 400 для проявляющего вещества, заканчивается, контейнер 400 для проявляющего вещества может быть отделен от приспособления 110 для контейнера и заменен на новый контейнер 400 для проявляющего вещества.
Контейнер 400 для проявляющего вещества может включать в себя кожух 410 контейнера (например, имеющий цилиндрическую форму), отводную трубку 420 для проявляющего вещества, установленную в нижней передней части кожуха 410 контейнера, продолжающуюся вдоль направления, в котором контейнер 400 для проявляющего вещества устанавливается на проявляющее устройство 300, контактную часть 430 контейнера, установленную в передней части кожуха 410 контейнера, и блок 440 подачи. Блок 440 подачи может приводиться в действие для отвода проявляющего вещества T в кожухе 410 контейнера наружу.
Отводная трубка 420 для проявляющего вещества может выступать вперед от передней поверхности наружу от кожуха 410 контейнера и сообщаться с внутренней частью кожуха 410 контейнера. Отводная трубка 420 для проявляющего вещества предпочтительно выравнивается или состыковывается с частью 320 для закрепления контейнера, предусмотренной с одной стороны приспособления 110 для контейнера, когда контейнер 400 для проявляющего вещества с обеспечением опоры размещен в приспособлении 110 для контейнера. В соответствии с этим проявляющее вещество T в кожухе 410 контейнера может быть перенесено посредством отводной трубки 420 для проявляющего вещества и отведено в проявляющее устройство 300, когда блок 440 подачи приводится в действие.
Контактная часть 430 контейнера может войти в контакт с контактной частью 130 корпуса, когда контейнер 400 для проявляющего вещества с обеспечением опоры размещен (например, установлен или загружен) в приспособлении 110 для контейнера. Контактная часть 430 контейнера электрически соединена с элементом 600 обнаружения для передачи сигнала обнаружения, сформированного в элементе 600 обнаружения, на контроллер 700.
Кроме того, контактная часть 430 контейнера может хранить информацию о характеристиках контейнера 400 для проявляющего вещества и передавать информацию на контроллер 700. Информация может включать в себя множество информации, например информацию о цвете проявляющего вещества T, подлинности проявляющего вещества T и т.п.
Блок 440 подачи предпочтительно устанавливается на кожух 410 контейнера и приводится в действие для подачи проявляющего вещества T в проявляющее устройство 300. Блок 440 подачи может быть установлен, чтобы посредством сцепления работать внутри и снаружи кожуха 410 контейнера и формировать структуру соединения с двигателем 500 корпуса, когда контейнер 400 для проявляющего вещества устанавливается на кожух 100 корпуса и проявляющее устройство 300. В соответствии с этим движущая сила предпочтительно передается от двигателя 500 корпуса на блок 440 подачи для подачи проявляющего вещества T.
Блок 440 подачи может включать в себя шестерню 441 контейнера, которая установлена вне корпуса контейнера, для сцепления с шестерней 520 корпуса, шнек 443, который установлен в кожух 410 контейнера, где хранится проявляющее вещество T, для сцепления с шестерней 441 контейнера, блок 445 передачи движущей силы для соединения посредством сцепления шнека 443 с шестерней 441 контейнера, чтобы они сцеплялись друг с другом, и перемешиватель 447 контейнера. Перемешиватель 447 контейнера может быть установлен в кожух 410 контейнера для перемешивания проявляющего вещества T в нем.
Шестерня 441 контейнера может быть расположена в передней средней области кожуха 410 контейнера, где располагается отводная трубка 420 для проявляющего вещества. Шестерня 441 контейнера сцепляется с двигателем 500 корпуса, например с шестерней 520 корпуса, когда контейнер 400 для проявляющего вещества устанавливается на проявляющее устройство 300. Таким образом, шестерня 441 контейнера может приводиться в действие, когда приводится в действие шестерня 520 корпуса.
Шнек 443 установлен в кожухе 410 контейнера и предусмотрен для передачи проявляющего вещества T в кожухе 410 контейнера к отводной трубке 420 для проявляющего вещества. Шнек 443 может работать посредством сцепления с шестерней 441 контейнера. Шнек 443 может иметь различные конфигурации при условии, что он может отводить или перемещать проявляющее вещество T. Например, шнек 443 может быть выполнен в виде винтового ножа на валу, который продолжается от одной нижней части в кожухе 410 контейнера до отводной трубки 420 для проявляющего вещества и тем самым переносит проявляющее вещество T в соответствии с вращением винтового ножа.
Блок 445 передачи движущей силы может быть выполнен как вал, шестерня и т.д. и предпочтительно механически соединяет шестерню 441 контейнера и шнек 443. Блок 445 передачи движущей силы передает движущую силу на шнек 443, когда шестерня 441 контейнера, сцепленная с двигателем 500 корпуса, приводится в действие, например, придавая шнеку 443 вращательное движение. Конфигурация блока 445 передачи движущей силы может быть различным образом видоизменена при условии, что он выполняет свою функцию.
Перемешиватель 447 контейнера соединен с блоком 445 передачи движущей силы в кожухе 410 контейнера и вращается для перемешивания проявляющего вещества T. Перемешиватель 447 контейнера выполнен в виде пленки, в которой сформировано сквозное отверстие, с тем, чтобы проявляющее вещество T легко переносилось. Конфигурация перемешивателя 447 контейнера может быть различным образом видоизменена при условии, что он выполняет свою функцию.
Двигатель 500 корпуса установлен в кожухе 100 корпуса. Двигатель 500 корпуса может производить движущую силу и передавать ее на блок 440 подачи, если контейнер 400 для проявляющего вещества размещен в приспособлении 110 для контейнера. Двигатель 500 корпуса включает в себя источник 510 движения, который производит движущую силу, и шестерню 520 корпуса, которая передает движущую силу от источника 510 движения. Конфигурация двигателя 500 корпуса может быть различным образом видоизменена при условии, что он выполняет свою функцию.
Шестерня 520 корпуса может иметь такую конфигурацию, как шестерня, кулачок, соединительная штанга и т.д., для передачи движущей силы от источника 510 движения к контейнеру 400 для проявляющего вещества. Например, шестерня 520 корпуса может быть установлена в одной части приспособления 110 для контейнера. Когда контейнер 400 для проявляющего вещества размещен в приспособлении 110 для контейнера, шестерня 520 корпуса и шестерня 441 контейнера сцепляются друг с другом. Таким образом, движущая сила от источника 510 движения передается на шестерню 441 контейнера через шестерню 520 корпуса. Конфигурация шестерни 520 корпуса может быть различным образом видоизменена при условии, что она выполняет свою функцию.
Элемент 600 обнаружения предпочтительно установлен в контейнере 400 для проявляющего вещества. Элемент 600 обнаружения может формировать сигнал обнаружения посредством определения оставшегося количества проявляющего вещества T в контейнере 400 для проявляющего вещества и передавать сигнал обнаружения на контроллер 700. Элемент 600 обнаружения может иметь различные технологии для обнаружения оставшегося количества проявляющего вещества T.
Например, элемент 600 обнаружения может быть выполнен как пьезочувствительный элемент, установленный в нижней части кожуха 410 контейнера, для определения загрузки проявляющего вещества T на элементе 600 обнаружения. В качестве альтернативы элемент 600 обнаружения может быть выполнен как оптопара, которая применяет принцип излучения и приема света для обнаружения оставшегося количества проявляющего вещества T.
Элемент 600 обнаружения может иметь другую конфигурацию, которая определяет электростатическую емкость. Два электрода могут быть отдельно установлены в кожухе 410 контейнера, где хранится проявляющее вещество T, и электрически соединены друг с другом вне кожуха 410 контейнера. В соответствии с этим проявляющее вещество T из диэлектрического материала помещается между этими двумя электродами, которые выполнены в виде емкости. Когда количество проявляющего вещества T в кожухе 410 контейнера изменяется, общее количество электрического заряда от емкости также изменяется и может быть обнаружено элементом 600 обнаружения и преобразовано в загрузку проявляющего вещества T.
Элемент 600 обнаружения может иметь еще одну конфигурацию, в которой в верхней части кожуха 410 контейнера устанавливается точечный счетчик для вычисления количества проявляющего вещества T с использованием заданного алгоритма. Элемент 600 обнаружения может иметь различные конфигурации внутри или снаружи контейнера 400 для проявляющего вещества при условии, что он выполняет свою функцию по обнаружению оставшегося количества проявляющего вещества T.
Элемент 600 обнаружения предпочтительно передает сигнал обнаружения на контроллер 700. Элемент 600 обнаружения электрически соединен с контактной частью 430 контейнера и передает сигнал обнаружения на контроллер 700, когда контейнер 400 для проявляющего вещества установлен на проявляющем устройстве 300. Элемент 600 обнаружения может определять оставшееся количество проявляющего вещества T в заданное время (например, при включении устройства, периодически, апериодически, на основе команд или действия пользователя) или в режиме реального времени, без ограничения.
Контроллер 700 может управлять приведением в действие по меньшей мере одного элемента из множества, состоящего из блока 440 подачи и двигателя 500 корпуса, тем самым в конечном счете управляя приведением в действие блока 440 подачи. Контроллер 700 может управлять блоком 440 подачи различными способами. Например, включается и выключается источник 510 движения или блокируется или разрешается передача движущей силы между источником 510 движения и шестерней 520 корпуса для управления блоком 440 подачи.
Однако, поскольку оставшееся количество проявляющего вещества T, хранящегося в контейнере 400 для проявляющего вещества, непрерывно уменьшается, количество подаваемого проявляющего вещества T соответственно постепенно уменьшается со временем, исходя из того, что контроллер 700 приводит в действие блок 440 подачи во время этого же промежутка времени и на той же самой скорости. Когда проявляющее вещество T неравномерно подается в проявляющее устройство 300, на печатном носителе может быть сформировано дефектное изображение. Таким образом, контроллер 700 предпочтительно управляет приведением в действие блока 440 подачи в соответствии с оставшимся количеством проявляющего вещества T в контейнере 400 для проявляющего вещества, чтобы подавать равномерное количество проявляющего вещества T в единицу времени.
Контроллер 700 может принимать сигнал обнаружения, который содержит информацию об оставшемся количестве проявляющего вещества T в контейнере 400 для проявляющего вещества, от элемента 600 обнаружения. Контроллер 700 может увеличить интенсивность процесса работы в единицу времени для блока 440 подачи, если оставшееся количество проявляющего вещества T меньше заданного уровня. Например, контроллер 700 может увеличить интенсивность процесса работы блока 440 подачи ступенчато, прерывисто, постепенно и т.п., по мере того как уменьшается оставшееся количество проявляющего вещества T в контейнере 400 для проявляющего вещества, чтобы подаваемое количество проявляющего вещества T в единицу времени было равномерным.
Интенсивность процесса работы блока 440 подачи может быть увеличена различными способами в соответствии с вариантами воплощения настоящей общей идеи изобретения.
Например, если контроллер 700 включает и выключает блок 440 подачи в течение заданной единицы времени для однократной подачи проявляющего вещества T, отношение времени действия к единице времени для блока 440 подачи может быть увеличено в соответствии с оставшимся количеством проявляющего вещества T в контейнере 400 для проявляющего вещества, по мере того как оставшееся количество уменьшается.
В качестве альтернативы скорость действия блока 440 подачи может быть увеличена при сохранении постоянного отношения времени действия к единице времени для блока 440 подачи. В этом случае скорость действия блока 440 подачи увеличивается в соответствии с оставшимся количеством проявляющего вещества T в контейнере 400 для проявляющего вещества, по мере того как оставшееся количество проявляющего вещества T уменьшается.
Теперь будет описан способ управления устройства для формирования изображения в соответствии с вариантом воплощения настоящей общей идеи изобретения. Как показано на фиг.4, вариант воплощения способа управления может использоваться в устройстве 1 для формирования изображения, показанном на фиг.1-3, и будет описан с его использованием. Однако не имеется в виду, что варианты воплощения способа управления для устройства для формирования изображения и настоящая общая идея изобретения являются ограниченными таким образом. В способе управления в соответствии с иллюстративным вариантом воплощения, показанным на фиг.4, скорость действия блока 440 подачи является постоянной.
Контроллер 700 включает и выключает блок 440 подачи на заданное время в течение единицы времени для подачи проявляющего вещества T в контейнере 400 для проявляющего вещества к проявляющему устройству 300. Один цикл подачи проявляющего вещества T может быть выполнен в течение единицы времени и повторен, пока используется устройство 1 для формирования изображения.
Если цикл подачи проявляющего вещества T начат (этап S100), контроллер 700 может приводить в действие блок 440 подачи в течение заданного времени для подачи проявляющего вещества T к проявляющему устройству 300 (этап S110). В этот момент может быть определено оставшееся количество проявляющего вещества T в контейнере 400 для проявляющего вещества (например, посредством элемента 600 обнаружения) и передано на контроллер устройства для формирования изображения, например контроллер 700 (этап S120).
Контроллер 700 может определить, является ли оставшееся количество проявляющего вещества T, переданное от элемента 600 обнаружения, меньшим заданного уровня, который предварительно установлен в контроллере 700 (этап S130). Если оставшееся количество проявляющего вещества T меньше заданного уровня, контроллер 700 может увеличить и сохранить отношение времени действия блока 440 подачи к единице времени (этап S140). Если оставшееся количество проявляющего вещества T не меньше заданного уровня, контроллер 700 не изменяет отношение времени действия к единице времени блока 440 подачи (этап S150).
Таким образом, один цикл подачи проявляющего вещества T завершается (этап S160). Когда удовлетворяется заданное условие, например проходит заданное время, может начаться следующий цикл подачи проявляющего вещества T (этап S100).
Контроллер 700 предпочтительно проверяет назначенное значение отношения времени действия к единице времени для блока 440 подачи, прежде чем приводить в действие блок 440 подачи. Например, если в предыдущем цикле подачи проявляющего вещества T время действия для блока 440 подачи было увеличено, то контроллер 700 приводит в действие блок 440 подачи в соответствии с назначенным (например, увеличенным) значением в текущем цикле подачи проявляющего вещества T (например, этап S110).
Соответственно, отношение времени действия к единице времени для блока 440 подачи может быть увеличено, когда оставшееся количество проявляющего вещества T в контейнере 400 для проявляющего вещества уменьшается, и тем самым подаваемое количество проявляющего вещества T во время одного цикла снабжения однородного проявляющего вещества T поддерживается равномерным (например, по существу равномерным) в каждом цикле.
Если время действия блока 440 подачи не было изменено в предыдущем цикле подачи проявляющего вещества T, контроллер 700 приводит в действие блок 440 подачи в текущем цикле подачи проявляющего вещества T с таким же отношением времени действия, как в предыдущем цикле (например, этап S110).
Будут подробно описаны варианты воплощения со ссылкой на экспериментальные данные, иллюстрирующие улучшенную или равномерную подачу проявляющего вещества T в течение единицы времени в устройстве для формирования изображения в соответствии с настоящей общей идеей изобретения.
Единица времени, в которой происходит один цикл подачи проявляющего вещества T, например, предполагается равной четырем секундам. Блок 440 подачи включается и выключается для подачи проявляющего вещества T в течение единицы времени (например, четырех секунд). Начальное оставшееся количество проявляющего вещества T в контейнере 400 для проявляющего вещества задано равным 80 г.
Однако в устройстве для формирования изображения эффективность подачи проявляющего вещества из контейнера с проявляющим веществом к проявляющему устройству со временем уменьшается. Поскольку устройством для формирования изображения неоднократно формируется изображение на печатном носителе, оставшееся количество проявляющего вещества в контейнере для проявляющего вещества постоянно уменьшается. Количество проявляющего вещества, поданного к проявляющему устройству, также постоянно постепенно уменьшается, когда двигатель в контейнере для проявляющего вещества приводится в действие в течение заданного времени.
Устройство для формирования изображения предшествующего уровня техники может обнаруживать количество проявляющего вещества в проявляющем устройстве и приводить в действие двигатель контейнера для проявляющего вещества в течение заданного времени, если количество выходит за допустимые пределы. В соответствии с этим проявляющее вещество, хранящееся в контейнере для проявляющего вещества, подается к проявляющему устройству.
Фиг.5 является графиком для иллюстрации зависимости подаваемого количества проявляющего вещества T в единицу времени от оставшегося количества проявляющего вещества T в контейнере 400 для проявляющего вещества по мере повторения цикла подачи в устройстве для формирования изображения предшествующего уровня техники. В этом примере блок 440 подачи приводится в действие с одной и той же скоростью действия и в течение одного и того же времени действия за единицу времени. Как проиллюстрировано на фиг.5, по мере того как оставшееся количество проявляющего вещества T уменьшается, количество проявляющего вещества T, подаваемого к проявляющему устройству 300, уменьшается.
Таким образом, для подачи равномерного количества проявляющего вещества T в течение единицы времени отношение времени действия к единице времени для блока 440 подачи может быть ступенчато увеличено в соответствии с уменьшением оставшегося количества проявляющего вещества T в контейнере 400 для проявляющего вещества. Увеличение времени действия блока 440 подачи и подаваемое количество проявляющего вещества T в соответствии с уменьшением оставшегося количества проявляющего вещества T проиллюстрированы в следующей таблице.
| Таблица |
| Оставшееся количество проявляющего вещества (г) |
80 |
75 |
68 |
63 |
55 |
48 |
42 |
37 |
30 |
24 |
17 |
10 |
7 |
| Время действия блока подачи (с) |
3,0 |
3,0 |
3,0 |
3,5 |
3,5 |
3,5 |
3,5 |
3,5 |
3,5 |
4,0 |
4,0 |
4,0 |
4,0 |
| Время приостановки блока подачи (с) |
1,0 |
1,0 |
1,0 |
0,5 |
0,5 |
0,5 |
0,5 |
0,5 |
0,5 |
0 |
0 |
0 |
0 |
| Подаваемое количество проявляющего вещества (г) |
0,34 |
0,34 |
0,33 |
0,35 |
0,34 |
0,34 |
0,33 |
0,32 |
0,32 |
0,33 |
0,33 |
0,32 |
0,31 |
Фиг.6 и 7 иллюстрируют данные в таблице в виде графика. Фиг.6 иллюстрирует изменение времени действия блока 440 подачи в соответствии с изменением оставшегося количества проявляющего вещества T в контейнере 400 для проявляющего вещества. Фиг.7 является графиком для иллюстрации изменения количества проявляющего вещества T, подаваемого из контейнера 400 для проявляющего вещества к проявляющему устройству 300, когда отношение времени действия к единице времени для блока 440 подачи изменяется, как проиллюстрировано на фиг.6.
Как проиллюстрировано в таблице и фиг.6 и 7, по мере того как оставшееся количество проявляющего вещества T в контейнере 400 для проявляющего вещества уменьшается, время действия в единицу времени для блока 440 подачи ступенчато увеличивается от 3,0 секунд до 3,5 секунд и 4,0 секунд. Количество подаваемого проявляющего вещества T в единицу времени поддерживается постоянным на уровне приблизительно 0,33 г. График на фиг.5, который не применяет настоящую общую идею изобретения, иллюстрирует существенное отличие от графика на фиг.7, который использует настоящую общую идею изобретения.
Аналогичным образом, оставшееся количество проявляющего вещества T в контейнере 400 для проявляющего вещества может быть определено для каждого цикла подачи (или каждого предписанного (например, каждого третьего) цикла подачи) проявляющего вещества T, и в соответствии с этим интенсивность процесса работы блока 440 подачи в единицу времени постепенно увеличивается. Таким образом, цикл подачи проявляющего вещества T или подаваемое количество проявляющего вещества T к проявляющему устройству 300 в единицу времени каждый раз могут поддерживаться по существу равномерными.
Между тем, если новый контейнер для проявляющего вещества установлен на проявляющее устройство 300, поскольку проявляющее вещество T в контейнере 400 для проявляющего вещества израсходовано, контроллер 700 инициализирует время действия блока 440 подачи. Например, израсходованный контейнер 400 для проявляющего вещества может быть заменен новым контейнером 400 для проявляющего вещества, в то время как 4,0 секунды назначены в качестве времени действия блока 440 подачи для израсходованного контейнера 400 для проявляющего вещества в соответствии с оставшимся количеством проявляющего вещества T, как проиллюстрировано в таблице. Замененный контейнер 400 для проявляющего вещества хранит 80 г проявляющего вещества T, и в соответствии с этим контроллер 700 может инициализировать время действия блока 440 подачи временем, равным 3,0 секундам. Затем контроллер 700 приводит в действие блок 440 подачи в течение 3,0 секунд в первом цикле подачи после замены контейнера 400 для проявляющего вещества.
В предшествующем иллюстративном варианте воплощения был описан способ ступенчатого увеличения отношения времени действия к единице времени для блока 440 подачи. Однако оставшееся количество проявляющего вещества T в контейнере 400 для проявляющего вещества может быть определено в режиме реального времени для постепенного увеличения времени действия блока 440 подачи, что будет описано со ссылкой на упомянутые выше экспериментальные данные.
Фиг.5 иллюстрирует, что подаваемое количество проявляющего вещества T к проявляющему устройству 300 значительно уменьшается, по мере того как уменьшается оставшееся количество проявляющего вещества T. При условии, что начальное время действия блока 440 подачи предполагается равным 3,0 секундам и начальное количество проявляющего вещества T в контейнере 400 для проявляющего вещества предполагается равным 80 г, подаваемое количество проявляющего вещества T может начать уменьшаться в то время, когда оставшееся количество проявляющего вещества T составляет менее 70 г.
Как проиллюстрировано на фиг.8, время действия блока 440 подачи может поддерживаться равным 3,0 секундам со времени, когда оставшееся количество проявляющего вещества T составляет полные 80 г, до времени, когда подаваемое количество проявляющего вещества T начинает уменьшаться. В этом случае элемент 600 обнаружения непрерывно обнаруживает оставшееся количество проявляющего вещества T, и время действия блока 440 подачи постепенно увеличивается в соответствии с уменьшением оставшегося количества проявляющего вещества T. Когда время действия блока 440 подачи достигает 4,0 секунд и становится равным единице времени, время действия блока 440 подачи больше не увеличивается. Таким образом, время действия блока 440 подачи в единицу времени постепенно увеличивается, как проиллюстрировано на фиг.8, и в соответствии с этим подаваемое количество проявляющего вещества T к проявляющему устройству 300 в единицу времени поддерживается приблизительно равномерным.
Когда контейнер 400 для проявляющего вещества, проявляющее вещество T которого израсходовано, заменяется на новый контейнер 400 для проявляющего вещества, контроллер 700 может инициализировать время действия блока 440 подачи в единицу времени и управлять элементом 600 обнаружения для обнаружения оставшегося количества проявляющего вещества T.
Элемент 600 обнаружения предпочтительно непрерывно обнаруживает оставшееся количество проявляющего вещества T и передает результат обнаружения на контроллер 700. Контроллер 700 постепенно увеличивает время действия блока 440 подачи в соответствии с оставшимся количеством проявляющего вещества T. Такая интенсивность увеличения времени действия посредством контроллера 700 не ограничивается, но может иметь различные конструкции/конфигурации при условии, что она выполняет свою функцию. В одном варианте воплощения пропускная способность подачи к проявляющему устройству может выполняться с возможностью управления (например, с изменением пропускной способности/количества проявляющего вещества для отводной трубы с течением времени) для поддержания по существу равномерной скорости подачи из контейнера для проявляющего вещества к проявляющему устройству, по мере того как количество проявляющего вещества в контейнере для проявляющего вещества уменьшается.
В иллюстративных устройствах и способах в соответствии с настоящей общей идеей изобретения, как описано выше, количество проявляющего вещества, подаваемого из контейнера для проявляющего вещества к проявляющему устройству в единицу времени, корректируется так, чтобы оно являлось по существу равномерным. В соответствии с этим формирование дефектного изображения на печатном носителе можно сократить или предотвратить. Кроме того, может быть улучшена надежность продукта.
Любая ссылка в этой спецификации на “один вариант воплощения”, “вариант воплощения”, “иллюстративный вариант воплощения” и т.д. означает, что специфический признак, структура или характеристика, описанные в связи с вариантом воплощения, включены, по меньшей мере, в один вариант воплощения изобретения. Такие фразы в различных местах в спецификации необязательно все относятся к одному и тому же варианту воплощения. Кроме того, когда специфический признак, структура или характеристика описываются в связи с любым вариантом воплощения, подразумевается, что в компетенции специалиста в области техники рассматривать такой признак, структуру или характеристику в связи с другими вариантами воплощения. Кроме того, для простоты понимания некоторые процедуры способа могли быть изображены как отдельные процедуры; однако эти отдельно изображенные процедуры не должны рассматриваться как обязательно зависимые от порядка их выполнения. Таким образом, некоторые процедуры могут быть выполнены в альтернативном порядке, одновременно и т.д.
Хотя были проиллюстрированы и описаны несколько вариантов воплощения настоящей общей идеи изобретения, специалисты в области техники поймут, что в этих вариантах воплощения могут быть сделаны изменения без отступления от принципов и сущности общей идеи изобретения, объем которой определен в приложенной формуле изобретения и ее эквивалентах. Используемый в этом раскрытии термин “предпочтительно” является неисключающим и означает “предпочтительно, но без ограничения”. Терминам в формуле изобретения должна быть дана их наиболее широкая интерпретация, совместимая с общей идеей изобретения, изложенной в этом описании. Например, термин “соединенный” (и производные от него) используется для обозначения как прямых, так и косвенных соединений. В качестве другого примера, термины “имеющий” и “включающий в себя”, производные от них и подобные переходные термины и фразы используются синонимично с термином “содержащий” (то есть все считаются терминами “с открытыми границами”), только фразы “состоящий из” и “существенно состоящий из” следует рассмотреть как термины с “закрытыми границами”. Пункты формулы изобретения не предусмотрены для интерпретации согласно пункту 112 шестого параграфа, если в пункте формулы изобретения не появляется фраза “средство для” и соответствующая функция, и пункт формулы изобретения не в состоянии изложить достаточную структуру для выполнения такой функции.
Формула изобретения
1. Устройство для формирования изображения, содержащее проявляющее устройство для подачи проявляющего вещества к носителю изображения; контейнер для проявляющего вещества для хранения проявляющего вещества, содержащий блок подачи для подачи хранящегося проявляющего вещества к проявляющему устройству; элемент обнаружения для обнаружения оставшегося количества проявляющего вещества в контейнере для проявляющего вещества; и контроллер для изменения темпа подачи блока подачи, когда оставшееся количество проявляющего вещества, обнаруженное элементом обнаружения, меньше заданного уровня, чтобы равномерно поддерживать количество проявляющего вещества, подаваемого из контейнера для проявляющего вещества в проявляющее устройство.
2. Устройство для формирования изображения по п.1, в котором контроллер выполнен с возможностью увеличивать темп подачи, когда оставшееся количество проявляющего вещества меньше заданного уровня.
3. Устройство для формирования изображения по п.2, в котором контроллер увеличивает темп подачи ступенчато или постепенно, по мере того как оставшееся количество проявляющего вещества становится меньше.
4. Устройство для формирования изображения по п.1, в котором темп подачи представляет собой отношение времени подачи блока подачи к единице времени.
5. Устройство для формирования изображения по п.1, в котором темп подачи представляет собой скорость подачи блока подачи.
6. Способ управления блоком подачи контейнера для проявляющего вещества, причем способ применяется к устройству для формирования изображения, содержащему проявляющее устройство для подачи проявляющего вещества к носителю изображения и контейнер для проявляющего вещества, хранящий проявляющее вещество и содержащий блок подачи для подачи проявляющего вещества к проявляющему устройству, причем способ содержит этапы, на которых обнаруживают оставшееся количество проявляющего вещества в контейнере для проявляющего вещества; и изменяют темп подачи блока подачи, когда оставшееся количество проявляющего вещества, обнаруженное элементом обнаружения, меньше заданного уровня, чтобы равномерно поддерживать количество проявляющего вещества, подаваемого из контейнера для проявляющего вещества в проявляющее устройство.
7. Способ управления по п.6, в котором этап, на котором изменяют темп подачи, содержит этап, на котором увеличивают темп подачи, когда оставшееся количество проявляющего вещества меньше заданного уровня.
8. Способ управления по п.7, в котором этап, на котором увеличивают темп подачи, содержит этап, на котором увеличивают темп подачи ступенчато или постепенно, по мере того как уровень оставшегося количества проявляющего вещества становится ниже.
9. Способ управления по п.6, в котором темп подачи представляет собой отношение времени подачи блока подачи к единице времени.
10. Способ по п.9, в котором темп подачи находится между 0,5 и 1,0.
11. Способ управления по п.6, в котором темп подачи представляет собой скорость подачи блока подачи.
12. Способ управления устройством для формирования изображения, которое содержит проявляющее устройство для подачи проявляющего вещества к носителю изображения и контейнер для проявляющего вещества, который хранит проявляющее вещество и содержит блок подачи для подачи проявляющего вещества к проявляющему устройству, причем способ содержит этапы, на которых обнаруживают оставшееся количество проявляющего вещества в контейнере для проявляющего вещества; и изменяют темп подачи блока подачи, когда обнаруженное оставшееся количество проявляющего вещества меньше заданного уровня, чтобы равномерно поддерживать количество проявляющего вещества, подаваемого из контейнера для проявляющего вещества в проявляющее устройство.
13. Способ управления по п.12, в котором этап, на котором изменяют темп подачи, содержит этап, на котором увеличивают темп подачи, когда обнаруженное оставшееся количество проявляющего вещества меньше заданного уровня.
14. Способ управления по п.13, в котором этап, на котором увеличивают темп подачи, содержит этап, на котором увеличивают темп подачи ступенчато или постепенно, по мере того как обнаруженное оставшееся количество проявляющего вещества становится меньше.
15. Способ управления по п.12, в котором темп подачи представляет собой отношение времени подачи блока подачи к единице времени.
16. Способ управления по п.12, в котором темп подачи представляет собой скорость подачи блока подачи.
17. Устройство для формирования изображения, содержащее проявляющее устройство для подачи проявляющего вещества к носителю изображения для формирования изображения; контейнер для проявляющего вещества для хранения проявляющего вещества и подачи хранящегося проявляющего вещества к проявляющему устройству; и контроллер для управления подаваемым количеством хранящегося проявляющего вещества к проявляющему устройству, чтобы оно было, по существу, равномерным в течение единицы времени, когда хранящееся проявляющее вещество подается к проявляющему устройству из контейнера для проявляющего вещества.
18. Устройство для формирования изображения по п.17, дополнительно содержащее блок подачи, расположенный в контейнере для проявляющего вещества, причем контроллер выполнен с возможностью изменять темп подачи блока подачи, когда хранящееся проявляющее вещество подается к проявляющему устройству из контейнера для проявляющего вещества, и оставшееся количество хранящегося проявляющего вещества меньше заданного уровня.
19. Устройство для формирования изображения по п.18, в котором контроллер выполнен с возможностью увеличивать темп подачи блока подачи, когда оставшееся количество проявляющего вещества в контейнере для проявляющего вещества меньше заданного уровня.
20. Устройство для формирования изображения по п.19, в котором контроллер выполнен с возможностью увеличивать темп подачи ступенчато или постепенно, по мере того как оставшееся количество проявляющего вещества уменьшается ниже заданного уровня.
21. Устройство для формирования изображения по п.20, в котором темп подачи представляет собой отношение времени подачи блока подачи к единице времени или скорость подачи блока подачи.
22. Устройство для формирования изображения по п.17, в котором проявляющее устройство содержит проявляющий валик для передачи проявляющего вещества из проявляющего устройства к носителю изображения; и часть для закрепления контейнера для приема контейнера для проявляющего вещества.
23. Контейнер для проявляющего вещества, пригодный для использования с устройством для формирования изображения, содержащий кожух контейнера для вмещения хранящегося проявляющего вещества; часть для закрепления контейнера, соединенную с кожухом контейнера, для выведения хранящегося проявляющего вещества; элемент обнаружения для обнаружения оставшегося количества хранящегося проявляющего вещества в кожухе контейнера; и блок подачи для подачи хранящегося проявляющего вещества к части для закрепления контейнера, при этом блок подачи увеличивает темп подачи, когда оставшееся количество хранящегося проявляющего вещества в кожухе контейнера меньше заданного уровня, чтобы равномерно поддерживать количество проявляющего вещества, подаваемого из контейнера для проявляющего вещества.
24. Контейнер для проявляющего вещества по п.23, в котором блок подачи выполнен с возможностью подавать хранящееся проявляющее вещество к части для закрепления контейнера, по существу, с равномерным темпом, по мере того как оставшееся количество хранящегося проявляющего вещества уменьшается от начального уровня.
25. Контейнер для проявляющего вещества по п.24, в котором блок подачи выполнен с возможностью подавать хранящееся проявляющее вещество к части для закрепления контейнера, по существу, с равномерным темпом, по мере того как оставшееся количество хранящегося проявляющего вещества уменьшается ниже половины начального количества или четверти от начального количества хранящегося проявляющего вещества в кожухе контейнера.
26. Контейнер для проявляющего вещества по п.23, в котором блок подачи содержит устройство для перемещения проявляющего вещества для подачи хранящегося проявляющего вещества к стыковочному выпускному элементу в части для закрепления контейнера.
27. Контейнер для проявляющего вещества по п.23, в котором темп подачи блока подачи имеет возможность увеличиваться ступенчато или постепенно, по мере того как оставшееся количество проявляющего вещества в кожухе контейнера уменьшается ниже заданного уровня, причем темп подачи представляет собой отношение времени подачи блока подачи к единице времени или скорость подачи блока подачи.
РИСУНКИ
|