|
|
(21), (22) Заявка: 2009114060/28, 13.04.2009
(24) Дата начала отсчета срока действия патента:
13.04.2009
(46) Опубликовано: 20.08.2010
(56) Список документов, цитированных в отчете о поиске:
RU 2073903 C1, 20.02.1997. RU 2269809 С1, 10.02.2006. SU 558244 А, 15.05.1977. RU 39207 U1, 20.07.2004. RU 76469 U1, 20.09.2008.
Адрес для переписки:
173003, г. Великий Новгород, ул. Б. Санкт-Петербургская, 41, НовГУ, отдел интеллектуальной собственности
|
(72) Автор(ы):
Карачинов Владимир Александрович (RU), Карачинов Дмитрий Владимирович (RU)
(73) Патентообладатель(и):
Государственное образовательное учреждение высшего профессионального образования Новгородский государственный университет имени Ярослава Мудрого (RU)
|
(54) ЗАЩИТНАЯ БЛЕНДА ДЛЯ ОПТИЧЕСКИХ ПРИБОРОВ
(57) Реферат:
Изобретение относится к области конструирования оптических приборов. Защитная бленда состоит из корпуса, плоских диафрагм и оптически прозрачного твердого слоя, заполняющего все свободное пространство между любыми двумя соседними диафрагмами. Причем корпус, диафрагмы и оптически прозрачный твердый слой выполнены из материалов химически стойких по отношению к воздействию паров, водных растворов щелочей и концентрированных растворов кислот, включая фтористоводородную (плавиковую) кислоту, при этом оптически прозрачный твердый слой обладает селективным коэффициентом пропускания (поглощения) света. Свободное пространство внутри бленды заполнено газом (или смесью газов), который находится под давлением не ниже давления окружающей среды. Технический результат – повышение надежности конструкции оптической бленды и объектива и сохранение заданного значения коэффициента ослабления бленды при эксплуатации в химически агрессивной среде. 1 з.п. ф-лы, 2 ил.
Изобретение относится к области конструирования оптических приборов, в том числе телевизионных на базе ПЗС камер, содержащих в своем составе светозащитные бленды.
Известна оптическая бленда, состоящая из корпуса и диафрагм, причем для уменьшения размеров бленды каждая диафрагма выполнена в виде боковой поверхности усеченного конуса, образующая которого составляет с предельным лучом засветки для каждой диафрагмы угол в диапазоне 80-110°, ее рабочая кромка находится на границе поля зрения оптического прибора, а рабочая кромка каждой предыдущей диафрагмы, считая от входного отверстия бленды, лежит на отрезке, образованном рабочей кромкой последующей диафрагмы и точкой пересечения границы поля зрения оптического прибора с прямой, которая соединяет точку крепления последующей диафрагмы к корпусу бленды с точкой входа лучей засветки (см. RU 2073903, кл. G03B 11/04, 1997).
Недостатком такой бленды является сложность ее конструкции и свободный доступ окружающей среды, в том числе и агрессивной, через отверстия диафрагм к оптическим элементам объектива.
Наиболее близкой по техническому решению, принятая за прототип, является круговая конструкция бленды, состоящая из корпуса и набора плоских диафрагм (см. Якушенков Ю.Г. Теория и расчет оптико-электронных приборов. – М.: Советское радио, 1980, С.125-128. Рис.4.21).
Недостатком такой бленды является низкая химическая стойкость элементов ее конструкции по отношению к воздействию паров, водных растворов щелочей и концентрированных растворов кислот, включая фтористоводородную (плавиковую) кислоту.
Задачей предлагаемого технического решения является повышение надежности элементов конструкции бленды и объектива оптического прибора за счет применения химически стойкой бленды.
Для решения данной задачи предложена конструкция защитной бленды, состоящая из корпуса, плоских диафрагм и оптически прозрачного твердого слоя, заполняющего все свободное пространство между любыми двумя соседними диафрагмами. Причем корпус, диафрагмы и оптически прозрачный твердый слой выполнены из материалов химически стойких по отношению к воздействию паров, водных растворов щелочей и концентрированных растворов кислот, включая фтористоводородную (плавиковую) кислоту, при этом оптически прозрачный твердый слой обладает селективным коэффициентом пропускания (поглощения) света. Свободное пространство внутри бленды заполнено газом (или смесью газов), который находится под давлением не ниже давления окружающей среды.
Предлагаемое изобретение позволяет получить следующий технический результат – повышение надежности конструкции оптической бленды и объектива и сохранение заданного значения коэффициента ослабления бленды при эксплуатации в химически агрессивной среде за счет того, что корпус, диафрагмы и оптически прозрачный твердый слой выполнены из материалов химически стойких по отношению к воздействию паровой фазы, водных растворов щелочей и концентрированных растворов кислот, включая фтористоводородную (плавиковую) кислоту. Тем самым, исключается возможность изменения геометрических размеров и формы отверстий диафрагм, а, следовательно, и изменения заданного значения коэффициента ослабления бленды, а также заданного коэффициента пропускания (поглощения) света из-за невозможности химической эрозии оптически прозрачного слоя. Кроме того, наличие химически стойкого оптически прозрачного твердого слоя, а также газовой прослойки, находящейся под давлением не ниже давления окружающей среды, исключает свободный доступ агрессивной среды через отверстия диафрагм и другие неплотности соединений конструкции бленды к оптическим элементам объектива, а варьирование кристаллической структурой и химическим составом слоя позволяет изменять его спектральный диапазон пропускания (поглощения) света.
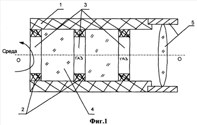
На фиг.1 изображен общий вид (разрез вдоль оптической оси О-О) конструкции защитной бленды.
Устройство состоит из корпуса 1, соединенного одним из известных способов с оправой объектива 5, набора плоских диафрагм 2 с отверстиями 3 и оптически прозрачного твердого слоя 4, который заполняет все пространство между первой и второй диафрагмами, кроме отверстий. Свободное пространство внутри бленды заполнено газом (или смесью газов), который находится под давлением не ниже давления окружающей среды
Имеются конкретные примеры предлагаемого изобретения, приведенные на фиг.2.
Пример 1. В данном примере (фиг.2) применения изобретения в защитной бленде, содержащей две плоские диафрагмы, для оптических приборов в качестве материала корпуса (1), плоских диафрагм (2) используется фторопласт-4, который обладает известной щелоче- и кислотостойкостью, в том числе и по отношению к фтористоводородной (плавиковой) кислоте (см. Энциклопедия полимеров, т.3, М., 1977, см. Фторполимеры, пер. с англ., М., 1975; см. Советская энциклопедия, 1977, с.381; см. Чегодаев Д.Д. и др. Фторопласты, М.: Госхимиздат, 1960, с.80-81.). Поэтому геометрические размеры отверстий диафрагм остаются постоянными. В качестве оптически прозрачного твердого слоя (4) используется пластинка из монокристаллического карбида кремния политипа 6Н, компенсированного типа. Такой выбор обеспечивает оптическую прозрачность карбида кремния в видимом спектральном диапазоне не хуже обычного стекла, а также высокую химическую стойкость по отношению к воздействию водных растворов щелочей и кислот, включая фтористоводородную (плавиковую) кислоту (см. Таиров Ю.М., Цветков В.Ф. Полупроводниковые соединения AIVBIV. – В кн.: Справочник по электротехническим материалам / Под ред. Корицкого Ю.В., Пасынкова В.В., Тареева Б.М. – Л.: Энергоатомиздат, 1988. С.461-463; см. Самсонов Г.В., Виницкий И.М. Тугоплавкие соединения. – М.: Металлургия, 1976. с.379-380). Поэтому не происходит химической эрозии поверхности пластинки карбида кремния и не изменяется коэффициент пропускания оптически прозрачного SiC – слоя (4). Кроме того, блокируется поступление химически агрессивной среды на объектив (5) оптического прибора. В качестве газа используется оптически прозрачный инертный газ аргон, находящийся под давлением не ниже давления окружающей среды, что исключает свободный доступ агрессивной среды через неплотности соединений конструкции бленды (см. Справочник конструктора РЭА /Под ред. Р.Г. Варламова. – М.: Сов. радио, 1980. С.334).
Пример 2. В данном примере (фиг.2) применения изобретения в защитной бленде для оптических приборов в качестве материала корпуса (1), плоских диафрагм (2) используется графит или его модификация – стеклоуглерод, который обладает известной щелоче – и кислотостойкостью, в том числе и по отношению к фтористоводородной (плавиковой) кислоте (см. Таиров Ю.М., Цветков В.Ф. Полупроводниковые соединения AIVBIV. – В кн.: Справочник по электротехническим материалам / Под ред. Корицкого Ю.В., Пасынкова В.В., Тареева Б.М. – Л.: Энергоатомиздат, 1988. С.283-289; см. Нашельский А.Я. Производство полупроводниковых материалов. – М.: Металлургия, 1982. С.102-103). Поэтому геометрические размеры отверстий диафрагм остаются постоянными. В качестве оптически прозрачного твердого слоя (4) используется пластинка из монокристаллического карбида кремния политипа 6Н, легированного азотом. Такой выбор позволяет использовать оптически прозрачный слой (4) в качестве зеленого оптического фильтра, обладающего в то же время химической стойкостью по отношению к воздействию паров, водных растворов щелочей и кислот, включая фтористоводородную (плавиковую) кислоту (см. Таиров Ю.М., Цветков В.Ф. Полупроводниковые соединения AIVBIV. – В кн.: Справочник по электротехническим материалам / Под ред. Корицкого Ю.В., Пасынкоеа В.В., Тареева Б.М. – Л.: Энергоатомиздат, 1988. С.461- 463). Кроме того, блокируется поступление химически агрессивной среды на объектив (5) оптического прибора. В качестве газа используется оптически прозрачный инертный газ аргон, находящийся под давлением не ниже давления окружающей среды, что исключает свободный доступ агрессивной среды через неплотности соединений конструкции бленды (см. Справочник конструктора РЭА /Под ред. Р.Г.Варламова. – М.: Сов. радио, 1980. С.334).
Таким образом, предлагаемое изобретение позволяет:
– сохранить заданное значение коэффициента ослабления бленды при эксплуатации в химически агрессивной среде;
– повысить надежность конструкции оптической бленды и объектива оптического прибора;
– осуществлять фильтрацию оптического излучения, проходящего через защитную бленду.
Формула изобретения
1. Защитная бленда для оптических приборов, включающая оправу в виде корпуса и набор плоских диафрагм, отличающаяся тем, что пространство между любыми двумя соседними диафрагмами заполнено оптически прозрачным твердым слоем, а корпус, диафрагмы и оптически прозрачный слой выполнены из материалов, химически стойких по отношению к парам и водным растворам щелочей и кислот, включая фтористоводородную (плавиковую) кислоту, при этом оптически прозрачный слой обладает селективным коэффициентом пропускания (поглощения) света.
2. Защитная бленда по п.1, отличающаяся тем, что внутренний объем бленды содержит газ, либо смесь газов, находящийся под давлением не ниже давления окружающей среды.
РИСУНКИ
|
|