|
|
(21), (22) Заявка: 2007110165/28, 22.08.2005
(24) Дата начала отсчета срока действия патента:
22.08.2005
(30) Конвенционный приоритет:
27.09.2004 US 60/613,323 21.07.2005 US 11/187,129
(43) Дата публикации заявки: 27.09.2008
(46) Опубликовано: 20.08.2010
(56) Список документов, цитированных в отчете о поиске:
JP 2003-195201 А, 09.07.2003. KR 2004-0036601 A, 30.04.2004. US 2002-054424 A1, 09.05.2002. US 5559358 A, 24.09.1996.
(85) Дата перевода заявки PCT на национальную фазу:
19.03.2007
(86) Заявка PCT:
US 2005/029822 20050822
(87) Публикация PCT:
WO 2006/036386 20060406
Адрес для переписки:
129090, Москва, ул.Б.Спасская, 25, стр.3, ООО “Юридическая фирма Городисский и Партнеры”, пат.пов. Ю.Д. Кузнецову
|
(72) Автор(ы):
ЧУЙ Клэренс (US)
(73) Патентообладатель(и):
АйДиСи, ЭлЭлСи (US)
|
(54) ОТРАЖАЮЩЕЕ УСТРОЙСТВО ОТОБРАЖЕНИЯ, ИМЕЮЩЕЕ ДОСТУПНЫЙ ДЛЯ ПРОСМОТРА ДИСПЛЕЙ НА ОБЕИХ СТОРОНАХ
(57) Реферат:
Изобретение относится к интерферометрическим модуляторам и может быть использовано в дисплеях. Светомодулирующее устройство отображения, включающее множество пикселей, содержит первое средство пропускания света, второе средство пропускания света, отделенное от первого средства пропускания, первое средство частичного отражения света, размещенное на первом средстве пропускания, второе средство частичного отражения света, размещенное на втором средстве пропускания, средство отражения света, размещеное и способное перемещаться между первым средством частичного отражения и вторым средством частичного отражения, и средство соединения первого средства пропускания со вторым средством пропускания. Указанное средство соединения поддерживает средство отражения, при этом средство отражения содержит первую поверхность и вторую поверхность, причем первая поверхность выполнена с возможностью перемещения от первого неактивированного положения в первое активированное положение в направлении к первому средству частичного отражения света, а вторая поверхность выполнена с возможностью перемещения от второго неактивированного положения во второе активированное положение по направлению ко второму средству частичного отражения света. Технический результат – обеспечение возможности просмотра дисплея с двух строн. 9 н. и 60 з.п. ф-лы, 11 ил.
Уровень техники
Микроэлектромеханические системы (MEMS) включают в себя микромеханические элементы, приводы и электронные устройства. Микромеханические элементы можно создавать с использованием осаждения, травления и/или других процессов микромашинной обработки, которые позволяют вытравливать части подложек и/или осажденных слоев материала, или же добавлять слои для формирования электрических и электромеханических устройств. Один тип устройств MEMS называется интерферометрическим модулятором. Используемый здесь термин «интерферометрический модулятор» или «интерферометрический модулятор света» означает устройство, которое избирательно поглощает и/или отражает свет с использованием принципов интерференции света. В некоторых вариантах осуществления интерферометрический модулятор может содержать пару проводящих пластин, обе или одна из которых может быть прозрачной и/или отражающей целиком или частично и способной к относительному перемещению при подаче соответствующего электрического сигнала. В конкретном варианте осуществления одна пластина может содержать неподвижный слой, осажденный на подложке, и другая пластина может содержать металлическую мембрану, отделенную от неподвижного слоя воздушным зазором. Согласно более подробно описанному здесь интерференция света, падающего на интерферометрический модулятор, может зависеть от положения одной пластины относительно другой. Такие устройства имеют широкую сферу применения, и для развития техники было бы полезно использовать и/или модифицировать характеристики такого рода устройств, чтобы их особенности можно было эксплуатировать для улучшения существующих продуктов и создания новых продуктов, которые еще не разработаны.
Сущность изобретения
Системы, способы и устройства, отвечающие изобретению, имеют несколько аспектов, никакой из которых по отдельности не отвечает за свои желательные атрибуты. Без ограничения объема этого изобретения опишем вкратце его наиболее выдающиеся признаки.
Согласно некоторым вариантам осуществления устройство модуляции света содержит первую подложку, по существу прозрачную для света, и вторую подложку, по существу прозрачную для света. Вторая подложка по существу параллельна первой подложке и отделена от первой подложки. Устройство дополнительно содержит, по меньшей мере, одну опорную стопку, соединяющую друг с другом первую подложку и вторую подложку. Устройство дополнительно содержит первый частично отражающий слой, соединенный с первой подложкой. Устройство дополнительно содержит второй частично отражающий слой, соединенный со второй подложкой. Второй частично отражающий слой по существу параллелен первому частично отражающему слою и отделен от первого частично отражающего слоя. Первый частично отражающий слой и второй частично отражающий слой образуют полость между собой. Устройство дополнительно содержит, по меньшей мере, один подвижный слой, поддерживаемый, по меньшей мере, одной опорной стопкой. По меньшей мере, один подвижный слой подвижен в полости в направлении, в целом, перпендикулярном первому и второму частично отражающим слоям. Устройство дополнительно содержит первую отражающую поверхность и вторую отражающую поверхность, соединенные с, по меньшей мере, одним подвижным слоем, для перемещения в полости с, по меньшей мере, одним подвижным слоем. Первая отражающая поверхность и первый частично отражающий слой образуют первую суб-полость между собой. Вторая отражающая поверхность и второй частично отражающий слой образуют вторую суб-полость между собой.
Согласно некоторым вариантам осуществления устройство модуляции света содержит первое средство пропускания света и второе средство пропускания света. Второе средство пропускания отделено от первого средства пропускания. Устройство дополнительно содержит первое средство частичного отражения света. Первое средство частичного отражения размещено на первом средстве пропускания. Устройство дополнительно содержит второе средство частичного отражения света. Второе средство частичного отражения размещено на втором средстве пропускания. Устройство дополнительно содержит средство отражения света. Средство отражения размещено и способно перемещаться между первым средством частичного отражения и вторым средством частичного отражения. Устройство дополнительно содержит средство соединения первого средства пропускания со вторым средством пропускания. Средство соединения дополнительно поддерживает средство отражения.
Согласно некоторым вариантам осуществления способ предусматривает создание двух изображений, обращенных в противоположные стороны. Способ содержит этапы, на которых обеспечивают устройство, содержащее первый частично отражающий слой на первой прозрачной подложке и второй частично отражающий слой на второй прозрачной подложке, которая отделена от первой прозрачной подложки. Устройство дополнительно содержит опорную стопку, соединяющую между собой первую подложку и вторую подложку. Устройство дополнительно содержит единичный подвижный слой, поддерживаемый на опорной стопке. Опорная стопка соединяет первый частично отражающий слой и второй частично отражающий слой и размещает единичный подвижный слой между первым и вторым частично отражающими слоями. Способ дополнительно содержит этапы, на которых перемещают подвижный слой в направлении, в целом, перпендикулярном первому частично отражающему слою, тем самым создавая первое изображение, доступное для просмотра через первую прозрачную подложку. Способ дополнительно содержит этапы, на которых перемещают подвижный слой в направлении, в целом, перпендикулярном второму частично отражающему слою, тем самым создавая второе изображение, доступное для просмотра через вторую прозрачную подложку.
Согласно некоторым вариантам осуществления способ предусматривает изготовление устройства модуляции света с двумя доступными для просмотра сторонами. Способ содержит этап, на котором обеспечивают первую подложку. Способ дополнительно содержит этап, на котором формируют первый частично отражающий слой. Способ дополнительно содержит этап, на котором формируют первую опорную часть. Способ дополнительно содержит этап, на котором формируют отражающий слой, в котором первая опорная часть поддерживает отражающий слой. Способ дополнительно содержит этап, на котором формируют вторую опорную часть. Способ дополнительно содержит этап, на котором формируют второй частично отражающий слой, в котором первый частично отражающий слой и второй частично отражающий слой соединены с первой опорной частью и со второй опорной частью. Способ дополнительно содержит этап, на котором накладывают вторую подложку на второй частично отражающий слой.
Краткое описание чертежей
Эти и другие аспекты изобретения явствуют из нижеследующего описания и из прилагаемых чертежей (выполненных без учета масштаба), которые призваны иллюстрировать, но не ограничивать изобретение, и на которых:
фиг.1 – изометрический вид, изображающий часть одного варианта осуществления дисплея на основе интерферометрического модулятора, в котором подвижный отражающий слой первого интерферометрического модулятора находится в положении деактивации, и подвижный отражающий слой второго интерферометрического модулятора находится в положении активации;
фиг.2 – системная блок-схема, иллюстрирующая один вариант осуществления электронного устройства, включающего в себя дисплей на основе 3×3 интерферометрических модуляторов;
фиг.3 – график зависимости положения подвижного зеркала от приложенного напряжения для одного иллюстративного варианта осуществления интерферометрического модулятора, показанного на фиг.1;
фиг.4 – иллюстрация набора напряжений строк и столбцов, которые можно использовать для активации дисплея на основе интерферометрического модулятора;
фиг.5A и 5B – одна иллюстративная диаграмма хронирования для сигналов строк и столбцов, которые можно использовать для записи кадра данных дисплея на дисплей на основе 3×3 интерферометрических модуляторов, показанный на фиг.2;
фиг.6A и 6B – системные блок-схемы, иллюстрирующие вариант осуществления устройства визуального отображения, содержащего совокупность интерферометрических модуляторов;
фиг.7A – вид в разрезе устройства, показанного на фиг.1;
фиг.7B – вид в разрезе альтернативного варианта осуществления интерферометрического модулятора;
фиг.7C – вид в разрезе другого альтернативного варианта осуществления интерферометрического модулятора;
фиг.7D – вид в разрезе еще одного альтернативного варианта осуществления интерферометрического модулятора;
фиг.7E – вид в разрезе дополнительного альтернативного варианта осуществления интерферометрического модулятора;
фиг.8 – вид в разрезе одного варианта осуществления интерферометрического модулятора, имеющего единичную поверхность просмотра;
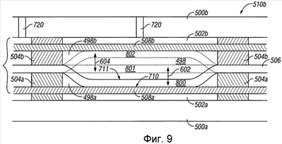
фиг.9 – вид в разрезе варианта осуществления, который предусматривает поверхность просмотра на обеих главных поверхностях матрицы модуляторов;
фиг.10 – вид в разрезе другого варианта осуществления, который предусматривает поверхность просмотра на обеих главных поверхностях матрицы модуляторов;
фиг.11 – вид в разрезе еще одного варианта осуществления, который предусматривает поверхность просмотра на обеих главных поверхностях матрицы модуляторов.
Подробное описание некоторых вариантов осуществления
Нижеследующее подробное описание относится к некоторым конкретным вариантам осуществления изобретения. Однако изобретение можно реализовать различными другими путями. В этом описании мы ссылаемся на чертежи, снабженные сквозной системой обозначений. Из нижеследующего описания следует, что варианты осуществления можно реализовать в любом устройстве, которое способно отображать изображение, движущееся (например, видео) или неподвижное (например, неподвижное изображение), а также текстовое или изобразительное. В частности, предполагается, что варианты осуществления можно реализовать в или связать с разнообразными электронными устройствами, например, но без ограничения, мобильными телефонами, беспроводными устройствами, карманными персональными компьютерами (КПК), переносными или портативными компьютерами, приемниками/навигационными устройствами GPS, камерами, проигрывателями MP3, портативными видеокамерами, игровыми приставками, наручными часами, настенными часами, калькуляторами, телевизионными мониторами, плоскопанельными дисплеями, компьютерными мониторами, автомобильными дисплеями (например, дисплеем одометра и т.д.), приборами и/или дисплеями в кабине пилота, дисплеем телевизионных средств просмотра (например, дисплеем камеры заднего вида в автомобиле), электронными фотоаппаратами, электронными досками объявлений или дорожными знаками, проекторами, архитектурными структурами, упаковкой и эстетическими структурами (например, отображением изображений на ювелирном изделии). Устройства MEMS или структуру, аналогичную описанным здесь, также можно использовать в приложениях, не связанных с отображением, например в электронных коммутационных устройствах.
Согласно одному аспекту данное устройство представляет собой дисплей на основе интерферометрических модуляторов, который может создавать два изображения, каждое на отдельной поверхности просмотра. Разные изображения или поверхности просмотра находятся на противоположных сторонах плоскости. Согласно одному варианту осуществления это достигается с использованием единичного подвижного слоя с двумя отражающими поверхностями. Подвижный слой подвешен между двумя частично отражающими поверхностями с использованием опорной стопки. Одна из отражающих поверхностей может перемещаться к первой частично отражающей поверхности, и другая отражающая поверхность может перемещаться в противоположном направлении ко второй частично отражающей поверхности. Это позволяет создавать изображение на первой поверхности просмотра и на второй поверхности просмотра устройства. Согласно другому варианту осуществления используются два подвижных слоя. Каждый подвижный слой имеет отражающий слой, обращенный к соответствующему частично отражающему слою. Каждый слой поддерживается и отделяется опорной стопкой. Перемещение между каждым из подвижных слоев и частично отражающих слоев позволяет создавать изображение на двух поверхностях устройства. Некоторые варианты осуществления позволяют создавать оба изображения и наблюдать их одновременно, причем каждое изображение находится на отдельной поверхности просмотра. Согласно некоторым вариантам осуществления создаваемые изображения могут быть полностью независимы друг от друга. Согласно другим вариантам осуществления, хотя можно создавать два изображения, по одному на каждой поверхности просмотра, изображения связаны в своих шаблонах, поскольку единичный подвижный слой создает оба изображения.
Один вариант осуществления дисплея на основе интерферометрического модулятора, содержащего интерферометрический элемент дисплея MEMS, проиллюстрирован на фиг.1. В этих устройствах пиксели находятся либо в ярком, либо в темном состоянии. В ярком (“включенном” или “открытом”) состоянии элемент дисплея отражает большую часть падающего видимого света в глаза пользователя. В темном (“отключенном” или “закрытом”) состоянии элемент дисплея отражает мало падающего видимого света в глаза пользователя. В зависимости от варианта осуществления свойства отражения света “включенного” и “отключенного” состояний могут быть обращены. Пиксели MEMS могут быть способны отражать в основном определенные цвета, что позволяет создавать цветной дисплей, а не только черно-белый.
На фиг.1 показан изометрический вид, изображающий два соседних пикселя в последовательности пикселей визуального дисплея, причем каждый пиксель содержит интерферометрический модулятор MEMS. В некоторых вариантах осуществления дисплей на основе интерферометрического модулятора содержит матрицу строк/столбцов этих интерферометрических модуляторов. Каждый интерферометрический модулятор включает в себя пару отражающих слоев, расположенных на переменном и управляемом расстоянии друг от друга, для формирования оптической резонансной полости с, по меньшей мере, одним переменным размером. Согласно одному варианту осуществления один из отражающих слоев может перемещаться между двумя положениями. В первом положении, именуемом здесь положением деактивации, подвижный отражающий слой располагается на сравнительно большом расстоянии от фиксированного частично отражающего слоя. Во втором положении, именуемом здесь положением активации, подвижный отражающий слой располагается ближе к частично отражающему слою. Падающий свет, который отражается от двух слоев, интерферирует с усилением или ослаблением в зависимости от положения подвижного отражающего слоя, создавая либо полностью отражающее, либо неотражающее состояние каждого пикселя.
Изображенная на фиг.1 часть пиксельной матрицы включает в себя два соседних интерферометрических модулятора 12a и 12b. В интерферометрическом модуляторе 12a слева подвижный отражающий слой 14a показан в положении деактивации на заранее определенном расстоянии от оптической стопки 16a, которая включает в себя частично отражающий слой. В интерферометрическом модуляторе 12b справа подвижный отражающий слой 14b показан в положении активации рядом с оптической стопкой 16b.
Оптические стопки 16a и 16b (совместно именуемые оптической стопкой 16), как мы их будем называть ниже, обычно содержат несколько сплавленных слоев, которые могут включать в себя слой электрода, например, из оксида индия-олова (ITO), частично отражающий слой, например, из хрома и прозрачный диэлектрик. Таким образом, оптическая стопка 16 является электропроводной, частично прозрачной и частично отражающей и может изготавливаться, например, путем осаждения одного или нескольких из вышеописанных слоев на прозрачную подложку 20. В некоторых вариантах осуществления слои выполнены по шаблону в виде параллельных полосок и могут формировать электроды строк в устройстве отображения, что дополнительно описано ниже. Подвижные отражающие слои 14a, 14b можно формировать в виде последовательности параллельных полосок осажденного металлического слоя или слоев (перпендикулярных электродам строк 16a, 16b), нанесенных поверх штырей 18 и перемежающихся расходуемым материалом, нанесенным между штырями 18. После вытравливания расходуемого материала подвижные отражающие слои 14a, 14b оказываются отделенными от оптических стопок 16a, 16b заданным зазором 19. В качестве отражающих слоев 14 можно использовать хорошо проводящий и отражающий материал, например алюминий, и эти полоски могут образовывать электроды столбцов в устройстве отображения.
В отсутствие приложенного напряжения полость 19 остается между подвижным отражающим слоем 14a и оптической стопкой 16a, при этом подвижный отражающий слой 14a находится в механически деактивированном состоянии, что проиллюстрировано пикселем 12a на фиг.1. Однако, когда разность потенциалов приложена к выбранным строке и столбцу, конденсатор, образованный в месте пересечения электродов строки и столбца на соответствующем пикселе, заряжается, и электростатические силы обусловливают притяжение электродов друг к другу. Если напряжение достаточно высокое, подвижный отражающий слой 14 деформируется и притягивается к оптической стопке 16. Слой диэлектрика (не показан на этом чертеже) в оптической стопке 16 может препятствовать короткому замыканию и управлять расстоянием между слоями 14 и 16, что проиллюстрировано пикселем 12b справа на фиг.1. Поведение не зависит от полярности приложенной разности потенциалов. Таким образом, активация строки/столбца, которая может переключать пиксель из отражающего состояния в неотражающее и обратно, во многом аналогична используемой в традиционном ЖКД и других технологиях отображения.
На фиг.2-5 показаны один иллюстративный процесс и система для использования матрицы интерферометрических модуляторов применительно к дисплеям.
На фиг.2 показана системная блок-схема, иллюстрирующая один вариант осуществления электронного устройства, который может включать в себя аспекты изобретения. В иллюстративном варианте осуществления электронное устройство включает в себя процессор 21, который может представлять собой любой микропроцессор общего назначения на одной или нескольких микросхемах, например ARM, Pentium®, Pentium II®, Pentium III®, Pentium IV®, Pentium® Pro, 8051, MIPS®, Power PC®, ALPHA® или любой микропроцессор специального назначения, например цифровой сигнальный процессор, микроконтроллер или программируемую вентильную матрицу. Согласно уровню техники процессор 21 может быть способен выполнять один или несколько программных модулей. Помимо выполнения операционной системы процессор может быть способен выполнять одну или несколько прикладных программ, включая веб-браузер, телефонное приложение, программу электронной почты или любую другую прикладную программу.
Согласно одному варианту осуществления процессор 21 способен также осуществлять связь с формирователем 22 матрицы. Согласно одному варианту осуществления формирователь 22 матрицы включает в себя схему 24 формирователя строк и схему 26 формирователя столбцов, которые выдают сигналы на панель или матрицу дисплея (дисплей) 30. Вид в разрезе матрицы, проиллюстрированной на фиг.1, показан линиями 1-1 на фиг.2. Для интерферометрических модуляторов MEMS протокол активации строк/столбцов может пользоваться преимуществами свойства гистерезиса этих устройств, показанного на фиг.3. Для этого может потребоваться, например, разность потенциалов в 10 Вольт, чтобы подвижный слой деформировался из деактивированного состояния в активированное состояние. Однако, когда напряжение уменьшается ниже этого значения, подвижный слой остается в этом состоянии, несмотря на то, что напряжение падает ниже 10 Вольт. В иллюстративном варианте осуществления, показанном на фиг.3, подвижный слой не деактивируется полностью, пока напряжение не упадет ниже 2 Вольт. Таким образом, существует диапазон напряжений, от около 3 до около 7 В в примере, проиллюстрированном на фиг.3, где существует окно приложенного напряжения, в котором устройство стабильно либо в деактивированном, либо в активированном состоянии. Мы будем называть это “окном гистерезиса” или “окном стабильности”. Для матрицы дисплея, имеющей характеристики гистерезиса, показанные на фиг.3, протокол активации строк/столбцов можно разработать так, что в ходе стробирования строки на пиксели в стробированной строке, которые подлежат активации, подается разность потенциалов около 10 Вольт, и на пиксели, которые подлежат деактивации, подается разность потенциалов, близкая к нулю Вольт. После стробирования на пиксели подается разность потенциалов устойчивого состояния около 5 Вольт, в результате чего они остаются в том состоянии, в которое перешли при стробировании строки. Будучи записан, каждый пиксель видит разность потенциалов в “окне стабильности” в 3-7 Вольт в этом примере. Эта особенность обеспечивает стабильность конструкции пикселя, показанной на фиг.1, в одних тех же условиях приложенного напряжения как в активированном, так и в деактивированном ранее существующем состоянии. Поскольку каждый пиксель интерферометрического модулятора в активированном или же деактивированном состоянии по существу представляет собой конденсатор, образованный фиксированным и подвижным отражающими слоями, это стабильное состояние может поддерживаться при напряжении в пределах окна гистерезиса почти без рассеяния мощности. При фиксированном приложенном напряжении пиксель по существу не потребляет ток.
В типичных приложениях кадр дисплея можно создавать, назначая набор электродов столбцов в соответствии с нужным набором активированных пикселей в первой строке. Затем импульс строки подают на электрод строки 1, активируя пиксели, соответствующие назначенным линиям столбцов. Затем назначенный набор электродов столбцов изменяют в соответствии с нужным набором активированных пикселей во второй строке. Затем импульс подают на электрод строки 2, активируя соответствующие пиксели в строке 2 в соответствии с назначенными электродами столбцов. Пиксели строки 1 не подвергаются воздействию импульса строки 2 и остаются в состоянии, в которое они перешли под действием импульса строки 1. Эту операцию можно повторять для всей совокупности строк в последовательном режиме для создания кадра. В общем случае кадры обновляются в соответствии с новыми данными дисплея за счет непрерывного повторения этого процесса при некотором нужном количестве кадров в секунду. Известно большое количество протоколов для возбуждения электродов строк и столбцов пиксельных матриц для создания кадров дисплея, и их можно использовать применительно к настоящему изобретению.
На фиг.4 и 5 показан один возможный протокол активации для создания кадра дисплея на матрице 3×3, показанной на фиг.2. На фиг.4 показан возможный набор уровней напряжения столбцов и строк, который можно использовать для пикселей, обладающих свойством гистерезиса, наподобие показанного на фиг.3. Согласно варианту осуществления, показанному на фиг.4, активация пикселя предусматривает подачу на соответствующий столбец напряжения – Vbias и на соответствующую строку – напряжения + V, которое может соответствовать -5 Вольт и +5 Вольт соответственно. Деактивация пикселя осуществляется путем подачи на соответствующий столбец напряжения +Vbias и на соответствующую строку – того же напряжения + V, в результате чего разность потенциалов на пикселе оказывается равной нулю Вольт. В тех строках, где напряжение строки поддерживается равным нулю Вольт, пиксели стабильны в любом состоянии, в котором они первоначально пребывали, независимо от того, находится ли столбец под напряжением +Vbias или -Vbias. Из фиг.4 также следует, что можно использовать напряжения противоположной полярности по отношению к вышеописанной, например активировать пиксель можно, подавая на соответствующий столбец напряжение +Vbias и на соответствующую строку – напряжение – V. В этом варианте осуществления деактивация пикселя осуществляется путем подачи на соответствующий столбец напряжения -Vbias и на соответствующую строку – того же напряжения – V, в результате чего разность потенциалов на пикселе оказывается равной нулю Вольт.
На фиг.5B показана диаграмма хронирования, демонстрирующая последовательность сигналов строк и столбцов, подаваемых на матрицу 3×3, показанную на фиг.2, что обеспечивает конфигурацию дисплея, проиллюстрированную на фиг.5A, где активированные пиксели не отражают. До записи кадра, показанного на фиг.5A, пиксели могут быть в любом состоянии, и в этом примере напряжение на всех строках равно 0 Вольт, и напряжение на всех столбцах равно +5 Вольт. При этих приложенных напряжениях все пиксели стабильны в своих существующих активированных или деактивированных состояниях.
В кадре, показанном на фиг.5A, пиксели (1,1), (1,2), (2,2), (3,2) и (3,3) активированы. Для этого в течение “времени линии” для строки 1 на столбцы 1 и 2 подают -5 Вольт, и на столбец 3 подают +5 Вольт. Это не приводит к изменению состояния ни одного из пикселей, поскольку все пиксели остаются в окне стабильности 3-7 Вольт. Затем строку 1 стробируют импульсом, который меняется от 0 до 5 Вольт, а затем возвращается к нулю. Это активирует пиксели (1,1) и (1,2) и деактивирует пиксель (1,3). Никакие другие пиксели в матрице не подвергаются влиянию. Для установки по желанию строки 2 на столбец 2 подают -5 Вольт, и на столбцы 1 и 3 подают +5 Вольт. Подача того же стробирующего сигнала на строку 2 приведет к активации пикселя (2,2) и деактивации пикселей (2,1) и (2,3). Опять же никакие другие пиксели матрицы не подвергаются воздействию. Строку 3 аналогичным образом устанавливают, подавая на столбцы 2 и 3 напряжение -5 Вольт и на столбец 1 – напряжение +5 Вольт. Стробирующий сигнал строки 3 устанавливает пиксели строки 3, как показано на фиг.5A. После записи кадра потенциалы строк равны нулю, и потенциалы столбцов могут оставаться равными +5 или -5 Вольт, и дисплей остается стабильным в конфигурации, показанной на фиг.5A. Очевидно, что ту же процедуру можно применять для матриц из дюжин или сотен строк и столбцов. Также очевидно, что хронирование, последовательность и уровни напряжения, используемые для осуществления активации строк и столбцов, можно варьировать в широких пределах согласно изложенным выше общим принципам, и вышеприведенный пример носит исключительно иллюстративный характер, и описанные здесь системы и способы позволяют использовать любой метод активации напряжением.
На фиг.6A и 6B показаны системные блок-схемы, иллюстрирующие вариант осуществления устройства отображения 40. Устройство отображения 40 может представлять собой, например, сотовый или мобильный телефон. Однако те же компоненты устройства отображения 40 или небольшие их вариации также иллюстрируют различные типы устройств отображения, например телевизоры и портативные мультимедийные проигрыватели.
Устройство отображения 40 включает в себя корпус 41, дисплей 30, антенну 43, громкоговоритель 44, устройство 48 ввода и микрофон 46. Корпус 41 обычно формируют посредством любого из многочисленных процессов производства, которые хорошо известны специалистам в данной области, включая литьевое формование и вакуумное формование. Кроме того, корпус 41 может быть выполнен из любого из многочисленных материалов, в том числе, но без ограничения, пластика, металла, стекла, резины и керамики или их комбинации. Согласно одному варианту осуществления корпус 41 включает в себя съемные части (не показаны), которые можно заменять другими съемными частями другого цвета или содержащими другие логотипы, картинки или символы.
Дисплей 30 иллюстративного устройства отображения 40 может представлять собой любой из многочисленных дисплеев, включая описанный здесь дисплей на бистабильных элементах. В других вариантах осуществления дисплей 30 включает в себя плоскопанельный дисплей, например плазменный, EL, OLED, STN LCD или TFT LCD, согласно описанному выше или неплоскопанельный дисплей, например ЭЛТ или другое устройство типа трубки, которое хорошо известно специалистам в данной области. Однако в целях описания настоящего варианта осуществления дисплей 30 включает в себя дисплей на основе интерферометрического модулятора, который описан здесь.
Компоненты одного варианта осуществления иллюстративного устройства отображения 40 схематически изображены на фиг.6B. Показанное иллюстративное устройство отображения 40 включает в себя корпус 41 и может включать в себя дополнительные компоненты, по меньшей мере, частично заключенные в нем. Например, согласно одному варианту осуществления иллюстративное устройство отображения 40 включает в себя сетевой интерфейс 27, который включает в себя антенну 43, подключенную к приемопередатчику 47. Приемопередатчик 47 подключен к процессору 21, который подключен к устройству 52 регулировки. Устройство 52 регулировки может быть способно регулировать сигнал (например, фильтровать сигнал). Устройство 52 регулировки подключено к громкоговорителю 45 и микрофону 46. Процессор 21 также подключен к устройству ввода 48 и контроллеру 29 формирователя. Контроллер 29 формирователя подключен к буферу 28 кадров и к формирователю 22 матрицы, который, в свою очередь, подключен к матрице 30 дисплея. Источник 50 питания обеспечивает питание для всех компонентов, которые необходимы согласно конкретной конструкции иллюстративного устройства отображения 40.
Сетевой интерфейс 27 включает в себя антенну 43 и приемопередатчик 47, что позволяет иллюстративному устройству отображения 40 осуществлять связь с одним или несколькими устройствами по сети. Согласно одному варианту осуществления сетевой интерфейс 27 также может иметь некоторые возможности обработки, что позволяет снизить требования к процессору 21. Антенна 43 представляет собой любую антенну, известную специалистам в данной области, для передачи и приема сигналов. Согласно одному варианту осуществления антенна передает и принимает РЧ сигналы согласно стандарту IEEE 802.11, включая IEEE 802.11 (a), (b) или (g). В другом варианте осуществления антенна передает и принимает РЧ сигналы согласно стандарту BLUETOOTH. В случае сотового телефона конструкция антенны позволяет принимать сигналы CDMA, GSM, AMPS или другие известные сигналы, которые используются для связи в беспроводной сотовой телефонной сети. Приемопередатчик 47 осуществляет предварительную обработку сигналов, принятых от антенны 43, что позволяет процессору 21 принимать и дополнительно обрабатывать их. Приемопередатчик 47 также обрабатывает сигналы, полученные от процессора 21, что позволяет передавать их от иллюстративного устройства отображения 40 через антенну 43.
В альтернативном варианте осуществления приемопередатчик 47 может быть заменен приемником. В еще одном альтернативном варианте осуществления сетевой интерфейс 27 может быть заменен источником изображения, который может хранить или генерировать данные изображения, подлежащие передаче процессору 21. Например, источник изображения может представлять собой цифровой видеодиск (DVD) или жесткий диск, содержащий данные изображения, или программный модуль, который генерирует данные изображения.
Процессор 21 обычно управляет работой в целом иллюстративного устройства отображения 40. Процессор 21 принимает данные, например сжатые данные изображения, из сетевого интерфейса 27 или источника изображения и преобразует данные в необработанные данные изображения или в формат, который легко преобразуется в необработанные данные изображения. Затем процессор 21 передает преобразованные данные на контроллер 29 формирователя или в буфер 28 кадров для хранения. Под необработанными данными обычно понимают информацию, которая идентифицирует характеристики изображения в каждом месте изображения. Например, такие характеристики изображения могут включать в себя цвет, насыщенность и уровень серого.
Согласно одному варианту осуществления процессор 21 включает в себя микроконтроллер, ЦП или логическое устройство для управления работой иллюстративного устройства отображения 40. Устройство регулировки 52 обычно включает в себя усилители и фильтры для передачи сигналов на громкоговоритель 45 и для приема сигналов от микрофона 46. Устройство регулировки 52 может представлять собой дискретные компоненты в иллюстративном устройстве отображения 40 или может входить в состав процессора 21 или других компонентов.
Контроллер формирователя 29 берет необработанные данные изображения, генерируемые процессором 21, либо непосредственно от процессора 21, либо из буфера 28 кадров и переформатирует необработанные данные изображения в соответствии с высокоскоростной передачей на формирователь 22 матрицы. В частности, контроллер 29 формирователя переформатирует необработанные данные изображения в поток данных, имеющий растрообразный формат, чтобы иметь временной порядок, пригодный для сканирования по матрице 30 дисплея. Затем контроллер 29 формирователя передает форматированную информацию на формирователь 22 матрицы. Хотя контроллер 29 формирователя, например контроллер ЖКД, часто связан с системным процессором 21 в виде отдельной интегральной схемы (ИС), такие контроллеры можно реализовать различными способами. Они могут быть встроены в процессор 21 как оборудование, встроены в процессор 21 как программное обеспечение или полностью интегрированы в виде оборудования с формирователем 22 матрицы.
Обычно формирователь 22 матрицы принимает форматированную информацию от контроллера 29 формирователя и переформатирует видеоданные в параллельный набор сигналов, которые подаются много раз в секунду на сотни, а иногда тысячи проводников, идущих от матрицы x-y пикселей дисплея.
Согласно одному варианту осуществления контроллер 29 формирователя, формирователь 22 матрицы и матрица 30 дисплея соответствуют любому из типов описанных здесь дисплеев. Например, согласно одному варианту осуществления контроллер 29 формирователя представляет собой традиционный контроллер дисплея или контроллер дисплея на бистабильных элементах (например, контроллер интерферометрических модуляторов). В другом варианте осуществления формирователь 22 матрицы представляет собой традиционный формирователь или формирователь дисплея на бистабильных элементах (например, дисплея на основе интерферометрического модулятора). Согласно одному варианту осуществления контроллер 29 формирователя объединен с формирователем 22 матрицы. Такой вариант осуществления обычен в системах с высокой степенью интеграции, например сотовых телефонах, часах и других дисплеях малой площади. Согласно еще одному варианту осуществления матрица 30 дисплея является типичной матрицей дисплея или матрицей дисплея на бистабильных элементах (например, дисплея, включающего в себя матрицу интерферометрических модуляторов).
Устройство 48 ввода позволяет пользователю управлять работой иллюстративного устройства 40 отображения. Согласно одному варианту осуществления устройство 48 ввода включает в себя кнопочную панель, например клавиатуру QWERTY или кнопочную панель телефона, ручку, переключатель, сенсорный экран, мембрану, чувствительную к давлению или нагреву. Согласно одному варианту осуществления микрофон 46 является устройством ввода для иллюстративного устройства 40 отображения. Когда микрофон 46 используется для ввода данных в устройство, пользователь может подавать речевые команды для управления работой иллюстративного устройства 40 отображения.
Источник питания 50 может включать в себя различные устройства, запасающие энергию, хорошо известные в технике. Например, согласно одному варианту осуществления, источник питания 50 представляет собой аккумулятор, например никель-кадмиевый аккумулятор или литий-ионный аккумулятор. В другом варианте осуществления источник питания 50 представляет собой возобновляемый источник энергии, конденсатор, солнечную батарею, в том числе пластиковую солнечную батарею и краску из солнечных элементов. В другом варианте осуществления источник питания 50 способен получать мощность из стенной розетки.
В некоторых реализациях возможности программируемого управления находятся, как описано выше, в контроллере формирователя, который может располагаться в нескольких местах в системе электронного дисплея. В ряде случаев возможности программируемого управления находятся в формирователе 22 матрицы. Специалистам в данной области очевидно, что вышеописанную оптимизацию можно реализовать в любом количестве аппаратных и/или программных компонентов и в различных конфигурациях.
Детали структуры интерферометрических модуляторов, которые работают в соответствии с вышеизложенными принципами, могут варьироваться в широких пределах. Например, на фиг.7A-7E показано пять разных вариантов осуществления подвижного отражающего слоя 14 и поддерживающих его структур. На фиг.7A показан вид в разрезе варианта осуществления, показанного на фиг.1, где полоска из металлического материала 14 размещена на ортогонально выступающие опоры 18. Согласно фиг.7B подвижный отражающий слой 14 присоединен к опорам только по углам привязями 32. Согласно фиг.7C подвижный отражающий слой 14 подвешен на деформируемом слое 34, который может содержать гибкий металл. Деформируемый слой 34 соединяется, непосредственно или опосредованно, с подложкой 20 по периметру деформируемого слоя 34. Эти соединения называются здесь опорными штырями. Вариант осуществления, показанный на фиг.7D, имеет опорные штыревые вставки 42, на которых покоится деформируемый слой 34. Подвижный отражающий слой 14 остается подвешенными над полостью, как на фиг.7A-7C, но деформируемый слой 34 не образует опорные штыри благодаря заполнению промежутков между деформируемым слоем 34 и оптической стопкой 16. Напротив, опорные штыри формируются из выравнивающего материала, который используется для формирования опорных штыревых вставок 42. Вариант осуществления, показанный на фиг.7E, опирается на вариант осуществления, показанный на фиг.7D, но может также быть адаптирован для работы с любыми вариантами осуществления, показанными на фиг.7A-7C, а также дополнительными вариантами осуществления, которые не показаны. Согласно варианту осуществления, показанному на фиг.7E, дополнительный слой металла или другого проводящего материала используется для формирования шинной структуры 44. Это позволяет маршрутизировать сигнал позади интерферометрических модуляторов, исключая необходимость в многочисленных электродах, которые, в противном случае, пришлось бы формировать на подложке 20.
Согласно вариантам осуществления наподобие показанных на фиг.7 интерферометрические модуляторы функционируют как устройства прямого просмотра, в которых изображения доступны для просмотра с лицевой стороны прозрачной подложки 20, стороны, противоположной той, на которой размещен модулятор. В этих вариантах осуществления отражающий слой 14 оптически перекрывает некоторые участки интерферометрического модулятора со стороны отражающего слоя, противоположной подложке 20, включая деформируемый слой 34 и шинную структуру 44. Это позволяет конфигурировать перекрытые области и работать на них, не оказывая негативного влияния на качество изображения. Эта разделимая архитектура модулятора позволяет выбирать структурную конструкцию и материалы, используемые для электромеханических аспектов и оптических аспектов модулятора и позволяет им функционировать независимо друг от друга. Кроме того, варианты осуществления, показанные на фиг.7C-7E, имеют дополнительные преимущества, вытекающие из отделения оптических свойств отражающего слоя 14 от его механических свойств, которые осуществляются деформируемым слоем 34. Это позволяет оптимизировать структурную конструкцию и материалы, используемые для отражающего слоя 14, по отношению к оптическим свойствам, и оптимизировать структурную конструкцию и материалы, используемые для деформируемого слоя 34, по отношению к нужным механическим свойствам.
Согласно вышеописанному интерферометрические модуляторы модулируют свет, управляя самоинтерференцией света, падающего на поверхность модулятора. Например, в патенте США 5835255 раскрыт интерферометрический модулятор, показанный на фиг.1 (см. фиг.20B в патенте США 5835255). Все содержимое патента США 5835255 таким образом включено посредством ссылки в полном объеме.
Согласно фиг.8 интерферометрические модуляторы также могут включать в себя изолирующий слой 508 диэлектрика между противоположными поверхностями интерферометрической полости. При работе интерферометрического модулятора изолирующий слой 508 препятствует прямому контакту между слоями 502 и 506, тем самым предотвращая короткое замыкание.
Согласно фиг.8 в традиционном интерферометрическом модуляторе имеется единичная поверхность просмотра на стеклянной подложке 500. Таким образом, пользователь может просматривать полости устройства, глядя через подложку 500 в направлении стрелки 510. В зависимости от состояния активации и размеров полостей каждая полость может представать наблюдателю белой, черной или в конкретном цвете. Таким образом, матрица индивидуально управляемых полостей может формировать отражающее устройство отображения для разнообразных применений, включая сотовые телефоны, КПК и переносные компьютеры.
A. Интерферометрические модуляторы с двумя доступными для просмотра поверхностями
В некоторых областях применения полезно иметь устройство отображения, которое включает в себя доступную для просмотра область отображения на обеих сторонах устройства. Особенно предпочтительно иметь, например, панельный дисплей, способный создавать изображения на обеих сторонах, в то же время поддерживая тонкий профиль. Хотя двусторонние дисплеи можно создавать, просто совмещая два устройства отображения задними сторонами, в результате получается сравнительно толстое или громоздкое устройство. Таким образом, устройства, способные создавать два изображения, в то же время поддерживая тонкий или минимальный профиль, могут быть полезны. Эти устройства можно получать различными способами.
Один пример такого устройства показан на фиг.9. Устройство содержит две подложки 500a и 500b, которые могут удерживаться вместе опорной стопкой 510. Нижняя секция устройства, показанного на фиг.9, аналогична устройству, показанному на фиг.8. Как и раньше, вариант осуществления, представленный на фиг.9, содержит первую подложку 500a, по существу прозрачную для света. Поверх первой подложки находится первый частично отражающий слой (также именуемый частично пропускающим слоем) 502a. Частично отражающий слой 502a избирательно отражает свет. Поверх этого слоя 502a находится слой 508a диэлектрика (или защитное покрытие). Опорная стопка 510 расположена поверх этих слоев и проходит сквозь них. Опорная стопка 510 соединяет первую подложку 500a, вторую подложку 500b. Согласно некоторым вариантам осуществления опорная стопка непосредственно соединена с подложкой. Согласно другим вариантам осуществления опорная стопка соединена со слоем диэлектрика или другим слоем и, таким образом, обеспечивает механическую связь с подложкой. Опорная стопка выполнена из различных опорных частей 504a и 504b, именуемых выше штырями. Опорные части могут иметь разные размеры и формы. Опорная стопка 510 дополнительно соединяет первый слой 508a диэлектрика и второй слой 508b диэлектрика. Дополнительные опорные части могут соединять первую подложку и вторую подложку, например, между слоями 508a и 508b диэлектрика и подложками 500a и 500b.
Подвижный слой 506 поддерживается опорной стопкой 510. Подвижный слой 506, как и раньше, может изгибаться, обеспечивая изменение размера камеры 498a. Перемещение подвижного слоя происходит в направлении 602 при просмотре устройства с направления 510a. Перемещение подвижного слоя происходит в направлении 604 при просмотре устройства с направления 510b. Это перемещение, в общем случае, перпендикулярно плоскости слоя. На обеих сторонах подвижного слоя находятся отражающие поверхности 710 и 711.
В описанном варианте осуществления отражающие поверхности 710 и 711 и поверхности подвижного слоя 506 в полости 498 означают одно и то же; однако они не обязаны образовывать единую структуру. Например, отражающие поверхности 710 или 711 могут быть частью отражающего участка, который, в свою очередь, присоединен к подвижному слою 506. Отражающий участок может быть просто частью подвижного слоя 506, где находятся отражающие поверхности 710 или 711. Альтернативно, отражающий участок может означать часть, выделенную для отражающей поверхности, указывая, что отдельная часть в основном предназначена для перемещения слоя. Например, возможные отражающие участки показаны на фиг.7B-7E, позиция 14, где подвижный и, в частности, деформируемый слой обозначен позицией 32 или 34, тогда как отражающая поверхность находится в нижней части позиции 14. В целом, термин «подвижный слой» можно использовать для описания всех деталей, которые могут перемещаться при переходах устройства из открытого положения в закрытое. Термин “деформируемый слой” используется для описания слоев или участков слоев, которые не имеют других характеристик (например, отражающих свойств), но все же могут перемещаться. Дополнительно, что очевидно специалисту в данной области, подвижный слой содержит также второй электрод.
Подвижный слой 506 продолжается в полости 498. Полость может быть образована первым частично отражающим слоем 502a и вторым частично отражающим слоем 502b. С обоими слоями могут быть связаны слои 508a и 508b диэлектрика, а также другие слои или устройства. Полость 498 делится на суб-полости 498a и 498b, которые меняются в размере в зависимости от положения подвижного слоя 506 в главной полости 498. Когда подвижный слой 506 отклоняется к первому частично отражающему слою 502a, уменьшается размер полости 498a. Когда подвижный слой 506 отклоняется ко второму частично отражающему слою 502b, уменьшается размер полости 498b. В общем случае подвижный слой 506 проводит большую часть своего времени стационарного состояния в одном из трех положений 800, 801 и 802 и может перемещаться между тремя положениями в зависимости от заряда между электродами, связанными с частично отражающими слоями 502a, 502b, и электродами, связанными с подвижным слоем 506, а также механических свойств подвижного слоя 506.
Опорная стопка дополнительно соединяет первый слой 508a диэлектрика со вторым слоем 508b диэлектрика. Второй слой 508b диэлектрика связан со вторым частично отражающим слоем 502b, который также частично или избирательно прозрачен для света.
Опять же, хотя второй частично отражающий слой может служить третьим электродом, согласно некоторым вариантам осуществления имеется отдельный электрод, соединенный со вторым частично отражающим слоем, поскольку второй частично отражающий слой может не иметь нужных электрических свойств. Поверх второго частично отражающего слоя 502b находится вторая подложка 500b. Согласно некоторым вариантам осуществления в первой, второй или обеих подложках 500b, 500a имеются отверстия 720. Как объяснено более подробно ниже, отверстия 720 должны быть достаточно велики и должны быть расположены достаточно часто, чтобы травитель мог проникать в область, где необходимо сформировать полость 498, хотя это не требуется во всех вариантах осуществления, что рассмотрено ниже.
Альтернативный вариант осуществления описан на фиг.10. Согласно этому варианту осуществления два подвижных слоя 506a и 506b используются для обеспечения двух изображений, по одному изображению на каждой стороне поверхности плоскости. Согласно этому варианту осуществления, два изображения можно создавать одновременно на каждой стороне поверхности дисплея.
Согласно этому варианту осуществления имеются, опять же, две подложки 500a и 500b, поддерживаемые опорной стопкой 510. Опять же, опорная стопка 510 содержит опорные части 504a и 504b. Имеется также, по меньшей мере, дополнительная опорная часть 504b, а также другие возможные опорные части для полного соединения подложек 500a и 500b друг с другом. Высота опорной части 504c может быть достаточной, чтобы исключать нежелательный или опасный контакт между подвижными частями 506a и 506b.
Аналогично вышеописанным вариантам осуществления первая подложка 500a по существу прозрачна для света и покрыта первой частично отражающей поверхностью 502a. Если первый электрод отличается от частично отражающего слоя, он также входит в состав. Поверх первого частично отражающего слоя 502a находится слой 508a диэлектрика. Поверх слоя диэлектрика 508a находится опорная часть 504a, которая связана с другими опорными частями для соединения с подложками 500a и 500b. Опять же, вторая подложка 500b связана со вторым частично отражающим слоем 502b, который дополнительно связан со слоем 508b диэлектрика, и, в необязательном порядке, четвертым электродом при условии, что второй частично отражающий слой служит не только электродом.
Между частично отражающими слоями 502b и 502a имеется полость 498. Опорная стопка 510 поддерживает два подвижных слоя 506a и 506b, которые могут перемещаться в полости 498. Полость 498 дополнительно делится на три подполости 498a, 498c и 498b. Полости 498a и 498b аналогичны полостям 498a и 498b, указанным на фиг.9. Перемещение подвижного слоя 506a приводит к изменению размера полостей 498a и 498c. Перемещение подвижного слоя 506b приводит к изменению размера полостей 498b и 498c. Подвижные слои могут перемещаться в направлении, в целом перпендикулярном плоскости первого и второго слоев 502a и 502b электрода для изменения расстояния между поверхностями подвижного слоя 710 и 711 и частично отражающего слоя 502a или 502b соответственно. Подвижный слой 506a способен перемещаться в направлении 602 между положением 800 и положением 801a. Подвижный слой 506b способен перемещаться в направлении 604 между положениями 802 и 801b. Подвижный слой 506a содержит второй электрод, и подвижный слой 506b содержит третий электрод.
Согласно вышеописанному подвижные слои 506a и 506b могут быть снабжены отражающими поверхностями 710 и 711, что позволяет подвижному слою служить отражающей поверхностью в интерферометрическом модуляторе. Однако отражающие поверхности 710 и 711 также могут быть аналогичны показанным на фиг.7B-7E, например отдельными от деформируемого слоя.
Как очевидно специалисту в данной области, в описанном варианте осуществления частично отражающие слои 502a и 502b и подвижный слой 506, 506a и 506b также способны играть роль электродов. Однако согласно некоторым вариантам осуществления электродные аспекты слоев отделены от оптических свойств слоя. Так, при необходимости можно добавить специальные слои электрода. Альтернативно или дополнительно, согласно некоторым вариантам осуществления свойства движения слоя(ев) могут быть разделены между различными слоями вместо единого слоя. Таким образом, не отклоняясь от сущности изобретения, можно включать дополнительные слои или распространять функции данных слоев на другие слои.
Согласно рассмотренному выше слой может содержать подслои, и различные функции слоя могут быть распределены между отдельными подслоями. Например, подвижный слой 506 перемещает две отражающие поверхности 710 и 711. Согласно некоторым вариантам осуществления отражающие поверхности 710 и 711 сами являются подвижным слоем. Таким образом, единичный слой может допускать перемещение и может отражать свет. Согласно другим вариантам осуществления эти и другие функции делятся между отдельными структурами или слоями. Например, может существовать деформируемая секция устройства, которая допускает перемещение отражающих участков и, в необязательном порядке, специального слоя электрода. Другой пример того, как можно дополнительно специализировать или регулировать некоторые слои, представляет частично отражающий слой 502. Согласно описанному выше оптическая стопка может содержать слой электрода, частично отражающий слой и прозрачный слой диэлектрика. На фиг.9 и 10 показаны только частично отражающий слой и слой диэлектрика. Слой электрода также может быть специальным слоем электрода, который не показан, или может быть тем же слоем, что и частично отражающий слой. В данном случае перемещение, описанное как происходящее между подвижной или отражающей поверхностью и частично отражающим слоем или слоем диэлектрика, обусловлено электродами, соединенными или связанными с каждым из слоев.
Как очевидно специалисту в данной области, при необходимости можно добавить дополнительные слои или подложки. Например, согласно некоторым вариантам осуществления можно добавить дополнительные слои подложки. Это может быть полезно для снабжения подложки 500b дополнительной поддержкой или защитой. Такие дополнительные подложки можно непосредственно прикреплять к подложке 500b или, например, добавлять посредством соединения (например, адгезива) по периметру устройства.
B. Изготовление двусторонних интерферометрических модуляционных устройств
Начальные этапы изготовления согласно вариантам осуществления, описанным на фиг.9 и 10, аналогичны описанным выше применительно к вариантам осуществления, описанным на фиг.1. Процесс изготовления также в целом описан в патенте США 5835255, который в полном объеме включен сюда посредством ссылки. В общем случае можно осадить первую подложку 500a, первую опорную часть 504a, первый частично отражающий слой 502a, слой 508a диэлектрика и подвижный слой 506 с отражающей поверхностью 710.
Помимо этих этапов другой слой или другая опорная часть 504b добавляется (например, осаждается) поверх подвижного слоя 506. Таким образом, формируется вторая, верхняя полость 498b на другой стороне подвижного слоя 506 относительно нижней полости 498a. Как очевидно специалисту в данной области, полость при изготовлении содержит расходуемый материал, что более подробно описано выше. Расходуемый материал удаляется после того, как сверху осаждены другой(ие) слой(и). Дополнительно, с подвижным слоем 506 соединяется вторая отражающая поверхность 711. После этого добавляется еще один слой 508b диэлектрика и затем добавляется второй частично отражающий слой 502b. Наконец, поверх второй опорной части 504b или поверх опорной стопки 510 можно добавить вторую подложку 500b (например, путем осаждения), например, из SiO2. Альтернативно, вторую подложку 500b можно присоединить к устройству с использованием эпоксидной смолы. Согласно предпочтительному варианту осуществления эпоксидная смола является по существу оптически прозрачной. Вторую подложку можно присоединить непосредственно ко второму частично отражающему слою 502b или к дополнительным опорным частям, как показано на фиг.9.
Согласно вышеописанному полости 498, 498a и 498b являются результатом изготовления сплошного набора слоев, где полости заполнены расходуемым слоем, например, из молибдена. После осаждения слоя расходуемый материал удаляется сухим травлением путем воздействия на слои травильным газом. Интересной особенностью этих вариантов осуществления является тот факт, что два слоя 500a и 500b подложки присоединяются к одной опорной стопке. Для этого могут потребоваться дополнительные этапы или небольшие модификации, поскольку две подложки могут в ряде случаев эффективно герметизировать внутреннее пространство устройства и не позволять травителю проникать к расходуемому материалу. По этой причине для изготовления устройства, показанного на фиг.9 или 10, в частности для обеспечения дополнительных(ого) пространств(а) полости 498b или 498b и 498c, может оказаться полезным обеспечивать небольшие отверстия 720 в подложке 500b или 500a. Отверстия должны быть достаточно велики и должны быть расположены достаточно часто, чтобы весь сухой газ мог контактировать с расходуемым материалом, первоначально заполняющим пространства 498a и 498b. Согласно некоторым вариантам осуществления вторая подложка 500b не осаждается на поверхности второго частично отражающего слоя или второго электрода 502a, но вместо этого присоединяется к слою электрода с помощью по существу прозрачной эпоксидной смолы или клея; таким образом, отверстия 720 могут не потребоваться.
Изготовление согласно второму варианту осуществления, показанному на фиг.10, можно производить аналогичным образом. Опять же накладывается дополнительная опорная часть 504b, на этот раз с наложением дополнительного подвижного слоя 506b помимо первого подвижного слоя 506a и дополнительной опорной части 504c. Дополнительно, отражающие поверхности 710 и 711 должны присутствовать только на соответствующих сторонах подвижного слоя 506a и 506b для отражения света либо в направлении 510a, либо в направлении 510b соответственно. Некоторые варианты осуществления предусматривают более сложный подвижный слой, примеры которого приведены на фиг.7B-7D, где отражающая поверхность 14 отделена от слоя, который непосредственно обеспечивает перемещение 34, также именуемого деформируемым слоем. Деформируемый слой может быть отделен от отражающих поверхностей, хотя отражающий слой все же выполняет нужные движения. Опять же, размер опорных частей 504a и 504b отчасти определяется нужным промежутком или перемещением 602 (или 604) отражающей поверхности 710 (или 711) по сравнению с частично отражающим слоем 502a (или 502b). Размер опорной части 504c предпочтительно достаточно велик для предотвращения любого нежелательного взаимодействия между подвижными слоями 506a и 506b. Как очевидно специалисту в данной области, обоими подвижными слоями 506a и 506b можно оперировать одновременно, согласно этому варианту осуществления, для создания изображения на обеих сторонах устройства. Таким образом, расстояние между двумя подвижными слоями 506a может определяться тем, что на слоях могут накапливаться электрические заряды, что может способствовать их взаимодействию.
C. Способ создания двух изображений с помощью одного устройства
После завершения двусторонний отражательный дисплей доступен для просмотра с двух направлений 510a и 510b. При просмотре дисплея с направления 510a электроды строк и столбцов, связанные с 506 и 502a (например, подвижным слоем и одним частично отражающим слоем), соответствующим образом возбуждаются согласно описанному выше для перемещения зеркала между средним положением 801 деактивации и положением 800 возбуждения или активации, более близким к частично отражающему слою 502a. Это перемещение показано стрелкой 602. Это активированное состояние приводит к сокращению полости 498a. Согласно некоторым вариантам осуществления, когда свет поступает с направления 510a, и полость 498a не сокращается, свет падает на отражающую поверхность 710 и может проходить через частично отражающий слой 502a и выходить из полости. Когда свет поступает с направления 510a, и полость 498a сокращается, свет не может выходить из полости. Согласно другим вариантам осуществления свет не поглощается, но выбранный свет отражается.
При просмотре дисплея с направления 510b электроды строк и столбцов, связанные со слоями 506 и 502b, соответствующим образом возбуждаются согласно описанному выше для перемещения зеркала между положением 801 деактивации и положением 802 активации, более близким к частично отражающему слою 502b. Это перемещение показано стрелкой 604. Это возбужденное состояние приводит к сокращению полости 498b. Согласно некоторым вариантам осуществления, когда свет поступает с направления 510b, и полость 498b не сокращается, свет падает на отражающую поверхность 711 и может проходить через частично отражающий слой 502b и выходить из полости. Когда свет поступает с направления 510b, и полость 498b сокращается, свет не может выходить из полости 498b. Согласно другим вариантам осуществления свет не поглощается, но выбранный свет отражается.
Хотя на фиг.9 показано симметричное устройство с, по существу, идентичными размерами полости с обеих сторон, очевидно, что можно создавать несимметричные полости. Дополнительно, что очевидно специалисту в данной области, поскольку устройство имеет три устойчивых положения, может потребоваться дополнительное время или энергия для перехода между просмотром с направления 510a и просмотром с направления 510b, поскольку подвижному слою 506 придется переходить через или в положение 801, этап, который не требуется в устройствах только с двумя положениями, в которых может находиться подвижный слой.
Хотя этот дисплей доступен для просмотра с обеих сторон, он возбуждается для создания изображения не только с одной стороны в каждый момент времени, поскольку создание изображения на одной стороне может порождать другое результирующее визуальное восприятие на противоположной стороне. Это не проблема во многих приложениях, где требуется двусторонний дисплей, но каждый раз просматривается только одна сторона. Одним примером может служить конструкция складного сотового телефона, где откидная крышка клавиатуры имеет дисплей как снаружи, так и внутри. С дисплеем, показанным на фиг.9, установленным в этом приложении, открывание телефона может запускать строки 506 и столбцы 502a для создания нужного внутреннего отображения, а при закрывании телефона работа строк 506 и столбцов 502b осуществляется так, чтобы создавалось нужное наружное отображение. Как очевидно специалисту в данной области, существуют варианты осуществления использования, в которых единичный доступный для просмотра слой может создавать два изображения одновременно. Например, подвижный слой может переходить из положения 802 в положение 801 и из положения 801 в положение 800 достаточно быстро и часто для создания изображений на обеих сторонах. Дополнительно, в ходе использования на противоположной стороне устройства может появляться по-разному окрашенное изображение, хотя цвета на обратной стороне могут быть неидеальны. Альтернативно, источник освещения можно использовать для освещения каждой стороны дисплея с конкретной частотой освещения, причем две частоты смещены относительно друг друга, в результате чего обе стороны не освещаются одновременно. Благодаря синхронизации отображения изображения на одной стороне с освещением на этой стороне и такой же операции на другой стороне может показаться, что два изображения создаются одновременно.
Второй вариант осуществления, изображенный на фиг.10, действует аналогично двум идентичным интерферометрическим модулирующим устройствам, хотя нужно учитывать некоторые дополнительные параметры. Когда свет поступает с первого направления 510a, он проходит через первую подложку 500a и первый частично отражающий слой 502a и слой 508a диэлектрика и падает на отражающую поверхность 710, соединенную с подвижным слоем 506a. Отражающая поверхность 710 находится либо в положении 800, либо в положении 801a в зависимости от тока, текущего по электродам, связанным со слоями 506a и 502a. Согласно некоторым вариантам осуществления, когда подвижный слой 506a располагается после слоя диэлектрика в положении 800 и полость 498a сокращается, свет остается в полости. Подвижный слой 506a перемещается в направлении 602 для определения количества отраженного света и изображения или сигнала, порожденного этой секцией устройства. Когда подвижный слой 506a находится в положении 801a, и полость 498a не сокращается, свет, опять же, поступает через подложку 500a, проходит через частично отражающий слой 502a и слой 508a диэлектрика и отражается отражающей поверхностью 710. В этом положении согласно некоторым вариантам осуществления выбранный свет может выходить из полости. Согласно другим вариантам осуществления, в этом положении свет поглощается.
Свет, поступающий с направления 510b, проходит через по существу прозрачную подложку 500b, частично отражающий слой 502b и слой 508b диэлектрика. Затем он отражается отражающей поверхностью 711, которая связана с подвижным слоем 506b. Опять же подвижный слой 506b перемещается в направлении 604 для изменения размера полости 498b, а также полости 498c. Когда размер полости 498b минимален, полость 498b сокращена, и подвижный слой находится в положении 802. Согласно некоторым вариантам осуществления в сокращенном положении выбранный свет, поступающий в направлении 510b, отражается устройством. Согласно другим вариантам осуществления, в сокращенном положении свет, поступающий в направлении 510b, поглощается устройством. Аналогично, согласно некоторым вариантам осуществления, когда подвижный слой находится в положении 801b, и размер полости 498b не сокращается, свет поглощается устройством. Согласно другим вариантам осуществления, когда полость не сокращается, выбранный свет может выходить из устройства.
Согласно этому варианту осуществления матрица строк/столбцов, сформированная электродами, связанными со слоями 502a и 506a, может возбуждаться полностью отдельно от матрицы строк/столбцов, образованной электродами, связанными со слоями 502b и 506b. Это позволяет устройству одновременно создавать два отдельных отражательных дисплея, доступных для просмотра с противоположных сторон.
Дополнительные двусторонние дисплеи
Хотя вышеописанные устройства могут иметь единичную опорную стопку 510, единичные опорные стопки требуются не всегда. Согласно варианту осуществления, представленному на фиг.11, обе стороны одной подложки 500a используются в устройстве, которое можно просматривать с двух направлений 510a и 510b. Это устройство имеет опорные части или стопки 510 и 610, разделенные подложкой 500a.
Устройство может содержать первую подложку 500a, поверх которой имеется слой 502a электрода и первый слой 508a диэлектрика. Поверх этих слоев находится опорная часть 504a, поддерживающая подвижный слой 506, который имеет отражающую поверхность 711. На этом подвижном слое 506 находится другая опорная часть 504b, которая поддерживает второй слой диэлектрика (необязательный) и частично отражающий слой 502b. Поверх располагается необязательная по существу прозрачная вторая подложка 500b. На противоположной стороне первой подложки 500a находится второй слой 602a электрода и третий слой 608a диэлектрика. Поверх этих слоев находится третья опорная часть 604a, поддерживающая подвижный слой 606, который имеет отражающую поверхность 711. Поверх этого подвижного слоя 606 находится четвертая опорная часть 604b, которая поддерживает четвертый слой диэлектрика (необязательный) 608b и второй частично отражающий слой 602b. Как указано ниже, этот второй частично отражающий слой 602b не обязан служить электродом. Поверх второго частично отражающего слоя 602b находится необязательная по существу прозрачная подложка 600. Дополнительные по существу прозрачные подложки можно добавлять для дополнительного усиления или защиты.
Согласно некоторым вариантам осуществления одна отличительная особенность между этим вариантом осуществления и вышеописанными вариантами осуществления состоит в том, что слои 502a и 602a, в основном, являются электродами для смещения подвижных слоев 506 и 606. Таким образом, слои 502a и 602a не обязаны иметь какие-либо конкретные оптические свойства, поскольку оптическое взаимодействие происходит между 502b и отражающей поверхностью 711 или между 602b и отражающей поверхностью 710. Дополнительно, согласно некоторым вариантам осуществления слои 502b и 602b не обязаны обладать электрическими свойствами, поскольку им не нужно притягивать подвижные слои 506 или 606. Напротив, слои 502b и 602b можно выбирать только по их оптическим характеристикам. Дополнительно, согласно некоторым вариантам осуществления опорная стопка может в основном содержать две единичные и раздельные опорные части 504a и 604a, и любые дополнительные опорные части 504b или 604b могут быть гораздо меньше. Дело в том, что слои 504b и 604b могут быть достаточно высокими, чтобы подвижные слои 506 и 606 могли действовать. Как очевидно специалисту в данной области, все эти отличительные особенности не обязательно включать в каждый вариант осуществления. Согласно некоторым вариантам осуществления в необязательных второй и третьей подложках проделаны отверстия.
Согласно варианту осуществления, показанному на фиг.11, два изображения можно создавать одновременно. Как очевидно специалисту в данной области, в таком варианте осуществления оптические свойства системы могут быть обратны свойствам вышеописанной системы. Таким образом, при активации подвижного слоя устройство поглощает свет и создает “темное” изображение. При деактивации или расслаблении подвижного слоя устройство отражает свет и создает “яркое” изображение. Дополнительно, что очевидно специалисту в данной области, способ изготовления этого устройства может быть аналогичен описанному выше применительно к вариантам осуществления, показанным на фиг.9 и 10, отличаясь в основном количествами и положениями слоев, подложек или опорными частями. Дополнительно, поскольку функция слоев 502a, 602a, 502b и 602b может частично отличаться от вариантов осуществления, показанных на фиг.9 и 10, описанных выше, специалисту в данной области очевидно, что материалы, используемые в этих слоях и этапах, также можно изменять. Как очевидно специалисту в данной области, любой из рассмотренных выше составов или способов можно при необходимости объединить с этим вариантом осуществления.
Как очевидно специалисту в данной области, согласно некоторым вариантам осуществления подложка 500a не обязана быть прозрачной для света. Согласно некоторым вариантам осуществления подложка 500a содержит две или более подложки, связанные друг с другом.
Формула изобретения
1. Светомодулирующее устройство отображения, имеющее множество пикселей, содержащее первую подложку, по существу прозрачную для света, вторую подложку, по существу прозрачную для света, причем вторая подложка по существу параллельна первой подложке и отделена от первой подложки, по меньшей мере, одну опорную стопку, соединяющую друг с другом первую подложку и вторую подложку, первый частично отражающий слой, соединенный с первой подложкой, второй частично отражающий слой, соединенный со второй подложкой, причем второй частично отражающий слой по существу параллелен первому частично отражающему слою и отделен от первого частично отражающего слоя, причем первый частично отражающий слой и второй частично отражающий слой образуют полость между собой, по меньшей мере, один подвижный слой, поддерживаемый, по меньшей мере, одной опорной стопкой, причем, по меньшей мере, один подвижный слой подвижен в полости в направлении, в целом, перпендикулярном первому и второму частично отражающим слоям, и первую отражающую поверхность и вторую отражающую поверхность, соединенные с, по меньшей мере, одним подвижным слоем, для перемещения в полости с, по меньшей мере, одним подвижным слоем, причем первая отражающая поверхность и первый частично отражающий слой образуют первую суб-полость между собой, причем вторая отражающая поверхность и второй частично отражающий слой образуют вторую суб-полость между собой, при этом первая отражающая поверхность выполнена с возможностью перемещения от первого неактивированного положения в первое активированное положение в направлении к первому частично отражающему слою, а вторая отражающая поверхность выполнена с возможностью перемещения от второго неактивированного положения во второе активированное положение в направлении, противоположном направлению перемещения первого частично отражающего слоя.
2. Устройство по п.1, в котором, по меньшей мере, один подвижный слой содержит единичный подвижный слой.
3. Устройство по п.2, в котором опорная стопка содержит первую опорную часть между единичным подвижным слоем и первым частично отражающим слоем и вторую опорную часть между единичным подвижным слоем и вторым частично отражающим слоем.
4. Устройство по п.2, в котором после перемещения единичного подвижного слоя к первому частично отражающему слою первая субполость уменьшается в размере, а вторая суб-полость увеличивается в размере.
5. Устройство по п.2, в котором первая отражающая поверхность содержит первую поверхность единичного подвижного слоя, и вторая отражающая поверхность содержит вторую поверхность единичного подвижного слоя.
6. Устройство по п.2, в котором единичный подвижный слой содержит, по меньшей мере, один отражающий участок, первая отражающая поверхность содержит первую поверхность, по меньшей мере, одного отражающего участка, и вторая отражающая поверхность содержит вторую поверхность, по меньшей мере, одного отражающего участка.
7. Устройство по п.1, в котором, по меньшей мере, одна из первой подложки и второй подложки содержит отверстия, достаточно большие, чтобы травильный газ мог поступать в объем между первой подложкой и второй подложкой.
8. Устройство по п.1, в котором, по меньшей мере, один подвижный слой содержит первый подвижный слой и второй подвижный слой, причем первый подвижный слой и второй подвижный слой размещены между первым частично отражающим слоем и вторым частично отражающим слоем.
9. Устройство по п.8, в котором первый подвижный слой и второй подвижный слой не контактируют друг с другом при своем перемещении.
10. Устройство по п.8, в котором, по меньшей мере, одна опорная стопка содержит первую опорную часть между первым подвижным слоем и первым частично отражающим слоем, вторую опорную часть между первым подвижным слоем и вторым подвижным слоем и третью опорную часть между вторым подвижным слоем и вторым частично отражающим слоем.
11. Устройство по п.8, в котором первый подвижный слой содержит первую отражающую поверхность, и второй подвижный слой содержит вторую отражающую поверхность.
12. Устройство по п.8, в котором после перемещения первого подвижного слоя к первому частично отражающему слою первая суб-полость уменьшается в размере, а вторая суб-полость не меняет размер, и в котором после перемещения второго подвижного слоя ко второму частично отражающему слою вторая суб-полость уменьшается в размере, а первая суб-полость не меняет размер.
13. Устройство по п.8, в котором первая отражающая поверхность содержит поверхность первого подвижного слоя, и вторая отражающая поверхность содержит поверхность второго подвижного слоя.
14. Устройство по п.8, в котором первый подвижный слой содержит первый отражающий участок, причем первая отражающая поверхность содержит поверхность первого отражающего участка, и в котором второй подвижный слой содержит второй отражающий участок, причем вторая отражающая поверхность содержит поверхность второго отражающего участка.
15. Устройство по п.10, в котором расстояние между первой отражающей поверхностью и второй отражающей поверхностью, когда первый подвижный слой и второй подвижный слой деактивированы, превышает высоту первой опорной части в число раз от около двух до около 10.
16. Устройство по п.1, дополнительно содержащее процессор, электрически связанный с, по меньшей мере, одним из первого частично отражающего слоя, второго частично отражающего слоя или, по меньшей мере, одного подвижного слоя, причем процессор способен обрабатывать данные изображения, и устройство памяти, электрически связанное с процессором.
17. Устройство по п.16, дополнительно содержащее схему формирователя, способную передавать, по меньшей мере, один сигнал на, по меньшей мере, одно из первого частично отражающего слоя, второго частично отражающего слоя и, по меньшей мере, одного подвижного слоя.
18. Устройство по п.17, дополнительно содержащее контроллер, способный передавать, по меньшей мере, часть данных изображения на схему формирователя.
19. Устройство по п.16, дополнительно содержащее модуль источника изображения, способный передавать данные изображения на процессор.
20. Устройство по п.19, в котором модуль источника изображения содержит, по меньшей мере, одно из приемника, приемопередатчика и передатчика.
21. Устройство по п.16, дополнительно содержащее устройство ввода, способное принимать входные данные и передавать входные данные на процессор.
22. Светомодулирующее устройство отображения, имеющее множество пикселей, содержащее первое средство пропускания света, второе средство пропускания света, причем второе средство пропускания отделено от первого средства пропускания, первое средство частичного отражения света, причем первое средство частичного отражения размещено на первом средстве пропускания, второе средство частичного отражения света, причем второе средство частичного отражения размещено на втором средстве пропускания, средство отражения света, причем средство отражения размещено и способно перемещаться между первым средством частичного отражения и вторым средством частичного отражения, и средство соединения первого средства пропускания со вторым средством пропускания, причем средство соединения дополнительно поддерживает средство отражения, при этом средство отражения содержит первую поверхность и вторую поверхность, причем первая поверхность выполнена с возможностью перемещения от первого неактивированного положения в первое активированное положение в направлении к первому средству частичного отражения света, а вторая поверхность выполнена с возможностью перемещения от второго неактивированного положения во второе активированное положение по направлению ко второму средству частичного отражения света.
23. Устройство по п.22, в котором первое средство пропускания содержит подложку, по существу прозрачную для света.
24. Устройство по п.22, в котором второе средство пропускания содержит подложку, по существу прозрачную для света.
25. Устройство по п.22, в котором первое средство частичного отражения содержит частично отражающий слой.
26. Устройство по п.22, в котором второе средство частичного отражения содержит частично отражающий слой.
27. Устройство по п.22, в котором средство отражения содержит, по меньшей мере, один подвижный слой, подвижный в направлении, в целом, перпендикулярном первому средству частичного отражения и второму средству частичного отражения.
28. Устройство по п.22, в котором средство соединения содержит, по меньшей мере, одну опорную стопку.
29. Способ изготовления имеющего множество пикселей светомодулирующего устройства отображения с двумя доступными для просмотра сторонами, причем способ содержит этапы, на которых обеспечивают первую подложку, формируют первый частично отражающий слой, формируют первую опорную часть, формируют отражающий слой, в котором первая опорная часть поддерживает отражающий слой, и при этом отражающий слой содержит первую поверхность и вторую поверхность, при этом первая поверхность выполнена с возможностью перемещения от первого неактивированного положения в первое активированное положение в направлении к первому частично отражающему слою, а вторая поверхность выполнена с возможностью перемещения от второго неактивированного положения во второе активированное положение в направлении, противоположном направлению перемещения первого частично отражающего слоя, формируют вторую опорную часть, формируют второй частично отражающий слой, причем первый частично отражающий слой и второй частично отражающий слой соединены с первой опорной частью и со второй опорной частью, и накладывают вторую подложку на второй частично отражающий слой.
30. Способ по п.29, дополнительно содержащий этапы, на которых формируют расходуемый слой между первым частично отражающим слоем и отражающим слоем и вытравливают расходуемый слой для создания полости между первым частично отражающим слоем и отражающим слоем.
31. Способ по п.30, дополнительно содержащий этапы, на которых формируют сквозные отверстия в частично отражающих слоях и второй подложке и используют отверстия для подачи травителя в расходуемый слой.
32. Способ по п.29, дополнительно содержащий этапы, на которых формируют расходуемый слой между отражающим слоем и вторым частично отражающим слоем и вытравливают расходуемый слой для создания полости между отражающим слоем и вторым частично отражающим слоем.
33. Способ по п.32, дополнительно содержащий этапы, на которых формируют отверстия в частично отражающих слоях и второй подложке и используют отверстия для подачи травителя в расходуемый слой.
34. Способ по п.29, дополнительно содержащий этапы, на которых формируют третью опорную часть, формируют подвижный слой, и формируют второй отражающий слой.
35. Устройство модуляции света, созданное согласно способу по п.29.
36. Устройство модуляции света по п.35, созданное посредством дополнительного этапа формирования второго подвижного слоя, в котором второй подвижный слой размещен между первым частично отражающим слоем и вторым частично отражающим слоем и дополнительно поддерживается опорной стопкой.
37. Светомодулирующее устройство отображения, имеющее множество пикселей, причем устройство отображения имеет две доступные для просмотра стороны, содержащее первый слой, частично отражающий, частично пропускающий свет, второй слой, частично отражающий, частично пропускающий свет, причем второй слой по существу параллелен первому слою и отделен от первого слоя, полость между первым слоем и вторым слоем, первую отражающую поверхность, выполненную с возможностью перемещения внутри полости, и вторую отражающую поверхность, выполненную с возможностью перемещения внутри полости.
38. Светомодулирующее устройство по п.37, в котором первая отражающая поверхность и первый слой содержат первую суб-полость между собой, и в котором вторая отражающая поверхность и второй слой содержат вторую суб-полость между собой.
39. Светомодулирующее устройство по п.38, в котором первая отражающая поверхность и вторая отражающая поверхность содержат третью суб-полость между собой.
40. Светомодулирующее устройство по п.38, в котором после перемещения первой отражающей поверхности к первому слою первая суб-полость уменьшается в размере, а вторая суб-полость не обязательно меняет размер, и в котором после перемещения второй отражающей поверхности ко второму слою вторая суб-полость уменьшается в размере, а первая суб-полость не обязательно меняет размер.
41. Светомодулирующее устройство по п.37, в котором первая отражающая поверхность выполнена с возможностью перемещения в направлении в целом перпендикулярном к первому слою, а вторая отражающая поверхность выполнена с возможностью перемещения в направлении в целом перпендикулярном ко второму слою.
42. Светомодулирующее устройство по п.37, в котором первая отражающая поверхность выполнена с возможностью перемещения, независимого от второй отражающей поверхности.
43. Светомодулирующее устройство по п.37, в котором первая отражающая поверхность и вторая отражающая поверхность являются поверхностями элемента, выполненного с возможностью перемещения внутри полости.
44. Светомодулирующее устройство по п.43, в котором перемещаемый элемент содержит деформируемый слой, отделенный от первой отражающей поверхности.
45. Светомодулирующее устройство по п.44, в котором деформируемый слой отделен от второй отражающей поверхности.
46. Светомодулирующее устройство по п.37, в котором первая отражающая поверхность является поверхностью первого элемента, а вторая отражающая поверхность является поверхностью второго элемента, выполненного с возможностью перемещения внутри полости.
47. Светомодулирующее устройство по п.46, в котором первый перемещаемый элемент содержит деформируемый слой, отделенный от первой отражающей поверхности.
48. Светомодулирующее устройство по п.47, в котором второй перемещаемый элемент содержит деформируемый слой, отделенный от второй отражающей поверхности.
49. Способ создания двух обращенных в противоположные стороны изображений, причем способ содержит этапы, на которых обеспечивают светомодулирующее устройство, содержащее первый слой, частично отражающий, частично пропускающий свет, второй слой, частично отражающий, частично пропускающий свет, причем второй слой по существу параллелен первому слою и отделен от первого слоя, полость между первым слоем и вторым слоем, первую отражающую поверхность, выполненную с возможностью перемещения внутри полости, и вторую отражающую поверхность, выполненную с возможностью перемещения внутри полости; перемещают первую отражающую поверхность в направлении в целом перпендикулярном к первому и второму слоям, создавая тем самым первое изображение, доступное для просмотра с первой стороны светомодулирующего устройства, и перемещают вторую отражающую поверхность в направлении в целом перпендикулярном к первому и второму слоям, создавая тем самым второе изображение, доступное для просмотра со второй стороны светомодулирующего устройства, причем вторая сторона обращена в противоположную сторону от первой стороны.
50. Способ по п.49, в котором первое изображение создают в первый момент времени, а второе изображение создают в другой момент времени.
51. Способ по п.49, в котором первое изображение и второе изображение создают одновременно.
52. Способ по п.49, в котором первая отражающая поверхность и вторая отражающая поверхность являются поверхностями единичного слоя, причем первое изображение и второе изображение создают перемещением единичного слоя.
53. Способ по п.52, дополнительно содержащий этап, на котором обеспечивают источник освещения для освещения первой отражающей поверхности и второй отражающей поверхности.
54. Способ по п.53, в котором источник освещения освещает первую отражающую поверхность светом, имеющим первую частоту, и освещает вторую отражающую поверхность светом, имеющим вторую частоту, причем первая и вторая частоты сдвинуты относительно друг друга.
55. Способ по п.49, в котором первая отражающая поверхность представляет собой поверхность первого слоя, перемещаемого для создания изображения на первом устройстве отображения, а вторая отражающая поверхность представляет собой поверхность второго слоя, перемещаемого для создания изображения на втором устройстве отображения.
56. Светомодулирующее устройство, содержащее первый слой, частично отражающий, частично пропускающий свет, второй слой, частично отражающий, частично пропускающий свет, причем второй слой по существу параллелен первому слою и отделен от первого слоя, единичную первую подложку между первым слоем и вторым слоем, первую отражающую поверхность, выполненную с возможностью перемещения внутрь первой области между первым слоем и первой подложкой, и вторую отражающую поверхность, выполненную с возможностью перемещения внутрь второй области между вторым слоем и первой подложкой.
57. Светомодулирующее устройство по п.56, в котором первая подложка непрозрачна для света.
58. Светомодулирующее устройство по п.56, в котором первая подложка сплошная.
59. Светомодулирующее устройство по п.56, в котором первая подложка содержит стекло.
60. Светомодулирующее устройство по п.56, дополнительно содержащее вторую подложку, которая по существу прозрачна, причем вторая подложка расположена таким образом, чтобы первый слой был между первой подложкой и второй подложкой.
61. Светомодулирующее устройство по п.60, дополнительно содержащее третью подложку, которая по существу прозрачна, причем третья подложка расположена таким образом, чтобы второй слой был между первой подложкой и третьей подложкой.
62. Светомодулирующее устройство по п.56, в котором первая отражающая поверхность выполнена с возможностью перемещения к первой подложке при активировании.
63. Светомодулирующее устройство по п.62, в котором вторая отражающая поверхность выполнена с возможностью перемещения к первой подложке при активировании.
64. Способ изготовления имеющего множество пикселей светомодулирующего устройства отображения с двумя доступными для просмотра сторонами, причем способ содержит этапы, на которых обеспечивают первую подложку, формируют первый частично отражающий слой, формируют первую опорную часть, формируют перемещаемый слой, формируют отражающий слой, причем упомянутая первая опорная часть поддерживает упомянутый отражающий слой, причем отражающий слой содержит первую поверхность и вторую поверхность, при этом первая поверхность выполнена с возможностью перемещения от первого неактивированного положения в первое активированное положение в направлении к первому частично отражающему слою, а вторая поверхность выполнена с возможностью перемещения от второго неактивированного положения во второе активированное положение в направлении, противоположном направлению перемещения первого частично отражающего слоя, формируют вторую опорную часть, формируют второй частично отражающий слой, причем упомянутые первый и второй частично отражающие слои соединены с упомянутыми опорными частями, и накладывают вторую подложку на второй частично отражающий слой.
65. Способ по п.64, дополнительно содержащий этапы, на которых обеспечивают расходуемый слой и вытравливают упомянутый расходуемый слой для создания полости.
66. Способ по п.65, дополнительно содержащий этапы, на которых формируют отверстия в частично отражающих слоях и во второй подложке и используют отверстия для подачи травителя в расходуемый слой.
67. Способ по п.64, дополнительно содержащий этапы, на которых формируют третью опорную часть, формируют подвижный слой и формируют второй отражающий слой.
68. Устройство модуляции света, созданное согласно способу по п.64.
69. Устройство модуляции света по п.68, созданное посредством дополнительного этапа формирования второго подвижного слоя, в котором второй подвижный слой размещен между первым и вторым частично отражающими слоями и дополнительно поддерживается упомянутой опорной стопкой.
РИСУНКИ
|
|