|
|
(21), (22) Заявка: 2009107328/28, 03.03.2009
(24) Дата начала отсчета срока действия патента:
03.03.2009
(46) Опубликовано: 20.08.2010
(56) Список документов, цитированных в отчете о поиске:
US 4111529 A, 05.09.1978. DE 677592 С, 29.06.1939. US 4704007 А, 03.11.1987. RU 11350 U1, 16.09.1999.
Адрес для переписки:
140080, Московская обл., г. Лыткарино, ул. Парковая, 1, ОАО ЛЗОС
|
(72) Автор(ы):
Фуфурин Виктор Викторович (RU)
(73) Патентообладатель(и):
Открытое акционерное общество “Лыткаринский завод оптического стекла” (RU)
|
(54) КОРОТКОФОКУСНЫЙ ОБЪЕКТИВ
(57) Реферат:
Короткофокусный объектив может быть использован совместно с матричными фотоприемниками. Объектив содержит три линзовых компонента. Первый компонент – одиночный отрицательный мениск, обращенный выпуклостью к предмету. Второй – положительная линза, склеенная из положительного мениска и двояковыпуклой линзы. Третий – положительный, склеенный из двояковыпуклой линзы и отрицательного мениска. Одиночный мениск может быть выполнен из стекла, имеющего показатель преломления ne<1,50 и коэффициент дисперсии ve>85. Технический результат – увеличение относительного отверстия при хорошем качестве изображения. 1 з.п. ф-лы, 1 ил. 2 табл.
Изобретение относится к области оптико-электронной техники и может быть использовано в приборах совместно с матричными фотоприемниками, в частности на ПЗС-матрицах.
Известны короткофокусные объективы для фото- и киносъемки, например типа «Ликар-7» (Д.С.Волосов. Фотографическая оптика. Изд. «Искусство», 1978 г., стр.423-424) с фокусным расстоянием f’=4,5 мм, относительным отверстием 1:1,8, углом поля зрения 75°, разрешающей силой 60 лин/мм в центре и 30 лин/мм по краю поля, с хорошим исправлением всех аберраций. Однако у объектива усложненная оптическая схема – он состоит из 7 линз, из них линзы 1 и 7 – двояковыпуклые, мениски 2 и 4 обращены выпуклостью к предмету, мениски 3 (двусклеенный) и 6 обращены выпуклостью к изображению, линза 5 двояковогнутая. У объектива большой задний фокусный отрезок – 7 мм. Известен ряд 5-линзовых объективов фирмы «Edmund Optics» (каталог 2006 г., стр.228) с фокусным расстоянием f’=6-24 мм, но специального назначения. Объектив с f’=6 мм содержит мениски 1, 2 и 5, обращенные выпуклостью к предмету, мениск 4, обращенный выпуклостью к изображению, и двояковогнутую линзу 3.
Ближайшим к предлагаемому объективу по конструктивному исполнению и характеристикам является короткофокусный трехкомпонентный объектив для эндоскопа по патенту US 4111529, опубл. 05.09.1978 г., в котором первая линза – отрицательная плосковогнутая, вторая – положительный мениск с вогнутостью в сторону предмета, а третий положительный компонент склеен из двояковыпуклой линзы и отрицательного мениска. Первая линза выполнена из стекла с показателем преломления ne=1,516 и коэффициентом дисперсии e=64,1. Объектив рассчитан для фокусного расстояния f’=2,5 мм и имеет среднее значение относительного отверстия, равное 1:3.
Задачей изобретения является создание объектива с увеличенным до 1:2 относительным отверстием и хорошим качеством изображения.
Технический результат, обусловленный поставленной задачей, достигается тем, что в короткофокусном объективе, включающем первую отрицательную линзу, вторую положительную линзу и третий положительный компонент, склеенный из двояковыпуклой линзы и отрицательного мениска, в отличие от известного первая линза выполнена в виде мениска, обращенного выпуклостью к предмету, а вторая склеена из положительного мениска, обращенного выпуклостью к предмету, и двояковыпуклой линзы.
Предложенное выполнение первых двух линз обеспечивает хорошее качество изображения и увеличение относительного отверстия до значения порядка 1:2.
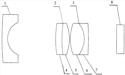
На чертеже дана оптическая схема объектива.
Объектив содержит отрицательный мениск 1, обращенный выпуклостью к предмету, и два двояковыпуклых компонента 2 и 3, причем компонент 2 склеен из положительного мениска 4 и двояковыпуклой линзы 5, а компонент 3 склеен из двояковыпуклой линзы 6 и отрицательного мениска 7. В оптическом расчете объектива принято во внимание защитное стекло 8 приемного устройства (например, ПЗС-матрицы). Мениск 1 изготовлен из особого крона ОК-4, имеющего показатель преломления ne<1,50 и аномальную дисперсию e>85, что позволяет ему работать в более широком спектральном диапазоне (0,4-0,95 мкм), исправлять вторичный спектр и тем самым уменьшить аберрации.
| Таблица 1 |
| Конструктивные параметры предлагаемого объектива следующие |
| Радиусы линз, мм |
Толщина, мм |
Марка стекла |
Показатель преломления ne |
Коэффициент дисперсии ve |
Диаметр поверхности, мм |
| R1=57,81 |
 |
 |
 |
 |
10,5 |
 |
d1=1,2 |
OK4 |
1,4485 |
91,9 |
 |
| R2=3,63 |
 |
 |
 |
 |
6,2 |
 |
d2=10,4 |
 |
 |
 |
 |
| R3=19,498 |
 |
 |
 |
 |
6,5 |
 |
d3=1,4 |
ТФ10 |
1,8138 |
25,17 |
 |
| R4=23,71 |
 |
 |
 |
 |
6,5 |
 |
d4=1,6 |
TK14 |
1,6155 |
60,34 |
 |
| R5=-8,67 |
 |
 |
 |
 |
6,5 |
 |
d5=0,2 |
 |
 |
 |
 |
| R6=9,036 |
 |
 |
 |
 |
6,5 |
 |
d6=3,0 |
TK14 |
1,6135 |
60,34 |
 |
| R7=-5,035 |
 |
 |
 |
 |
6,5 |
 |
d7=0,9 |
ТФ10 |
1,8138 |
25,17 |
 |
| R8=-43,15 |
 |
 |
 |
 |
6,5 |
Объектив имеет следующие параметры:
| – фокусное расстояние |
4,3 мм |
| – относительное отверстие |
1:2 |
| – угол поля зрения |
88° |
| – спектральный диапазон |
0,4-0,95 мкм |
Объектив предназначен для работы в приборах совместно с матричными фотоприемниками, поэтому он рассчитан совместно с защитной пластиной ПЗС – матрицы толщиной 1,6 мм, расположенной около фокальной плоскости объектива.
Качество изображения объектива характеризуется его коэффициентом передачи контрастности КПК (см. таблицу 2).
| Таблица 2. |
| Значения КПК |
Частота 80 лин/мм |
Частота 50 лин/мм |
Частота 20 лин/мм |
| Изобр. |
Прототип |
Изобр. |
Прототип |
Изобр. |
Прототип |
1. Для точки на оси (для линий С’-F’) |
0,79 |
 |
0,89 |
 |
0,98 |
 |
 |
0,53 |
 |
0,6 |
 |
0,88 |
2. Для края поля зрения (для линий С’-F’) |
0,33 |
 |
0,6 |
 |
0,88 |
 |
 |
0 |
 |
0,09 |
 |
0,28 |
Как видно из приведенных данных, предложенный объектив имеет большую светосилу и лучшее качество изображения в более широком спектральном диапазоне.
Формула изобретения
1. Короткофокусный объектив, включающий первую отрицательную линзу, вторую положительную линзу и третий положительный компонент, склеенный из двояковыпуклой линзы и отрицательного мениска, отличающийся тем, что первая линза выполнена в виде мениска, обращенного выпуклостью к предмету, а вторая склеена из положительного мениска, обращенного выпуклостью к предмету, и двояковыпуклой линзы.
2. Короткофокусный объектив по п.1, отличающийся тем, что одиночный мениск выполнен из стекла, имеющего показатель преломления ne<1,50 и коэффициент дисперсии ve>85.
РИСУНКИ
|
|