|
|
(21), (22) Заявка: 2007142325/28, 19.05.2006
(24) Дата начала отсчета срока действия патента:
19.05.2006
(30) Конвенционный приоритет:
20.05.2005 US 11/133,580 12.07.2005 US 11/179,925
(43) Дата публикации заявки: 27.06.2009
(46) Опубликовано: 20.08.2010
(56) Список документов, цитированных в отчете о поиске:
US 2004016701 A1, 29.01.2004. CHERRAK D E ET AL: “Behavior of packing materials in axially compressed chromatographic columns” JOURNAL OF CHROMATOGRAPHY A, ELSEVIER, AMSTERDAM, NL, vol.943, no.1, 11 January 2002 (2002-01-11), pages 15-31, XP 004329785 ISSN: 0021-9673. US 5951873 A, 14.09.1999. US 2003194814 A1, 16.10.2003.
(85) Дата перевода заявки PCT на национальную фазу:
20.12.2007
(86) Заявка PCT:
EP 2006/004772 20060519
(87) Публикация PCT:
WO 2006/122824 20061123
Адрес для переписки:
191036, Санкт-Петербург, а/я 24, “НЕВИНПАТ”, пат.пов. А.В.Поликарпову
|
(72) Автор(ы):
АНДЕРССОН Торвальд (SE), ОЛЬССОН Матс (SE), АСБЕРГ Бенгт (SE), АНДЕРССОН Ларс (SE)
(73) Патентообладатель(и):
Джи-И Хелткер Байо-Сайенсиз АБ (SE)
|
(54) УСТРОЙСТВО И СПОСОБ АВТОМАТИЧЕСКОГО УПЛОТНЕНИЯ ДЛЯ ХРОМАТОГРАФИЧЕСКИХ КОЛОНОК
(57) Реферат:
Изобретение относится к системе уплотнения рабочего материала для колонки. Способ уплотнения для колонок включает обеспечение наличия автоматического блока управления, который содержит программное и аппаратное обеспечение для автоматической работы. Также способ включает обеспечение наличия колонки, содержащей подвижный адаптер. При этом подвижный адаптер выполнен с возможностью перемещения путем нагнетания жидкости в герметичное пространство между адаптером и крышкой колонки или откачивания из него жидкости. Кроме того, способ включает использование блока управления для отслеживания перемещения подвижного адаптера в колонке. При этом блок управления программируют для наполнения колонки рабочим материалом слоя сорбента в соответствии с текущими параметрами рабочего материала. К текущим параметрам относятся заданная высота уплотнительного слоя, объем суспензии с заданной концентрацией частиц, скорость опускания адаптера и требуемая степень сжатия сорбента. Также заявленный способ включает использование блока управления для определения контрольной точки, в которой подвижный адаптер начинает сжатие указанного осажденного слоя, путем расчета положения начала роста давления в указанном герметичном пространстве.
Техническим результатом изобретения является создание системы уплотнения для колонок и способа уплотнения рабочего материала, в которых обеспечивают получение слоя сорбента с оптимальным показателем сжатия, а также возможность осуществления воспроизводимого и управляемого наполнения хроматографических колонок. 2 н. и 6 з.п. ф-лы, 2 ил.
Область изобретения
Настоящее изобретение относится к системе уплотнения рабочего материала для колонок и способу уплотнения рабочего материала, применяемому в колонках. Если быть точнее, изобретение относится к устройствам для уплотнения и способам усовершенствования процесса уплотнения рабочего материала в хроматографических колонках.
Предпосылки изобретения
Используемые в жидкостной хроматографии колонки, как правило, представляют собой трубу, в которой расположен пористый хроматографический материал и через которую протекает жидкость-носитель, при этом разделение происходит благодаря улавливанию вещества между жидкостью-носителем и твердой фазой пористого материала. Как правило, пористый материал помещен в колонку в виде уплотненного слоя, обычно получаемого путем уплотнения суспензии отдельных частиц материала, известной как пульпа, которая закачивается, заливается или всасывается внутрь, как правило, с одного конца колонки. Уплотнение пульпы в плотный слой достигается посредством сжатия ее таким образом, что после этого ее объем становится меньше того объема, который она занимала бы в случае осаждения под действием одной лишь силы тяжести для получения осажденного слоя. Эффективность последующего хроматографического разделения в большой степени зависит от системы распределения и приема жидкости при ее входе и выходе из уплотненного слоя, а также от сжатия последнего. В случае слишком слабого сжатия уплотненного слоя производимые на нем хроматографические разделения подвержены “запаздыванию”. Если же сжатие слишком сильное, хроматографические разделения подвержены “опережению”. При оптимальном сжатии формируемые в процессе работы пики разделения не проявляют опережения и запаздывания и по существу симметричны. Оптимальная степень сжатия, необходимая для колонки, определяется экспериментально для каждой колонки с учетом ее размера (ширины или диаметра), высоты уплотненного слоя и его материала.
Перед каждым процессом разделения необходимо подготовить слой сорбента, начиная с суспензии мелкозернистого вещества, которую требуется загрузить в колонку. Процесс формирования слоя сорбента называется “процедурой уплотнения”, и правильно уплотненный слой является ключевым фактором для работы колонки, содержащей уплотненный слой. Целью процедуры уплотнения является получение слоя сорбента с оптимальной степенью сжатия – оптимальным показателем сжатия. Колонки большого размера предпочтительно подготавливать посредством введения в колонку через центральное сопло для суспензии заданного объема суспензии с заданной концентрацией частиц материала. Когда этот объем суспензии введен в колонку, он может быть подвергнут сжатию путем перемещения подвижного адаптера вниз вдоль продольной оси колонки в направлении дна последней, как правило, с постоянной скоростью, например, 1 см в минуту. Во время данной операции избыточная жидкость удаляется через выход колонки, при этом частицы удерживаются с помощью фильтрующего материала, так называемой “опоры слоя сорбента”, поры которого слишком малы, чтобы пропускать частицы сорбента. Процесс уплотнения завершается, когда уплотненный слой сорбента подвергся оптимальному сжатию. Операция уплотнения считается успешной, если сжатый слой позволяет обеспечить качественную хроматографию, что оценивается на основе характерного временного распределения на слое сорбента. Однако получить на практике такой слой сорбента с оптимальной степенью сжатия достаточно сложно. Процесс уплотнения слоя сорбента до сих пор считается больше искусством, чем наукой, и качество готового уплотненного слоя зависит от навыков оператора, управляющего наполнением колонки. Одной из причин такого положения является трудность обеспечения точного соответствия фактической концентрации суспензии сорбента, заправленного в колонку, и заданной концентрации, используемой при расчете требуемого количества суспензии для заправки в колонку. Во время наполнения и последующего уплотнения сорбента в колонке оператор вручную выбирает и устанавливает параметры процесса уплотнения, такие как скорости потоков, скорость адаптера при движении и сжатии слоя сорбента; оператор также должен определять точку начала сжатия адаптером слоя сорбента. Указанная точка используется для расчета того, насколько еще адаптер должен продвинуться для получения требуемой степени сжатия. Ошибки в выборе любого из вышеперечисленных параметров могут привести к плохой работе колонки. В особенности трудно определять на глаз момент фактического начала сжатия слоя сорбента, при этом значительная ошибка на этом этапе делает невозможным получение слоя сорбента с оптимальной степенью сжатия.
Здесь и далее в прилагаемой формуле изобретения термин “жидкостная система” обозначает аппарат, в котором жидкость поступает в камеру или выходит из нее в области, примерно перпендикулярной направлению потока жидкости через камеру. Термин “камера” включает термины “сосуд” и “колонка”, а также любые другие устройства, используемые практиками хроматографического разделения при осуществлении разделения, и/или реакции, и/или катализации, и/или экстракции компонентов смеси посредством ее контакта с твердой или жидкой обменной средой, известной как уплотненный слой сорбента. Термин “зона поперечного сечения” (область, часть) относится к области внутри камеры, ограниченной поперечными сечениями последней, поперечными (как правило, примерно перпендикулярными) продольному направлению потока через камеру. Термин “продольное направление потока” относится к направлению потока внутри камеры от входа к выходу последней. Термин “продольный” используется соответственно для обозначения основной траектории потока жидкости через камеру безотносительно направления. Термин “система соединения потока” относится к системе каналов или проходов, соединяющих две точки контура распространения жидкости. Термин “распределительная система” относится к устройствам, через которые жидкости поступают в камеру, а “приемная система” – к устройствам, которые используются для сбора жидкостей, выходящих из камеры, из зоны поперечного сечения камеры.
Термин “высота осадочного слоя” относится к высоте слоя частиц материала, получаемого после осаждения суспензии частиц сорбента под действием одной лишь силы тяжести – такой слой называется “осадочным слоем”. Термин “высота осажденного слоя” относится к высоте слоя частиц материала, получаемого после того, как суспензия частиц сорбента подверглась осаждению под действием как силы тяжести, так и дополнительной силы, воздействующей на частицы материала, например, за счет прохождения жидкости через слой материала, вызванного опусканием подвижного адаптера в направлении этого слоя, и/или прокачивания жидкости через последний – такой слой называется “осажденным слоем”.
Краткое описание изобретения
Целью настоящего изобретения является создание системы уплотнения для колонок и способа уплотнения рабочего материала, в которых устранены недостатки, присущие существующим системам. Варианты конструкции изобретения описаны в прилагаемой формуле изобретения.
Дополнительные усовершенствования приведены в зависимых пунктах формулы изобретения.
Одним из преимуществ предложенных устройства и способа является то, что они обеспечивают получение слоя сорбента с оптимальным показателем сжатия. Другим преимуществом является возможность осуществления воспроизводимого и управляемого наполнения хроматографических колонок.
Краткое описание чертежей
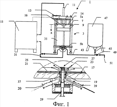
Фиг.1 изображает вид сбоку предложенной системы уплотнения рабочего материала.
Фиг.2 изображает пример типичного графика зависимости силы, необходимой для перемещения подвижного адаптера, от расстояния в процессе уплотнения осажденного слоя рабочего материала.
Подробное описание изобретения
Фиг.1 схематично изображает один из вариантов конструкции предложенной автоматической системы уплотнения для колонок, при этом не относящиеся к настоящему изобретению компоненты опущены для простоты пояснения принципов изобретения. Система 1 содержит колонку 3, имеющую верхнюю крышку или фланец 5а и донную пластину 5b, вокруг которых расположена цилиндрическая стенка 7 колонки. Между крышкой или фланцем 5а и пластиной 5b в колонке 3 расположен подвижный адаптер 9 (который может быть выполнен вместе с системой распределения проб (не показана), служащей для по существу равномерного распределения поступающей жидкости по площади поперечного сечения колонки 3, а также с опорой слоя сорбента (не показана), перекрывающей поперечное сечение колонки сеткой с ячейками, достаточно мелкими для предотвращения проникания через нее частиц материала слоя сорбента), соединенный с входной трубой 11 колонки, которая может быть соединена с источниками жидкостей (не показаны), таких как смеси, элюенты, разделительные среды и т.д. Подвижный адаптер 9 выполнен с возможностью перемещения в продольном направлении колонки посредством привода 13 (или приводов), например электрического, гидравлического или пневматического двигателя, поршневого исполнительного механизма или привода силового цилиндра, установленного на раме 14, которая охватывает верхний торец стенки 5 колонки. Подвижный адаптер имеет средство 16 определения положения, служащее для определения положения (“х”) подвижного адаптера относительно некоторого фиксированного уровня, например верхней стороны донной пластины 5b; сигнал, соответствующий перемещению х, поступает на блок 15 управления. Работой привода 13 и соответственно перемещением адаптера 9 вверх или вниз управляет автоматический блок 15 управления. Блок 15 предпочтительно содержит программное и аппаратное обеспечение для управления работой колонки 3. Указанный блок управляет открыванием и закрыванием вентилей, скоростью и величиной перемещения подвижного адаптера. Блок 15 также имеет средства измерения, записи и анализа силы, необходимой для перемещения адаптера 9. Измерение указанной силы может производиться непосредственно – например, через измерение крутящего момента двигателя, тока двигателя, рабочего давления привода или тока последнего, или косвенно – например, через измерение внутреннего давления в колонке или механического напряжения в стенке колонки, рамке, крышке, подвижном адаптере или донной пластине, или их комбинации.
На пластине 5b установлена приемная система 17, из которой жидкость поступает в кольцевой канал 19. Система 17 расположена между опорой 21 слоя сорбента и каналом 19 и служит для сбора жидкости равномерно со всей площади поперечного сечения колонки и доставки ее в канал 19. Канал 19 соединен с выходом 20 подвижной фазы, через который последняя отводится от колонки для дальнейшей обработки. Опора 21 предназначена для поддержки веса слоя сорбента в колонке и предотвращения выхода материала слоя за ее пределы. Опорой 21 может служить, например, сетка с ячейками, достаточно мелкими для предотвращения прохождения через нее материала слоя сорбента. Донная пластина 5b также имеет центральное отверстие 23, в которое может быть вмонтировано подвижное сопловое устройство 25. Это устройство 25 содержит сопло 27 с очисткой-на-месте (СIР), соединенное через трубопровод 29 и дистанционно управляемый вентиль 31 для рециркуляции чистящей жидкости в системе. Рециркуляционным вентилем 31 управляет блок 15. Сопло 27 выполнено с возможностью выдвижения из закрытого положения, в котором она находится в герметичном контакте с опорой 21 и блокирует центральное отверстие 23, в открытое положение, в котором она сквозь опору 21 выступает в пустое пространство 35 внутри колонки, образованное между опорой 21 и адаптером 9. Вокруг отверстия 23 расположен канал 19, соединенный с трубой 39 для рабочего материала, которая может соединяться с трубопроводом 43, который, в свою очередь, может соединяться с резервуаром 47 для суспензии через вентиль 45 этого резервуара, а через сливной вентиль 49 – со сливом 51. Канал 19 сообщается с пустым пространством 35 колонки при нахождении сопла 27 в открытом положении и заблокирован, когда сопло 27 задвинуто назад в закрытое положение.
Для наполнения колонки рабочим материалом слоя сорбента блок управления запрограммирован в соответствии с текущими параметрами рабочего материала, такими как заданная высота уплотненного слоя (которая может отличаться от фактически полученной), предполагаемая концентрация суспензии сорбента или объем последней (имеющей заданную концентрацию частиц, которую предполагается получить на практике), который требуется загрузить в колонку, скорость опускания адаптера, требуемая для обеспечения необходимой высоты осажденного слоя, и требуемая степень сжатия слоя сорбента – “показатель сжатия” – которая необходима для оптимального функционирования системы. Требуемая степень сжатия слоя сорбента может быть задана в процентах от высоты осажденного слоя, например, если количество загруженной в колонку суспензии сорбента является достаточным для получения высоты осажденного слоя в 1 м при скорости опускания адаптера 1 см/мин, при этом требуемая степень сжатия составляет 15%, тогда получаемая высота слоя сорбента должна равняться 85 см. Обычно требуемая степень сжатия может принимать значения от 1% до 50% и зависит, среди прочих факторов, от размера колонки, типа и размера частиц рабочего материала и высоты осажденного слоя. Заданный объем суспензии сорбента с частицами рабочего материала подают в колонку, например, путем всасывания с помощью подъема подвижного адаптера 9 под управлением блока 15 при открытом вентиле 45, выдвинутого в открытое положение сопла 27 и закрытом рециркуляционном вентиле 31 – при этом суспензия сорбента всасывается из резервуара 47 через вентиль 45, трубопровод 43, вход 39 и кольцевой канал 19 в пустое пространство 35 колонки. Блок 15 останавливает подвижный адаптер 9, когда последний переместится на расстояние х, необходимое для всасывания требуемого объема суспензии сорбента в колонку.
В режиме уплотнения отверстие 37 клапана рабочего материала закрыто за счет того, что сопло 37 задвинуто назад, а вентиль 45 закрыт. Выход 20 подвижной фазы открыт для выпуска из колонки избыточной жидкости. Подвижный адаптер 9 перемещается вниз с постоянной скоростью (например, между 0,5 и 10 см/мин) и в определенный момент достигает осажденного слоя и начинает сжатие последнего в осевом направлении – такое положение адаптера называется “контрольной точкой”. Началом процесса сжатия слоя частиц в колонке можно считать такое положение подвижного адаптера, при котором возникает непрерывный поток частиц через по существу всю площадь поперечного сечения колонки между адаптером и дном колонки в направлении последнего. Для системы, в которой опускание адаптера в сторону дна колонки с постоянной скоростью характеризуется тем, что сила, необходимая для перемещения адаптера, по существу постоянна, вышеописанному положению соответствует увеличение указанной силы. Для системы, в которой опускание адаптера в сторону дна колонки с постоянной скоростью характеризуется тем, что необходимая для перемещения адаптера сила постоянно растет, данному положению соответствует увеличение скорости роста указанной силы. Таким образом, в положении контрольной точки требуемая для перемещения адаптера 9 с постоянной скоростью сила растет по причине увеличения сопротивления движению адаптера, вызванного тем, что частицы рабочего материала из-за сжатия располагаются плотнее рядом друг с другом, в отличие от одного только вытеснения жидкости для заполнения пустот в слое сорбента. Адаптер 9 перемещается вниз на расстояние, необходимое для получения заданной степени сжатия слоя сорбента.
Для получения нужной степени сжатия слоя сорбента необходимо определить контрольную точку. В системах с ручным управлением контрольная точка определяется оператором. Автоматическая система должна иметь автоматические средства определения контрольной точки. Это является непростой задачей, так как наличие таких факторов, как изменение силы трения между стенкой колонки и подвижным адаптером, неоднородность осажденного слоя, ошибки измерений и т.п., приводит к тому, что на практике зависимость положения х адаптера от силы f не совпадает с теоретической кривой. Эта ситуация представлена на фиг.2. Пунктирной линией изображен теоретический график изменения силы привода в зависимости от положения подвижного адаптера во время перемещения последнего вниз по колонке. Первый отрезок А теоретической зависимости показывает рост силы по мере того, как адаптер начинает движение и вытесняет жидкость из колонки. На отрезке В график представляет собой горизонтальную прямую, что соответствует вытеснению адаптером жидкости из колонки по мере его опускания с постоянной скоростью. При этом происходит осаждение слоя сорбента. Отрезок С отображает по существу равномерный рост силы по мере того, как рабочий материал подвергается уплотнению и сжатию. Граница отрезков В и С является контрольной точкой, которой соответствует начало процесса сжатия осажденного слоя. Положение адаптера в этой точке соответствует высоте осажденного слоя. Данная высота используется в качестве точки отсчета для расчета величины дальнейшего перемещения адаптера, необходимого для получения слоя сорбента с оптимальной степенью сжатия. Положение адаптера в конечной точке отрезка С соответствует оптимальной степени сжатия слоя сорбента.
Сплошной линией на фиг.2 изображен график получаемой на практике зависимости изменения силы привода от положения подвижного адаптера во время его движения вниз по колонке. На отрезке В сила то увеличивается, то уменьшается, а переход от отрезка В к отрезку С представлен не резким изломом, а кривой линией. Все это затрудняет точное определение момента начала процесса сжатия слоя сорбента.
Для этой цели служит программное обеспечение блока 15, которое может выполнять алгоритм сжатия слоя сорбента, рассчитывающий момент начала сжатия слоя сорбента адаптером, входящим в контакт с осажденным слоем (то есть определяющий контрольную точку), и момент окончания указанного процесса (то есть когда слой сорбента подвергся требуемой степени сжатия, отсчитывая от контрольной точки).
В одном из вариантов конструкции согласно настоящего изобретения алгоритм может использовать усредненное значение сигнала s, соответствующего силе, необходимой для перемещения подвижного адаптера, и записанного во время части или всего периода времени движения подвижного адаптера без контакта со слоем сорбента (то есть отрезок В графика зависимости силы от положения), и усредненное значение сигнала, соответствующего углу наклона кривой, записанной в период времени, когда слой сорбента подвергался сжатию (отрезок С графика), и рассчитать границу двух указанных отрезков. Для этого требуется, чтобы программа могла определять, где находится значение сигнала – на отрезке В или отрезке С кривой. Одним из способов достижения этого является оценка положения Х1, которое является оценочной высотой осажденного слоя, и расчет усредненной силы Fav при перемещении подвижного адаптера через пропорцию к перемещению последнего от его начального положения (Х=0) в положение Х1. Например, можно взять интервал от Х=0,1×Х1 до Х=0,9×Х1 или от Х=0,2×Х1 до Х=0,75×Х1 и т.д. Максимальное значение силы Fmax, зарегистрированное на этом участке, также может быть сохранено в памяти. Как только подвижный адаптер достигнет осажденного слоя, необходимая для перемещения адаптера сила начнет расти. Программа может быть настроена на начало расчета угла наклона кривой зависимости силы от перемещения в момент достижения силой значения, кратного (то есть меньшего или большего в 2, 2,5, 3 раза) записанной ранее максимальной силе Fmax. Этого можно добиться путем сравнения текущих значений силы и перемещения с одним или несколькими предыдущими значениями. Полученный расчетный угол наклона кривой затем используется для получения расчетной границы с линией, соответствующей усредненной силе Fav. Расстояние Xcal, соответствующее указанной границе, принимается за положение входа в контакт подвижного адаптера с осажденным слоем и начала сжатия последнего – расчетную контрольную точку. Путем повторения указанных действий может быть рассчитано среднее значение положения Xcal, соответствующего расчетной контрольной точке. По мере перемещения подвижного адаптера рассчитывается его положение относительно Xcal, и когда перемещение адаптера превышает расстояние, соответствующее, например, 75% требуемой степени сжатия слоя сорбента на основе текущего значения Xcal, то последнее текущее значение Xcal принимается за действительную высоту осажденного слоя, рассчитывается требуемое конечное положение подвижного адаптера, необходимое для получения заданной степени сжатия слоя сорбента, и перемещение подвижного адаптера продолжается до достижения им требуемого конечного положения.
В альтернативном варианте конструкции настоящего изобретения подвижный адаптер приводится в движение не посредством силового привода, а путем нагнетания жидкости, например воды, в герметичное пространство между адаптером и крышкой 5а, или, наоборот, откачивания из него жидкости. Алгоритм сжатия слоя сорбента отслеживает давление в указанной области колонки. Это давление начинает расти (или же, в случае его по существу постоянного роста, начинает увеличиваться скорость роста), когда адаптер достигает слоя сорбента, и алгоритм рассчитывает положение начала роста давления. Сигнал, отображающий величину давления, очень зашумлен, и рост давления может быть нелинейным – в этом случае использование описанного ниже фильтра позволяет удалить шумы и сделать рост давления по существу линейным.
Начало роста давления рассчитывается путем отслеживания прошедшего фильтрацию сигнала (dp) и его регистрации, а также регистрации текущего положения (х), при котором входной сигнал становится выше заданных уровней. Существует два таких уровня – dp1 и dp2, где dp1 больше dp2. При достижении сигналом уровня dp2 рассчитываются параметры прямой линии, проходящей через зарегистрированные точки (х1, dp1; x2, dp2). Предполагается, что указанная линия является линией, аппроксимирующей растущий угол наклона сигнала. Точка пересечения указанной линии и оси х принимается за положение начала сжатия слоя сорбента и называется контрольной точкой. Указанная точка затем может быть использована для определения величины дальнейшего перемещения колонки, необходимого для получения заданной величины сжатия слоя сорбента.
Расчет фильтра
Фильтр преобразует сигнал давления в ровный сигнал с амплитудой около нуля, за исключением случая, когда входной сигнал повышен – при этом сигнал с выхода фильтра также повышен.
В данном случае рассмотрим IIR-фильтр, который характеризуется следующей зависимостью:

s(n)=y(n)-y(n-1)
Посредством тестов с фактическими данными были выбраны следующие значения:
а=1,9495; b=-0,95; с=0,005.
Данный фильтр был выбран по следующим соображениям.
Рассмотрим механическую систему с массой m, соединенной с пружиной в вязкой среде. В качестве входного сигнала примем положение свободного конца пружины, и тогда получим:
my +rу +k(y-x)=0 (у=положение массы, х=положение свободного конца пружины, r=вязкость, k=коэффициент упругости пружины)
Это можно представить по-другому: у +(r/m)у‘+(k/m)у=(k/m)x или
у +Ау‘+By=Сх.
Аппроксимируем производные уравнениями:


Из соображений стабильности возьмем выборку из (n-1) значений у и х. Тогда получим следующее:

Отсюда:

или

При а=(2-(h2k/m)-(hr/m)), b=((hr/m)-1), с=(h2k/m) получаем (1).
Путем экспериментов с m, r, k получим наилучшие значения. Добиться этого несложно, так как m можно интерпретировать как “тяжесть”, r – как “скользкость”, и k – как “упругость”.
Уравнение введено для устранения низкочастотных составляющих и линеаризации растущего давления.
При том, что настоящее изобретение поясняется примерами вариантов конструкции, в которых суспензия сорбента всасывается в колонку посредством перемещения подвижного адаптера, также существует возможность напрямую закачивать суспензию в колонку. Кроме того, возможно перемещение адаптера с переменной скоростью во время осаждения слоя сорбента и сжатия осажденного слоя, например, начиная осаждение при скорости адаптера, например, 10 см/мин, и уменьшая последнюю по мере приближения адаптера к расчетной высоте осажденного слоя, затем продолжая опускание адаптера с более низкой скоростью, например 0,5 см/мин. Указанные значения скорости адаптера приведены только в качестве поясняющих примеров – можно устанавливать любые подходящие значения скорости адаптера, например, от менее 0,5 см/мин (например 0,1 см/мин) до более 10 см/мин (например 12,5 см/мин).
Более того, возможно оснащение предложенной системы наполнения органами ручного управления, при этом оператор может управлять скоростью адаптера в течение части или всей процедуры уплотнения, а программное обеспечение использоваться для мониторинга перемещения адаптера и расчета контрольной точки. Положение расчетной контрольной точки и, возможно, информация о расчетном положении адаптера, требующемся для получения заданного показателя сжатия, может передаваться оператору, управляющему перемещением адаптера, до достижения последним положения, соответствующего заданной степени сжатия слоя сорбента.
Настоящее изобретение проиллюстрировано примерами вариантов конструкции с цилиндрической колонкой с постоянным диаметром, что делает возможной линейную корреляцию объема цилиндра и высоты слоя сорбента, при этом существует возможность адаптации настоящего изобретения для применения с колонками иной формы с нелинейной корреляцией указанных параметров.
Специалисты в данной области на основе изложенного описания настоящего изобретения могут создать множество модификаций последнего. Такие модификации должны признаваться как входящие в объем настоящего изобретения, как изложено в прилагаемой формуле изобретения.
Формула изобретения
1. Система уплотнения для колонок, содержащая автоматический блок управления, содержащий программное и аппаратное обеспечение, колонку, имеющую продольную ось, подвижный адаптер, выполненный с возможностью перемещения путем нагнетания жидкости в герметичное пространство между адаптером и крышкой колонки или откачивания из него жидкости, причем перемещение адаптера отслеживается блоком управления, при этом блок управления запрограммирован для наполнения колонки рабочим материалом слоя сорбента в соответствии с текущими параметрами рабочего материала, такими как заданная высота уплотнительного слоя, объем суспензии с заданной концентрацией частиц, скорость опускания адаптера, требуемая для обеспечения необходимой высоты осаждаемого слоя, и требуемая степень сжатия сорбента, при этом программное обеспечение блока управления выполнено с возможностью определения контрольной точки, в которой подвижный адаптер начинает сжатие осажденного слоя, путем расчета положения начала роста давления в указанном герметичном пространстве, а также с возможностью вычисления расстояния, на которое подвижный адаптер должен переместиться от указанной контрольной точки для получения заданной степени сжатия слоя сорбента, и управления перемещением подвижного адаптера в положение, соответствующее указанному расстоянию.
2. Система по п.1, в которой указанное программное обеспечение выполнено с возможностью выдачи читаемого оператором сигнала, соответствующего положению контрольной точки.
3. Система по п.2, в котором указанное программное обеспечение выполнено с возможностью вычисления расстояния, на которое подвижный адаптер должен переместиться от указанной контрольной точки для получения заданной степени сжатия слоя сорбента, и выдачи читаемого оператором сигнала, соответствующего указанному расстоянию.
4. Система по п.1, в которой колонка является хроматографической колонкой, а слой сорбента содержит хроматографический рабочий материал.
5. Способ уплотнения для колонок, включающий обеспечение наличия автоматического блока управления, содержащего программное и аппаратное обеспечение для автоматической работы, обеспечение наличия колонки, содержащей подвижный адаптер, выполненный с возможностью перемещения путем нагнетания жидкости в герметичное пространство между адаптером и крышкой колонки или откачивания из него жидкости, использование блока управления для отслеживания перемещения подвижного адаптера в колонке, причем блок управления программируют для наполнения колонки рабочим материалом слоя сорбента в соответствии с текущими параметрами рабочего материала, такими как заданная высота уплотнительного слоя, объем суспензии с заданной концентрацией частиц, скорость опускания адаптера, требуемая для обеспечения необходимой высоты осаждаемого слоя, и требуемая степень сжатия сорбента, использование блока управления для определения контрольной точки, в которой подвижный адаптер начинает сжатие указанного осажденного слоя, путем расчета положения начала роста давления в указанном герметичном пространстве.
6. Способ по п.5, в котором выдают читаемый оператором сигнал, соответствующий положению контрольной точки.
7. Способ по п.6, в котором рассчитывают расстояние, на которое подвижный адаптер должен переместиться от указанной контрольной точки для достижения заданной степени сжатия слоя сорбента, и выдают читаемый оператором сигнал, соответствующий указанному расстоянию.
8. Способ по п.5, который осуществляют в хроматографической колонке, при этом слой сорбента содержит хроматографический рабочий материал.
РИСУНКИ
|
|