|
(21), (22) Заявка: 2008145661/28, 20.11.2008
(24) Дата начала отсчета срока действия патента:
20.11.2008
(46) Опубликовано: 20.08.2010
(56) Список документов, цитированных в отчете о поиске:
RU 2259556 C1, 27.08.2005. RU 2261435 C1, 27.09.2005. RU 192001 C1, 27.10.2002. DE 102006019178 A1, 08.11.2007. US 6823271 B1, 23.11.2004. SU 176462 A, 12.01.1966. SU 321737 A, 15.02.1972.
Адрес для переписки:
117630, Москва, ул. Академика Челомея, 8, корп.2, кв.258, Б.И. Андрейчикову
|
(72) Автор(ы):
Андрейчиков Борис Иванович (RU), Печерская Елена Борисовна (RU), Попов Игорь Сергеевич (RU), Юников Александр Леонидович (RU), Милютин Леонид Степанович (RU), Гебель Тамара Алексеевна (RU), Никулин Сергей Геннадьевич (RU), Котлов Валерий Витальевич (RU)
(73) Патентообладатель(и):
Андрейчиков Борис Иванович (RU)
|
(54) СПОСОБ ИЗМЕРЕНИЯ ВЛАГОСОДЕРЖАНИЯ ТРЕХКОМПОНЕНТНЫХ СМЕСЕЙ ИЗ ДОБЫВАЮЩИХ НЕФТЯНЫХ СКВАЖИН С ИСПОЛЬЗОВАНИЕМ ДИЭЛЕКТРИЧЕСКОЙ ПРОНИЦАЕМОСТИ И ЭЛЕКТРОПРОВОДИМОСТИ И УСТРОЙСТВО ДЛЯ ЕГО ОСУЩЕСТВЛЕНИЯ
(57) Реферат:
Изобретение относится к измерительной технике. Во влагомере согласно изобретению используют два принципа действия: диэлькометрический метод измерения влагосодержания при смесях нефти с водой, когда непрерывной фазой является нефть, и метод электропроводимости, когда непрерывной фазой является вода. В рамках диэлькометрического метода используют зондирование измеряемой смеси высокочастотными электромагнитными волнами в рабочем диапазоне частот объемного резонатора радиоволнового датчика, а в рамках метода электропроводимости применяют кондуктометрический принцип измерения электропроводимости тороидальными сенсорами. Соответственно заложено два режима работы и две градуировки («радиоволновой» при типе смеси с непрерывной нефтяной фазой и «электропроводный» при смесях с водной непрерывной фазой), при этом режим работы выбирается автоматически на основании определения типа смеси с помощью анализа значения резонансной частоты. Влагомер состоит из зондирующего блока, содержащего объемный высокочастотный резонатор типа радиоволнового датчика, секцию электропроводимости с датчиком температуры и электронного блока с синтезатором частоты и процессорным модулем, реализующим управляющие и вычислительные функции в соответствии с заложенным рабочим алгоритмом. В случаях применения изделия для измерения влагосодержания смесей с быстрым изменением электропроводимости воды – в связи с изменением ее солености – предусмотрено использование дополнительной секции в зондирующем блоке, осуществляющей выделение водной составляющей смеси и оснащенной вторым датчиком, измеряющим электропроводимость воды. Изобретение обеспечивает измерение влагосодержания в диапазоне от нуля до ста процентов для любого типа среды (с непрерывным водным или нефтяным компонентом) из добывающей нефтяной скважины и получение независимости показаний влагомера от наличия газа в измеряемой смеси. 2 н. и 2 з.п. ф-лы, 10 ил.
Изобретение относится к измерительной технике, а также к системам управления технологическими процессами и может быть использовано для измерения относительного объемного содержания воды (влагосодержания) в нефтегазоводной смеси из нефтяной скважины, а также в измерительных системах, технологических установках и других устройствах, измеряющих расход и количество нефти с растворенным газом (далее – нефти) и свободного газа (далее – газа) в продукции нефтяной скважины.
В последние годы ясно обозначился интерес нефтедобывающих компаний к использованию влагомеров в замерных групповых установках (АГЗУ), например типа «Спутник» и «Мера», которые измеряют расход жидкости (смесь нефти и воды) и расход газа, но не определяют расход нефти. Целью такого подхода является превращение выпускаемых и находящихся в эксплуатации АГЗУ, которые фактически являются технологическими устройствами, в измерительные установки, определяющие объемный и массовый расход всех трех компонентов продукции нефтяной скважины – нефти, попутного газа и воды. Это направление в развитии метрологии добывающих нефтяных скважин вызвано назревшей необходимостью иметь надежный учет добываемой нефти и попутного газа и тем, что намечаемое решение этой проблемы за счет разрабатываемых трехкомпонентных расходомеров пока не дало ожидаемых результатов. Разработанные к настоящему времени трехкомпонентные расходомеры не удовлетворяют требованиям по точности и экологической чистоте. Кроме того, трехкомпонентные расходомеры, предлагаемые рядом зарубежных фирм, таких как Agar Corporation, Shiumberger, ROXAR и других, очень дороги – порядка двухсот тысяч долларов за один образец, что делает их нерентабельными для установки на каждую скважину.
Тем не менее, ряд технических решений, применяемых в трехкомпонентных расходомерах, могут быть использованы при создании влагомеров, поскольку последние по сути являются их частью. Общими являются требования высокой точности измерений в реальных условиях эксплуатации без физического разделения потока на его отдельные компоненты и без внедрения в измеряемый движущийся поток каких-либо элементов конструкции расходомера, особенно подвижных (требование нонинтрузивности). Весьма существенными являются также требования взрывобезопасности и экологической чистоты.
Известно довольно большое количество влагомеров, в том числе сырой нефти. Но все они либо не допускают наличия газа в измеряемой жидкости, либо, помимо этого, требуют хорошо перемешанной смеси. Среди них в качестве аналогов можно назвать следующие.
1) Серия влагомеров сырой нефти полнопоточных (ВСН-1, ВСН-1-50, ВСН-2-СП, ВСН-БОЗНА) [1], [2]. [3].
Максимально допустимая величина содержания свободного газа для них всего 2 процента. Кроме того, необходима скорость измеряемого потока не менее 3 м/с.
2) Влагомер сырой нефти ВОЕСН (Бугульминский опытный завод нефтеавтоматики) [4].
Данный влагомер лучше влагомеров серии ВСН по допустимому значению содержания свободного газа 5% против 2%. Но и этого уровня содержания газа также недостаточно. Кроме того, имеется ряд других недостатков:
– прибор является интрузивным, так как излучатель и приемник оптического канала и конструкция емкостного датчика располагаются в движущемся потоке измеряемой смеси;
– излучатель и приемник оптического канала настолько близко расположены относительно друг друга, что практически осуществляется локальное, точечное зондирование, и его результаты могут быть представительными для всего сечения потока только в случае полной гомогенизации измеряемой смеси;
– в соответствии с методикой поверки влагомера ВОЕСН она должна проводиться на полностью гомогенизированных смесях с использованием нефти той же пробы, что и при градуировке, и такой же степени гомогенизации; данных о влиянии степени гомогенизации на погрешность прибора не приводится.
3) Полнопоточный влагомер RFM FC-WCM (Итальянская фирма ROXAR) и влагомер “Phase Dynamics” (Компания “Argosy Technologies Ltd”, представитель фирмы “Phase Dynamics”) [5], [6].
Оба влагомера относятся к типу коаксиальной линии.
Недостатки:
– интрузивный;
– требует «хорошо перемешанной смеси»; можно предположить, что это мелкодисперсные эмульсии;
– неясно, что означает «терпимость к газовым и твердым примесям», какое процентное содержание газа допускается;
– ничего не говорится о быстродействии.
4) Измеритель содержания воды RFM WCM (Итальянская фирма ROXAR) [7].
Недостатки:
– большая погрешность при высоком (50÷100%) содержании воды – ±5% абс;
– требуется «хорошо перемешанная смесь»; можно предположить, что это мелкодисперсные эмульсии;
– ничего не говорится о быстродействии.
5) Влагомер AGAR OW-201 (фирма Agar Corporation) [8].
Преимущества:
– диапазон измерения влагосодержания от нуля до 100%, независимо от того, какой из компонентов (нефть или вода) является непрерывной фазой;
– допускает в измеряемой смеси объемное содержание газа до 99.9%.
Недостатки:
– малая представительность зондируемого объема среды по отношению к полному сечению потока;
– зависимость погрешности от структуры потока, откуда рекомендация по установке зондирующего блока на максимально однородном потоке;
– поэтому высокая точность при гомогенизированной среде (±1%) снижается до 2% абс плюс ±5% от показаний при других смесях.
Два влагомера фирмы ROXAR и влагомер фирмы AGAR – из числа перечисленных выше приборов – входят в состав разработанных этими же фирмами трехкомпонентных расходомеров.
Поиск, проведенный с позиции использования подходящих технических решений из трехкомпонентных расходомеров, показал, что ближайшим аналогом по близости принципа действия при определении относительного содержания компонентов смеси и технических решений является трехкомпонентный расходомер «Сател-РВ» по патенту RU 2247947 С1, 10.03.2005 [9].
Другим близким аналогом может стать влагомер AGAR OW-201 фирмы Agar Corporation. Он полностью подходит по критерию назначения, хотя имеет меньше признаков, совпадающих с заявляемым изобретением.
Рассмотрим основные отличительные особенности указанных двух близких аналогов.
В отношении влагомера фирмы Agar Corporation отметим следующее.
В трубе зондирующего блока установлена передающая антенна и на противоположной стороне трубы две приемные антенны, одна из которых расположена по потоку до передающей антенны, а другая после нее, причем расстояние до передающей антенны от одной из приемных больше, чем от другой. Благодаря этому разность фаз сигналов, принятых приемными антеннами, зависит только от комплексной диэлектрической проницаемости смеси и разности расстояний приемных антенн от передающей. При этом возникающие на границе раздела диэлектрического покрытия антенн и проводящей измеряемой среды сдвиги фаз электромагнитной волны компенсируются, поскольку обе приемные антенны находятся в одном и том же потоке измеряемой среды.
Таким образом решена проблема использования диэлькометрического метода не только для смесей с непрерывным нефтяным компонентом, но и для смесей с непрерывным водным компонентом, когда паразитный сдвиг фаз сигнала много больше полезного, который при одной приемной антенне не проявился бы.
Однако при этом положительном свойстве возникает недостаток, связанный с малой представительностью зондируемого объема измеряемой среды. Это связано с тем, что указанный объем равен объему конуса, вершина которого находится на передающей антенне, а основанием является чувствительная поверхность приемной антенны, размеры которой невелики по сравнению с площадью внутреннего сечения трубы зондирующего блока. Из-за этого высокая точность будет обеспечиваться только при гомогенизированных смесях.
Отсюда возникает рекомендация устанавливать зондирующий блок в максимально гомогенизированном потоке и снижение точности при других структурах измеряемой среды.
В связи с этим, для повышения точности влагомера или расходомера рекомендуется применять установку перед зондирующим блоком изделия какого-либо средства, создающего всегда одну и ту же структуру, как правило, хорошо перемешанную. Перемешивание смеси может достигаться установкой гомогенизаторов, созданием нескольких колен в подводящем трубопроводе. Как правило, эти средства малоэффективны и, кроме того, создают сопротивление потоку.
Указанного недостатка нет в первом ближайшем аналоге – трехкомпонентном расходомере «Сател-РВ». В нем зондирующий блок содержит два радиоволновых датчика (РВД), представляющих собой объемные ВЧ-резонаторы, – один для определения относительного содержания компонентов, а второй, в паре с первым, для измерения скорости потока корреляционным методом. Относительное содержание определяется с помощью оригинального алгоритма, основанного на математическом описании изменения величины первой, второй и более высоких резонансных частот и амплитуд (или коэффициента передачи) ВЧ-сигнала как функций относительного содержания компонентов смеси.
Как следует из конструкции объемного резонатора, где рабочей зоной является отрезок трубы с полным потоком измеряемой среды, имеет место полная представительность по сечению и объему смеси.
Однако расходомеру «Сател-РВ» присущ недостаток, заключающийся в том, что он не работает при смесях с непрерывным компонентом в виде воды.
Проявляется также второй недостаток, связанный с тем, что параметры зондирующего блока и цепей съема сигнала с него подобраны из условия минимизации погрешностей измерения всех трех компонентов. Однако при создании влагомера, когда необходимо измерение только относительного содержания одного из компонентов смеси, открывается возможность существенного снижения погрешностей по этому компоненту, то есть по воде, за счет ухудшения точности по другим составляющим – нефти и газу.
Эту задачу можно конкретизировать следующим образом: требуется так выбрать конструктивные и схемотехнические параметры зондирующего блока, чтобы при одном и том же содержании воды замена нефти на газ, или наоборот, не влияла на показания влагомера.
Принимаем в качестве прототипа трехкомпонентный расходомер «Сател-РВ» по патенту RU 2247947 С1, 10.03.2005 [9].
Раскрытие изобретения.
Техническим результатом настоящего изобретения является устранение указанных недостатков данного прототипа, то есть обеспечение измерения влагосодержания в диапазоне от нуля до ста процентов для любого типа смеси (с непрерывным водным или нефтяным компонентом) из добывающей нефтяной скважины и получение независимости показаний влагомера от наличия газа в измеряемой смеси.
Указанный технический результат достигается за счет способа измерения влагосодержания в продукции добывающих нефтяных скважин, представляющей собой смесь нефти, пластовой воды и попутного газа в любой пропорции, проходящей по трубопроводу, состоящего в том, что применяют диэлькометрический метод измерения влагосодержания при смесях нефти с водой, когда непрерывным компонентом является нефть, и метод электропроводимости, когда непрерывным компонентом является вода, причем в рамках диэлькометрического метода используют в радиоволновом датчике объемный высокочастотный резонатор с малым диэлектрическим зазором между обмоткой высокочастотного резонатора и его корпусом, а выходной сигнал обмотки дифференцируют, в рамках метода электропроводимости используют датчик электропроводимости и заложенные в память влагомера величины электропроводимости пластовой воды, получаемые лабораторным путем из периодически берущихся проб продукции скважины, и предусматривающий две градуировки, соответствующие упомянутым двум методам измерения, при этом метод измерения выбирают на основании автоматического определения типа смеси с помощью анализа значения резонансной частоты радиоволнового датчика, которое должно быть выше минимальной резонансной частоты при смесях нефти с водой для работы диэлькометрическим методом, и ниже – для работы методом электропроводимости.
Для применения данного влагомера в случае быстрого изменения электропроводимости воды в измеряемой смеси, когда использование данных о проводимости с помощью периодически ведущихся проб становится неэффективным, представленный выше способ дополняется измерением также электропроводимости содержащейся в смеси пластовой воды с помощью второго дополнительного датчика электропроводимости. Дополнительный датчик устанавливается в специально созданном параллельном трубопроводу в горизонтальной плоскости дополнительном байпасном канале, соединенном на входе и выходе с трубопроводом трубками малого сечения, расположенными на разных уровнях. В этом байпасном канале образуется за счет замедленной скорости потока зона с выделившейся из смеси и непрерывно обновляющейся водой. Более быстрое отстаивание воды может быть обеспечено путем перекрытия потока в дополнительном байпасном канале с помощью установленного для этого на его входе управляемого крана, а быстрое обновление смеси – при открывании крана. Можно также расположить дополнительный байпасный канал под трубопроводом с обновлением смеси и выпавшей воды в нем за счет периодического частичного перекрывания потока в трубопроводе.
Реализация первого из указанных способов осуществляется с помощью устройства, состоящего из зондирующего блока и электронного блока, имеющих свои отличительные особенности. Зондирующий блок выполнен в виде последовательно соединенных по направлению измеряемого потока смеси радиоволнового датчика и датчика электропроводимости с датчиком температуры. При этом конструктивные и электрические параметры радиоволнового датчика оптимизируют путем выбора минимального диэлектрического зазора между обмоткой объемного высокочастотного резонатора радиоволнового датчика и его корпусом, а также устанавливая дифференцирующую цепь на выходе обмотки объемного высокочастотного резонатора. Электронный блок содержит синтезатор частот, возбуждающий через усилитель обмотку объемного высокочастотного резонатора радиоволнового датчика, модуль центрального процессора, подключенный параллельным портом к управляющему входу синтезатора частот, содержащий три дискретных порта, через которые обеспечивается по линиям RS-232, RS-422 или RS-485 связь с внешними устройствами, подключенную к модулю центрального процессора плату аналогового ввода-вывода с многоканальными аналого-цифровыми и цифроаналоговыми преобразователями. Первый вход платы аналогового ввода-вывода через усилитель-детектор подключен к выходу усилителя, второй и третий входы непосредственно или через искрозащитные барьеры соединены с датчиком электропроводимости и датчиком температуры, четвертый вход через свои усилитель-детектор и искрозащитный барьер подключен к выходной цепи обмотки объемного высокочастотного резонатора радиоволнового датчика, на пятый вход принимаются внешние сигналы. Два выхода с цифроаналогового преобразователя служат для выдачи результатов измерения и сигналов управления внешними устройствами в аналоговой форме.
Для реализации второго из указанных способов служит устройство, отличающееся тем, что зондирующий блок дополняют вторым датчиком электропроводимости для измерения проводимости пластовой воды, который устанавливают в дополнительной секции на выходе зондирующего блока, в одной из частей которой скапливается выделившаяся из смеси вода, естественным путем обновляемая за счет конструкции дополнительной секции в виде основного и байпасного трубопроводов, расположенных в горизонтальной плоскости и соединенных по входу и выходу байпаса трубками малого сечения, причем входная трубка подведена к верхней части байпаса, а нижняя отводится из его нижней части. Для принудительного быстрого выделения воды и опорожнения байпаса служит вариант конструкции, в которой перед байпасом устанавливается управляемый кран, периодически закрываемый для отстоя воды и открываемый для обновления смеси, либо вариант с расположением байпаса под основным трубопроводом с обновлением смеси и выпавшей воды в нем за счет периодического частичного перекрывания потока в основном трубопроводе над байпасом. Выход второго датчика электропроводности соединен с платой аналогового ввода-вывода.
Заявляемый способ и устройство иллюстрируются схемами, графиками и таблицами экспериментальных данных, представленными на следующих чертежах:
Фиг.1. Блок-схема влагомера.
Фиг.2. Зависимость первой резонансной частоты зондирующего блока с диэлектрическим зазором 3 мм от параметров выходной электрической цепи съема сигнала с обмотки РВД.
Фиг.3. Зависимость первой резонансной частоты зондирующего блока с диэлектрическим зазором 15 мм от параметров выходной электрической цепи съема сигнала с обмотки РВД.
Фиг.4. Зависимость электропроводимости от влагосодержания при различной солености воды.
Фиг.5. Зависимость электропроводимости воды от содержания солей (NaCl).
Фиг.6. Секция выделения воды за счет байпаса в горизонтальной плоскости с малой скоростью потока.
Фиг.7. Секции нижних байпасных каналов для датчика электропроводимости воды: а) с переключателем потока; б) с прикрывающей задвижкой в рабочем канале.
Фиг.8. Секция выделения воды за счет байпаса с управляемым клапаном остановки потока при вертикальном расположении основного трубопровода.
Фиг.9. Влияние газа на показания радиоволнового датчика и датчика электропроводимости.
Фиг.10. Градуировочные характеристики радиоволнового датчика и датчика электропроводимости.
Рассмотрим более подробно каким образом достигается технический результат в настоящем изобретении.
В первую очередь отметим, что в настоящем изобретении сохраняется полезное свойство прототипа, заключающееся в полной представительности измеряемой среды благодаря использованию радиоволнового датчика (РВД), принцип действия и теория которого изложены, например, в книге Викторова В.А., Лункина Б.В., Совлукова А.С. Высокочастотный метод измерения неэлектрических величин. – М. – Наука, 1978 [10].
В РВД рабочий объем смеси представляет собой цилиндр диаметром, равным внутреннему диаметру зондирующего блока, и длиной, равной длине возбуждающей обмотки. Таким образом осуществляется объемное зондирование, при котором все участки объема участвуют в образовании сигнала, содержащего информацию о результирующей комплексной диэлектрической проницаемости многокомпонентной смеси. В результате обеспечивается полное представительство измеряемого потока смеси.
Таким образом, существенным признаком является использование радиоволнового датчика для измерения влагосодержания при смеси с нефтяным непрерывным компонентом.
Технический результат, состоящий в возможности работы влагомера при любом типе измеряемой смеси, обеспечивается в настоящем изобретении тем, что во влагомер добавлен канал электропроводимости и предусмотрено два метода измерения влагосодержания: «диэлькометрический метод» и «метод электропроводимости», соответственно, две градуировки.
Диэлькометрический метод реализуется, когда смесь из скважины представляет собой перемешанный поток с непрерывным нефтяным компонентом («вода в нефти»), который без остановки протекает через зондирующий блок влагомера. При этом используется информация от радиоволнового датчика о величине резонансной частоты. Процесс измерения влагосодержания при этом осуществляется непрерывно с тактом обновления выходной информации не более восьми секунд.
Метод электропроводимости реализуется, когда измеряемая среда представляет собой смесь с непрерывным водным компонентом («нефть-в-воде»). При этом во влагомере используется информация о проводимости смеси от датчика электропроводимости. Процесс измерения при этом осуществляется также непрерывно с тактом обновления выходной информации не более восьми секунд.
Важным является то обстоятельство, что резонансная частота для смесей типа «вода-в-нефти» даже при самом большом содержании воды, при котором может существовать смесь данного типа (до восьмидесяти процентов), имеет большее значение, чем для смесей типа «нефть-в-воде», даже с наименее возможным влагосодержанием последних.
С учетом этого обстоятельства во влагомере реализован автоматический выбор метода измерения на основании определения типа смеси с помощью анализа значения резонансной частоты, которое должно быть выше минимальной резонансной частоты смеси с нефтяным непрерывным компонентом для работы диэлькометрическим методом и ниже – для работы методом электропроводимости.
Второй технический результат, заключающийся в независимости показаний влагомера от наличия свободного газа в измеряемой среде, достигается путем соответствующего выбора конструктивных и схемотехнических параметров зондирующего блока.
Функционально зондирующий блок заявляемого влагомера состоит из секции радиоволнового датчика и секции датчика электропроводимости, а также для варианта использования в условиях быстрого изменения солености воды в измеряемой среде содержит секцию с датчиком электропроводимости воды. Блок-схема влагомера представлена на фиг.1.
Для понимания сущности настоящего изобретения рассмотрим работу влагомера (изделия) по двум названным методам измерения.
При работе диэлькометрическим методом первичная исходная информация получается в изделии путем зондирования измеряемой смеси высокочастотными электромагнитными волнами в рабочем диапазоне частот объемного высокочастотного резонатора радиоволнового датчика и измерением при этом первой, второй и, при необходимости, более высоких резонансных частот объемного резонатора и коэффициента передачи (амплитуды) на резонансных частотах, а также температуры.
При этом имеют место определенные закономерности в работе РВД. Резонансные частоты и амплитуда колебаний на них зависят, с одной стороны, от диэлектрической проницаемости измеряемой среды, находящейся в зондирующем блоке, а с другой стороны, от конструктивных и электрических параметров самого зондирующего блока.
К таким параметрам, в первую очередь, относятся диэлектрический зазор между обмоткой и корпусом РВД, определяющий электрическую емкость обмотки, вид схемы и значения емкостей и сопротивлений выходной электрической цепи обмотки.
В общем случае названные параметры выбираются исходя из того, чтобы с требуемой точностью измерялось относительное содержание всех компонентов среды – нефти, газа и воды.
В рассматриваемом случае разработки влагомера целесообразно так подобрать эти параметры, чтобы наиболее точно измерялось относительное содержание только воды и, более того, чтобы точность не зависела от соотношения содержания газа и нефти.
В таблице 1 на фиг.2 и в таблице 2 на фиг.3 представлены экспериментальные зависимости значений первой резонансной частоты от вида и параметров выходной цепи обмотки для двух зондирующих блоков с диэлектрическим зазором между обмоткой и корпусом, равным 3 и 15 миллиметрам соответственно. Как видно из приведенных данных, с увеличением зазора растет резонансная частота и разности частот, соответствующих газу и нефти, нефти и воде.
Погрешность в измерении содержания воды, вызванная наличием газа в среде, тем больше, чем больше разность резонансных частот для воздуха и нефти и меньше разность частот для нефти и воды (крутизна частотной характеристики для смеси нефти с водой). Отношение этих разностей частот несущественно зависит от рассматриваемого зазора в зондирующем блоке, но сильно зависит от вида и параметров выходной цепи обмотки. Существенным является тот факт, что разность частот, соответствующих газу и нефти, изменяется не пропорционально крутизне частотной характеристики смеси нефти с водой. Иначе не было бы отмеченной зависимости погрешности измерения относительного содержания воды от параметров выходной цепи обмотки и зазора в зондирующем блоке.
Анализ таблиц показывает, что минимальные значения погрешностей, полученных при оптимизации параметров выходной цепи обмотки, несколько меньше для зондирующего блока с малым диэлектрическим зазором (4.32% против 5.95%). Однако в этом случае имеется наименьшая крутизна градуировочной характеристики – 0.0324 МГц/% против 0.1965 МГц/%. Низкая крутизна может привести к возрастанию других составляющих погрешности, вызванных флюктуациями и нестабильностью измеряемой резонансной частоты, в частности от флюктуации влагосодержания и от собственных шумов. В каждом отдельном случае необходимо компромиссное решение.
Выводы по работе диэлькометрическим методом, вытекающие из анализа рассмотренных данных, состоят в следующем:
– для диэлькометрического метода целесообразно в радиоволновом датчике зондирующего блока иметь малый диэлектрический зазор между обмоткой и корпусом;
– необходимо снимать сигнал с обмотки радиоволнового датчика зондирующего блока с малым зазором через дифференцирующую цепь с большой постоянной времени и с добавлением инерционной RC цепочки, а в зондирующем блоке с большим зазором – без добавления инерционной цепочки.
В методе электропроводимости используется зависимость электропроводимости от влагосодержания смеси. Вид такой зависимости для датчика проводимости JUMO CTI-500 немецкой фирмы JUMO GmbH & Co.KG. показан на фиг.4 при различных значениях солености воды.
Как говорилось выше, электропроводимость смеси зависит не только от относительно содержания воды в смеси, но и от ее солености. На фиг.5 приведена экспериментальная зависимость электропроводимости воды от содержания солей (NaCl).
Как видно из графика, электропроводимость воды сильно зависит от солености. Поэтому для того, чтобы по электропроводимости определить относительное содержание воды в смеси, необходимо знать соленость (или электропроводимость) воды.
В тех случаях, когда соленость пластовой воды в скважине изменяется со временем очень медленно, можно воспользоваться лабораторными данными о солености воды и периодически вводить их в изделие или периодически проводить подградуировку изделия.
Для случаев быстрого изменения солености пластовой воды в данной заявке на изобретение предлагается непрерывно определять соленость воды в самом влагомере с помощью установки в изделие дополнительного датчика электропроводимости. Для этого в трубопроводной обвязке влагомера создается участок, в котором постепенно скапливается и обновляется водяной слой, в нем и располагается упомянутый второй датчик электропроводимости. Варианты создания таких участков трубопровода представлены на фиг.6, 7, 8.
Конструктивное решение, показанное на фиг.6, обеспечивает отстой и автоматическое обновление пластовой воды благодаря малой скорости потока в параллельном основному трубопроводу участке, достигаемой за счет поступления в него и отвода из него измеряемой смеси через трубки малого сечения. Рабочий участок трубопровода и параллельный с отстоем воды располагаются в горизонтальной плоскости.
Положительным свойством такого решения является его простота, обусловленная отсутствием каких-либо подвижных механических узлов. Геометрические размеры устройства (диаметры и длины измерительного участка и соединительных трубок) должны выбираться исходя из параметров измеряемого потока среды: диапазона скоростей, плотности, типа смеси по быстроте выделения воды и др.
Варианты участков трубопровода с отстаиванием и обновлением воды, представленные на фиг.7 и 8, принципиально отличаются от рассмотренного выше тем, что в них имеются переключающие (переключатель потока 24 на фиг.7,а), ограничивающие сечение трубопровода (управляемая задвижка 25 на фиг.7,б) или запорные устройства (запорный клапан 26 на фиг.8). Ввод таких устройств обеспечивает гарантированное обновление воды в отстойном участке независимо от параметров измеряемого потока среды. Это положительное свойство дается ценой усложнения и удорожания влагомера за счет добавления в изделие указанных устройств, а также необходимостью автоматического управления ими.
Выбор того или иного варианта делается исходя из конкретных условий применения влагомера.
Рассмотрим основное содержание рабочего алгоритма заявляемого влагомера.
Определение влагосодержания по информации, получаемой при работе диэлькометрическим методом и методом электропроводимости, может быть выполнено каким-либо из известных алгоритмов для нахождения искомой величины с помощью градуировочной характеристики. Далее приводится один из возможных вариантов.
Алгоритм для диэлькометрического метода состоит в следующем. Как было указано выше, исходной информацией, получаемой с помощью РВД, являются измеренные значения величин резонансных частот и коэффициентов передачи. Текущие значения резонансной частоты fрез объемного резонатора и коэффициента передачи KЗБ на резонансной частоте, а также температура T используются при диэлькометрическом методе для формирования обобщенного параметра Kоб с привлечением значения резонансной частоты fград.w, соответствующей заполнению резонатора при градуировке водой, по формуле:

где коэффициент пропорциональности Kf подбирают исходя из требований крутизны статической характеристики влагомера.
Этот обобщенный параметр положен в основу получения текущих значений обобщенного параметра при измерении, а также при создании обобщенных градуировочных характеристик для работы диэлькометрическим методом при смесях типа вода в нефти.
При работе методом электропроводимости как для градуировочных характеристик, так и для текущих измеренных величин, используется значение удельной электропроводимости или зависящей от нее величины (электрический ток, индуктивность и др.).
Как было указано выше, в изделии предусмотрены две градуировки – для диэлькометрического метода и для метода электропроводимости:
«градуировочная характеристика радиоволнового датчика » – для измерения влагосодержания смеси, когда непрерывным компонентом в измеряемой среде является нефть, т.е. для смесей типа «вода-в-нефти»;
«градуировочная характеристика датчика электропроводимости» – для измерения влагосодержания смеси в случае, если непрерывным компонентом в измеряемой среде является вода, т.е. для смесей типа «нефть-в-воде».
На фиг.9 представлены зависимости резонансных частот РВД и удельной электропроводимости, измеряемой датчиком электропроводимости, от влагосодержания при различном количестве свободного газа в измеряемой среде.
Кривые из этого семейства, относящиеся к отсутствию в среде свободного газа, используются в качестве градуировочных. Они представлены отдельно на фиг.10 как «градуировочные характеристики радиоволнового датчика» и «градуировочные характеристики датчика электропроводимости». Как видно из семейства этих характеристик, они практически совпадают друг с другом, что свидетельствует о незначительном влиянии свободного газа на показания влагомера.
Выбор метода измерения и нужной градуировочной характеристики производится в изделии автоматически на основании определения типа смеси в соответствии со следующей логикой:
– если резонансная частота при текущем измерении выше наименьшей возможной частоты для смеси типа «вода-в-нефти», то тип смеси «вода-в-нефти»;
– следовательно, нужно воспользоваться «градуировочной характеристикой радиоволнового датчика»;
– если резонансная частота ниже наименьшей возможной частоты для смеси типа «вода-в-нефти», то тип смеси – «нефть-в-воде»; следовательно, нужно воспользоваться «градуировочной характеристикой датчика электропроводимости ».
Рассмотрим подробно один из конкретных рабочих алгоритмов влагомера, реализуемый в процессорной плате электронного блока изделия.
Для выполнения рабочего алгоритма влагомера требуется предварительная градуировка изделия. В память электронного блока влагомера закладываются градуировочные значения параметров изделия, полученные для разных градуировочных смесей на испытательном стенде.
1) Для «градуировочной характеристики радиоволнового датчика» (непрерывный компонент – нефть):
i – номер смеси, i=1÷Nн, где Nн – количество смесей для данной градуировки;
– объемное относительное содержание воды в i-й смеси «вода-в-нефти»;
– первая резонансная частота для i-й смеси;
– коэффициент передачи ЗБ для i-й смеси;
– температура для i-й смеси.
2) Для «градуировочной характеристики датчика электропроводимости» (непрерывный компонент – вода):
i – номер смеси, i=1÷Nв, где Nв – количество смесей для данной градуировки;
– объемное относительное содержание воды в i-й смеси «нефть-в-воде»;
– удельная электропроводимость для i-й смеси;
– температура для i-й смеси.
При каждом текущем измерении производится корректировка градуировочных значений резонансных частот и коэффициентов передачи для всех градуировочных смесей под текущее значение температуры (температурная компенсация значений параметров). Для каждой градуировочной i-й смеси с относительным содержанием воды или рассчитываются скорректированный обобщенный параметр и скорректированная электропроводимость с помощью подстановки в уравнение (1) скорректированных на текущую температуру измеренных параметров изделия:


где Kf – коэффициент пропорциональности, который подбирается исходя из требований крутизны градуировочной характеристики влагомера;
fград.w – градуировочная первая резонансная частота воды;
индекс Т обозначает скорректированное значение параметра под текущую температуру.
На базе значений (2) и (3) строятся градуировочные характеристики и – зависимости обобщенного параметра и скорректированной удельной электропроводимости от влагосодержания для текущей температуры:


где н и в – некоторые функции интерполяции.
В простейшем случае для построения кривых используется линейная интерполяция.
Измеренные параметры изделия, представляющие собой для диэлькометрического метода текущие значения первой резонансной частоты fрез объемного резонатора и коэффициента передачи KЗБ на резонансной частоте, используются для формирования текущего обобщенного параметра Kоб. по формуле:

Зная текущее измеренное значение величины текущего обобщенного параметра, рассчитанного по измеренным значениям первой резонансной частоты и коэффициента передачи по формуле (6), и текущее измеренное значение удельной электропроводимости находим по одной из градуировочных характеристик (4) или (5), для соответствующего непрерывного компонента, текущее значение величины влагосодержания (например, методом сканирования). При линейной интерполяции по текущему значению обобщенного параметра Kоб. и удельной электропроводимости определяется рабочий отрезок ломаной линии и задача сводится к отысканию величины влагосодержания из уравнения прямой линии.
Для сокращения времени на процедуру градуировки можно использовать уменьшенное число градуировочных смесей с последующим построением аппроксимирующей кривой в виде, например, полинома второго или более высокого порядка.
Таким образом, технический результат от использования изобретения в части способа достигается тем, что в способе измерения влагосодержания трехкомпонентных двухфазных смесей используется два метода измерения влагосодержания: «диэлькометрический метод» и «метод электропроводимости». Это основной отличительный признак данного изобретения.
Диэлькометрический метод основан на зависимости резонансной частоты и коэффициента передачи объемного высокочастотного резонатора от диэлектрической проницаемости компонентов и их относительного объемного содержания.
Метод электропроводимости базируется на зависимости удельной электропроводимости измеряемой среды от относительного содержания в ней воды.
При использовании каждого из этих методов измерения влагосодержания введены новые отличительные признаки.
В рамках диэлькометрического метода произведено следующее:
1) настройку параметров зондирующего блока и выходной цепи обмотки производят так, чтобы выбранная для работы резонансная частота и коэффициент передачи в основном зависели только от относительного содержания воды в общем объеме смеси, а соотношение относительного содержания нефти и газа влияло на них незначительно, что достигается сочетанием малого диэлектрического зазора между обмоткой РВД и его корпусом с вводом дифференцирующей цепи с большой постоянной времени на выходе обмотки;
2) определение величины влагосодержания производят методом нахождения его по обобщенной градуировочной характеристике для текущих измеренных значений резонансной частоты и коэффициента передачи;
3) значения обобщенного параметра при измерении и при формировании обобщенных градуировочных характеристик определяют по формуле

где измеренные значения резонансной частоты fрез, коэффициента передачи KЗБ и температуры Т при градуировке изделия измеряются для смесей воды с нефтью, а коэффициент пропорциональности Kf подбирают исходя из требований крутизны градуировочной характеристики влагомера.
В рамках метода электропроводимости, осуществляемого, когда в измеряемой смеси непрерывным компонентом является вода, введены следующие отличительные признаки:
1) используется метод определения объемного влагосодержания в смеси по величине ее электропроводимости с помощью датчика электропроводимости проходного типа или погружного типа (в первом случае обеспечивается нонинтрузивность зондирующего блока);
2) помимо определения электропроводимости измеряемой смеси дополнительно измеряется электропроводимость содержащейся в ней воды с целью определения ее солености (для случая применения при быстром изменении солености воды);
3) для измерения электропроводимости воды используется второй датчик электропроводимости, устанавливаемый в специально сформированном участке трубопроводной обвязки влагомера, обеспечивающем местный отстой и обновление воды.
Выбор метода измерения и использования соответствующей градуировочной характеристики, производимый в изделии автоматически путем анализа значения резонансной частоты радиоволнового датчика, которая должна быть выше минимальной частоты смеси с нефтяным непрерывным компонентом для работы диэлькометрическим методом, и ниже – для работы методом электропроводимости, также является существенным отличительным признаком.
Реализация данного способа может быть выполнена путем внесения изменений в устройство прототипа.
Так как во влагомере отсутствует функция измерения расхода, то предлагается исключить один из двух РВД, используемый в прототипе для измерения скорости потока корреляционным методом, а также исключить соответствующий канал из электронного блока. Уходит также задача измерения относительного содержания каждого из трех компонентов, но добавляется требование измерения влагосодержания не только, когда непрерывным компонентом смеси является нефть, но и когда вода. Ужесточаются также требования по точности измерения относительного содержания воды, которая, в частности, не должна зависеть от соотношения между собой нефти и газа. Поэтому устройство прототипа было подвергнуто, помимо исключения одного канала с РВД, ряду изменений, которые и заявляются.
В зондирующем блоке добавляется секция с датчиком электропроводимости смеси и, при необходимости, секция с накоплением воды с датчиком электропроводимости воды.
Отличительные существенные признаки в РВД, направленные на получение минимальных погрешностей в измерении влагосодержания диэлькометрическим методом, состоят в оптимальном выборе диэлектрического зазора между его обмоткой и корпусом и параметров электрической цепи на выходе обмотки. Для достижения данного результата рекомендуется выполнять диэлектрический зазор наименьшим, но обеспечивающим величину крутизны градуировочной характеристики, достаточной с точки зрения соотношения сигнал-шум, и в установке емкостей, выполняющих функцию дифференцирования выходного сигнала обмотки, значительно больших, чем при измерении всех трех составляющих среды, подбираемых по критерию наименьшей погрешности в измерении влагосодержания.
В соответствии с изменениями в зондирующем блоке претерпевает изменения и электронный блок, в котором добавляются каналы для метода электропроводимости и интерфейсные связи для обмена сигналами управления переключателями потока и управляемыми задвижками.
Технический результат в устройстве заключается в обеспечении реализации функционального назначения изделия по измерению влагосодержания трехкомпонентных сред как с непрерывным нефтяным, так и водным компонентом и в обеспечении обмена информацией с внешними устройствами, в частности выдачи результата измерения как в цифровой, так и в аналоговой форме.
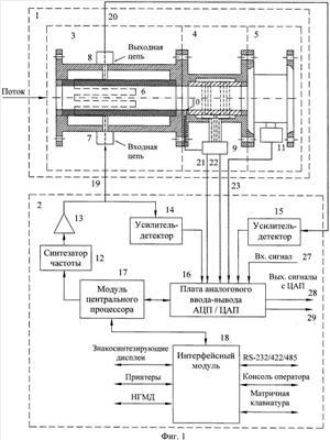
Рассмотрим более подробно состав и работу изделия, используя блок-схему с фиг.1, на которой представлены все элементы изделия за исключением переключателей потока и задвижек, которые входят в состав секции выделения воды, варианты которой изображены на фиг.6-8.
Устройство состоит из зондирующего блока 1 и электронного блока 2.
Зондирующий блок, в свою очередь, разделяется на три секции: секцию радиоволнового датчика 3; секцию датчиков электропроводимости и температуры 4 и секцию отстоя-обновления воды 5 со вторым датчиком электропроводимости. Секция радиоволнового датчика содержит обмотку 6, входную цепь обмотки 7, выходную цепь обмотки 8. Секция датчиков электропроводимости и температуры имеет в своем составе датчик электропроводимости смеси 9 и датчик температуры 10. Секция отстоя-обновления воды может иметь различное конструктивное исполнение, в частности представленные на фиг.6-8, и содержит датчик электропроводимости воды 11.
Электронный блок включает в себя синтезатор частоты 12; усилитель 13, усилители-детекторы 14 и 15, плату аналогового ввода-вывода 16 с многоканальным аналого-цифровыми преобразователем (АЦП) и многоканальным цифроаналоговым преобразователем (ЦАП); модуль центрального процессора 17; интерфейсный модуль 18 (может входить в состав модуля центрального процессора).
Зондирующий блок и электронный блок соединяются между собой двумя коаксиальными кабелями 19 и 20, а также тремя низкочастотными кабелями 21, 22 и 23.
Основная секция зондирующего блока (ЗБ) – радиоволновой датчик – представляет собой радиоволновой объемный резонатор. Чувствительным элементом РВД является обмотка зигзагообразной формы, выполненная способом печатного монтажа на тонкой стеклотекстолитовой плате. Толщина платы составляет 0.3-0.5 мм.
Плата сгибается вдоль направления витков обмотки проводниками внутрь и крепится на внешней поверхности диэлектрической трубы толщиной от 3 до 8- миллиметров. Диэлектрическая труба с обмоткой отделена диэлектрическим (в частности, воздушным) зазором от металлического корпуса, играющего роль экрана резонатора. Внутренняя поверхность диэлектрической трубы, соприкасающаяся с протекающей по ней измеряемой смесью, должна быть из материала, стойкого как к механическому износу, так и к химическому воздействию со стороны протекающей по ней смеси, а ее внутренний диаметр целесообразно иметь равным внутреннему диаметру трубопровода.
Монтаж секций между собой, а также установка зондирующего блока на участке трубопровода с измеряемой смесью, осуществляются с помощью фланцевых или быстроразъемных (конусно-фланцевых) соединений.
Узлы электронного блока выполняют следующие функции.
С модуля центрального процессора 17 на вход управляемого синтезатора частот 12 поступает код частоты, лежащей в диапазоне рабочих частот изделия. Синтезатор выдает высокочастотный сигнал синусоидальной формы, частота которого практически мгновенно и с большой точностью соответствует заданному коду. Подходящими для использования в данном изделии являются синтезаторы фирмы ANALOG DEVICES, выполненные по технологии прямого цифрового синтеза (DDS) [например, AD9850, AD9851, AD9854].
Сигнал с синтезатора 12 через усилитель 13 (опорный сигнал) подается на вход обмотки 6, а также на вход одного из каналов платы аналогового ввода-вывода 16 через усилитель-детектор 14.
С выхода обмотки радиоволнового датчика сигнал поступает на вход второго канала платы аналогового ввода-вывода 16 через усилитель-детектор 15.
Выходные сигналы с датчика температуры 10 и датчиков проводимости 9 и 11 поступают для измерения на соответствующие каналы платы аналогового ввода-вывода 16.
Усилитель 13 и усилители-детекторы 14 и 15 выбираются так, чтобы их амплитудно-частотные характеристики были горизонтальными в рабочем диапазоне частот изделия.
АЦП должны удовлетворять требованиям по точности и быстродействию. Так, для обеспечения измерения амплитуды в диапазоне -10В ÷ +10В и токов в диапазоне от 4 до 20 мА с погрешностью не более 0.1% достаточно применить 12-разрядные АЦП с частотой выборок 40 килогерц, что легко осуществимо.
ЦАП предназначены для выдачи результатов измерений в виде аналоговых сигналов, например в виде напряжений, лежащих в диапазоне 0÷10 В, или токов в диапазоне 4-20 мА. Для обеспечения точности выходного сигнала 0.1% достаточно 12-разрядного ЦАП.
Модуль центрального процессора 17 обеспечивает общее управление изделием и вычисления по заложенному в него алгоритму работы. Процессор должен иметь быстродействие не менее 40 МГц, объем оперативной памяти не менее 1 мегабайта, объем флэш-памяти не менее 2 мегабайт, параллельные и последовательные порты ввода-вывода.
Интерфейсный модуль 18 обеспечивает связь изделия с верхним уровнем АСУТП непосредственно, либо через средства телекоммуникации. Модуль позволяет по линиям RS-232, RS-422 или RS-485 связаться с любым устройством, имеющим в своем составе соответствующие интерфейсы, а также подключить консоль оператора, матричную клавиатуру, знакосинтезирующие дисплеи, принтеры, НГМД.
Входящие в электронный блок составные части соединены между собой высокочастотными кабелями 19 и 20 и низкочастотными 21, 22, 23.
В электронном блоке предусмотрена возможность выдачи результатов измерения и получения внешних сигналов также и в аналоговом виде по низкочастотным кабелям 27, 28 и 29 через соответствующие разъемы.
В изделии возможно усреднение значений относительного содержания воды в смеси на заданном интервале времени (несколько циклов). Информация о мгновенных и усредненных значениях влагосодержания, а также любая другая информация могут храниться в долговременной памяти изделия модуля центрального процессора.
Литература
:3989.
9. Трехкомпонентный расходомер «Сател-РВ». Способ измерения покомпонентного расхода трехкомпонентного газожидкостно-твердотельного потока и устройство для его осуществления. Патент РФ RU 2247947 C1, 10.03.2005. Бюл. 7.
10. Викторов В.А., Лункин Б.В., Совлуков А.С. Высокочастотный метод измерения неэлектрических величин. – М.: Наука, 1978.
Формула изобретения
1. Способ измерения влагосодержания в продукции добывающих нефтяных скважин, представляющей собой смесь нефти, пластовой воды и попутного газа в любой пропорции, проходящей по трубопроводу, состоящий в том, что применяют диэлькометрический метод измерения влагосодержания при смесях нефти с водой, когда непрерывным компонентом является нефть, и метод электропроводимости, когда непрерывным компонентом является вода, причем в рамках диэлькометрического метода используют в радиоволновом датчике объемный высокочастотный резонатор с малым диэлектрическим зазором между обмоткой высокочастотного резонатора и его корпусом, а выходной сигнал обмотки дифференцируют, в рамках метода электропроводимости используют датчик электропроводимости и заложенные в память влагомера величины электропроводимости пластовой воды, получаемые лабораторным путем из периодически берущихся проб продукции скважины, и предусматривающий две градуировки, соответствующие упомянутым двум методам измерения, при этом метод измерения выбирают на основании автоматического определения типа смеси с помощью анализа значения резонансной частоты радиоволнового датчика, которое должно быть выше минимальной резонансной частоты при смесях нефти с водой для работы диэлькометрическим методом, и ниже – для работы методом электропроводимости.
2. Способ по п.1, отличающийся тем, что помимо измерения электропроводимости смеси измеряют также электропроводимость содержащейся в ней пластовой воды с помощью второго дополнительного датчика электропроводимости, для чего создают параллельный трубопроводу в горизонтальной плоскости дополнительный байпасный канал, соединенный на входе и выходе с трубопроводом трубками малого сечения, расположенными на разных уровнях, в котором образуется за счет замедленной скорости потока зона с выделившейся из смеси и непрерывно обновляющейся водой, или обеспечивают более быстрое отстаивание воды путем перекрытия потока в дополнительном байпасном канале с помощью установленного для этого на его входе управляемого крана и обновление смеси в дополнительном байпасном канале при открывании крана, или располагают дополнительный байпасный канал под трубопроводом с обновлением смеси и выпавшей воды в нем за счет периодического частичного перекрывания потока в трубопроводе.
3. Устройство для измерения влагосодержания в продукции добывающих нефтяных скважин, представляющей собой смесь нефти, пластовой воды и попутного газа в любой пропорции, проходящей по трубопроводу, состоящее из зондирующего блока в виде последовательно-соединенных по направлению измеряемого потока смеси радиоволнового датчика и датчика электропроводимости с датчиком температуры, причем конструктивные и электрические параметры радиоволнового датчика оптимизируют путем выбора минимального диэлектрического зазора между обмоткой объемного высокочастотного резонатора радиоволнового датчика и его корпусом, а также устанавливая дифференцирующую цепь на выходе обмотки объемного высокочастотного резонатора, и электронного блока, содержащего синтезатор частот, возбуждающий через усилитель обмотку объемного высокочастотного резонатора радиоволнового датчика, модуль центрального процессора, подключенный параллельным портом к управляющему входу синтезатора частот, содержащий три дискретных порта, через которые обеспечивается по линиям RS-232, RS-422 или RS-485 связь с внешними устройствами, и подключенный к плате аналогового ввода-вывода, содержащей многоканальные аналого-цифровые и цифроаналоговые преобразователи, первый вход которой через усилитель-детектор подключен к выходу усилителя, второй и третий входы непосредственно или через искрозащитные барьеры соединены с датчиком электропроводимости и датчиком температуры, четвертый вход через свои усилитель-детектор и искрозащитный барьер подключен к выходной цепи обмотки объемного высокочастотного резонатора радиоволнового датчика, на пятый вход принимаются внешние сигналы, а два выхода с цифроаналогового преобразователя служат для выдачи результатов измерения и сигналов управления внешними устройствами в аналоговой форме.
4. Устройство по п.3, отличающееся тем, что зондирующий блок дополняют вторым датчиком электропроводимости для измерения проводимости пластовой воды, который устанавливают в дополнительной секции на выходе зондирующего блока, в одной из частей которой скапливается выделившаяся из смеси вода, естественным путем обновляемая за счет конструкции дополнительной секции в виде основного и байпасного трубопроводов, расположенных в горизонтальной плоскости и соединенных по входу и выходу байпаса трубками малого сечения, причем входная трубка подведена к верхней части байпаса, а нижняя отводится из его нижней части, или принудительным путем, для чего перед байпасом устанавливается управляемый кран, периодически закрываемый для отстоя воды и открываемый для обновления смеси, либо располагают байпас под основным трубопроводом с обновлением смеси и выпавшей воды в нем за счет периодического частичного перекрывания потока в основном трубопроводе над байпасом, а выход второго датчика электропроводности соединен с платой аналогового ввода-вывода.
РИСУНКИ
|