|
|
(21), (22) Заявка: 2007117364/28, 09.11.2005
(24) Дата начала отсчета срока действия патента:
09.11.2005
(30) Конвенционный приоритет:
09.11.2004 FR 0411907
(43) Дата публикации заявки: 20.12.2008
(46) Опубликовано: 20.08.2010
(56) Список документов, цитированных в отчете о поиске:
US 6122048 А, 19.09.2000. ЕР 0763727 A1, 19.03.1997. US 2004/0150815 A1, 05.08.2004. SU 1433426 A3, 23.10.1988.
(85) Дата перевода заявки PCT на национальную фазу:
09.06.2007
(86) Заявка PCT:
FR 2005/002792 20051109
(87) Публикация PCT:
WO 2006/051217 20060518
Адрес для переписки:
191186, Санкт-Петербург, а/я 230, “АРС-ПАТЕНТ”, пат.пов. М.В. Хмаре
|
(72) Автор(ы):
КОЛЛЕ Оливье (FR)
(73) Патентообладатель(и):
ТИАМА (FR)
|
(54) ОСВЕТИТЕЛЬНОЕ УСТРОЙСТВО И СПОСОБ ОБНАРУЖЕНИЯ ДЕФЕКТОВ НА ПОВЕРХНОСТИ ГОРЛОВИНЫ ЕМКОСТИ
(57) Реферат:
Изобретение относится к измерительной технике. Изобретение предлагает осветительное устройство (1) для установки (2), выполненной с возможностью определения по изображению наличия дефектов на поверхности (s) горловины прозрачной или светопроницаемой емкости (4). В соответствии с изобретением устройство содержит, по меньшей мере, одну осветительную систему (11, 20), обеспечивающую в каждой точке поверхности охватывающей поверхность (s) горловины квазипостоянное освещение под всеми углами или частью углов падения, заключенных, по меньшей мере, в части телесного угла в 2 стерадиан, и средства (12) для блокирования, по меньшей мере, части световых лучей, освещающих области, находящиеся вне поверхности (s) горловины (3), и способных порождать паразитные отражения в изображении горловины. Технический результат – повышение надежности выявления дефектов различных типов. 3 н. 12 з.п. ф-лы, 4 ил.
Область техники, к которой относится изобретение
Настоящее изобретение относится к области оптоэлектронного обследования прозрачных или светопроницаемых полых предметов или емкостей, например стеклянных бутылок, банок или флаконов, с целью обнаружения возможных поверхностных дефектов, имеющихся на горловинах таких емкостей.
Более конкретно, изобретение относится к области обследования таких емкостей с целью выявления наличия на их горловинах поверхностных дефектов, связанных с избытком или недостатком материала, дефектов типа раковин или пузырьков, дефектов типа сколов или зазубрин, а также нитевидных дефектов.
Уровень техники
В соответствии с известными решениями предлагались различные системы контроля качества горловин емкостей для отбраковки тех из них, которые содержат дефекты, способные отрицательно сказаться на внешнем виде или, в более серьезных случаях, представлять реальную опасность для пользователя. Например, в соответствии с известной технологией установка для обследования емкостей может содержать осветительную систему, способную вырабатывать световые лучи, сфокусированные на наружной поверхности горловины. Видеокамеру устанавливают так, чтобы обеспечить прием отраженных световых лучей, которые передают в обрабатывающий модуль, предназначенный для формирования изображения поверхности горловины. Обрабатывающий модуль анализирует изображение с целью выявления возможного наличия дефектов, искажающих отражение света в результате рефракции, что приводит к локальному отсутствию освещенности и отображению дефекта в виде черного участка, или в результате локальной концентрации освещенности, что приводит к отображению дефекта в виде белого участка. Следует отметить, что в заявке US 2004/01508150 предлагается установка для обследования, сочетающая освещение, позволяющее отображать дефекты в виде черных участков, и освещение, позволяющее отображать дефекты в виде белых участков.
Для обеспечения надежного контроля качества поверхности горловин емкостей по известным технологиям осуществляют регулировку угла падения световых лучей на поверхность горловины. Однако отмечалось, что такая технология может регистрировать в качестве дефектов пузырьки, расположенные внутри материала горловины, хотя емкость, содержащая такие внутренние пузырьки, не считается дефектной. Кроме того, отмечались затруднения, связанные с обработкой изображений для надежной идентификации дефектов, в частности, в связи с наличием в изображении паразитных образов, вызываемых различными отражениями света на поверхности емкости.
Раскрытие изобретения
Задача, на решение которой направлено настоящее изобретение, заключается в устранении недостатков известных решений путем предложения технологии обследования поверхности горловины емкости, позволяющей с высокой надежностью выявлять дефекты различных типов, исключая регистрацию в качестве дефектов, например, паразитных отражений света и внутренних пузырьков.
Для решения поставленной задачи в соответствии с изобретением предлагается способ оптического обследования для определения наличия дефектов на поверхности горловины прозрачной или светопроницаемой емкости, включающий в себя следующие этапы: освещение, по меньшей мере, поверхности горловины емкости при помощи осветительной системы, формирование изображения указанной поверхности горловины и анализ изображения для определения наличия дефекта на поверхности горловины. В соответствии с изобретением освещение осуществляют при помощи, по меньшей мере, одной осветительной системы, обеспечивающей в каждой точке поверхности, охватывающей поверхность горловины, квазипостоянное освещение под всеми углами или частью углов падения, заключенных, по меньшей мере, в части телесного угла в 2 стерадиан; и блокируют, по меньшей мере, часть световых лучей, которые освещают области вне поверхности горловины и которые способны порождать паразитные отражения в изображении горловины.
Точнее, в соответствии со способом оптического обследования предусмотрено блокирование световых лучей, освещающих внешнюю часть поверхности и/или внутреннюю часть поверхности горловины, расположенные вне поверхности горловины.
Изобретение также предлагает осветительное устройство для установки, выполненной с возможностью выявления по изображению наличия дефектов на поверхности горловины прозрачной или светопроницаемой емкости. В соответствии с изобретением осветительное устройство содержит, по меньшей мере, одну осветительную систему, обеспечивающую в каждой точке поверхности, охватывающей поверхность горловины, квазипостоянное освещение под всеми углами или частью углов падения, заключенных, по меньшей мере, в части телесного угла в 2 стерадиан; и средства для блокирования, по меньшей мере, части световых лучей, которые освещают области вне поверхности горловины и которые способны порождать паразитные отражения в изображении горловины.
В соответствии с одним из вариантов осуществления изобретения средства для блокирования световых лучей вне поверхности горловины выполнены в виде маски, блокирующей световые лучи, поступающие на внешнюю часть поверхности горловины, и/или маски, блокирующей световые лучи, поступающие на внутреннюю часть поверхности горловины.
В соответствии с другим вариантом осуществления изобретения средства для блокирования световых лучей вне поверхности горловины выполнены в виде жидкокристаллического экрана с управляемыми концентрическими кольцами, и предусмотрен модуль управления для обеспечения прозрачности или непрозрачности указанных колец независимо друг от друга.
В данном варианте осуществления модуль управления жидкокристаллическим экраном выполнен с возможностью управления для сохранения и/или изменения в интерактивном режиме конфигурации электронного управления концентрическими кольцами.
Осветительное устройство по изобретению предпочтительно содержит противоотражательную прозрачную пластину, на которой установлены маски.
В соответствии с дальнейшим вариантом изобретения осветительная система образована источником однородного рассеянного света полусферической формы.
В соответствии с первым альтернативным вариантом осуществления осветительная система содержит интегрирующую полусферу, освещаемую изнутри при помощи кольца из источников света, расположенных возле основания полусферы.
В соответствии со вторым альтернативным вариантом осуществления осветительная система образована светопроницаемой рассеивающей полусферой, освещаемой изнутри набором источников света, направленных к центру указанной полусферы.
В соответствии с третьим альтернативным вариантом осуществления осветительная система содержит источник однородного рассеянного света цилиндрической формы и/или источник однородного рассеянного света в форме широкого кольца, и/или источник однородного рассеянного света конической формы.
Подразумевается, что осветительная система содержит поле зрения камеры, центр которого лежит на оси симметрии осветительной системы.
В оптимальном варианте осветительное устройство дополнительно содержит осветительную систему, дополнительную к описанной осветительной системе, причем в поле зрения камеры предусмотрен оптический элемент, обеспечивающий, с одной стороны, отражение или передачу в направлении поверхности горловины освещения, вырабатываемого дополнительной осветительной системой, а с другой стороны, соответственно, передачу и отражение в направлении камеры световых лучей, отраженных от поверхности горловины.
В оптимальном варианте осветительное устройство содержит средства управления осветительной системой и дополнительной осветительной системой, выполненные с возможностью осуществления совместного или раздельного функционирования осветительных систем.
Изобретение также предлагает установку оптического обследования для определения наличия дефектов на поверхности горловины прозрачной или светопроницаемой емкости. В соответствии с изобретением данная установка содержит осветительное устройство по изобретению; камеру, установленную для приема световых лучей, отраженных от поверхности горловины емкости; и модуль обработки и анализа, соединенный с камерой и выполненный с возможностью анализа изображения, полученного из видеосигнала камеры, для определения наличия поверхностного дефекта.
Краткое описание чертежей
Другие свойства и достоинства настоящего изобретения станут ясны из нижеследующего описания, содержащего ссылки на прилагаемые чертежи, которые иллюстрируют некоторые варианты осуществления изобретения, не накладывающие каких-либо ограничений. На чертежах:
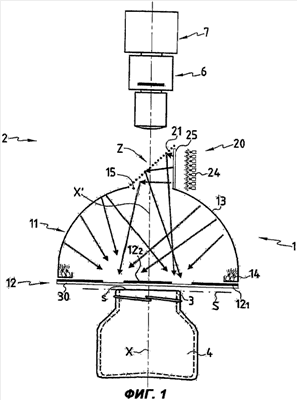
– на фиг.1 представлен вид в разрезе осветительного устройства по первому варианту осуществления изобретения, образующего часть установки для обследования;
– фиг.2 и 3 иллюстрируют два других варианта осуществления осветительного устройства по изобретению;
– на фиг.4 представлен пример изображения, полученного в соответствии с изобретением.
Осуществление изобретения
Фиг.1 иллюстрирует осветительное устройство 1 по изобретению, предназначенное для установки 2 обнаружения поверхностных дефектов, которые могут присутствовать на поверхности s горловины 3 прозрачной или светопроницаемой емкости 4, имеющей ось Х симметрии или вращения.
В соответствии с классическим вариантом такая установка 2 содержит матричную видеокамеру 6, установленную так, чтобы обеспечить прием световых лучей, отраженных от поверхности s горловины 3 емкости 4. Видеокамера 6, снабженная объективом, соединена с модулем 7 обработки и анализа данных, предназначенным для формирования изображения из видеосигнала, вырабатываемого видеокамерой. Модуль 7 обработки и анализа данных содержит алгоритмические средства обработки, позволяющие устанавливать наличие или отсутствие в изображении поверхностных дефектов, а именно, сколов, пузырьков, нитевидных дефектов, раковин, трещин и т.п. Более подробное описание модуля 7 обработки и анализа данных не приводится, поскольку такой модуль не составляет предмета настоящего изобретения и известен специалистам в данной области.
Установка 2, содержащая осветительное устройство 1 по изобретению, позволяет использовать оптический способ выявления возможного наличия дефектов на поверхности горловины 3.
В соответствии с изобретением осветительное устройство 1 содержит осветительную систему 11, которая обеспечивает в каждой точке поверхности S, охватывающей поверхность s горловины 3 емкости, квазипостоянное освещение под частью углов или всеми углами падения, содержащимися, самое большее, внутри телесного угла в 2 стерадиан. Подразумевается, что осветительная система 11 сконструирована таким образом, чтобы обеспечить в любой точке поверхности S равномерное освещение по нескольким или всем направлениям, содержащимся, по меньшей мере, в части телесного угла в 2 стерадиан. Данная поверхность S охватывает поверхность s горловины 3 таким образом, чтобы обеспечить такое квазипостоянное освещение под множественными углами падения в каждой точке поверхности s горловины 3.
В соответствии с другой особенностью изобретения осветительное устройство 1 содержит средства 12 для блокировки, по меньшей мере, части световых лучей, вызывающих освещение вне поверхности s горловины 3 и способных создавать в изображении горловины паразитные отражения. Другими словами, блокирующие средства 12, более подробно описанные ниже, позволяют предотвратить прием видеокамерой 6 паразитных световых лучей, отраженных, например, от резьбы горловины или от стенок и дна емкости.
Как видно из фиг.1 и 2, осветительная система 11 в оптимальном варианте состоит из источника рассеянного и равномерного освещения полусферической формы.
В соответствии с примером, представленным на фиг.1, осветительная система 11 содержит интегрирующую полусферу 13, освещенную изнутри при помощи кольца источников 14 света, расположенных у основания полусферы. Источники 14 света, которые могут представлять собой электролюминесцентные диоды, оптоволоконные элементы, лампы накаливания, галогенные лампы или любые другие источники света, расположены так, чтобы направлять свет в направлении верхней части полусферы 13, обеспечивая освещение всей внутренней стенки полусферы 13. Внутренняя стенка полусферы 13 сконструирована таким образом, чтобы обеспечивать отражение света во всех направлениях с сохранением его энергии и рассеянием, например, благодаря наличию на ней белого покрытия. Свет, отраженный от внутренней стенки полусферы 13, освещает поверхность S, имеющую форму диска. Каждая точка данной поверхности S считается освещенной источником рассеянного, однородного и всенаправленного света. Данная поверхность S расположена так, чтобы охватывать поверхность s горловины 3 обследуемой емкости. Таким образом, как видно из фиг.1, поверхность s расположена в плоскости, в которой находится освещаемая поверхность S. Следует отметить, что емкость 4 расположена так, что ось Х ее симметрии совпадает с осью X’ симметрии или вращения полусферы 13.
В соответствии с другой особенностью изобретения осветительная система 11 содержит поле Z зрения видеокамеры 6, центр которого лежит на оси X’ симметрии полусферы 13. Данное поле Z зрения пересекает отверстие 15, предусмотренное в полусфере 13, центр которого лежит на оси X’. Таким образом, видеокамера 6 может через поле Z зрения принимать лучи, отраженные от поверхности s горловины 3. Следует отметить, что с учетом наличия в полусфере 13 отверстия 15 каждая точка поверхности s не освещается из телесного угла, определенного отверстием 15. Другими словами, в каждой точке поверхности s обеспечено равномерное освещение под всеми направлениями, содержащимися в телесном угле в 2 стерадиан, определенном полусферой, за исключением телесного угла, определенного отверстием 15.
Кроме того, в соответствии с предпочтительным вариантом осуществления изобретения осветительное устройство 1 содержит дополнительную осветительную систему 20, расположенную в поле Z зрения. Такая дополнительная осветительная система 20 позволяет компенсировать отсутствие освещения в телесном угле, определенном отверстием 15. Совместное использование осветительных систем 11 и 20 позволяет обеспечить равномерное освещение поверхности S по всем направлениям, заключенным в телесном угле, определенном полусферой 13, который, по существу, равен 2 стерадиан.
Разумеется, дополнительная осветительная система 20 содержит оптический элемент 21, позволяющий разделять лучи, отраженные от поверхности горловины 3, и световые лучи, вырабатываемые дополнительной осветительной системой 20. Такой оптический элемент 21 может быть осуществлен, например, в виде полупрозрачного зеркала или разделителя световых лучей. В примере, проиллюстрированном на фиг.1, оптический элемент 21 обеспечивает, с одной стороны, передачу световых лучей, отраженных от поверхности горловины, в направлении видеокамеры 6, расположенной коаксиально с осью X’ полусферы 13, а с другой стороны, отражение света, поступающего из дополнительной осветительной системы 20, внутрь полусферы 13. Дополнительная осветительная система 20 может, например, состоять из плоского источника однородного рассеянного света, образованного набором электролюминесцентных диодов 24, расположенных в одной плоскости, перед которыми установлен рассеивающий светопроницаемый экран 25.
Разумеется, относительное расположение дополнительной осветительной системы 20 и видеокамеры 6 может быть и обратным. Так, как представлено на фиг.2, дополнительная осветительная система 20 может быть расположена коаксиально с осью X’ симметрии полусферы 13, а ось поля Z зрения видеокамеры 6 может быть расположена перпендикулярно оси X’ симметрии. В соответствии с данным вариантом осуществления оптический элемент 21 обеспечивает, с одной стороны, передачу света внутрь полусферы 13, а с другой стороны, отражение лучей, поступающих от поверхности s горловины 3, в направлении видеокамеры 6.
В примерах, проиллюстрированных на фиг.1 и 2, блокирующие средства 12 выполнены в виде маски 121, блокирующей вне поверхности s горловины 3 световые лучи, поступающие на внешнюю часть поверхности s горловины 3, и/или маски 122, блокирующей световые лучи, поступающие на внутреннюю часть поверхности s горловины. При этом следует учитывать, что поверхность s горловины имеет кольцевидную форму, как показано на фиг.4. Маска 122 имеет форму диска, диаметр которого меньше внутреннего диаметра горловины 3, что позволяет блокировать световые лучи, проходящие через центр горловины, т.е. попадающие внутрь емкости. Маска 121 имеет форму кольца, внутренний диаметр которого больше внешнего диаметра горловины 3. Внешний диаметр маски 121 предпочтительно, по существу, равен диаметру полусферы, что позволяет блокировать все световые лучи, проходящие снаружи от поверхности горловины.
В соответствии с одним из вариантов осуществления маски 121 и 122 установлены на противоотражающей прозрачной пластине 30, установленной, по существу, возле основания полусферы 13. Разумеется, маски 121 и 122 непрозрачны и могут состоять из сменных элементов разного диаметра, соответствующих разным размерам горловин емкостей. Кроме того, маска 121 может быть выполнена в виде ирисовой диафрагмы.
В соответствии с другим вариантом осуществления блокирующие средства 12 могут быть выполнены в виде жидкокристаллического экрана, электроды поляризации жидких кристаллов которого разрезаны на концентрические кольца и имеют отдельное электропитание, в результате чего каждое из колец экрана может находиться в прозрачном или непрозрачном состоянии независимо от остальных колец. Таким образом, электронное управление кольцами осуществляют так, чтобы прозрачными оставались только те кольца, которые обеспечивают пропускание света, освещающего горловину. На внутренние кольца при этом подают электропитание, что делает их непрозрачными так, чтобы блокировать световые лучи, направленные внутрь горловины (аналогично действию маски 122). Аналогичным образом, внешние кольца блокируют падающие световые лучи, направленные вне горловины (аналогично действию маски 121). Таким образом, жидкокристаллический экран выполняет функцию блокировки световых лучей, способных порождать паразитные отражения в изображении горловины.
Устройство также содержит электронный управляющий модуль, управляемый программным обеспечением, который позволяет регулировать размеры внешнего и внутреннего колец электронными методами без использования элементов переменных размеров. Таким образом, устройство позволяет запоминать параметры масок и/или изменять их в интерактивном режиме, контролируя получающиеся результаты непосредственно по изображению, получаемому из модуля визуализации. Преимущество данного варианта заключается в отсутствии необходимости использования элементов переменных размеров.
В оптимальном варианте жидкокристаллический экран установлен так, чтобы исключить возникновение прямых отражений на поверхностях экрана.
Использование осветительного устройства 1 по изобретению в составе установки 2 для обследования горловин емкостей непосредственно вытекает из вышеприведенного описания.
Способ выявления наличия дефектов на поверхности s емкости 4 заключается в ее освещении при помощи, по меньшей мере, одной осветительной системы 11 и/или 20, обеспечивающей во всех точках поверхности S, охватывающей поверхность s горловины, квазипостоянную освещенность под всеми углами или частью углов падения, заключенных в телесном угле, равном, по большей мере, 2 стерадиан. Способ также направлен на блокирование, по меньшей мере, части световых лучей, освещающих области, расположенные вне поверхности s горловины 3, и способных порождать паразитные отражения в изображении горловины. Для этого может быть предусмотрено блокирование в областях, расположенных вне поверхности s горловины, световых лучей, освещающих внешнюю часть поверхности s горловины, внутреннюю часть поверхности s горловины или внутреннюю и внешнюю части поверхности s горловины.
Световые лучи, отраженные от поверхности s горловины, собирают при помощи камеры 6, которая формирует изображение I, обрабатываемое затем для выявления поверхностных дефектов. Как видно из фиг, 4, модуль 7 обработки и анализа содержит средства для определения поверхностных дефектов D, которые отображаются в виде белых или черных участков и соответствуют избытку или недостатку материала, зазубринам, пузырькам, поверхностным раковинам, нитевидным дефектам и т.д.
В примере, проиллюстрированном на фиг.1, осветительная система 11 образована источником рассеянного однородного света полусферической формы, осуществленным в виде полусферы 13, возле основания которой расположены источники 14 света.
Фиг.2 иллюстрирует другой вариант осуществления осветительной системы 11 по изобретению, состоящей из светопроницаемой рассеивающей полусферы 32, освещаемой снаружи набором источников 31 света, направленных к центру указанной полусферы.
Фиг.3 иллюстрирует другой вариант осуществления осветительной системы 11 по изобретению, содержащей источник 40 однородного рассеянного света цилиндрической формы, образованный светопроницаемым рассеивающим цилиндром 41, освещаемым снаружи набором источников 42 света; и/или источник 45 однородного рассеянного света в форме широкого кольца, центр которого лежит на оси Х емкости 4, образованного светопроницаемой рассеивающей пластиной 46, освещаемой снаружи набором источников 47 света; и/или источник 48 однородного рассеянного света конической формы, содержащий светопроницаемую рассеивающую коническую пластину 49, освещаемую снаружи набором источников 50 света.
Подразумевается, что осветительная система 11 по изобретению образована одним и/или несколькими источниками 40, 45, 48 однородного рассеянного света. Данные источники 40, 45, 48 однородного рассеянного света могут управляться по отдельности или совместно в зависимости от требуемого обследования.
Изобретение не ограничивается описанными и представленными примерами его осуществления, т.к. в него могут быть внесены различные изменения, не выходящие за рамки изобретения.
Формула изобретения
1. Способ оптического обследования для определения наличия дефектов на поверхности (s) горловины (3) прозрачной или светопроницаемой емкости (4), включающий в себя следующие этапы: освещение, по меньшей мере, поверхности (s) горловины емкости (4) при помощи осветительной системы, формирование изображения указанной поверхности горловины и анализ изображения для определения наличия дефекта на поверхности горловины, отличающийся тем, что освещение осуществляют при помощи, по меньшей мере, одной осветительной системы (11, 20), обеспечивающей в каждой точке поверхности (S), охватывающей поверхность (s) горловины (3), квазипостоянное освещение под всеми углами или частью углов падения, заключенных, по меньшей мере, в части телесного угла в 2 стерадиан; и блокируют, по меньшей мере, часть световых лучей, которые освещают области вне поверхности (s) горловины (3) и которые способны порождать паразитные отражения в изображении горловины, при этом указанная поверхность (S) расположена так, что поверхность (s) горловины (3) расположена в плоскости, в которой находится освещаемая поверхность (S).
2. Способ по п.1, отличающийся тем, что блокируют световые лучи, освещающие внешнюю часть и/или внутреннюю часть горловины (3) вне поверхности (s).
3. Осветительное устройство для установки (2), выполненной с возможностью выявления по изображению наличия дефектов на поверхности (s) горловины прозрачной или светопроницаемой емкости (4), отличающееся тем, что содержит, по меньшей мере, одну осветительную систему (11, 20), обеспечивающую в каждой точке поверхности (S), охватывающей поверхность (s) горловины, квазипостоянное освещение под всеми углами или частью углов падения, заключенных, по меньшей мере, в части телесного угла в 2 стерадиан; и средства (12) для блокирования, по меньшей мере, части световых лучей, которые освещают области вне поверхности (s) горловины (3) и которые способны порождать паразитные отражения в изображении горловины, при этом указанная поверхность (S) расположена так, что поверхность (s) горловины (3) расположена в плоскости, в которой находится освещаемая поверхность (S).
4. Устройство по п.3, отличающееся тем, что средства (12) для блокирования световых лучей, которые освещают области вне поверхности (s) горловины (3), выполнены в виде маски (121), блокирующей световые лучи, поступающие на внешнюю часть горловины вне поверхности (s), и/или маски (122), блокирующей световые лучи, поступающие на внутреннюю часть горловины вне поверхности (s).
5. Устройство по п.3, отличающееся тем, что средства (12) для блокирования световых лучей вне поверхности горловины выполнены в виде жидкокристаллического экрана с управляемыми концентрическими кольцами, и предусмотрен модуль управления для обеспечения прозрачности или непрозрачности указанных колец независимо друг от друга.
6. Устройство по п.5, отличающееся тем, что модуль управления жидкокристаллическим экраном выполнен с возможностью управления для сохранения и/или изменения в интерактивном режиме конфигурации управляемых концентрических колец.
7. Устройство по п.4, отличающееся тем, что содержит противоотражательную прозрачную пластину (30), на которой установлены маски (121, 122).
8. Устройство по п.3, отличающееся тем, что осветительная система (11) образована источником однородного рассеянного света полусферической формы.
9. Устройство по п.8, отличающееся тем, что осветительная система (11) содержит интегрирующую полусферу (13), освещаемую изнутри при помощи кольца из источников (14) света, расположенных возле основания полусферы.
10. Устройство по п.8, отличающееся тем, что осветительная система (11) образована светопроницаемой рассеивающей полусферой (32), освещаемой снаружи набором источников (31) света, направленных к центру указанной полусферы (32).
11. Устройство по п.3, отличающееся тем, что осветительная система (11) содержит, по меньшей мере, один источник (40) однородного рассеянного света цилиндрической формы и/или источник (45) однородного рассеянного света в форме широкого кольца, и/или источник (48) однородного рассеянного света конической формы.
12. Устройство по любому из пп.3, 8-11, отличающееся тем, что осветительная система (11) содержит поле (Z) зрения камеры (6), центр которого лежит на оси симметрии осветительной системы.
13. Устройство по п.12, отличающееся тем, что содержит осветительную систему (20), дополнительную к осветительной системе (11), причем в поле (Z) зрения камеры предусмотрен оптический элемент (21), обеспечивающий, с одной стороны, отражение или передачу в направлении поверхности (s) горловины освещения, вырабатываемого дополнительной осветительной системой (20), а с другой стороны, передачу и отражение в направлении камеры (6) световых лучей, отраженных от поверхности (s) горловины.
14. Устройство по п.13, отличающееся тем, что содержит средства управления осветительной системой (11) и дополнительной осветительной системой (20), выполненные с возможностью осуществления совместного или раздельного функционирования осветительных систем (11, 20, 40, 45, 48).
15. Установка оптического обследования для определения наличия дефектов на поверхности горловины прозрачной или светопроницаемой емкости (4), отличающаяся тем, что содержит осветительное устройство (1), охарактеризованное в любом из пп.3-14; камеру (6), установленную для приема световых лучей, отраженных от поверхности (s) горловины емкости; и модуль (7) обработки и анализа, соединенный с камерой (6) и выполненный с возможностью анализа изображения, полученного из видеосигнала камеры, для определения наличия поверхностного дефекта.
РИСУНКИ
|
|