|
(21), (22) Заявка: 2009123698/28, 22.06.2009
(24) Дата начала отсчета срока действия патента:
22.06.2009
(46) Опубликовано: 20.08.2010
(56) Список документов, цитированных в отчете о поиске:
WO 2004013613 А1, 12.02.2004. RU 2224236 С2, 20.02.2004. SU 1810797 А1, 23.04.1993. SU 1824533 А1, 30.06.1993. Безменов В.С. и др. Приборы и системы управления, Пневматические измерительные преобразователи объема для контроля качества картофеля, 9, 1997.
Адрес для переписки:
630020, г.Новосибирск-20, а/я 78, А.С. Турковскому
|
(72) Автор(ы):
Кузьмин Георгий Петрович (RU), Чжан Рудольф Владимирович (RU), Панин Владимир Николаевич (RU)
(73) Патентообладатель(и):
Институт мерзлотоведения им. П.И. Мельникова Сибирского отделения Российской академии наук (RU)
|
(54) СПОСОБ ОПРЕДЕЛЕНИЯ ОБЪЕМА И ПЛОТНОСТИ ЧАСТИЦ ГРУНТА И УСТРОЙСТВО ДЛЯ ЕГО ОСУЩЕСТВЛЕНИЯ
(57) Реферат:
Предложенный способ и устройство относятся к стройиндустрии, в частности к способам оценки качества твердых неорганических материалов, преимущественно имеющих мелкопористую структуру, и может быть использовано в строительстве, геологии и минералогии. Способ определения объема и плотности частиц грунта заключается в том, что пробы грунта помещают в емкость для пробы, которая соединена с измерительной емкостью. Также емкость для пробы соединена и с датчиком давления пневмопроводом с вентилем. Затем закрывают вентиль между измерительной емкостью и емкостью с пробой. Далее в измерительной емкости устанавливают давление, которое выше атмосферного. Затем открывают кран между измерительной емкостью и емкостью с пробой, снимают показание датчика давления и вычисляют объем частиц. При этом объем частиц грунта вычисляют по формуле: где p1 – избыточное давление в емкости объемом V1, р2 – избыточное давление в системе объемом (V1+V2-V). А плотность частиц грунта находят по формуле .
Техническим результатом изобретения является повышение точности измерения объема и плотности частиц грунта. 2 н. и 2 з.п. ф-лы, 1 ил.
Изобретение относится к стройиндустрии, в частности к способам оценки качества твердых неорганических материалов, преимущественно имеющих мелкопористую структуру, и может быть использовано в строительстве, геологии и минералогии.
Известен «СПОСОБ ОПРЕДЕЛЕНИЯ ПЛОТНОСТИ ТВЕРДОЙ ФАЗЫ КАПИЛЛЯРНО-ПОРИСТЫХ НЕОРГАНИЧЕСКИХ МАТЕРИАЛОВ» RU 2224236 [1], включающий пикнометрическое измерение удельного объема частиц.
Недостатком известного способа является низкая технологичность, приводящая к повышенному количеству операций, низкая скорость анализа.
Наиболее близким к заявляемому техническому решению является «Определение объема и плотности пористых образцов» WO/2004/013613 [2].
Способ включает помещение пробы грунта в емкость для пробы, соединенную с измерительной емкостью и датчиком давления пневмопроводом с вентилем, закрывание вентиля между измерительной емкостью и емкостью с пробой, установление давления неравновесного с атмосферным в измерительной емкости, открывание крана между измерительной емкостью и емкостью с пробой, уравнивающего давление в емкостях, снятие показаний датчика давления, вычисление объема частиц.
Устройство для определения объема частиц образца содержит герметичную емкость, соединенную с измерительной емкостью и датчиком давления пневмопроводом с вентилем. В системе присутствует вакуумный насос для эвакуации (создания разрежения) воздуха в измерительном сосуде.
Способ обладает повышенной по сравнению с известными пикнометрическими способами технологичностью, скоростью анализа, позволяет достаточно быстро производить анализ. Недостатком способа является систематическая погрешность, обусловленная вакуумированием образца и выходом из образца газов (в том числе водяного пара), искажающих результаты измерения.
Техническим результатом предлагаемого изобретения является повышение точности измерения.
Технический результат достигается тем, что в способе для создания давления, неравновесного с атмосферным используют пневмонасос, нагнетающий давление выше атмосферного, соединенный с измерительной емкостью, а объем частиц грунта вычисляют по формуле:

,
где р1 – избыточное давление в емкости объемом V1; р2 – избыточное давление в системе объемом (V1+V2-V0);
Если необходимо, численное значение плотности частиц грунта находят по формуле:

Для осуществления способа можно применить устройство, содержащее герметичную емкость, соединенную с измерительной емкостью и датчиком давления пневмопроводом с вентилем. Отличие предложенного способа от известного состоит в наличии пневмонасоса (компрессора), нагнетающего в измерительную емкость давление выше атмосферного.
Пневмонасос может быть соединен с измерительной емкостью посредством вентиля.
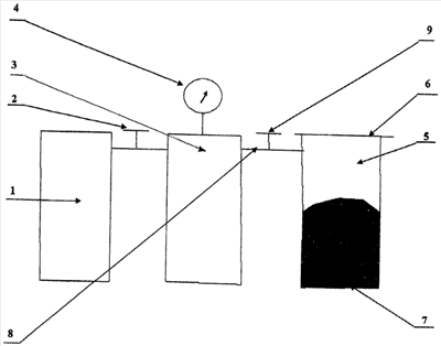
Устройство показано на чертеже, где
1 – компрессор;
2 – кран компрессора;
3 – измерительная емкость;
4 – манометр;
5 – емкость для образца;
6 – крышка емкости;
7 – высушенный грунт;
8 – пневмопровод между измерительной емкостью и емкостью с грунтом;
9 – вентиль.
Способ определения объема частиц грунта осуществляют следующим образом:
В емкость 5 всыпают высушенный грунт 7, закрывают герметичную крышку 6, закрывают кран 9, открывают кран 2, впускают сжатый воздух из компрессора 1 в емкость 3, снимают показания манометра 4, открывают кран 9, снимают показания манометра 4, определяют объем частиц грунта по формуле:


где p1 – избыточное давление в емкости объемом V1; p2 – избыточное давление в системе объемом (V1+V2-V); и находят плотность частиц грунта по формуле:

Применение повышенного по сравнению с атмосферным давления при измерении позволяет исключить систематическую погрешность, вызванную выделением газов (в том числе водяных паров), из грунта при пониженном по отношению к атмосферному давлении.
Применение пневмонасоса (компрессора) в устройстве позволяет реализовать способ измерения объема пористых тел, в том числе грунта. По результатам измерения также можно вычислить плотность пористых тел, в том числе частиц грунта.
Если конструкция пневмонасоса не позволяет сохранять давление после его выключения, и/или неизвестен объем полости компрессора, пневматически присоединенной к измерительной емкости, между пневмонасосом и измерительной емкостью устанавливают вентиль.
Промышленное применение. Изобретение может быть с успехом применено в промышленности для измерения объема пористых тел и измерения удельной плотности фунта.
Формула изобретения
1. Способ определения объема частиц грунта, включающий помещение пробы грунта в емкость для пробы, соединенную с измерительной емкостью и датчиком давления пневмопроводом с вентилем, закрывание вентиля между измерительной емкостью и емкостью с пробой, установление давления неравновесного с атмосферным в измерительной емкости, открывание крана между измерительной емкостью и емкостью с пробой, уравновешивающего давление в емкостях, снятие показаний датчика давления, вычисление объема частиц, отличающийся тем, что дополнительно содержит пневмонасос, нагнетающий давление выше атмосферного, соединенный с измерительной емкостью, а объем частиц грунта вычисляют по формуле

 где p1 – избыточное давление в емкости объемом V1; р2 – избыточное давление в системе объемом (V1+V2-V).
2. Способ по п.1, отличающийся тем, что плотность частиц грунта находят по формуле

3. Устройство для осуществления способа по п.1, содержащее герметичную емкость, соединенную с измерительной емкостью и датчиком давления пневмопроводом с вентилем, отличающееся тем, что дополнительно содержит пневмонасос, соединенный с измерительной емкостью.
4. Устройство по п.3, отличающееся тем, что пневмонасос соединен с измерительной емкостью посредством вентиля.
РИСУНКИ
|