|
|
(21), (22) Заявка: 2009106269/28, 24.02.2009
(24) Дата начала отсчета срока действия патента:
24.02.2009
(46) Опубликовано: 20.08.2010
(56) Список документов, цитированных в отчете о поиске:
Новиков С.А., Петров В.А. Установки взрывного типа для механических испытаний материалов конструкций, (обзор). – М.: Государственный комитет по использованию атомной энергии, ЦНИИАТОМИНФОРМ, 1989, с.20, рис.11. SU 1670469 А2, 15.08.1991. SU 1442847 А2, 07.12.1988. SU 1295252 A2, 07.03.1987. Ботвинкин А.К., Родионов А.В., Хворостин В.Н. Взрывныеударные установки для экспериментальной отработки ракетно-артиллерийского вооружения на воздействие интенсивных механических нагрузок. Известия Российской академии ракетных и артиллерийских наук. – М., 2006, Вып. 3 (48), с.14-18.
Адрес для переписки:
607188, Нижегородская обл., г. Саров, пр. Мира, 37, ФГУП “РФЯЦ-ВНИИИЭФ”, начальнику ОПИНТИ
|
(72) Автор(ы):
Казаков Алексей Евгеньевич (RU), Крот Михаил Романович (RU), Никулин Виталий Михайлович (RU), Макаров Виктор Аркадьевич (RU)
(73) Патентообладатель(и):
Российская Федерация, от имени которой выступает государственный заказчик – Государственная корпорация по атомной энергии “Росатом”- Корпорация (RU), Федеральное государственное унитарное предприятие “Российский федеральный ядерный центр – Всероссийский научно-исследовательский институт экспериментальной физики” – ФГУП “РФЯЦ-ВНИИЭФ” (RU)
|
(54) УДАРНЫЙ СТЕНД
(57) Реферат:
Изобретение относится к испытательной технике и может быть использовано для испытаний объектов на воздействие перегрузок. Ударный стенд содержит ствол, соединенный с одним торцом цилиндрической взрывной камеры, внутри которой размещен заряд взрывчатого вещества, резьбовую заглушку, установленную с другого торца взрывной камеры. Между зарядом взрывчатого вещества и заглушкой установлено одно или несколько колец с резьбой на наружной боковой поверхности, причем наружный диаметр каждого кольца равен наружному диаметру заглушки, а внутренний диаметр выполнен из условия обеспечения равенства площади поверхности каждого из колец, подпадающей под нагружающее воздействие заряда взрывчатого вещества в соосном с резьбой направлении, соответствующей площади на поверхности заглушки. Между кольцом и заглушкой и между кольцами выполнены герметизированные от попадания продуктов взрыва зазоры из условия исключения взаимодействия колец между собой и заглушкой под нагружающим воздействием продуктов взрыва заряда взрывчатого вещества. Технический результат заключается в увеличении ресурса ударного стенда. 3 ил.
Изобретение относится к испытательной технике и может быть использовано для испытаний объектов на воздействие перегрузок.
Известен ряд взрывных ударных установок, основанных на использовании энергии взрыва взрывчатого вещества (ВВ), подрываемого в закрытом объеме взрывной камеры, состоящих из цилиндрической взрывной камеры с зарядом ВВ, с одной стороны которого (в разгонном отсеке в виде ствола) установлен объект испытаний, с другой массивная заглушка с возможностью перемещения под действием давления продуктов взрыва и последующего торможения. Масса заглушки подбирается такой, чтобы она выходила из камеры после окончания заданного воздействия на объект испытаний (см. Ботвинкин А.К., Родионов А.В., Хворостин В.Н. «Взрывные ударные установки для экспериментальной отработки ракетно-артиллерийского вооружения на воздействие интенсивных механических нагрузок» в журнале «Известия Российской академии ракетных и артиллерийских наук», Москва, 2006 г., Вып. 3 (48), стр.14-18).
Недостатком данных взрывных ударных установок является сложность изготовления и эксплуатации массивной (3-10 т) заглушки с устройствами обеспечения ее перемещения и последующего торможения.
Известен ударный стенд взрывного типа, выбранный в качестве прототипа, содержащий ствол, соединенный с одним торцом цилиндрической взрывной камеры, внутри которой помещен заряд ВВ, резьбовую заглушку, установленную с другого торца взрывной камеры. Внутри ствола устанавливается поршень-ударник, нагружающий демпфер и объект испытания. Для уменьшения утечек газа поршень снабжен самоуплотняющейся прокладкой (см. Новиков С.А., Петров В.А. Установки взрывного типа для механических испытаний материалов конструкций, (обзор), Москва, Государственный комитет по использованию атомной энергии, ЦНИИАТОМИНФОРМ, 1989 г., стр.20, рис.11).
Недостатком данного ударного стенда является небольшой ресурс взрывной камеры и резьбовой заглушки. Практика показала, что после 2-5 опытов резьба срезается под воздействием интенсивных взрывных нагрузок на заглушку.
Задачей предлагаемого изобретения является снижение нагрузок в резьбовом соединении заглушки с взрывной камерой.
Технический результат: увеличение ресурса ударного стенда.
Поставленная задача решается тем, что в ударном стенде, содержащем ствол, соединенный с одним торцом цилиндрической взрывной камеры, внутри которой размещен заряд ВВ, резьбовую заглушку, установленную с другого торца взрывной камеры, в отличие от прототипа между зарядом ВВ и заглушкой установлено одно или несколько колец с резьбой на наружной боковой поверхности, причем наружный диаметр каждого кольца равен наружному диаметру заглушки, а внутренний диаметр выполнен из условия обеспечения равенства площади поверхности каждого из колец, подпадающей под нагружающее воздействие заряда ВВ в соосном с резьбой направлении, соответствующей площади на поверхности заглушки, между кольцом и заглушкой и между кольцами выполнены герметизированные от попадания продуктов взрыва зазоры из условия исключения взаимодействия колец между собой и заглушкой под нагружающим воздействием продуктов взрыва заряда ВВ.
Установка в ударном стенде, содержащем ствол, соединенный с одним торцом цилиндрической взрывной камеры, внутри которой размещен заряд ВВ, резьбовую заглушку, установленную с другого торца взрывной камеры, между зарядом ВВ и заглушкой, одного или нескольких колец с резьбой на наружной боковой поверхности, причем наружный диаметр каждого кольца равен наружному диаметру заглушки, а внутренний диаметр выполнен из условия обеспечения равенства площади поверхности каждого из колец, подпадающей под нагружающее воздействие заряда ВВ в соосном с резьбой направлении, соответствующей площади на поверхности заглушки, позволяет поровну распределить нагрузку между кольцами и заглушкой и, соответственно, уменьшить нагрузку, действующую на резьбовое соединение заглушки с взрывной камерой, в N=К+1 раз, где К – количество колец (так, например, установка 2-х колец позволяет уменьшить нагрузку на резьбовое соединение в 3 раза), что существенно увеличивает ресурс ударного стенда.
Выполнение между кольцом и заглушкой и между кольцами зазоров, герметизированных от попадания продуктов взрыва, из условия исключения взаимодействия колец между собой и заглушкой под нагружающим воздействием продуктов взрыва также способствует равномерному распределению нагрузки продуктов взрыва между кольцом и заглушкой и между кольцами в соосном с резьбой направлении.
Изобретение поясняется чертежами:
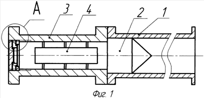
на фиг.1 изображен общий вид установки;
на фиг.2 изображены элементы конструкции заглушки и колец;
на фиг.3 изображены элементы конструкции герметизации зазоров.
Ударный стенд содержит ствол 1 с установленным в нем объектом испытания 2. Ствол 1 соединен с одним торцом цилиндрической взрывной камеры 3, внутри которой помещен заряд ВВ 4. На втором торце взрывной камеры 3 установлена резьбовая заглушка 5. Между зарядом ВВ 4 и заглушкой 5 установлено одно 6 или несколько колец (в данном примере два кольца: 6 и 7) с резьбой на наружной боковой поверхности. Наружный диаметр каждого кольца равен наружному диаметру заглушки, а внутренний диаметр выполнен из условия обеспечения равенства площади поверхности каждого из колец, подпадающей под нагружающее воздействие заряда ВВ 4 в соосном с резьбой направлении, соответствующей площади на поверхности заглушки 5. Причем основная часть этих поверхностей находится на различном расстоянии от заряда ВВ 4. Зазоры между кольцом 6 и заглушкой 5 и между кольцами 6 и 7 выполнены из условия исключения взаимодействия колец между собой и заглушкой под нагружающим воздействием продуктов взрыва заряда ВВ 4. На кольцах 6 и 7 установлены резиновые прокладки 8, герметизирующие зазоры от попадания в них продуктов взрыва, поджатые металлическими кольцами 9 с упорами 10, которые обеспечивают заданный зазор при установке кольца 6 и заглушки 5 во взрывную камеру 3.
Работает ударный стенд в следующем порядке.
Во взрывной камере 3 инициируется заряд ВВ 4. Давление продуктов взрыва действует на объект испытаний 2 и последовательно – на поверхности колец 7, 6 и заглушки 5, подпадающие под нагружающее воздействие заряда ВВ 4 в соосном с резьбой направлении. Резиновые прокладки 8, поджатые металлическими кольцами 9, герметизируют зазоры между кольцами 7, 6 и кольцом 6 и заглушкой 5 от попадания в них продуктов взрыва и, соответственно, исключают воздействие продуктов взрыва заряда ВВ 4 на поверхности колец 7, 6 и заглушки 5 в зазорах. Нагружающее воздействие продуктов взрыва заряда ВВ в соосном с резьбой направлением распределяется поровну между заглушкой 5 и кольцами 6 и 7. Этому также содействует выбор зазоров , исключающих силовое взаимодействие колец 7, 6 и заглушки 5 при их деформации под нагружающим воздействием продуктов взрыва заряда ВВ 4. Т.е. (в данном примере) нагрузка на резьбу заглушки 5 уменьшается в три раза и, соответственно, увеличивается ее ресурс по сравнению с прототипом.
Следует отметить, что увеличение прочности резьбового соединения путем увеличения толщины заглушки и, соответственно, количества витков резьбы невозможно, так как известно, что основную нагрузку несут первые витки резьбы: на первый виток приходится ~34% общей нагрузки, на второй ~23% (см. В.Н.Боков, Детали машин. – М.: Высшая школа, 1960).
Очередность принятия нагрузок от колец и заглушки (на которые продукты взрыва действуют в начале нагружения последовательно) корпусом взрывной камеры 3 несколько уменьшает динамичность воздействия, что повышает ее прочность и, соответственно, увеличивает ее ресурс.
Таким образом, предложенное изобретение приводит к снижению нагрузок в резьбовом соединении заглушки со взрывной камерой и существенно увеличивает ресурс ударного стенда.
Формула изобретения
Ударный стенд, содержащий ствол, соединенный с одним торцом цилиндрической взрывной камеры, внутри которой размещен заряд взрывчатого вещества, резьбовую заглушку, установленную с другого торца взрывной камеры, отличающийся тем, что между зарядом взрывчатого вещества и заглушкой установлено одно или несколько колец с резьбой на наружной боковой поверхности, причем наружный диаметр каждого кольца равен наружному диаметру заглушки, а внутренний диаметр выполнен из условия обеспечения равенства площади поверхности каждого из колец, подпадающей под нагружающее воздействие заряда взрывчатого вещества в соосном с резьбой направлении, соответствующей площади на поверхности заглушки, между кольцом и заглушкой и между кольцами выполнены герметизированные от попадания продуктов взрыва зазоры из условия исключения взаимодействия колец между собой и заглушкой под нагружающим воздействием продуктов взрыва заряда взрывчатого вещества.
РИСУНКИ
|
|