|
|
(21), (22) Заявка: 2009108875/28, 10.03.2009
(24) Дата начала отсчета срока действия патента:
10.03.2009
(46) Опубликовано: 20.08.2010
(56) Список документов, цитированных в отчете о поиске:
SU 1571558 A1, 15.06.1990. SU 1737420 A1, 30.05.1992. RU 2078370 C1, 27.04.1997. SU 1424745 A3, 15.09.1988. RU 2101469 C1, 10.01.1998.
Адрес для переписки:
443066, г.Самара, 1-й Безымянный пер., 18, СамГУПС, патентный отдел
|
(72) Автор(ы):
Ковтунов Александр Владимирович (RU), Лаврусь Ольга Евгеньевна (RU), Мулюкин Олег Петрович (RU), Финогенов Сергей Александрович (RU)
(73) Патентообладатель(и):
Государственное образовательное учреждение высшего профессионального образования “Самарский государственный университет путей сообщения” (СамГУПС) (RU)
|
(54) РЕГУЛЯТОР ДАВЛЕНИЯ
(57) Реферат:
Изобретение относится к измерительной технике, а именно к регуляторам давления газовых сред, и может быть использовано в пневмогидросистемах с ограниченным жизненным пространством и в пневматических системах энергетических установок с жесткими требованиями к точности величины регулируемого давления. Техническим результатом изобретения является повышение точности величины регулируемого давления и расширение функциональных возможностей регулятора и области применения за счет введения задатчика усилия электромагнита. Регулятор давления содержит корпус с подводящим и отводящим патрубками сжатого газа. Между патрубками выполнено конусное седло, относительно которого в корпусе сцентрирован конусный клапан, жестко соединенный с чувствительным элементом в виде дифференциального поршня со стороны его меньшего диаметра. Запоршневая полость дифференциального поршня сообщена с отводящим патрубком сжатого газа, а сам поршень введен в контакт с задатчиком усилия. В регулятор давления дополнительно введены регулируемый реостат с движком, источник постоянного тока, электрическая цепь и соленоидная катушка. Дифференциальный поршень и соленоидная катушка образуют электромагнит. Со стороны большего диаметра дифференциального поршня жестко установлен хвостовик из диэлектрического материала, который шарнирно связан с движком регулируемого реостата. Соленоидная катушка включена последовательно в электрическую цепь. Реостат установлен с возможностью воздействия на упомянутую электрическую цепь, увеличивая или уменьшая за счет своего омического сопротивления электромагнитное поле соленоидной катушки. 1 ил.
Изобретение относится к измерительной технике, а конкретнее к регуляторам давления газовых сред, и может быть использовано в пневмогидросистемах с ограниченным жизненным пространством и в пневматических системах энергетических установок с жесткими требованиями к точности величины регулируемого давления.
Известен регулятор давления «до себя», включающий корпус с подводящим и отводящим патрубками, выполненную между ними сооснорасположенную пару седел, относительно которых сцентрирован двухсторонний клапан, и двуплечий рычаг с зафиксированной в корпусе осью вращения, первое из плеч которого взаимодействует с одной стороны с уплотненным хвостовиком двухстороннего клапана, а с другой стороны со штоком мембранного исполнительного механизма, управляющая полость которого соединена с полостью подводящего патрубка, а второе плечо двуплечего рычага нагружено грузом, тарированным по массе [Гуревич Д.Ф. Основы расчета трубопроводной арматуры. – 2-е изд., исправ. и дополн. – M.: Машгиз: Ленинград. отд-ние, 1962. – 410 с.: ил., фиг.9, б; с.37].
Недостатком данного регулятора является ограниченность области его применения ввиду наличия в нем рычажно-грузовой системы, исключающей его использование в объектах, изменяющих свое положение в пространстве (манипуляторы, наземный и аэрокосмический транспорт, строительно-дорожная техника и др.). В силу этого, данный класс регуляторов используется только в наземных стационарных пневмогидротопливных объектах с постоянным (фиксируемым) положением в пространстве входящей в их состав клапанно-регулирующей арматуры (наземные пневмогидравлические заправочные комплексы транспортной техники, стационарные технологические установки на газовых и жидкостных рабочих средах по синтезированию химических компонентов и др.).
21].
К недостаткам данного регулятора следует отнести:
– значительную инерционность (низкое быстродействие) чувствительного элемента на базе турболопастного механизма, обусловленную значительными габаритами и массой его составляющих элементов, проворачиваемых вокруг оси вращения в процессе регулирования вызываемого расхода;
– трудоемкость изготовления высокоточных турболопастного механизма и его реечно-зубчатой передачи и потребность в значительных временных и финансовых затратах на индивидуальную доводку расходной характеристики каждого регулятора из партии агрегатов, поступивших после сборки на испытания;
– ограниченность области применения ввиду конструктивной сложности создания малогабаритных конструкций такого рода для пневмогидросистем с малыми проходными сечениями и невысокой производительностью по расходу рабочей среды;
– существенный допуск на величину выходного давления за регулятором, обусловленный применением в его конструкции пружинного задатчика нагрузки.
Данное техническое решение выбрано в качестве прототипа.
Общеизвестно, что даже пружины одной партии изготовления в силу специфики технологического процесса их навивки имеют значительное расхождение (разброс) по величине жесткости, регламентируемое государственным стандартом на конкретные типы пружин сжатия [ГОСТ 13766-86. Пружины винтовые цилиндрические сжатия и растяжения из стали круглого сечения. Основные параметры (по классам и разрядам)], наиболее широко применяемые в клапанном агрегатостроении. Это приводит к существенному увеличению допуска на величину выходного (регулируемого) давления, воспринимаемого как неизбежное следствие применения стандартизированных пружин. Селекционная выбраковка этих пружин в группы по жесткости лишь частично сужает пределы варьирования их жесткости, но сопряжена с временными и финансовыми затратами.
Техническим результатом изобретения является повышение точности величины регулируемого давления и расширения функциональных возможностей регулятора и области применения за счет введения в качестве задатчика усилия электромагнита.
Технический результат достигается тем, что в известный регулятор давления, содержащий корпус с подводящим и отводящим патрубками сжатого газа, выполненное между ними конусное седло, относительно которого в корпусе сцентрирован конусный клапан, жестко соединенный с чувствительным элементом в виде дифференциального поршня со стороны его меньшего диаметра, запоршневая полость которого сообщена с отводящим патрубком сжатого газа, а сам дифференциальный поршень введен в контакт с задатчиком усилия, противоположно направленного усилию от воздействия сжатого газа на дифференциальный поршень, дополнительно введены регулируемый реостат с движком, источник постоянного тока, электрическая цепь, которая состоит из выключателя цепи, переменного сопротивления, и соленоидная катушка, установленная коаксиально снаружи корпуса регулятора относительно дифференциального поршня, при этом упомянутые дифференциальный поршень и соленоидная катушка образуют электромагнит, со стороны большего диаметра дифференциального поршня жестко установлен хвостовик из диэлектрического материала, который шарнирно связан с движком регулируемого реостата, соленоидная катушка включена последовательно в электрическую цепь, а реостат установлен с возможностью воздействия на упомянутую электрическую цепь, увеличивая или уменьшая за счет своего омического сопротивления электромагнитное поле соленоидной катушки.
С помощью электромагнита при значительных диапазонах изменения величин входного давления и потребляемого расхода сжатого газа со стороны отводящего патрубка обеспечивается повышение точности величины регулируемого давления, плавность и стабильность силовой характеристики устройства.
За счет введения в качестве задатчика усилия электромагнита и совмещения в нем функций двух клапанов (электропневмоклапана и собственно редуцирующего клапана) расширяются функциональные возможности устройства.
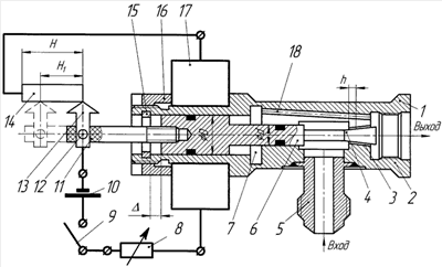
На чертеже представлен предлагаемый регулятор давления. Регулятор давления состоит из корпуса 1, выходного патрубка 2 отвода сжатого газа с коническим седлом 3, конусного клапана 4, входного патрубка 5 подвода сжатого газа, дифференциального поршня 6, запоршневой полости 7, переменного сопротивления 8, выключателя цепи 9, источника постоянного тока 10, хвостовика 11, шарнира 12, регулятора реостата 13, реостата 14, стопорного кольца 15, фиксирующей гайки 16, соленоидной катушки 17, канала 18.
Регулятор давления работает следующим образом.
В исходном положении регулятора давления выключатель 9 отключен: электромагнит также отключен в силу обесточивания соленоидной катушки, и усилие от ее электромагнитного поля на дифференциальный поршень не воздействует. При этом под действием входного давления газа дифференциальный поршень 6 переместится влево до посадки жестко связанного с ним конического клапана 4 на коническое седло 3 с соответствующим перекрытием тракта «Вход» – «Выход» в корпусе 1 с входным 5 и выходным 2 патрубками. При указанном перемещении дифференциального поршня 6 произойдет соответствующее перемещение движка 13 на ход H1 (H1=h) на рабочей зоне реостата 14 длиной Н.
При включении выключателя сети 9 электроэнергия от источника постоянного тока 10 запитывает соленоидную катушку 17, фиксируемую гайкой 16, перед которой установлено переменное сопротивление 8, а создаваемое ею электромагнитное поле воздействует на дифференциальный поршень 6 с усилием, большим по величине и полярным по направлению усилию от воздействия сжатого газа на дифференциальный поршень 6 по поверхности диаметром d. При этом, в силу указанного неравенства усилий, дифференциальный поршень 6 начнет перемещение вправо, обеспечивая плавное открытие клапанно-седельной пары 3, 4. Одновременно с перемещением дифференциального поршня 6 также вправо начнет перемещаться движок 13 на шарнире 12, который связан с дифференциальным поршнем 6 хвостовиком 11, фиксируемым стопорным кольцом 15 из первоначального положения (H1), что приведет к увеличению рабочей зоны реостата 14, а следовательно, к увеличению его омического сопротивления. Вследствие этого усилие электромагнитного поля соленоидной катушки 17, обеспечивающее перемещение вправо поршня 6, начнет уменьшаться, и при достижении равенства величины этого усилия величине усилия от воздействия входного давления газа на дифференциальный поршень 6 по поверхности диаметром d дифференциальный поршень 6, а вместе с ним и клапан 4 остановятся. При этом со стороны «Выход» будет выдаваться редуцированное давление сжатого газа, которое будет также через канал 18 поступать в запоршневую полость 7, создавая дополнительное усилие, воздействующее на дифференциальный поршень 6 по площади, ограниченной диаметрами D и d. При достижении равенства усилия, развиваемого соленоидной катушкой 17, суммарному усилию от воздействия входного давления на площадь поршня 6 диаметром d и от редуцированного воздействия на площадь поршня 6, ограниченную диаметрами D и d, подвижная система устройства войдет в состояние равновесия, а через дросселирующую щель конусной клапанно-седельной пары будет выдаваться стабильное по величине редуцируемое давление.
Равновесие этих трех усилий может быть нарушено в двух случаях:
– при изменении (росте или падении) величины входного давления в подводящем патрубке;
– при изменении (увеличении или снижении) величины потребляемого расхода газа из отводящего патрубка.
Каждое такое нарушение равновесия подвижной системы «клапан 4 – дифференциальный поршень 6 – движок 13 реостата 14» обуславливает соответствующее (влево или вправо) перемещение дифференциального поршня 6, автоматически изменяющего (уменьшающего или увеличивающего) задействованную в электрической цепи длину рабочей зоны реостата 14 (его омического сопротивления, с соответствующим увеличением или уменьшением электромагнитного поля соленоидной катушки 17), а следовательно, и прикладываемое к дифференциальному поршню 6 усилие, которое, в конечном счете, обеспечивает необходимую корректировку осевого положения клапана 4 относительно седла 3 (площадь его проходного сечения) для достижения заданной величины редуцируемого давления сжатого газа в отводящем патрубке на «Выходе».
Целесообразно применение этого устройства в пневмогидросистемах наземного транспорта и энергетических установках различного назначения, размещаемых в отсеках ограниченного объема, к точности выходных параметров которых предъявляются повышенные требования, а также в системах, положение которых меняется относительно земли (роботы, манипуляторы, аэрокосмическая промышленность и т.д.).
Предлагаемый регулятор давления повышает точность регулирования, плавность и стабильность силовой характеристики, а также расширяет функции электро-пневмоклапана и редуцирующего клапана.
Это, в свою очередь, обеспечивает снижение номенклатуры используемых в пневмогидротопливных системах агрегатов автоматики и управления.
Формула изобретения
Регулятор давления, состоящий из корпуса с подводящим и отводящим патрубками сжатого газа, выполненного между ними конусного седла, относительно которого в корпусе сцентрирован конусный клапан, жестко соединенный с чувствительным элементом в виде дифференциального поршня со стороны его меньшего диаметра, запоршневая полость которого сообщена с отводящим патрубком сжатого газа, а сам дифференциальный поршень введен в контакт с задатчиком усилия, противоположно направленного усилию от воздействия сжатого газа на дифференциальный поршень, отличающийся тем, что в него дополнительно введены регулируемый реостат с движком, источник постоянного тока, электрическая цепь, которая состоит из выключателя цепи, переменного сопротивления, и соленоидная катушка, установленная коаксиально снаружи корпуса регулятора относительно дифференциального поршня, при этом упомянутые дифференциальный поршень и соленоидная катушка образуют электромагнит, со стороны большего диаметра дифференциального поршня жестко установлен хвостовик из диэлектрического материала, который шарнирно связан с движком регулируемого реостата, соленоидная катушка включена последовательно в электрическую цепь, а реостат установлен с возможностью воздействия на упомянутую электрическую цепь, увеличивая или уменьшая за счет своего омического сопротивления электромагнитное поле соленоидной катушки.
РИСУНКИ
|
|