|
|
(21), (22) Заявка: 2009120823/28, 01.06.2009
(24) Дата начала отсчета срока действия патента:
01.06.2009
(46) Опубликовано: 20.08.2010
(56) Список документов, цитированных в отчете о поиске:
SU 1744531 A1, 30.06.1992. RU 2041452 C1, 09.08.1995. RU 2166742 C1, 10.05.2001. RU 2312319 C2, 10.12.2007. DE 19754613 A1, 18.06.1998.
Адрес для переписки:
440026, г.Пенза, ул. Володарского, 8/10, ОАО “НИИ физических измерений”
|
(72) Автор(ы):
Мокров Евгений Алексеевич (RU), Белозубов Евгений Михайлович (RU), Блинов Александр Вячеславович (RU), Исаков Сергей Алексеевич (RU), Козлова Юлия Александровна (RU), Тихомиров Дмитрий Вячеславович (RU)
(73) Патентообладатель(и):
Открытое акционерное общество “Научно-исследовательский институт физических измерений” (RU)
|
(54) ТОНКОПЛЕНОЧНЫЙ ДАТЧИК ДАВЛЕНИЯ
(57) Реферат:
Изобретение относится к измерительной технике, в частности к датчикам, предназначенным для использования в различных областях науки и техники, связанных с измерением давления в условиях воздействия повышенных виброускорений и широкого диапазона температур. Техническим результатом изобретения является повышение виброустойчивости датчика давления. Тонкопленочный датчик давления содержит чувствительный элемент, накидную гайку. Внутри накидной гайки частично расположен цилиндрический корпус с элементами коммутации. Датчик также содержит кабельный ввод, кабельную перемычку и установленную на цилиндрическом корпусе глухую резьбовую втулку, на боковой поверхности которой выполнен патрубок с отверстием, расположенный к корпусу под острым углом . Патрубок частично или полностью выполнен в виде локального и плавного утолщения боковой стенки втулки. В отверстии патрубка в области его утолщения со стороны внутренней полости выполнен расширенный участок, в котором размещены элементы крепления кабельной перемычки. Цилиндрический корпус герметично соединен с одной стороны по торцу с контактной колодкой и с другой стороны с чувствительным элементом. Отверстие патрубка относительно продольной оси датчика расположено под углом , определяемым соответствующим соотношением. Кабельная перемычка закреплена на плоской поверхности шестигранника накидной гайки с минимально допустимым радиусом изгиба и термокомпенсационными участками провода кабельной перемычки. 1 з.п. ф-лы, 4 ил., 1 табл.
Предлагаемое изобретение относится к измерительной технике, в частности к датчикам, предназначенным для использования в различных областях науки и техники, связанных с измерением давления в условиях воздействия повышенных виброускорений и широкого диапазона температур.
Известна конструкция тонкопленочного датчика давления, предназначенная для использования в условиях воздействия повышенных виброускорений и широкого диапазона температур, содержащая чувствительный элемент, накидную гайку с частично расположенным внутри цилиндрическим корпусом с хвостовиком, на котором закреплена кабельная перемычка, и расположенную с наружной стороны изоляционной трубки резьбовую втулку [1].
Недостатком известной конструкции датчика давления является разрушение кабельной перемычки в месте ее ввода вследствие воздействия повышенных виброускорений. Это обусловлено тем, что в силу конструктивных особенностей датчиков давления с накидной гайкой в связи с тем, что корпус датчика частично находится внутри накидной гайки, его вынуждены выполнять с небольшим поперечным сечением, так как увеличение поперечного сечения приведет к резкому ухудшению габаритных размеров. Поэтому для размещения в корпусе элементов датчика его вытягивают в длину. Воздействие виброускорений на датчик приводит к значительному увеличению виброперемещений, кабельного ввода, закрепленного на конце длинного корпуса. Повышенные виброперемещения приводят к увеличению температуры кабельного ввода, которая неравномерно достигает чувствительного элемента, содержащего тонкопленочные тензорезисторы и вызывает появление дополнительной погрешности датчика. При воздействии достаточно больших уровней виброускорений и широкого диапазона температур происходит разрушение датчика.
Наиболее близким к предлагаемому решению по технической сущности (прототипом) является тонкопленочный датчик давления, содержащий чувствительный элемент, накидную гайку, внутри которой частично расположен цилиндрический корпус с контактной колодкой и другими элементами коммутации, кабельный ввод, кабельную перемычку и установленную на цилиндрическом корпусе глухую резьбовую втулку, на боковой поверхности которой выполнен патрубок с отверстием, расположенным к корпусу под острым углом, определяемым соотношением в зависимости от размеров накидной гайки [2].
Указанное решение не обладает требуемой виброустойчивостью, так как при воздействии на датчик высоких уровней виброускорений сложного спектрального состава и широкого диапазона температур виброперемещения кабельного ввода и кабельной перемычки вследствие наличия консоли, образованной патрубком, а также сравнительно большой длины незакрепленной части кабельной перемычки могут достичь значительно большей величины по сравнению с виброперемещениями на резьбовой втулке в месте присоединения патрубка. В результате воздействия повышенных виброперемещений кабельный ввод и кабельная перемычка дополнительно нагреваются. Кроме того, причиной повышенных виброперемещений и температуры может быть совпадение собственной частоты патрубка с одной из гармоник вибраций изделия. Повышенные виброперемещения и температура кабельного ввода и кабельной перемычки приводят к появлению дополнительной температурной погрешности, проявляющейся в виде изменения выходного сигнала некоррелируемого с измеряемым давлением в момент измерения давления и при высоких уровнях виброускорений к разрушению кабельного ввода и кабельной перемычки.
Задачей предлагаемого изобретения является повышение виброустойчивости датчиков давления.
Поставленная задача достигается тем, что в тонкопленочном датчике давления, содержащем чувствительный элемент, накидную гайку, внутри которой частично расположен цилиндрический корпус с элементами коммутации, кабельный ввод, кабельную перемычку и установленную на цилиндрическом корпусе глухую резьбовую втулку, на боковой поверхности которой выполнен патрубок с отверстием, расположенный к корпусу под острым углом, определяемый соотношением, согласно изобретению патрубок частично или полностью выполнен в виде локального и плавного утолщения боковой стенки втулки по мере приближения к отверстию, а в отверстии патрубка в области его утолщения со стороны внутренней полости выполнен расширенный участок, в котором размещены элементы крепления кабельной перемычки, при этом цилиндрический корпус герметично соединен с одной стороны по торцу с контактной колодкой, а с другой стороны с чувствительным элементом, а отверстие патрубка относительно продольной оси датчика расположено под углом, определяемым из соотношения:

где LГ – размер под ключ накидной гайки;
L00 – расстояние от нижней кромки отверстия до продольной оси датчика;
Н0Г – расстояние от нижней кромки отверстия до торца накидной гайки;
НП – длина термокомпенсационного участка кабельной перемычки;
rП – минимально допустимый радиус изгиба провода кабельной перемычки.
Кроме того, поставленная задача достигается тем, что кабельная перемычка закреплена на плоской поверхности шестигранника накидной гайки с минимально допустимым радиусом изгиба, обусловленным прочностью материала, диаметром кабеля и термокомпенсационными участками провода кабельной перемычки.
В связи с тем, что патрубок частично выполнен в виде локального и плавного утолщения боковой стенки втулки, по мере приближения к отверстию виброперемещения кабельного ввода и кабельной перемычки в месте кабельного ввода минимально отличаются от виброперемещений на резьбовой втулке вследствие уменьшения консоли, образованной патрубком. Следовательно, виброперемещения вышеназванных элементов будут меньше по сравнению с прототипом.
Так как в отверстии утолщения со стороны внутренней полости выполнен расширенный участок, в котором размещены элементы крепления кабельной перемычки, то увеличивается прочность закрепления кабельной перемычки. Повышенная прочность достигается не только размещением элементов крепления в зоне с минимальными виброперемещениями, но и дополнительным механическим креплением на расширенном участке отверстия за счет разницы диаметров расширенного участка и отверстия. Необходимость повышенной прочности закрепления вызвана, в том числе, применением в датчиках, предназначенных для использования в широком диапазоне температур, кабелей с фторопластовой изоляцией, которая имеет низкую адгезию с заливочными и клеевыми материалами.
Так как цилиндрический корпус герметично соединен с одной стороны по торцу с контактной колодкой, а с другой стороны с чувствительным элементом, то отпадает необходимость применения герметизирующей втулки, используемой в прототипе, и за счет этого увеличивается толщина стенки цилиндрического корпуса, а следовательно, уменьшаются виброперемещения и повышается собственная частота цилиндрического корпуса и датчика в целом.
При полном выполнении патрубка в виде локального и плавного утолщения боковой стенки втулки по мере приближения к отверстию виброперемещения кабельного ввода и кабельной перемычки в месте кабельного ввода практически не отличаются от виброперемещений на резьбовой втулке вследствие отсутствия консоли, образованной патрубком. Следовательно, виброперемещения вышеназванных элементов будут меньше по сравнению с прототипом. Кроме того, вследствие отсутствия консоли, образованной патрубком, совпадение собственной частоты патрубка с одной из гармоник вибраций изделия может происходить только на более высоких гармониках вибраций изделия с меньшей энергией по сравнению с прототипом. Все вышесказанное также приводит к меньшему, по сравнению с прототипом, возрастанию температуры кабельной перемычки, а следовательно, и к меньшей дополнительной погрешности.
Обоснование заявляемых соотношений проведем из следующих соображений. Для повышения виброустойчивости датчика давления при воздействии высоких уровней виброускорений (более 10000 мс-2) и широкого диапазона температур, например, от минус 196 до 250°С в данном решении учитываются как виброускорения, так и широкий диапазон температур. Для минимизации влияния виброускорений длина незакрепленной части кабельной перемычки должна быть как можно меньше. Поэтому изгиб кабельной перемычки необходимо проводить с минимально допустимым радиусом, определяемым диаметром кабеля в зависимости от его конструкции. Но при этом воздействие криогенных температур приведет к уменьшению радиуса изгиба и появлению концентраторов механических напряжений в местах сопряжения с резьбовой втулкой или местами закрепления. Наличие концентраторов напряжений при воздействии виброускорений приводит к разрушению кабельной перемычки в этих местах. Поэтому для минимизации влияния температур применены термокомпенсационные участки кабельной перемычки в местах сопряжения с резьбовой втулкой или местами закрепления.
Для обоснования заявляемых соотношений обратимся к фиг.4. Из треугольника BCD определим

где В – точка пересечения продолжения нижней кромки отверстия с продолжением поверхности шестигранника накидной гайки;
С – точка на нижней кромке отверстия, ближайшая к торцу накидной гайки;
D – точка пересечения линии, проведенной через точку В параллельно торцу накидной гайки и линии, проведенной перпендикулярно ей через точку С.
Из фиг.4 следует, что BD=0,5LГ-L00, CD=Н0Г-НП-НК. Из треугольника BJP определим, что НК=rПtg . Проведя анализ четырехугольников AESF и BPJE, отметим, что углы 180°- =180°-2 , то есть =2 . Тогда можно записать

Так как угол присутствует в обеих частях соотношения, то определение необходимого угла по этому соотношению целесообразно проводить методом последовательных приближений или использовать промежуточное соотношение

В прототипе с целью уменьшения виброперемещений кабельная перемычка закрепляется на изделии. В предлагаемом решении по п.1 формулы кабельная перемычка закрепляется аналогично, но создаются предпосылки для дополнительного закрепления кабельной перемычки. С целью дальнейшего уменьшения виброперемещений в предлагаемом решении по п.2 формулы предлагается дополнительно закреплять кабельную перемычку на накидной гайке датчика. Преимущества такого решения:
– виброперемещения на накидной гайке наиболее близки (по амплитуде фазе и частоте) к виброперемещениям кабельного ввода;
– отсутствует необходимость в изготовлении и качественном присоединении к изделию дополнительного устройства для закрепления кабельной перемычки;
– отсутствует необходимость в выделении свободного места на изделии для размещения дополнительного устройства.
Таким образом, повышение виброустойчивости датчика давления достигается за счет увеличения толщины стенки цилиндрического корпуса, уменьшения консоли, образованной патрубком, и длины незакрепленной части кабельной перемычки.
Другим преимуществом предлагаемой конструкции является то, что уменьшается дополнительная температурная погрешность от воздействия виброускорений за счет уменьшения температуры кабельной перемычки вследствие уменьшения величины ее виброперемещений. Преимуществом заявляемого решения является также то, что повышение виброустойчивости достигнуто с сохранением присоединительных размеров без усложнения конструкции и ухудшения габаритно-массовых характеристик датчика. Кроме того, преимуществом заявляемого решения является повышение технологичности изготовления за счет упрощения конструкции резьбовой втулки.
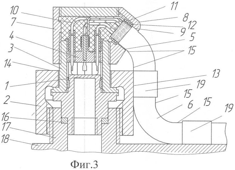
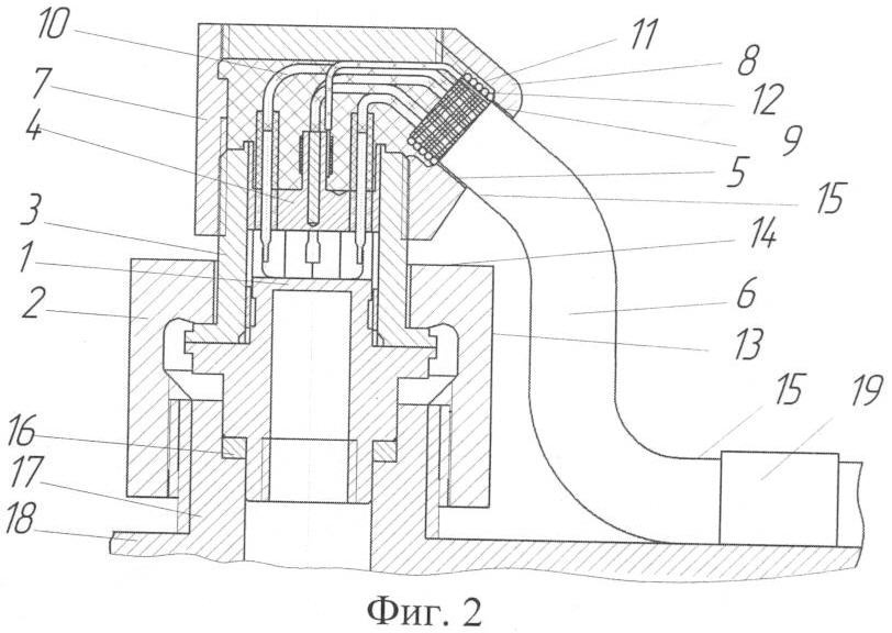
На фиг.1, 2 изображен общий вид предлагаемого тонкопленочного датчика давления в разрезе установленного на штуцере изделия. На фиг.3. – тонкопленочный датчик давления с закрепленной кабельной перемычкой. На фиг.4 приведена упрощенная схема размещения кабельной перемычки.
Тонкопленочный датчик давления состоит из чувствительного элемента 1, накидной гайки 2, внутри которой частично расположен цилиндрический корпус 3 с контактной колодкой 4 и другими элементами коммутации, кабельного ввода 5, кабельной перемычки 6 и установленной на цилиндрическом корпусе глухой резьбовой втулки 7, на боковой поверхности которой выполнен патрубок 8 с отверстием 9, расположенным к корпусу под острым углом, определяемым в зависимости от размеров накидной гайки 3, причем провода 10 кабельной перемычки 6 частично размещены в отверстии 9 патрубка 8.
Патрубок 8 частично или полностью выполнен в виде локального и плавного утолщения боковой стенки втулки по мере приближения к отверстию 9, а в отверстии 9 утолщения со стороны внутренней полости выполнен расширенный участок 11, в котором размещены элементы крепления 12 кабельной перемычки 6. Цилиндрический корпус 3 герметично соединен с одной стороны по торцу с контактной колодкой 4, а с другой стороны с чувствительным элементом 1. Таким образом, цилиндрический корпус 3 обеспечивает герметичность внутренней полости датчика. Отверстие 9 относительно продольной оси датчика расположено под углом, определяемым из заявляемого соотношения. Кабельная перемычка 6 закреплена на изделии при помощи элемента крепления 19. В качестве элементов крепления используются хомутики, ленты и т.д.
В качестве примера приведем один из возможных вариантов определения угла . При LГ=24 мм, Н0Г=6 мм, НП=1 мм, =50°, rП1=4 мм, rП2=6 мм, rП3=8 мм, по соотношению (4) получаем L001=8,29 мм, L002=9,41 мм, L003=10,52 мм. По этим значениям по соотношению (3) получаем значения угла , приведенные в таблице.
| rП1=4 |
rП2=6 |
rП3=8 |
 |
° |
 |
| 49,89 |
59,63 |
78,29 |
L001=8,29 |
| 39,65 |
49,99 |
73,46 |
L002=9,41 |
| 25,34 |
34,25 |
62,54 |
L003=10,52 |
Из таблицы видно, что при rП2=6 мм и L002=9,41 мм =49,99°, т.е. =50° с погрешностью 0,01°. При выполнении заявляемого соотношения кабельный ввод датчика будет находиться под оптимальным углом к корпусу, так как с одной стороны кабельный ввод и кабельная перемычка расположены таким образом, что величина консоли, на которой находятся кабельный ввод и кабельная перемычка, минимальна, что благоприятно сказывается на повышении виброустойчивости, а с другой стороны, выбранный угол не препятствует свободному проворачиванию и возможному вертикальному перемещению накидной гайки.
Кабельная перемычка 6 дополнительно закреплена при помощи элемента крепления 19 на плоской поверхности шестигранника 13 накидной гайки 2 с минимально допустимым радиусом изгиба, обусловленным прочностью материала перемычки и термокомпенсационными участками 15 провода кабельной перемычки. Прокладка 16 служит для обеспечения герметичности соединения датчика со штуцером 17 изделия 18.
Для повышения надежности и технологичности закрепления кабельной перемычки шестигранник накидной гайки размещают или в области предполагаемого закрепления кабельной перемычки, или по всей боковой поверхности накидной гайки. При этом возможно использование нескольких элементов крепления как на изделие, так и на накидную гайку.
Датчик работает следующим образом. Под воздействием измеряемого давления в мембране чувствительного элемента 1 возникают поверхностные деформации, которые воспринимаются и преобразуются в относительные изменения сопротивлений тонкопленочными тензорезисторами, размещенными на мембране. Провода 10 кабельной перемычки 6 служат для подачи на тензорезисторы напряжения питания и съема с них выходного сигнала через контакты контактной колодки 4.
При воздействии виброускорений на датчик в процессе эксплуатации в составе изделия, все элементы датчика через штуцер 17 также подвергнутся этому воздействию. За счет увеличения толщины стенки цилиндрического корпуса 3, уменьшения консоли, образованной патрубком 8, и длины незакрепленной части кабельной перемычки 6 достигается повышение виброустойчивости датчика давления. За счет уменьшения температуры кабельной перемычки 6 вследствие уменьшения величины ее виброперемещений уменьшается дополнительная температурная погрешность от воздействия виброускорений.
Источники информации
1. Патент РФ 2028589, G01L 19/06, бюл. 4 от 09.02.95.
2. Патент РФ 2041453, G01L 19/06, бюл. 22 от 09.08.95.
Формула изобретения
1. Тонкопленочный датчик давления, содержащий чувствительный элемент, накидную гайку, внутри которой частично расположен цилиндрический корпус с элементами коммутации, кабельный ввод, кабельную перемычку и установленную на цилиндрическом корпусе глухую резьбовую втулку, на боковой поверхности которой выполнен патрубок с отверстием, расположенный к корпусу под острым углом , отличающийся тем, что патрубок частично или полностью выполнен в виде локального и плавного утолщения боковой стенки втулки по мере приближения к отверстию, а в отверстии патрубка в области его утолщения со стороны внутренней полости выполнен расширенный участок, в котором размещены элементы крепления кабельной перемычки, при этом цилиндрический корпус герметично соединен с одной стороны по торцу с контактной колодкой и с другой стороны – с чувствительным элементом, а отверстие патрубка относительно продольной оси датчика расположено под углом , определяемым соотношением
=arctg{(0,5LГ-L00)[H0Г-HП-rПtg(0,5 )]-1}, где LГ – размер под ключ накидной гайки; L00 – расстояние от нижней кромки отверстия до продольной оси датчика; Н0Г – расстояние от нижней кромки отверстия до торца накидной гайки; НП – длина термокомпенсационного участка кабельной перемычки; rП – минимально допустимый радиус изгиба провода кабельной перемычки.
2. Тонкопленочный датчик по п.1, отличающийся тем, что кабельная перемычка закреплена на плоской поверхности шестигранника накидной гайки с минимально допустимым радиусом изгиба и термокомпенсационными участками провода кабельной перемычки.
РИСУНКИ
|
|