|
(21), (22) Заявка: 2008103197/28, 01.06.2006
(24) Дата начала отсчета срока действия патента:
01.06.2006
(30) Конвенционный приоритет:
29.06.2005 EP 05291509.7
(43) Дата публикации заявки: 10.08.2009
(46) Опубликовано: 20.08.2010
(56) Список документов, цитированных в отчете о поиске:
WO 2004/020789 А2, 11.03.2004. US 3771362 A, 13.11.1973. JP 8-165879 A, 25.06.1996. КРЕМЛЕВСКИЙ П.П. Расходомеры и счетчики количества. Справочник, Изд.4. – Л.: Машиностроение, 1989, с.279-280.
(85) Дата перевода заявки PCT на национальную фазу:
29.01.2008
(86) Заявка PCT:
EP 2006/005386 20060601
(87) Публикация PCT:
WO 2007/000224 20070104
Адрес для переписки:
129090, Москва, ул. Б.Спасская, 25, стр.3, ООО “Юридическая фирма Городисский и Партнеры”, пат.пов. Ю.Д.Кузнецову, рег. 595
|
(72) Автор(ы):
У Цзу (FR), КАЛБ Фредерик (FR), ШУЗЕНУ Кристиан (FR)
(73) Патентообладатель(и):
ШЛЮМБЕРГЕР ТЕКНОЛОДЖИ Б.В. (NL)
|
(54) РОТАЦИОННЫЙ РАСХОДОМЕР ДЛЯ ИЗМЕРЕНИЯ СКОРОСТИ И НАПРАВЛЕНИЯ ПОТОКА
(57) Реферат:
Изобретение может быть использовано в составе каротажного прибора для выполнения измерений потока FF флюида в стволе скважины. Устройство в виде расходомерного зонда (1) содержит: вертушку (2), с которой соединен модулятор (3), волоконно-оптическую систему (4) для подведения пучка IB от лазерного источника (41) к модулятору и для приема модулированного обратного пучка RB от модулятора и подведения его к детектору (42) для преобразования в электрический сигнал. Модулятор (3) содержит кодер (30) с по меньшей мере первым угловым сектором, вторым угловым сектором и третьим угловым сектором, каждый из которых имеет определенный коэффициент ослабления так, что модулированный сигнал содержит по меньшей мере первый участок (64), второй участок (65) и третий участок (66) в течение каждого полного поворота кодера. Устройство (1) также содержит электронную схему (5) с микропроцессором (6) обработки для определения скорости и направления потока FF флюида на основании по меньшей мере первого (64), второго (65) и третьего (66) участков модулированного сигнала. Изобретение повышает точность измерения в условиях высокого давления и высокой температуры, обладает компактностью. 3 н. и 9 з.п. ф-лы, 10 ил.
Область техники, к которой относится изобретение
Объект изобретения относится к устройству для измерения скорости и направления потока флюида.
Другой объект изобретения относится к способу измерения скорости и направления потока флюида.
Конкретное применение изобретения имеет отношение к измерениям потока флюида в агрессивной среде, например в условиях высокого давления и высокой температуры, которые могут встречаться при применениях в нефтепромысловой отрасли.
Предпосылки создания изобретения
Из уровня техники известно устройство для измерения в реальных полевых условиях скорости потока флюида, например скорости потока флюида, протекающего в стволе скважины. Определение величины потока может быть основано на результатах измерений скорости вращения крыльчатки или вертушки. Скорость вращения вертушки может быть соотнесена с количеством флюида, проходящего через измерительное устройство. Имеются вертушки нескольких типов: конусная вертушка, крыльчатая вертушка, полнопроходная вертушка или вертушки концентрирующие или отводящие поток различных типов. Хотя вертушечный расходомер является самым распространенным расходомером, также могут быть использованы крутильные расходомеры и взаимно-корреляционные расходомеры.
Например, в патенте JP 8165879 описано скважинное измерительное устройство для определения скорости потока. Измерительным устройством измеряется скорость высокотемпературного флюида высокого давления, протекающего в буровой скважине. Измерительное устройство содержит пропеллер, расположенный в протекающем флюиде. Скорость флюида преобразуется во вращение пропеллера, которое передается щелевому диску. Щелевым диском прерывается свет, проходящий по оптическому пути. Оптический путь образован первым оптическим волокном, первой линзой, стеклянным окном, предусмотренным на контейнере высокого давления, отражателем, второй линзой и вторым оптическим волокном. Щелевой диск преобразует свет в прерывистый модулированный световой сигнал, который подводится к фотодетектору. Прерывистый модулированный световой сигнал преобразуется в электрический импульсный сигнал. Скорость флюида определяется путем подсчета числа импульсов сигнала, приходящихся на единицу времени.
Это измерительное устройство не способно давать показания, касающиеся направления протекания флюида, и не является точным в конкретной ситуации, например в режиме низкой скорости потока, режиме турбулентного потока и т.д.
Кроме того, в патенте US 3771362 описан измеритель скорости флюида пропеллерного типа. Измеритель содержит пропеллер, вал пропеллера, источник света и детектор света и кодирующее устройство, находящееся на валу пропеллера и между источником света и детектором. Кодирующее устройство содержит непрозрачные выступы, которые разнесены неравномерно. Скорость и направление потока флюида определяются по свету, принимаемому детектором.
Хотя этот измеритель скорости флюида может давать показания относительно направления протекающего потока, он не является точным в конкретной ситуации, например в режиме низкой скорости потока, режиме турбулентного потока и т.д.
В Международной заявке WO 2004/020789 раскрыты система и способ для каротажа ствола скважины каротажным прибором, включающим в себя волоконно-оптический датчик. Однако в этой заявке нет информации относительно определения направления на основании модулированного оптического сигнала.
Сущность изобретения
Задача изобретения заключается в создании устройства для измерения скорости и направления потока, в котором исключен по меньшей мере один из недостатков измерительного устройства из предшествующего уровня техники.
Согласно первому объекту изобретение относится к устройству для измерения скорости и направления потока FF флюида, содержащему:
– поворотное устройство, приспособленное для вращения со скоростью и в направлении вращения поворотного устройства, зависящими от скорости и направления потока флюида, при контакте с потоком флюида,
– модулятор, соединенный с поворотным устройством и приспособленный для вращения совместно с поворотным устройством,
– волоконно-оптическую систему для подведения падающего пучка к модулятору и для приема обратного пучка от модулятора,
– падающий пучок содержит падающий сигнал, обратный пучок содержит модулированный сигнал, модулятор модулирует падающий сигнал так, что образуется модулированный сигнал, зависящий от скорости и направления вращения поворотного средства.
Модулятор содержит кодер, содержащий по меньшей мере первый угловой сектор, второй угловой сектор и третий угловой сектор, при этом каждый угловой сектор имеет определенный коэффициент ослабления так, что модулированный сигнал содержит по меньшей мере первый участок, второй участок и третий участок в течение каждого полного поворота кодера. Устройство дополнительно содержит средство обработки для определения скорости и направления потока флюида на основании по меньшей мере первого участка, второго участка и третьего участка модулированного сигнала.
Кодер представляет собой амплитудный кодер. Первый угловой сектор, второй угловой сектор и третий угловой сектор имеют по существу одинаковый угол. Каждый сектор пропускает определенную часть в процентах падающего пучка, которая отличается от части другого сектора.
Модулятор может быть магнитно или механически связан с поворотным устройством. Предпочтительно, чтобы амплитудный кодер имел форму диска, первый угловой сектор имел первый радиус, второй угловой сектор имел второй радиус и третий угловой сектор имел третий радиус, а каждый сектор был выполнен из материала, который по существу блокирует падающий пучок.
При желании падающий пучок может быть разветвлен на первый пучок и второй пучок. Второй радиус и третий радиус выбираются так, что задается первая траектория для первого пучка. Первый и второй угловые секторы по существу пропускают первый пучок, тогда как третий угловой сектор по существу блокирует первый пучок. Первый радиус и второй радиус выбираются так, что задается вторая траектория для второго пучка. Первый угловой сектор по существу пропускает второй пучок, тогда как второй и третий угловые секторы по существу блокируют второй пучок.
В качестве альтернативы амплитудный кодер может иметь форму диска, в котором первый угловой сектор выполнен из первого фильтрующего элемента, второй угловой сектор выполнен из второго фильтрующего элемента и третий угловой сектор выполнен из третьего фильтрующего элемента.
Волоконно-оптическая система может содержать:
– лазерный источник для генерации падающего пучка,
– детектор для преобразования обратного пучка в электрический сигнал,
– разветвитель для связи лазерного источника и детектора с концом оптического волокна,
– формирователь пучка на другом конце оптического волокна для подведения падающего пучка к модулятору и приема обратного пучка от модулятора и
– зеркало для отражения обратного пучка к формирователю пучка.
Зеркало может быть вогнутым зеркалом, связанным с формирователем пучка, образованным усеченным оптическим волокном.
Зеркало также может быть призмой-кубом, связанной с формирователем пучка в виде коллиматора.
Зеркало также может быть плоским зеркалом, связанным с формирователем пучка в виде фокусирующего устройства.
В качестве альтернативы волоконно-оптическая система может содержать:
– лазерный источник для генерации падающего пучка,
– детектор для преобразования обратного пучка в электрический сигнал,
первое оптическое волокно, соединяющее лазерный источник с модулятором, для подведения падающего пучка к модулятору, и
– второе оптическое волокно, соединяющее модулятор с детектором, для подведения обратного пучка к детектору.
Согласно дальнейшему объекту изобретение относится к измерительной системе, где измерительная система содержит лазерный источник, обеспечивающий падающий пучок, несущий множество длин волн, мультиплексор для разделения и перекомпоновки множества длин волн и множество измерительных устройств согласно изобретению. Каждое измерительное устройство является чувствительным к особой длине волны и обеспечивает обратный пучок в соответствии с указанной особой длиной волны. Измерительная система также содержит демультиплексор, разделяющий обратный пучок в соответствии с особой длиной волны ко множеству специально выделенных детекторов.
Согласно еще одному дальнейшему объекту изобретение относится к способу измерения скорости и направления потока флюида. Способ содержит этапы, при выполнении которых:
– подводят падающий пучок к модулятору, вращающемуся совместно с поворотным средством, при этом модулятор содержит множество угловых секторов, поворотное средство вращается со скоростью и в направлении вращения поворотного устройства, зависящими от скорости и направления потока флюида, при контакте с потоком флюида, падающий пучок содержит падающий сигнал,
– формируют обратный пучок, содержащий модулированный сигнал, путем модуляции падающего сигнала в зависимости от скорости и направления вращения поворотного устройства,
– принимают обратный пучок от модулятора и обрабатывают модулированный сигнал,
– на этапе модуляции падающего сигнала выполняют этап, на котором кодируют модулированный сигнал так, чтобы модулированный сигнал содержал последовательность из по меньшей мере первого участка, второго участка и третьего участка в течение каждого полного поворота кодера,
– на этапе обработки модулированного сигнала выполняют этап, на котором декодируют последовательность для определения направления потока флюида на основании по меньшей мере первого, второго и третьего участков модулированного сигнала, и
– по меньшей мере первый участок, второй участок и третий участок имеют различную амплитуду и охватывают идентичные угловые секторы.
Этап обработки модулированного сигнала может дополнительно содержать этап, на котором подсчитывают множество указанных последовательностей, приходящихся на единицу времени, для определения скорости потока флюида.
Этап обработки модулированного сигнала может дополнительно содержать этап, на котором определяют порядок расположения участков в последовательности для определения направления потока флюида.
Изобретение позволяет осуществлять полностью оптический опрос измерительного устройства. Благодаря ему исключается расположение электронных схем в непосредственной близости к месту измерений, где возможная агрессивная среда может нарушать функционирование электронных схем.
Поэтому по сравнению с измерительным устройством из предшествующего уровня техники изобретение позволяет получать высокую степень компактности и надежности.
Кроме того, изобретение позволяет получать модулированный сигнал, содержащий множество участков, имеющих более крутые переходы между различными участками так, что точность измерительного устройства повышается.
Более того, путем использования технологии мультиплексирования измерительное устройство изобретения может быть весьма эффективно объединено на основании одного и того же волокна с различными оптическими измерительными устройствами.
Эти и другие объекты изобретения будут очевидными из осуществлений, описываемых ниже и поясняемых со ссылками на них.
Краткое описание чертежей
Для примера настоящее изобретение иллюстрируется и не ограничивается сопровождающими чертежами, на которых одинаковыми позициями обозначены аналогичные элементы, при этом на чертежах:
фиг.1 – схематический типичный вид заложения углеводородной скважины на суше;
фиг.2 – схематический вид устройства для измерения скорости и направления потока флюида согласно первому осуществлению изобретения;
фиг. 3А, 3В и 3С – виды формирователей пучка трех видов, пригодных для первого осуществления изобретения;
фиг. 4А и 4В – виды первого варианта амплитудного кодера и соответствующего сигнала кодирования согласно изобретению соответственно;
фиг. 5А и 5В – виды второго варианта амплитудного кодера и соответствующего сигнала кодирования согласно изобретению соответственно;
фиг. 6А и 6В – виды третьего варианта амплитудного кодера и соответствующего сигнала кодирования согласно изобретению соответственно;
фиг. 7А и 7В – виды четвертого варианта амплитудного кодера и соответствующего сигнала кодирования согласно изобретению соответственно;
фиг. 8 и 9 – схематические виды устройств для измерения скорости и направления потока флюида согласно второму и третьему осуществлениям изобретения соответственно;
фиг.10 – схематический вид измерительной системы, содержащей множество мультиплексированных измерительных устройств согласно изобретению.
Подробное описание изобретения
На фиг.1 схематически показаны типичное заложение углеводородной скважины на суше и наземное оборудование SE над углеводородной геологической формацией GF после осуществления операции бурения ствола WB скважины, после спуска обсадной колонны CS и после выполнения цементировочных работ для изоляции кольцевого пространства СА (то есть пространства между стволом WB скважины и обсадной колонной CS).
На этой стадии могут быть выполнены каротажные работы. Каротажные работы служат для измерения различных параметров углеводородной геологической формации, окружающей скважину (например, удельного сопротивления, пористости и т.д. на различных глубинах), и в стволе скважины (например, температуры, давления, вида флюида, расхода флюида и т.д. на различных глубинах). Такие измерения выполняют каротажным прибором TL. Обычно каротажный прибор содержит по меньшей мере один датчик (например, зонд удельного сопротивления, механический зонд, зонд нейтронного гамма-каротажа, акселерометр, датчик давления, датчик температуры, измеритель потока и т.д.) и измеряет по меньшей мере один параметр. Он может включать в себя множество одинаковых или различных датчиков, измеряющих один или несколько параметров. Каротажный прибор перемещают на кабеле LN вверх и вниз в буровой скважине для сбора данных о различных параметрах.
Согласно настоящему изобретению кабель представляет собой оптический кабель, содержащий волоконную линию, защищенную от возможного воздействия агрессивной среды, имеющейся в стволе скважины. По оптическому кабелю передаются оптические сигналы из каротажного прибора TL в наземную установку, например, на транспортном средстве SU.
Каротажный прибор может быть развернут внутри ствола скважины с помощью подходящего наземного оборудования SE, которое может включать в себя транспортное средство SU, и подходящей системы развертывания, например буровой установки DR или аналогичной. Данные, относящиеся к углеводородной геологической формации GF или к стволу WB скважины, собираемые каротажным прибором TL, могут быть переданы в реальном времени на поверхность, например на транспортное средство, снабженное соответствующей электронной системой ЕА. Электронная система может содержать компьютер для сбора и анализа данных, и в него может быть загружено программное обеспечение для сбора и анализа данных.
На фиг.1 схематически также показан увеличенный вид участка обсаженного ствола скважины, в котором прибор TL установлен в заданном положении с помощью центратора СТ. Прибор TL содержит поворотное устройство, например вертушку 2 расходомера, соединенную с расходомерным зондом FS (эта часть устройства для измерения скорости и направления потока флюида согласно изобретению будет описана более подробно ниже). Скорость и направление вращения вертушки зависят от количества флюида FF, протекающего на уровне прибора. На фиг.1 показан ствол скважины, которая является продуктивной скважиной, то есть скважиной, из которой добывают нефть и газ, протекающие к поверхности (по стрелкам, направленным вверх). Однако ствол скважины также может относиться к нагнетательной скважине, то есть к скважине, в которую флюид закачивают с поверхности в геологическую формацию.
Кроме того, прибор TL может содержать другие датчики OS. Из прибора TL результаты измерений могут поступать в наземное оборудование по соединительной линии LN. Путем сопоставления результатов этих измерений с результатами измерений глубины, выполняемыми прибором TL, можно получать результаты измерений потока по глубине скважины.
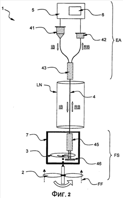
На фиг.2 схематически показано устройство 1 для измерения скорости и направления потока флюида согласно первому осуществлению изобретения.
Устройство 1 для измерения скорости и направления потока флюида содержит расходомерный зонд FS, оптическое волокно 4 и электронную систему ЕА.
Расходомерный зонд FS содержит вертушку 2, модулятор 3, формирователь 45 пучка и зеркало 46. Модулятор 3, формирователь 45 пучка и зеркало 46 помещены в корпус 7. Корпус 7 обеспечивает соответствующую защиту от воздействия агрессивной среды (высокого давления, высокой температуры, вибрации ), которая может иметься внутри ствола скважины, и поддерживает юстировку оптического элемента в пределах допуска. Вертушка 2 расположена вне корпуса в контакте с потоком FF флюида. Вертушка вращается со скоростью и в направлении вращения вертушки, зависящими от осевой составляющей (показанной стрелками) потока FF флюида.
Модулятор 3 соединен с вертушкой 2 и вращается совместно с вертушкой. Предпочтительно, чтобы модулятор 3 и вертушка 2 были магнитно связаны друг с другом. Эта конфигурация является простой конфигурацией, обеспечивающей возможность содержания оптических элементов расходомерного зонда FS в чистой среде.
В качестве варианта (не показанного) модулятор и вертушка могут быть механически соединены друг с другом. Механическое соединение может быть осуществлено с помощью, например, непосредственно вала и соответствующего уплотнения между валом и корпусом.
Оптическое волокно 4 соединяет расходомерный зонд FS с электронной системой ЕА. Оптическое волокно 4 размещено внутри кабеля LN. Кабель LN может быть бронированным. Он защищает оптическое волокно от соленой воды, водорода и химической агрессии и обеспечивает механическую прочность на растяжение, необходимую для работы с каротажным кабелем. Оптическое волокно может быть одномодовым волокном или многомодовым волокном.
Электронная система ЕА содержит лазерный источник 41, детектор 42, оптический разветвитель 43 и электронные схемы 5. Электронная система ЕА соединена с оптическим волокном 4 через разветвитель 43. Оптические стороны лазерного источника 41 и детектора 42 соединены с разветвителем 43. Электронные стороны лазерного источника 41 и детектора 42 соединены с электронными схемами 5. Электронные схемы 5 содержат средство 6 обработки. Например, средство обработки может быть микропроцессором и запоминающим устройством с загруженным соответствующим программным обеспечением.
Лазерный источник обеспечивает падающий пучок IB в виде лазерного пучка. Лазерный пучок может включать в себя монохроматическую длину волны, например 1310 нм или 1550 нм. Выбор длин волн зависит от протяженности развернутого оптического волокна между электронной системой и расходомерным зондом (базового расстояния). Если базовая протяженность составляет приблизительно несколько метров, может быть использована длина волны в видимой области. Если базовая протяженность составляет приблизительно несколько километров, предпочтительной является длина волны в ближней инфракрасной области вследствие низкого затухания. Кроме того, выбор мощности лазерного источника зависит от длины развернутого оптического волокна и потерь в оптических компонентах. Например, мощность обратного пучка на детекторе должна быть около или выше чем несколько микроватт.
Детектор 42 преобразует обратный пучок RB в электрический сигнал, который подается на электронную схему 5. Предпочтительно, чтобы детектор 42 был фотодиодом.
Предпочтительно, чтобы разветвитель представлял собой разветвитель 50/50, который разветвляет обратный пучок RB на две равные части.
Формирователь 45 пучка и зеркало 46 образуют свободное пространство небольшой протяженности (около нескольких миллиметров). Модулятор 3 расположен в этом свободном пространстве так, что пучок может модулироваться информацией, относящейся к вращению вертушки. Формирователь пучка и зеркало рассчитаны на поддержание низких значений потерь и юстировки в пределах допуска. Возможны различные конфигурации формирователя пучка/зеркала.
На фиг.3А показана первая конфигурация формирователя пучка/зеркала. Формирователь пучка выполнен в виде усеченного волокна 45А, связанного с вогнутым зеркалом 46А. Обычно падающий пучок, обеспечиваемый усеченным волокном, является расходящимся пучком, имеющим определенную числовую апертуру NA (угол расхождения относительно оптической оси). Чтобы получать хорошую юстировку, предпочтительно располагать кончик оптического волокна в сферическом центре SCP зеркала. Эта конфигурация имеет жесткий допуск на положение кончика волокна, но она нечувствительна к повороту оптического волокна вокруг его кончика.
На фиг.3В показана вторая конфигурация формирователя пучка/зеркала. Формирователь пучка выполнен в виде коллиматора 45В, связанного с призмой-кубом 46В. Обычно падающий пучок, обеспечиваемый коллиматором, является коллимированным пучком, имеющим числовую апертуру, которая меньше, чем числовая апертура расходящегося пучка. Призма-куб отражает падающий пучок обратно направлению падения независимо от угла падения. Поэтому эта конфигурация имеет хорошие допуски по углу и продольным направлениям и жесткий допуск в поперечном направлении. Чтобы получать хорошую юстировку, угол ССС куба должен быть в центре траектории падающего пучка. Иными словами, возвратный пучок должен сдвигаться параллельно.
На фиг.3С показана третья конфигурация формирователя пучка/зеркала. Формирователь пучка выполнен в виде фокусирующего устройства 45С, связанного с плоским зеркалом 46С. Обычно падающий пучок, обеспечиваемый фокусирующим устройством, является сфокусированным пучком, имеющим числовую апертуру, которая больше, чем числовая апертура коллимированного пучка. Эта конфигурация имеет хорошие допуски в продольном направлении и по углу и является самоустанавливающейся в поперечном направлении. Чтобы получать хорошую юстировку, зеркало располагают в фокусе FP и зеркало помещают перпендикулярно к оптической оси.
Вторая и третья конфигурации являются предпочтительными конфигурациями формирователя пучка/зеркала. Эти конфигурации являются стабильными при возможной высокотемпературной деформации, а юстировка их может легко поддерживаться.
Однако, когда устройство используют в измерительной системе, содержащей множество мультиплексированных измерительных устройств, на пути пучка может быть использован спектральный фильтр. В этом случае является предпочтительной вторая конфигурация формирователя пучка/зеркала.
Устройство 1 для измерения скорости и направления потока флюида, показанное на фиг.2, работает следующим образом.
Лазерный источник 41 генерирует падающий пучок IB, состоящий из падающего сигнала. Падающий пучок IB подводится к модулятору 3 через разветвитель 43, оптическое волокно 4 и формирователь пучка 45. Когда поток FF флюида проходит через устройство 1, вертушка 2 вращается в соответствии со скоростью и направлением вращения вертушки. Вследствие наличия соединения между вертушкой 2 и модулятором 3 вращение модулятора происходит согласованно с вертушкой. Модулятор 2 осуществляет модуляцию падающего сигнала так, что формируется модулированный сигнал, зависящий от скорости и направления вращения вертушки. Зеркало 46 отражает обратный пучок, состоящий из модулированного сигнала, к детектору 42 через формирователь 45 пучка, оптическое волокно 4 и разветвитель 43. Детектор 42 преобразует модулированный сигнал оптического типа в модулированный сигнал электрического типа, который подается на электронные схемы 5. На основании модулированного сигнала средство 6 обработки вычисляет скорость и направление потока флюида.
Различные возможные варианты модуляторов и соответствующая работа их будут пояснены более подробно ниже.
На фиг.4А показан модулятор в виде амплитудного кодера 30 согласно первому варианту.
Амплитудный кодер 30 имеет форму диска диаметром D. Форма диска имеет особую конфигурацию, вырезанную в материале, который по существу блокирует лазерный пучок. Для примера, особая конфигурация вырезана в металлической пластине. Кодер 30 содержит отверстие 38 для осуществления соединения с валом (не показанным). Кодер 30 содержит первую часть 31 и вторую часть 32, при этом каждая часть состоит из 180-градусного углового сектора.
Первая часть 31 содержит первый угловой сектор 34, второй угловой сектор 35 и третий угловой сектор 36. Первый угловой сектор 34 имеет первый радиус R1 и ограничен углом 1. Второй угловой сектор 35 имеет второй радиус R2 и ограничен по существу таким же углом 1. Третий угловой сектор 36 имеет третий радиус R3 и ограничен по существу таким же углом 1.
В примере из фиг.4А угол 1 составляет 60°. Единственный пучок имеет определенный размер (поверхность поперечного сечения). Поэтому первый радиус R1 выбирают так, что, когда единственный пучок SB попадает на первый угловой сектор, он по существу пропускает указанный пучок. Второй радиус R2 выбирают так, что, когда единственный пучок SB попадает на второй угловой сектор, он по существу пропускает половину указанного пучка. Третий радиус R3 выбирают так, что, когда единственный пучок SB попадает на третий угловой сектор, он по существу блокирует указанный пучок.
Вторая часть 32 является по существу идентичной и поэтому не будет описываться дополнительно.
Для примера, диаметр D составляет 9 мм, первый радиус R1 равен 2 мм, второй радиус R2 равен 3,25 мм, третий радиус R3 равен 4,5 мм, а диаметр единственного пучка находится в пределах от 0,8 мм до 2 мм.
На фиг.4В представлен сигнал кодирования, получаемый с помощью амплитудного кодера из фиг.4А.
Когда кодер 30 вращается согласно стрелке (в направлении против часовой стрелки), амплитуда падающего сигнала модулируется в соответствии со следующей схемой. От 0° до 60° первый угловой сектор по существу пропускает падающий пучок. Сигнал кодирования содержит первый участок 64, соответствующий пропусканию Т около 100% падающего пучка. От 60° до 120° второй угловой сектор по существу пропускает половину падающего пучка. Сигнал кодирования содержит второй участок 65, соответствующий пропусканию Т около 50% падающего пучка. От 120° до 180° третий угловой сектор по существу блокирует падающий пучок. Сигнал кодирования содержит третий участок 66, соответствующий пропусканию Т около 0% падающего пучка. Такая же схема повторяется от 180° до 360°, когда единственный пучок SB попадает на вторую часть 32 кодера. Следовательно, в настоящем примере модулированный сигнал содержит последовательность из первого участка 64, второго участка 65 и третьего участка 66, повторенную два раза в течение полного поворота кодера.
На фиг.5А показан модулятор в виде амплитудного кодера согласно второму варианту.
Амплитудный кодер 130 имеет форму диска диаметром D. Форма диска имеет особую конфигурацию, вырезанную в материале (например, в металлической пластине), который по существу блокирует лазерный пучок. Кодер 130 содержит отверстие 138 для осуществления соединения с валом (не показанным). Кодер 130 содержит первую часть 131 и вторую часть 132, при этом каждая часть состоит из 180-градусного углового сектора. Первая часть 131 содержит первый угловой сектор 134, второй угловой сектор 135 и третий угловой сектор 136. Первый угловой сектор 134 имеет первый радиус R1 и ограничен углом 2. Второй угловой сектор 135 имеет второй радиус R2 и ограничен по существу таким же углом 2. Третий угловой сектор 136 имеет третий радиус R3 и ограничен по существу таким же углом 2.
В примере из фиг.5А угол 2 составляет 60°. Кроме того, первый радиус R1, второй радиус R2 и третий радиус R3 выбирают так, чтобы задать первую траекторию 139А и вторую траекторию 139В.
Вторая часть 132 является по существу идентичной и поэтому не будет описываться дополнительно.
Согласно второму варианту единственный пучок заменяется состоящим из двух частей пучком. Состоящий из двух частей пучок содержит первый пучок DB1 и второй пучок DB2 меньших размеров по сравнению с единственным пучком. Первый пучок DB1 и второй пучок DB2 формируются расщепляющим устройством (не показанным). Расщепляющее устройство содержит расщепитель и два параллельных коллиматора.
Первый пучок DB1 юстируют так, чтобы он попадал на кодер на первой траектории 139А. Второй пучок DB2 юстируют так, чтобы он попадал на кодер на второй траектории 139А. Поэтому первый пучок DB1 по существу пропускается, когда первый пучок попадает на первый и второй угловые секторы. Первый пучок DB1 по существу блокируется, когда первый пучок попадает на третий угловой сектор. Второй пучок DB2 по существу блокируется, когда второй пучок попадает на второй и третий угловые секторы. Второй пучок DB2 по существу пропускается, когда второй пучок попадает на первый угловой сектор. Оба пучка воссоединяются в единственный обратный пучок в разветвляющем устройстве.
Для примера, диаметр D составляет 9 мм, первый радиус R1 равен 2 мм, второй радиус R2 равен 3,25 мм, третий радиус R3 равен 4,5 мм, а диаметр каждого, состоящего из двух частей пучка находится в пределах от 0,2 мм до 0,4 мм.
На фиг.5В представлен сигнал кодирования, получаемый с помощью амплитудного кодера из фиг.5А.
Когда кодер 130 вращается согласно стрелке (в направлении против часовой стрелки), амплитуда падающего сигнала модулируется в соответствии со следующей схемой. От 0° до 60° первый угловой сектор первой части по существу пропускает первый пучок. Первый угловой сектор второй части по существу пропускает второй пучок. Сигнал кодирования содержит первый участок 164, соответствующий пропусканию Т около 100% падающего пучка. От 60° до 120° второй угловой сектор первой части по существу пропускает первый пучок. Второй угловой сектор второй части по существу блокирует второй пучок. Сигнал кодирования содержит второй участок 165, соответствующий передаче Т около 50% падающего пучка. От 120° до 180° третий угловой сектор первой и второй части по существу блокирует первый и второй пучок, соответственно. Сигнал кодирования содержит третий участок 166, соответствующий пропусканию Т около 0% падающего, состоящего из двух частей, пучка. Такая же схема повторяется от 180° до 360°, когда первый пучок DB1 попадает на вторую часть 132 кодера, а второй пучок DB2 попадает на первую часть 131 кодера.
Следовательно, в данном примере модулированный сигнал содержит последовательность из первого участка 164, второго участка 165 и третьего участка 166, повторенную два раза в течение полного поворота кодера.
Этот второй вариант обеспечивает возможность получения более резких переходов между различными участками, чем первый вариант.
На фиг.6А показан модулятор в виде амплитудного кодера согласно третьему варианту.
Амплитудный кодер 230 имеет форму диска диаметром D. Кодер 230 содержит отверстие 238 для осуществления соединения с валом (непоказанным). Кодер 230 содержит единственную часть 231, состоящую из 360-градусного углового сектора. Единственная часть 231 содержит первый угловой сектор 234, второй угловой сектор 235 и третий угловой сектор 236. Каждый угловой сектор задан углом 3, равным 120°. Первый угловой сектор выполнен из первого фильтрующего элемента, второй угловой сектор выполнен из второго фильтрующего элемента и третий угловой сектор выполнен из третьего фильтрующего элемента. Первый фильтрующий элемент по существу пропускает 100% падающего пучка. Второй фильтрующий элемент по существу пропускает 50% падающего пучка. Третий фильтрующий элемент по существу блокирует падающий пучок. В данном примере фильтрующие элементы расположены по периферии кодера, имеющей ширину W. Ширина выбрана так, что каждый фильтрующий элемент задает окно, размер которого значительно больше, чем размер единственного пучка SB, когда пучок попадает на периферию.
Для примера, диаметр D составляет 9 мм, ширина W периферии равна 2 мм, а диаметр единственного пучка находится в пределах от 0,8 мм до 2 мм. Кодер выполнен из прозрачного материала, например из стеклянной пластинки. Различные фильтрующие элементы получены из металлического покрытия контролируемой толщины, осажденного на стеклянную пластинку с помощью процесса фотолитографии. Дополнительное просветляющее покрытие может быть осаждено на обе стороны кодера для снижения потерь на отражение.
На фиг.6В представлен сигнал кодирования, получаемый с помощью амплитудного кодера из фиг.6А.
Когда кодер 230 вращается согласно стрелке (в направлении против часовой стрелки), амплитуда падающего сигнала модулируется в соответствии со следующей схемой. От 0° до 120° первый угловой сектор по существу пропускает падающий пучок. Сигнал кодирования содержит первый участок 264, соответствующий пропусканию Т около 100% падающего пучка. От 120° до 240° второй угловой сектор по существу пропускает половину падающего пучка. Сигнал кодирования содержит второй участок 265, соответствующий пропусканию Т около 50% падающего пучка. От 240° до 360° третий угловой сектор по существу блокирует падающий пучок. Сигнал кодирования содержит третий участок 266, соответствующий пропусканию Т около 0% падающего пучка.
Следовательно, в данном примере модулированный сигнал содержит последовательность из первого участка 264, второго участка 265 и третьего участка 266 в течение полного поворота кодера.
На фиг.7А показан модулятор в виде амплитудного кодера согласно четвертому варианту.
Амплитудный кодер 330 имеет форму диска диаметром D. Кодер 330 содержит отверстие 338 для осуществления соединения с валом (непоказанным). Кодер 330 содержит первую часть 331, вторую часть 332 и третью часть 333, при этом каждая часть состоит из 120-градусного углового сектора. Первая часть 331 содержит первый угловой сектор 334, второй угловой сектор 335, третий угловой сектор 336 и четвертый угловой сектор 337. Каждый угловой сектор ограничен углом 4, равным 30°. Первый, второй, третий и четвертый угловые секторы выполнены из первого, второго, третьего и четвертого фильтрующих элементов соответственно. Первый фильтрующий элемент по существу пропускает 100% падающего пучка. Второй фильтрующий элемент по существу пропускает 33% падающего пучка. Третий фильтрующий элемент по существу пропускает 66% падающего пучка. Четвертый фильтрующий элемент по существу блокирует падающий пучок. В данном примере фильтрующие элементы расположены по периферии кодера, имеющей ширину W. Ширина выбрана так, что фильтрующий элемент задает окно, размер которого значительно больше, чем размер единственного пучка SB, когда пучок попадает на периферию.
Вторая часть 332 и третья часть 333 являются по существу идентичными и поэтому не будут описываться дополнительно.
Для примера, диаметр D составляет 9 мм, ширина W периферии равна 2 мм, а диаметр единственного пучка находится в пределах от 0,4 мм до 0,8 мм. Кодер выполнен из прозрачного материала, например из стеклянной пластинки. Различные фильтрующие элементы получены из металлического покрытия контролируемой толщины, осажденного на стеклянную пластинку с помощью процесса фотолитографии. Дополнительное просветляющее покрытие может быть осаждено на обе стороны кодера для снижения потерь на отражение.
На фиг.7В представлен сигнал кодирования, получаемый с помощью амплитудного кодера из фиг.7А.
Когда кодер 330 вращается согласно стрелке (в направлении против часовой стрелки), амплитуда падающего сигнала модулируется в соответствии со следующей схемой. От 0° до 30° первый угловой сектор по существу пропускает падающий пучок. Сигнал кодирования содержит первый участок 364, соответствующий пропусканию Т около 100% падающего пучка. От 30° до 60° второй угловой сектор по существу пропускает 33% падающего пучка. Сигнал кодирования содержит второй участок 365, соответствующий пропусканию Т около 33% падающего пучка. От 60° до 90° третий угловой сектор по существу пропускает 66% падающего пучка. Сигнал кодирования содержит третий участок 366, соответствующий пропусканию Т около 66% падающего пучка. От 90° до 120° четвертый угловой сектор по существу блокирует падающий пучок. Сигнал кодирования содержит четвертый участок 367, соответствующий пропусканию Т около 0% падающего пучка.
Следовательно, в данном примере модулированный сигнал содержит последовательность из первого участка 364, второго участка 365, третьего участка 366 и четвертого участка 367, повторенную три раза в течение полного поворота кодера.
Средство обработки может определять скорость и направление потока флюида путем анализа модулированного сигнала. Для рассматриваемого периода времени декодирование последовательности, содержащей множество последовательных участков, дает возможность определять некоторое количество полных поворотов кодера. Скорость потока флюида пропорциональна числу полных поворотов кодера, приходящихся на единицу времени. Поэтому скорость определяется путем подсчета числа последовательностей, приходящихся на единицу времени. Направление потока флюида определяется порядком расположения различных участков сигнала в последовательности. Точнее, в примерах, описанных выше, последовательность из расположенных в определенном порядке участков сигнала отражает конкретную конфигурацию (фиг. 4В, 5В, 6В и 7В), соответствующую кодеру, вращающемуся в направлении против часовой стрелки. Когда порядок расположения участков сигнала изменяется на противоположный, он отражает обратную конфигурацию, соответствующую кодеру, вращающемуся в направлении по часовой стрелке.
На фиг.8 схематически показано устройство 1001 для измерения скорости и направления потока флюида согласно второму осуществлению изобретения. Устройство согласно второму осуществлению изобретения отличается от устройства согласно первому осуществлению тем, что разветвитель и единственное оптическое волокно заменены двумя оптическими волокнами и вторым формирователем пучка.
Устройство 1001 для измерения скорости и направления потока флюида содержит расходомерный зонд FS, соединенный с электронной системой ЕА посредством первого оптического волокна 1004А и второго оптического волокна 1004В.
Расходомерный зонд FS содержит вертушку 1002, модулятор 1003, первый формирователь 1045А пучка, второй формирователь 1045В пучка и зеркало 1046. Модулятор 1003, формирователи 1045А, 1045В пучка и зеркало 1046 помещены в корпус 1007. Корпус 1007 обеспечивает соответствующую защиту от воздействия агрессивной среды (высокого давления, высокой температуры, вибрации ), которая может иметься внутри ствола скважины, и поддерживает юстировку оптического элемента в пределах допуска. Вертушка 1002 расположена вне корпуса в контакте с потоком FF флюида. Вертушка вращается со скоростью и в направлении вращения вертушки, зависящими от осевой составляющей (показанной стрелками) потока FF флюида.
Модулятор 1003 соединен с вертушкой 1002 и вращается совместно с вертушкой. Модулятор 1003 и вертушка 1002 могут быть магнитно или механически связаны друг с другом.
Первое и второе оптические волокна 1004А, 1004В соединяют расходомерный зонд FS с электронной системой ЕА и размещены внутри кабеля LN.
Электронная система ЕА содержит лазерный источник 1041, детектор 1042 и электронные схемы 1005. Электронные схемы 1005 содержат средство 1006 обработки.
Лазерный источник 1041 связан с первым формирователем 1045А пучка посредством первого оптического волокна 1004А. Детектор 1042 связан со вторым формирователем 1045В пучка посредством второго оптического волокна 1004В. Первый 1045А и второй 1045В формирователи пучка по одну сторону и зеркало 1046 по другую сторону задают между собой свободное пространство небольшой протяженности (около нескольких миллиметров). Модулятор 1003 расположен в этом свободном пространстве так, что падающий пучок IB или обратный пучок RB модулируется информацией, относящейся к вращению вертушки. Первое оптическое волокно 1004А и первый формирователь 1045А пучка обеспечивают подведение падающего пучка IB от лазерного источника к модулятору. Зеркало отражает первый пучок ко второму формирователю 1045В пучка. Второе оптическое волокно 1004В и второй формирователь 1045В пучка обеспечивают подведение обратного пучка RB от модулятора к детектору.
Предпочтительно, чтобы отдельные элементы, за исключением зеркала, имели такие же характеристики, как и элементы, описанные относительно первого осуществления. Предпочтительно, чтобы зеркало 1046 было прямоугольным зеркалом, содержащим две ортогональные отражающие поверхности. Когда падающий пучок IB попадает на первую отражающую поверхность, он отражается ко второй отражающей поверхности. Далее пучок отражается обратно ко второму формирователю 1045В пучка. Падающий пучок и обратный пучок оказываются разнесенными на расстояние, составляющее несколько миллиметров, что обеспечивает пространство, необходимое для размещения двух формирователей пучка. Принцип работы модулятора и принцип определения скорости и направления потока флюида аналогичны уже описанным выше относительно первого осуществления.
На фиг.9 схематически показано устройство 2001 для измерения скорости и направления потока флюида согласно третьему осуществлению изобретения. Устройство согласно третьему осуществлению изобретения отличается от устройства согласно первому осуществлению тем, что разветвитель, зеркало и единственное оптическое волокно заменены двумя оптическими волокнами и вторым формирователем пучка.
Устройство 2001 для измерения скорости и направления потока флюида содержит расходомерный зонд FS, соединенный с электронной системой ЕА посредством первого оптического волокна 2004А и второго оптического волокна 2004В.
Расходомерный зонд FS содержит вертушку 2002, модулятор 2003, первый формирователь 2045А пучка и второй формирователь 2045В пучка. Модулятор 2003, формирователи 2045А, 2045В пучка размещены внутри корпуса 2007. Корпус 2007 обеспечивает соответствующую защиту от воздействия агрессивной среды (высокого давления, высокой температуры, вибрации ), которая может иметься внутри ствола скважины, и поддерживает юстировку оптического элемента в пределах допуска. Вертушка 2002 расположена вне корпуса в контакте с потоком FF флюида. Вертушка вращается со скоростью и в направлении вращения вертушки, зависящими от осевой составляющей (показанной стрелками) потока FF флюида.
Модулятор 2003 соединен с вертушкой 2002 и вращается совместно с вертушкой. Модулятор 2003 и вертушка 2002 могут быть магнитно или механически связаны друг с другом.
Первое и второе оптические волокна 2004А, 2004В соединяют расходомерный зонд FS с электронной системой ЕА и размещены внутри кабеля LN.
Электронная система ЕА содержит лазерный источник 2041, детектор 2042 и электронные схемы 2005. Электронные схемы 2005 содержат средство 2006 обработки.
Лазерный источник 2041 связан с первым формирователем 2045А пучка посредством первого оптического волокна 2004А. Детектор 2042 связан со вторым формирователем 2045В пучка посредством второго оптического волокна 2004В. Первый 2045А и второй 2045В формирователи оптического пучка задают между собой свободное пространство небольшой протяженности (около нескольких миллиметров). Модулятор 2003 расположен в этом свободном пространстве так, что пучок может модулироваться информацией, относящейся к вращению вертушки. Первое оптическое волокно 2004А и первый формирователь пучка 2045А обеспечивают подведение падающего пучка IB от лазерного источника к модулятору. Второе оптическое волокно 2004В и второй формирователь 2045В пучка обеспечивают подведение обратного пучка RB от модулятора к детектору.
Предпочтительно, чтобы отдельные элементы имели такие же характеристики, как и элементы, описанные относительного первого осуществления. Принцип работы модулятора и принцип определения скорости и направления потока флюида аналогичны уже описанным выше относительно первого осуществления.
На фиг.10 схематически показана измерительная система 3001, содержащая множество мультиплексированных измерительных устройство, согласно четвертому осуществлению изобретения.
Измерительная система 3001 содержит множество зондов PS, оптическое волокно 3004 и электронную систему ЕА.
Множество зондов PS содержит мультиплексор 3045, соединенный с первым измерительным устройством 3011, вторым измерительным устройством 3012 и третьим измерительным устройством 3013 посредством первого оптического волокна 3047А, второго оптического волокна 3047В и третьего оптического волокна 3047С соответственно.
Каждое измерительное устройство может быть вертушечным расходомером, описанным выше, или датчиком любого другого вида, который может быть опрошен оптическим способом.
Оптическое волокно 3004 соединяет множество зондов PS с электронной системой ЕА. Оптическое волокно 3004 размещено внутри кабеля LN.
Электронная система ЕА содержит лазерный источник 3041, три детектора 3042А, 3042В и 3042С, оптический разветвитель 50/50 (3043), демультиплексор 3048 и электронные схемы 3005. Электронная система ЕА соединена с оптическим волокном 3004 посредством разветвителя 3043. Оптическая сторона лазерного источника 3041 и входной порт демультиплексора 3048 соединены с разветвителем 3043. Оптическая сторона каждого детектора соединена с каждым выходным портом демультиплексора 3048. Электронная сторона лазерного источника 3041 и детекторов 3042А, 3042В, 3042С соединена с электронными схемами 3005. Электронные схемы 3005 содержат средство 3006 обработки.
Предпочтительно, чтобы лазерный источник 3041 представлял собой широкополосный источник, обеспечивающий падающий пучок IB, несущий множество длин ВВ волн. Мультиплексор 3045 обеспечивает первый падающий пучок IB1, второй падающий пучок IB2 и третий падающий пучок IB3 для первого измерительного устройства 3011, второго измерительного устройства 3012 и третьего измерительного устройства 3013 соответственно. Первый падающий пучок IB1, второй падающий пучок IB2 и третий падающий пучок IB3 переносят различные длины волн, а именно первую длину В1 волны, вторую длину В2 волны и третью длину В3 волны, соответственно. Первое измерительное устройство 3011, второе измерительное устройство 3012 и третье измерительное устройство 3013 обеспечивают соответственно первый обратный пучок RB1, второй обратный пучок RB2 и третий обратный пучок RB3 для мультиплексора 3045.
Каждый обратный пучок содержит модулированный сигнал, который заключает в себе информацию об измеряемой величине (например, о скорости и направлении потока флюида). Мультиплексор 3045 обеспечивает обратный пучок RB, переносящий множество модулированных длин волн к демультиплексору 3048 через разветвитель 3043. Демультиплексор 3048 разделяет множество сигналов в соответствии с их длинами волн и передает каждый модулированный сигнал RB1, RB2 и RB3 к специально выделенному детектору 3042А, 3042В и 3042С соответственно. Электрический сигнал, поставляемый детекторами, анализируется электронными схемами 3005.
В качестве альтернативы мультиплексор, или демультиплексор, или оба они могут быть заменены разветвителем, при этом каждое измерительное устройство и соответствующий ему детектор дополнительно содержат полосовой фильтр, центрированный на конкретной длине волны. Поэтому каждое измерительное устройство будет кодировать измеряемую величину в соответствии с конкретной длиной волны.
Заключительные замечания
Выше были описаны различные варианты кодера, при этом каждый вариант кодера характеризовался определенным числом частей и угловых секторов, угловым положением каждого углового сектора или радиусом каждого углового сектора. Для специалиста в данной области техники должно быть очевидно, что это были только примеры. Другие варианты кодера с измененным числом частей, угловых секторов, угловых положений и радиусов также возможны, но в то же время находятся в рамках объема настоящего изобретения. В частности, для специалиста в данной области техники должно быть очевидно, что снабжение кодера дополнительными угловыми секторами или более узкими угловыми секторами будет приводить к образованию более сложных конфигурации и последовательности и повышению угловой разрешающей способности кодера.
Кроме того, выраженное в процентах пропускание или коэффициент ослабления, которые упоминались в различных осуществлениях, являются только примерами. Для специалиста в данной области техники должно быть очевидно, что другое выраженное в процентах пропускание или коэффициент ослабления могут быть использованы при условии, что последовательность содержит участки, которые могут быть различены друг от друга средством обработки.
Хотя более подробно был описан конкретный пример, относящийся к кабельному каротажу на суше, изобретение также применимо к ситуации другого вида (кабельные измерения в процессе бурения, позиционирование при морских исследованиях и т.д.).
Чертежи и описание их, приведенные выше, иллюстрируют, а не ограничивают изобретение.
Любая позиция в формуле изобретения не должна толковаться как ограничивающая изобретение. Слово «содержащий» не исключает наличия других элементов, кроме как перечисленных в формуле изобретения. Использование единственного числа при указании элемента не должно исключать наличия множества таких элементов.
Формула изобретения
1. Устройство (1) для измерения скорости и направления потока (FF) флюида, содержащее поворотное устройство (2), приспособленное для вращения со скоростью и в направлении вращения поворотного устройства, зависящими от скорости и направления потока флюида, при контакте с потоком флюида, модулятор (3), соединенный с поворотным устройством и приспособленный для вращения совместно с поворотным устройством, волоконно-оптическую систему для подведения падающего пучка (IB) к модулятору и для приема обратного пучка (RB) от модулятора, при этом падающий пучок (IB) содержит падающий сигнал, обратный пучок (RB) содержит модулированный сигнал, модулятор (3) модулирует падающий сигнал так, что образуется модулированный сигнал, зависящий от скорости и направления вращения поворотного устройства (2), в котором модулятор (3) содержит кодер (30), содержащий по меньшей мере первый угловой сектор (34), второй угловой сектор (35) и третий угловой сектор (36), при этом каждый угловой сектор имеет определенный коэффициент ослабления, так что модулированный сигнал содержит по меньшей мере первый участок (64), второй участок (65) и третий участок (66) в течение каждого полного поворота кодера (30), устройство (1) дополнительно содержит средство (6) обработки для определения скорости и направления потока (FF) флюида на основании по меньшей мере первого участка (64), второго участка (65) и третьего участка (66) модулированного сигнала, кодер представляет собой амплитудный кодер (30, 130, 230, 330), при этом первый угловой сектор, второй угловой сектор и третий угловой сектор имеют, по существу, одинаковый угол ( 1, 2, 3, 4), каждый сектор пропускает определенную часть в процентах падающего пучка, которая отличается от части другого сектора.
2. Устройство по п.1, в котором амплитудный кодер (30, 130) имеет форму диска, первый угловой сектор имеет первый радиус (R1), второй угловой сектор имеет второй радиус (R2) и третий угловой сектор имеет третий радиус (R3), при этом каждый сектор выполнен из материала, который, по существу, блокирует падающий пучок.
3. Устройство по п.1 или 2, в котором падающий пучок (IB) разветвляется на первый пучок (DB1) и второй пучок (DB2), второй радиус (R2) и третий радиус (R3) выбираются так, что задается первая дорожка (139А) для первого пучка (DB1), при этом первый и второй угловые секторы, по существу, пропускают первый пучок, третий угловой сектор, по существу, блокирует первый пучок, и первый радиус (R1) и второй радиус (R2) выбираются так, что задается вторая дорожка (139В) для второго пучка (DB2), при этом первый угловой сектор, по существу, пропускает второй пучок, второй и третий угловые секторы, по существу, блокируют второй пучок.
4. Устройство по п.1, в котором амплитудный кодер (230, 330) имеет форму диска, первый угловой сектор выполнен из первого фильтрующего элемента, второй угловой сектор выполнен из второго фильтрующего элемента и третий угловой сектор выполнен из третьего фильтрующего элемента.
5. Устройство по п.1, в котором волоконно-оптическая система содержит лазерный источник (41) для генерации падающего пучка (IB), детектор (42) для преобразования обратного пучка (RB) в электрический сигнал, разветвитель (43) для связи лазерного источника и детектора с концом оптического волокна (4), формирователь (45) пучка на другом конце оптического волокна (4) для подведения падающего пучка (IB) к модулятору (3) и приема обратного пучка (RB) от модулятора (3) и зеркало (46) для отражения обратного пучка к формирователю (45) пучка.
6. Устройство по п.5, в котором зеркало связано с формирователем пучка, который образован вогнутым зеркалом (46А) и усеченным оптическим волокном (45А), или призмой-куб (46В) и коллиматором (45В), или плоским зеркалом (46С) и фокусирующим устройством (45С).
7. Устройство по п.1, в котором волоконно-оптическая система содержит лазерный источник (1041, 2041) для генерации падающего пучка (IB), детектор (1042, 2042) для преобразования обратного пучка (RB) в электрический сигнал, первое оптическое волокно (1004А, 2004А), соединяющее лазерный источник с модулятором (1003, 2003), для подведения падающего пучка к модулятору, и второе оптическое волокно (1004В, 2004В), соединяющее модулятор (1003, 2003) с детектором, для подведения обратного пучка (RB) к детектору.
8. Устройство по п.1, в котором модулятор магнитно или механически связан с поворотным средством.
9. Измерительная система (3001), где измерительная система содержит лазерный источник (3041), обеспечивающий падающий пучок (IB), несущий множество длин волн, мультиплексор (3045) для разделения и перекомпоновки множества длин волн, множество измерительных устройств (3011, 3012, 3013) по любому одному из пп.1-8, при этом каждое измерительное устройство является чувствительным к особой длине (В1, В2, В3) волны и обеспечивает обратный пучок (RB1, RB2, RB3) в соответствии с указанной особой длиной (В1, В2, В3) волны, и демультиплексор 3048 разделения обратного пучка в соответствии с особой длиной (В1, В2, В3) волны ко множеству специально выделенных детекторов (3042А, 3042В, 3042С).
10. Способ измерения скорости и направления потока флюида, содержащий этапы, при выполнении которых подводят падающий пучок к модулятору, вращающемуся совместно с поворотным устройством, при этом модулятор содержит множество угловых секторов, поворотное устройство вращается со скоростью и в направлении вращения поворотного устройства, зависящими от скорости и направления потока флюида, при контакте с потоком флюида, падающий пучок содержит падающий сигнал, формируют обратный пучок, содержащий модулированный сигнал, путем модуляции падающего сигнала в зависимости от скорости и направления вращения поворотного средства, принимают обратный пучок от модулятора и обрабатывают модулированный сигнал, на этапе модуляции падающего сигнала выполняют этап, на котором кодируют модулированный сигнал так, чтобы модулированный сигнал содержал последовательность из по меньшей мере первого участка, второго участка и третьего участка в течение каждого полного поворота кодера, и на этапе обработки модулированного сигнала выполняют этап, на котором декодируют последовательность для определения направления потока флюида на основании по меньшей мере первого, второго и третьего участков модулированного сигнала, в котором по меньшей мере первый участок, второй участок и третий участок имеют различную амплитуду и охватывают идентичные угловые секторы.
11. Способ по п.10, в котором этап обработки модулированного сигнала дополнительно содержит этап, на котором подсчитывают множество указанных последовательностей, приходящихся на единицу времени, для определения скорости потока флюида.
12. Способ по п.10, в котором этап обработки модулированного сигнала дополнительно содержит этап, на котором определяют порядок расположения участков в последовательности для определения направления потока флюида.
РИСУНКИ
|