|
|
(21), (22) Заявка: 2009103707/28, 04.02.2009
(24) Дата начала отсчета срока действия патента:
04.02.2009
(46) Опубликовано: 20.08.2010
(56) Список документов, цитированных в отчете о поиске:
RU 2040871 C1, 09.08.1995. SU 1778300 A1, 30.11.1992. SU 1200254 A1, 23.12.1985. SU 1043302 A1, 23.09.1983. SU 394685 A1, 22.08.1973.
Адрес для переписки:
671610, Республика Бурятия, Баргузинский р-н, с. Баргузин, ул. Партизанская, 20, Л.М. Суменкову
|
(72) Автор(ы):
Суменков Леонид Минаевич (RU)
(73) Патентообладатель(и):
Суменков Леонид Минаевич (RU)
|
(54) ДОННЫЙ РЕПЕР (УСИЛИТЕЛЬ АМПЛИТУДЫ ИНФРАЗВУКОВЫХ ВОЛН ДНА ОКЕАНОВ, МОРЕЙ, ОЗЕР, ВОДОХРАНИЛИЩ)
(57) Реферат:
Изобретение относится к гидрографическому, сейсмографическому оборудованию, которое устанавливают на дно океанов, морей, озер, водохранилищ. Техническим результатом изобретения является создание устройства, которое устанавливают непосредственно на проблемных участках дна водоема с возможностью усиления очень слабых инфразвуковых колебаний. Донный репер содержит заостренный удлиненный стержень со стабилизатором наверху в виде резонатора звуковых частот. Резонатор выполнен в виде системы из нескольких разных упругих пластин, стержней, мембран, укрепленных одним концом на общем основании, которое выполнено в виде остроугольной призмы, а также струн, укрепленных на рамочном каркасе. Донный репер выполнен с возможностью использования в релейных системах. 1 з.п. ф-лы, 10 ил.
Устройство относится к гидрографическому, сейсмографическому оборудованию, которое устанавливают на дно океанов, морей, озер, водохранилищ (далее – водоемов).
Существует проблема прогноза землетрясений, в частности подводных, создающих цунами. Основной путь к решению этой проблемы – тщательная регистрация «предвестников» землетрясения; слабых предварительных толчков деформации земной поверхности, сопровождаемых инфразвуками.
Известны сейсмографы, геофоны, воспринимающие механические колебания грунта и преобразующие их в электрические колебания. При рабою на море применяют керамические пьезоэлектрические сейсмографы давления, которые электрически поляризуются при изменении приложенного к ним внешнего давления, вызываемого упругой волной; пьезоэлектрический сейсмограф размещают внутри особого шланга, буксируемого кораблем.
Недостатки этого прибора заключаются в том, что его нельзя установить на дно водоема на длительное время и передать электрический сигнал без проводной связи. Сейсмографы, установленные на суше, также не могут зарегистрировать далекие, слабые, затухающие колебания грунта.
(БСЭ. Гл. ред. А.М.Прохоров. Изд. 3-е. М.: Советская энциклопедия, 1976. Т.23, стр.178.)
Известен донный репер – фигуры 1, 2, прилагаются к данной заявке.
(заявка на изобретение 2008102806 от 24.01.2008, по которой вынесено решение о выдаче патента.)
Техническим результатом изобретения является создание устройства, которое устанавливают непосредственно на проблемных участках дна водоема с возможностью усиления очень слабых инфразвуковых колебаний, которые могут зафиксировать сейсмографы и геофоны, установленные на суше.
Достижение технического результата изобретения осуществляют установлением на эти участки дна долговременных донных реперов, не нуждающихся в источниках питания. Репер имеет вид заостренного, удлиненного стержня со стабилизатором наверху в виде системы из нескольких упругих пластин, стержней, мембран, струн (далее – пластин), укрепленных одним концом на общем основании. Струны укреплены на раме. Пластины подбирают по длине и массе так, чтобы частоты их собственных колебаний составили необходимую дискретную шкалу инфразвуковых частот.
Слабые колебания грунта и водной среды около репера создают слабые инфразвуковые колебания, которые вызывают резонанс одной из пластин. Усиленное звуковое давление передается в грунт и в водную среду, которое принимают сейсмические и звукометрические станции, установленные на суше. Вследствие того что инфразвуки отличаются малым поглощением и слабым рассеиванием и распространяются дальше всех волн, усиленные незначительные колебания дна водоема позволят расширить спектр наблюдений. Наличие релейной характеристики, т.е. скачкообразного изменения состояния среды; резонанс вызывает резкое повышение звукового давления, позволит применить эти репера в качестве релейных передающих систем.
Эти репера входят в глобальную реперную сеть, расположенную на дне океанов, морей, озер, водохранилищ. Репера, установленные вне сейсмических зон, имеют тот же удлиненный стержень, но резонатор имеет вид одной или двух упругих стержней (ножек камертона), пластин, мембран. Эти репера используют для привязки гидрографических работ, наблюдений за динамикой рельефа дна, подводной ориентации подводных лодок. Для этих же целей используют и репера сейсмозон.
На фиг.1, 2 изображен репер – аналог, где 1 – стабилизатор (резонансные ножки камертона), 2 – заостренный стержень.
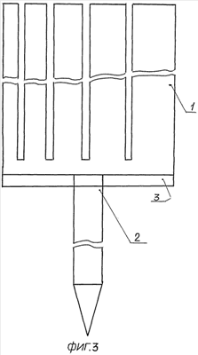
На фиг.3, 4: 1 – мембрана, упругая пластина, разрезанная на полосы разной ширины, 2 – стержень, 3 – основание для крепления мембраны – 1.
На фиг.5, 6: 1 – струны разной длины или толщины, 2 – стержень, 3 – рама для крепления струн.
На фиг 7, 8: 1 – стержни разной длины, 2 – стержень, 3 – основание для крепления стержней.
На фиг.9, 10: 1 – пластины разной толщины, 2 – стержень, 3 – основание.
На всех фигурах резонаторы являются стабилизаторами.
Донный репер устанавливают на дно водоема методом сброса со льда или корабля в места, указанные специалистом. Сразу после установки делают вертикальную и горизонтальную привязку к наземным реперам известными методами спутниковой или наземной геодезии. Местоположение реперов наносят на карту дна.
Для использования реперов для релейной передачи инфразвуков их располагают цепочкой к береговой службе наблюдений, при этом резонансные свойства каждого репера сохранят или увеличивают амплитуду колебаний.
Репера изготавливают из прочного, антикоррозионного материала, обеспечивающего вековую сохранность в морской и пресной воде. Длину и форму резонатора подбирают для каждого водоема индивидуально. Для устранения накопления на резонаторе многолетних донных отложений основания крепления их выполнены в виде остроугольной призмы. Мощный импульс резонансной частоты эхолотом также способствует самоочистке резонаторов.
Каждый репер имеет технический паспорт с первоначальными и последующими частотными характеристиками, которые могут изменяться из-за изменения длины и массы резонатора вследствие коррозии или донных отложений.
Формула изобретения
1. Донный репер – усилитель амплитуды инфразвуковых волн участков дна водоемов, содержащий заостренный удлиненный стержень со стабилизатором наверху в виде резонатора звуковых частот, отличающийся тем, что резонатор выполнен в виде системы из нескольких разных упругих пластин, стержней, мембран, укрепленных одним концом на общем основании, которое выполнено в виде остроугольной призмы, а также струн, укрепленных на рамочном каркасе.
2. Репер по п.1, отличающийся тем, что выполнен с возможностью использования в релейных системах.
РИСУНКИ
|
|