|
|
(21), (22) Заявка: 2009110856/28, 24.03.2009
(24) Дата начала отсчета срока действия патента:
24.03.2009
(46) Опубликовано: 20.08.2010
(56) Список документов, цитированных в отчете о поиске:
RU 2313764 C1, 27.12.2007. RU 2080555 C1, 27.05.1997. JP 54-103065 A, 14.08.1979. JP 2004-264277 A, 24.09.2004.
Адрес для переписки:
662972, Красноярский край, ЗАТО Железногорск, г. Железногорск, ул. Ленина, 52, ОАО “ИСС”, начальнику УИО Р.П. Туркеничу
|
(72) Автор(ы):
Тыщенко Александр Константинович (RU)
(73) Патентообладатель(и):
Открытое акционерное общество “Информационные спутниковые системы” имени академика М.Ф. Решетнева” (RU)
|
(54) УСТРОЙСТВО ДЛЯ ИЗМЕРЕНИЯ УГЛОВЫХ ПЕРЕМЕЩЕНИЙ
(57) Реферат:
Изобретение относится к измерительной технике. Технический результат: повышение точности измерения за счет уменьшения погрешности, вызванной смещением оси вращения преобразования устройства для измерения угловых перемещений, снижение требований к точности исполнения и жесткости механических узлов. Сущность: устройство содержит два трансформаторных датчика угла. К выходу каждого датчика подключены последовательно соединенные дифференциальный усилитель, устройство выборки хранения, аналого-цифровой преобразователь, регистр. Выходы регистров соединены со входами сумматора. Выход сумматора соединен с регистром данных. Выходы блока управления соединены со вторыми входами устройств выборки-хранения, аналого-цифровых преобразователей, регистров, сумматора и регистра данных. 3 ил.
Изобретение относится к измерительной технике и может быть использовано для измерения угловых перемещений различных объектов, а именно, для преобразования ограниченного угла поворота вала в код, когда нецелесообразно применять сложные, полнооборотные и дорогие датчики (редуктосины, СКВТ и пр.).
Известен преобразователь перемещений (В.Г.Домрачев, В.Р.Матвеевский, Ю.С.Смирнов, Схемотехника цифровых преобразователей перемещений, М., Энергоатомиздат, 1987, с.58), содержащий П-образный магнитопровод, выходные обмотки которого соединены с элементами сравнения СС1.СС2.СС3, выходы которых подключены к шифратору Ш, содержащему элементы НЕ1, НЕ2, НЕ3 и И1, И2, И3, на выходах которых формируется позиционный код перемещения.
Недостатком данного преобразователя является низкая точность преобразования, обусловленная большой дискретностью измерения.
Наиболее близким к предлагаемому является устройство для измерения угловых перемещений по RU 2313764 С1, 27.12.2007. МПК: G01B 7/30, содержащий формирователь синусоиды, трансформаторный датчик угла, дифференциальный усилитель, устройство выборки-хранения, аналого-цифровой преобразователь, регистр данных, блок управления и синхронизации и генератор.
Это устройство выбрано в качестве прототипа.
Недостатком этого устройства является погрешность, обусловленная радиальным смещением оси вращения чувствительного элемента трансформаторного датчика угла.
Задачей настоящего изобретения является повышение точности преобразования устройства для измерения угловых перемещений за счет уменьшения погрешности, вызванной радиальным смещением оси вращения чувствительного элемента трансформаторного датчика угла. Уменьшение погрешности осуществляется с помощью установки второго трансформаторного датчика угла и схемы компенсации.
Для достижения поставленной задачи в устройство для измерения угловых перемещений, содержащее генератор, выход которого соединен с входом блока управления и синхронизации, первый выход которого соединен с входом формирователя синусоиды, выход которого соединен с входом первого трансформаторного датчика угла, первый и второй выходы которого соединены соответственно с первым и вторым входами первого дифференциального усилителя, выход которого соединен с первым входом первого устройства выборки-хранения, выход которого соединен с первым входом первого аналого-цифрового преобразователя, введены второй трансформаторный датчик угла, второй дифференциальный усилитель, второе устройство выборки-хранения, второй аналого-цифровой преобразователь, сумматор, первый и второй регистры, первые входы которых соединены с выходами первого и второго аналого-цифровых преобразователей соответственно, а выход первого регистра соединен с первым входом сумматора, выход второго регистра соединен со вторым входом сумматора, выход которого соединен с первым входом регистра данных, второй вход которого соединен с седьмым выходом блока управления и синхронизации, второй выход которого соединен со вторым входом первого устройства выборки-хранения, третий выход соединен со вторым входом первого регистра данных, четвертый выход соединен со вторым входом первого аналого-цифрового преобразователя, пятый выход соединен со вторым входом второго регистра, шестой выход соединен с третьим входом сумматора, восьмой выход соединен со вторым входом второго аналого-цифрового преобразователя, девятый выход соединен со вторым входом второго устройства выборки-хранения, выход которого соединен с первым входом второго аналого-цифрового преобразователя, а вход соединен с выходом второго дифференциального усилителя, первый и второй входы которого соединены соответственно с первым и вторым выходом второго трансформаторного датчика угла, вход которого соединен с выходом формирователя синусоиды.
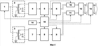
Суть изобретения поясняется чертежами, где на фиг.1 изображена блок-схема устройства для измерения угловых перемещений, на фиг.2 – эпюры напряжений устройства для измерения угловых перемещений и на фиг.3 – первый и второй трансформаторные датчики угла.
Устройство для измерения угловых перемещений содержит формирователь 1 синусоиды, первый трансформаторный датчик 2 угла, второй трансформаторный датчик 3 угла, дифференциальные усилители 4 и 7, устройства выборки-хранения 5 и 8, аналого-цифровые преобразователи 6 и 9, регистры 10 и 11, сумматор 12, регистр 13 данных, генератор 14 и блок управления и синхронизации 15.
Устройство работает следующим образом.
На фиг.1 показано, что на входы первого трансформаторного датчика 2 угла и второго трансформаторного датчика 3 угла подается синусоидальное напряжение с выхода формирователя 1 синусоиды. Трансформаторные датчики угла работают по принципу размыкания электромагнитного поля. Каждый датчик состоит из магнитного сердечника с зазором, в котором перемещается чувствительный элемент – медный виток, обладающий большой электрической проводимостью. Перемещение чувствительного элемента вызывает изменение величины наводимых в нем вихревых токов. При этом изменяется индуктивная связь между первичной обмоткой, расположенной на центральном сердечнике, и выходными обмотками. Если виток находится в нулевом положении, как показано, напряжение на выходе датчика, равное разности напряжений на выходных обмотках, будет равно нулю, т.к. выходные обмотки включены встречно и напряжения на выходных обмотках будут равны между собой по амплитуде и противоположны по фазе. Когда чувствительный элемент начнет вращаться, напряжение на выходе трансформаторного датчика 2 угла и трансформаторного датчика 3 угла изменяется пропорционально – углу поворота витка.
Полярность выходного напряжения определяется направлением отклонения витка от нулевого положения.
Выходные синусоидальные напряжения трансформаторного датчика 2 угла и трансформаторного датчика 3 угла подаются на входы дифференциальных усилителей 4 и 7 соответственно. Усиленные до необходимой величины напряжения с выходов дифференциальных усилителей 4 и 7 поступают на входы устройств выборки-хранения 5 и 8 соответственно.
С помощью блока управления и синхронизации 15 в устройстве выборки-хранения 5 и 8 происходит запоминание значений выходных напряжений первого трансформаторного датчика 2 угла Uтду1 и второго трансформаторного датчика 3 угла Uтду2 соответственно. Напряжения Uувx1 и Uувx2 с выходов устройств выборки-хранения 5 и 8 поступают на входы аналого-цифровых преобразователей 6 и 9 соответственно, где преобразуются в цифровые коды Nтду1=f( ) и Nтду2=f( ), являющиеся функцией от – угла поворота витка.
Может возникнуть ситуация, когда на ось вращения чувствительного элемента начнет воздействовать сила F, направленная по радиусу в определенном направлении. Предположим, что направление силы F совпадает с осью Y. Ось вращения вместе с чувствительным элементом, при наличии осевого люфта или деформации, может сместиться по оси Y. Как видно из фиг.3, чувствительный элемент сместится для верхнего трансформаторного датчика 2 угла дальше от нулевого положения, т.е. в сторону увеличения модуля угла, а для нижнего трансформаторного датчика 3 угла ближе к нулевому положению, т.е. в сторону уменьшения модуля угла. Вместе со смещением оси изменится и напряжение на выходе трансформаторных датчиков угла. При симметричном расположении трансформаторных датчиков угла, смещение оси вращения, а с ней и чувствительного элемента, показанное на фиг.3, по отношению к каждому из трансформаторных датчиков угла будет равно по величине и противоположно по знаку. В результате смещения оси, Uсм – изменения выходных напряжений Uтду1 и Uтду2 так же будут равны по величине и противоположны по знаку.
Выходные напряжения устройств выборки-хранения Uувx1=Uном+Uсм и Uувх2=Uном-Uсм поступают на вход аналого-цифровых преобразователей 6 и 9, где преобразуются в цифровые коды N1=Nном+Nсм и N2=Nном – Nсм, пропорциональные углу поворота . Число N1 записывается в первый регистр 10, а число N2 записывается во второй регистр 11. С выходов регистров 10 и 11 цифровые коды N1 и N2 поступают на входы сумматора 12. В сумматоре 12 они складываются и полученная сумма записывается в регистр 13 данных. Путем отбрасывания младшего разряда на выходе регистра 13 данных эта сумма делится на два. На выходе устройства появляется число Nвых, пропорциональное измеряемому углу поворота . Затем регистры обнуляются и в следующем цикле измерения вычисляется следующее числовое значение Nвых. В результате этих вычислений происходит компенсация ошибки измерения, вызванной смещением оси вращения, т.к. числа Nсм входят в N1 и N2 с разными знаками и после сложения в сумматоре 12 взаимно уничтожаются:
,
где Nвых – число на выходе устройства, пропорциональное углу поворота ;
N1 – число, соответствующее измеряемому напряжению на выходе первого трансформаторного датчика 2 угла;
N2 – число, соответствующее измеряемому напряжению на выходе второго трансформаторного датчика 3 угла;
Nном – число, соответствующее измеряемому углу поворота без ошибки, вызванной смещением оси вращения;
Nсм – число, соответствующее напряжению смещения.
Таким образом, с помощью предложенного устройства, содержащего дополнительный трансформаторный датчик 3 угла и схему компенсации, уменьшается погрешность измерения угла поворота вала, вызванная смещением в определенном направлении оси вращения. Необходимо предварительно развернуть трансформаторные датчики угла относительно оси вращения так, чтобы компенсация погрешности была наиболее максимальной.
Процессы формирования синусоиды, выборки-хранения и аналого-цифрового преобразования, записи в регистры и суммирования синхронизированы частотой генератора 14 с помощью блока управления и синхронизации 15.
Уменьшение ошибки измерения с помощью введения дополнительного трансформаторного датчика 3 угла и схемы компенсации позволило существенно повысить точность измерения угла, снизить требования к точности исполнения и жесткости механических узлов, снизив стоимость устройства.
Из известных заявителю патентно-информационных материалов не обнаружены признаки, сходные с совокупностью признаков заявляемого объекта.
Данное устройство испытано на макетном образце. Результаты испытаний свидетельствуют о достижении поставленной задачи. ОАО «ИСС» предполагает использовать это техническое решение на штатных изделиях.
Формула изобретения
Устройство для измерения угловых перемещений, содержащее генератор, выход которого соединен с входом блока управления и синхронизации, первый выход которого соединен с входом формирователя синусоиды, выход которого соединен с входом первого трансформаторного датчика угла, первый и второй выходы которого соединены соответственно с первым и вторым входами первого дифференциального усилителя, выход которого соединен с первым входом первого устройства выборки-хранения, выход которого соединен с первым входом первого аналого-цифрового преобразователя, отличающееся тем, что в него введены второй трансформаторный датчик угла, второй дифференциальный усилитель, второе устройство выборки хранения, второй аналого-цифровой преобразователь, сумматор, первый и второй регистры, первые входы которых соединены с выходами первого и второго аналого-цифровых преобразователей соответственно, а выход первого регистра соединен с первым входом сумматора, выход второго регистра соединен со вторым входом сумматора, выход которого соединен с первым входом регистра данных, второй вход которого соединен с седьмым выходом блока управления и синхронизации, второй выход которого соединен со вторым входом первого устройства выборки-хранения, третий выход соединен со вторым входом первого регистра данных, четвертый выход соединен со вторым входом первого аналого-цифрового преобразователя, пятый выход соединен со вторым входом второго регистра, шестой выход соединен с третьим входом сумматора, восьмой выход соединен со вторым входом второго аналого-цифрового преобразователя, девятый выход соединен со вторым входом второго устройства выборки-хранения, выход которого соединен с первым входом второго аналого-цифрового преобразователя, а первый вход соединен с выходом второго дифференциального усилителя, первый и второй входы которого соединены соответственно с первым и вторым выходом второго трансформаторного датчика угла, вход которого соединен с выходом формирователя синусоиды.
РИСУНКИ
|
|