|
|
(21), (22) Заявка: 2008123035/28, 07.06.2008
(24) Дата начала отсчета срока действия патента:
07.06.2008
(43) Дата публикации заявки: 20.12.2009
(46) Опубликовано: 20.08.2010
(56) Список документов, цитированных в отчете о поиске:
DE 2462156 A1, 18.03.1976. SU 1173153 A, 15.08.1985. CA 534464 A, 18.12.1956. SU 1404789 A1, 23.06.1988. US 2377240 A, 29.05.1945.
Адрес для переписки:
601900, Владимирская обл., г. Ковров, ул. Труда, 4, ОАО “Завод им. В.А. Дегтярева”, ОПЛИР
|
(72) Автор(ы):
Митин Анатолий Семёнович (RU), Назарова Марина Викторовна (RU)
(73) Патентообладатель(и):
Открытое акционерное общество “Завод им. В.А. Дегтярева” (RU)
|
(54) НУТРОМЕР
(57) Реферат:
Изобретение относится к измерительной технике, а именно к устройствам для измерения диаметров отверстий. Нутромер содержит полый корпус с упорным торцом и тремя радиальными отверстиями, расположенными на одном расстоянии от упорного торца в плоскости, перпендикулярной оси вращения корпуса. В отверстие корпуса установлен стержень с конусом. В радиальные отверстия конуса установлены три измерительные опоры в виде шарика без возможности выпадения наружу корпуса. Ход стержня вдоль корпуса ограничен посредством ограничителя, установленного в стержень через паз, длина которого соответствует ходу стержня в корпусе. На цилиндрический участок стержня нанесена основная шкала. На корпусе винтами закреплен нониус. Технический результат заключается в упрощении конструкции и увеличении точности измерения. 1 з.п. ф-лы, 2 ил.
Изобретение относится к измерительной технике, а именно к устройствам для измерения диаметров отверстий, преимущественно сложнопрофильных конических, типа патронников стволов стрелкового оружия.
Известно устройство для измерения диаметра отверстия (патент DE 2462156 А1, опубл. 18.03.1976, МПК G01B 5/08). Устройство содержит отсчетное устройство со шкалой для определения действительного размера и нутромер. Нутромер содержит полый корпус, на одном конце которого имеются три отверстия, оси которых перпендикулярны оси корпуса, а на другом – элементы крепления, посредством которых к корпусу присоединено отсчетное устройство, в трех отверстиях корпуса размещены измерительные опоры в виде шариков. Внутри корпуса установлен цилиндроконический стержень с возможностью ограниченного возвратно-поступательного перемещения вдоль оси, при этом его конус взаимодействует с измерительными опорами, а противоположный торец стержня взаимодействует с измерительным наконечником отсчетного устройства. На наружной поверхности корпуса установлена сменная центрирующая нутромера по диаметру измеряемого отверстия втулка с пазами для прохождения измерительных опор и подвижная муфта, которая может переустанавливаться в пределах расстояния относительно корпуса и закрепленной на нем сменной центрирующей втулки.
Недостатками аналога являются:
1. Устройство является дорогим и сложным в изготовлении средством измерения, т.к. для определения действительного диаметра отверстия к нутромеру должно быть надежно прикреплено отсчетное устройство.
2. Устройство имеет ограниченное применение и предназначено для измерения диаметров цилиндрических отверстий по их длине, при этом для измерения другого диаметра требуется переналадка устройства с заменой центрирующей втулки.
3. Использование отсчетных устройств с малым ходом измерительного наконечника (типа индикатора) требует использования в нутромере цилиндроконического стержня с крутым углом наклона образующей конуса относительно его оси, что снижает точность измерения.
4. Так как муфта выполнена подвижной относительно измерительных опор, то в производственных условиях невозможно оперативно и метрологически точно выставить размер до измеряемого сечения, в связи с этим подобным устройством невозможно объективно измерять точные диаметры сложнопрофильных отверстий из сочетания нескольких конических отверстий с разными углами наклона образующей конуса, типа патронников стволов стрелкового оружия, измерения которых производятся на определенных (номинальных) расстояниях от пенька (торца) ствола. Учитывая, что мерительные средства в эксплуатацию выдаются после метрологического контроля, то после каждого изменения положения муфты вдоль оси нутромера необходимо производить поверку устройства. Кроме того, при эксплуатации муфта может смещаться от выставленного положения под воздействием осевых нагрузок, что снижает надежность устройства.
5. Наличие сменной центрирующей втулки уменьшает диапазон измеряемых устройством диаметров на величину, равную двум толщинам стенки центрирующей втулки.
Известен самоцентрирующийся и самовыравнивающийся нутромер TESA IMICRO с контактом измерительных опор с поверхностью измеряемого отверстия по трем направлениям (см. Измерительные инструменты и системы. Измерение внутренних размеров и необходимые условия, каталог, TESA IMICRO TECHNOLOGY. HEXAGON METROLOGY, Bugnon 38-CH-1020 Renens-Switzerland, 2003/2004 г., с.2, 3, 6, 9), принятый за прототип. Нутромер состоит из полого корпуса, на одном конце которого расположено отсчетное устройство в виде микрометрической шкалы или электронной шкалы с цифровой индикацией, на другом конце корпуса установлена измерительная головка с тремя подпружиненными к оси корпуса измерительными опорами, расположенными через 120°. Измерительные опоры перемещаются в плоскости, перпендикулярной оси вращения корпуса, при этом поверхность измерительной опоры, контактирующая с поверхностью измеряемого отверстия, параллельна оси вращения корпуса и образует во время измерения линейный контакт, а противоположная ее поверхность выполнена в виде наклонной ступенчатой поверхности высокой точности. Наклонная ступенчатая поверхность измерительной опоры взаимодействует с высокоточной резьбой, нанесенной на измерительный конус цилиндроконического стержня, расположенного внутри корпуса. Противоположный измерительному конусу конец цилиндроконического стержня связан с отсчетным устройством нутромера. Во время измерения цилинроконический стержень вращают вокруг оси, при этом он перемещается вдоль оси корпуса. Измерительный конус стержня, воздействуя на наклонные ступенчатые поверхности измерительных опор, перемещает их в направляющих измерительной головки в плоскости, перпендикулярной оси вращения корпуса.
Недостатки прототипа заключаются в следующем:
– нутромер предназначен для измерения диаметров цилиндрических отверстий;
– нутромер нельзя использовать для измерения конических отверстий и особенно сложнопрофильных отверстий из сочетания нескольких конических отверстий с разными углами наклона образующей конуса типа патронников стволов стрелкового оружия;
– нутромер является сложным и дорогим средством измерения;
– трудоемкий процесс измерения, связанный с передачей вращательного движения цилиндрического стержня в поступательное движение измерительных опор.
Задача предлагаемого изобретения заключается в создании измерительного устройства для контроля диаметров отверстий из сочетания нескольких конусов с разными углами наклона образующей конуса, типа патронников стволов стрелкового оружия.
Технический результат заключается в упрощении конструкции, надежности в эксплуатации, обеспечении точности измерения с определением действительного значения диаметра в любом заданном сечении конуса в плоскости, перпендикулярной оси вращения конуса.
Указанный технический результат достигается тем, что в нутромере для измерения диаметров отверстий контактом измерительных опор по трем направлениям, содержащем полый корпус, три измерительные опоры, расположенные в плоскости, перпендикулярной оси вращения корпуса, отсчетное устройство, цилиндроконический стержень, расположенный внутри корпуса и взаимодействующий конусом с измерительными опорами, новым является то, что корпус выполнен с неподвижным упорным торцом, измерительные опоры, имеющие сферические торцы, установлены в радиальных отверстиях, выполненных в корпусе на одном расстоянии от неподвижного упорного торца корпуса, а цилиндроконический стержень установлен в корпусе с возможностью ограниченного возвратно-поступательного перемещения, а отсчетное устройство выполнено в виде основной шкалы нанесения на цилиндрическую поверхность цилиндроконического стержня и дополнительной шкалы – нониуса, расположенной на корпусе, при этом нутромер снабжен мерными проставками.
Высота проставок равна разнице между расстоянием от неподвижного упорного торца корпуса до плоскости, проходящей через оси отверстия для размещения измерительных опор, и размером детали от ее торца до сечения, в котором производят измерение диаметра.
Конус цилиндроконического стержня выполнен пологим с конусностью 1:25.
Выполнение корпуса с неподвижным упорным торцом позволяет измерять коническое отверстие на одном расстоянии от торца.
Установка измерительных опор, имеющих сферические торцы в радиальных отверстиях, выполненных в корпусе на одном расстоянии от неподвижного упорного торца, позволяет обеспечить точечный контакт с поверхностью измеряемого отверстия и поверхностью конуса цилиндроконического стержня. Измерительные опоры могут быть выполнены в виде шарика.
Для измерения диаметров конусов в заданных от торца детали сечениях нутромер снабжен мерными проставками. Высота проставок равна разнице между расстоянием от неподвижного упорного торца корпуса до плоскости, проходящей через оси отверстий для размещения измерительных опор и размером детали от торца до сечения, в котором измеряют диаметр.
Угол наклона образующей конуса выбирается из необходимой для измерения точности нутромера и диапазона измеряемых диаметров. При этом для обеспечения высокой точности измерения угол наклона цилиндроконического стержня выполнен пологим с конусностью 1:25.
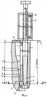
Сущность изобретения поясняется чертежами, где на фиг.1 изображен нутромер; на фиг.2 – сечение Ж-Ж (сечение нутромера плоскостью, проходящей через оси измерительных опор).
Нутромер содержит полый корпус с упорным торцом 2 и тремя радиальными отверстиями 3, расположенными на одном расстоянии от упорного торца 2 в плоскости, перпендикулярной оси вращения корпуса. В отверстие корпуса 1 установлен стержень 4 с конусом 5. В радиальные отверстия 3 корпуса 1 установлены три измерительные опоры 6 в виде шарика без возможности выпадения наружу корпуса. Ход стержня 4 вдоль корпуса 1 ограничен посредством ограничителя, установленного в стержень 4 через паз, длина которого соответствует ходу стержня 4 в корпусе 1. На цилиндрический участок стержня 4 нанесена основная шкала. На корпусе 1 винтами 8 закреплен нониус. Нутромер снабжен мерными проставками 10 для измерения диаметров конусов на разных расстояниях от торца обмеряемой детали.
Нутромер работает следующим образом.
Необходимо измерить диаметры начала и конца пятого, четвертого, третьего конусов патронника ствола стрелкового оружия с допуском +0,04 мм на расстояниях А, Б, В, Г, Д, Е от пенька ствола. Для этого используют нутромер с конусностью конического участка цилиндроконического стержня 1:25, при этом цена деления основной шкалы с рисками, нанесенными через 1 мм, будет соответствовать 0,04 мм, а значение отсчета по нониусу от стандартного штангенциркуля ШЩ II – 250-0,05 ГОСТ 166 будет соответствовать 0,002 мм. Нутромер вставляют в патронник и производят измерения диаметра в конце 5-го конуса на расстоянии А от пенька ствола, для чего между упорным торцом 2 нутромера и пеньком ствола устанавливают проставку 10, высота которой соответствует разнице между расстоянием L от упорного торца до сечения Ж-Ж нутромера и заданным размером А обмеряемой детали. Прижимают упорный торец нутромера с проставкой к пеньку ствола, конусом стержня 4 нутромера разводят измерительные опоры 6 до упора в измеряемый диаметр и снимают показания действительного размера с основной шкалы и нониуса. Для измерения диаметра начала 5-го конуса на расстоянии Б от пенька ствола нутромер устанавливают при помощи соответствующей проставки 10 в данное сечение и производят измерения. Совершая аналогичные действия, измеряют диаметры четвертого и третьего конусов патронника на расстояниях В, Г, Д, Е от пенька ствола.
Формула изобретения
1. Нутромер для измерения диаметров отверстий контактом измерительных опор по трем направлениям, содержащий полый корпус, три измерительные опоры, расположенные в плоскости, перпендикулярной оси вращения корпуса, отсчетное устройство, цилиндроконический стержень, расположенный внутри корпуса и взаимодействующий конусом с измерительными опорами, отличающийся тем, что корпус выполнен с неподвижным упорным торцом, измерительные опоры, имеющие сферические торцы, установлены в радиальных отверстиях, выполненных в корпусе на одном расстоянии от упорного торца корпуса, цилиндроконический стержень установлен в корпусе с возможностью ограниченного возвратно-поступательного перемещения, а отсчетное устройство выполнено в виде основной шкалы, нанесенной на цилиндрическую поверхность цилиндроконического стрежня и дополнительной шкалы – нониуса, расположенной на корпусе, при этом нутромер снабжен мерными проставками.
2. Нутромер по п.1, отличающийся тем, что высота проставок равна разнице между расстоянием от неподвижного упорного торца корпуса до плоскости, проходящей через оси отверстия для размещения измерительных опор и размером детали от ее торца до сечения, в котором производят измерение диаметра.
РИСУНКИ
|
|