|
|
(21), (22) Заявка: 2009141626/02, 10.11.2009
(24) Дата начала отсчета срока действия патента:
10.11.2009
(46) Опубликовано: 20.08.2010
(56) Список документов, цитированных в отчете о поиске:
БАБИЧЕВ В.И. Основы устройства и функционирования артиллерийских управляемых снарядов, изд. ТулГУ, Тула, 2003, с.115, рис.4.18. RU 2205361 С2, 27.05.2003. RU 2138767 С1, 27.09.1999. US 4606514 А, 19.08.1986.
Адрес для переписки:
300001, г.Тула, Щегловская засека, 59, Государственное унитарное предприятие “Конструкторское бюро приборостроения”
|
(72) Автор(ы):
Гусев Андрей Викторович (RU), Морозов Владимир Иванович (RU), Недосекин Игорь Алексеевич (RU), Минаков Владимир Михайлович (RU)
(73) Патентообладатель(и):
Государственное унитарное предприятие “Конструкторское бюро приборостроения” (RU)
|
(54) ГИРОСКОПИЧЕСКОЕ СЛЕДЯЩЕЕ ЗА ЦЕЛЬЮ УСТРОЙСТВО САМОНАВОДЯЩЕЙСЯ ВРАЩАЮЩЕЙСЯ ВОКРУГ ПРОДОЛЬНОЙ ОСИ РАКЕТЫ
(57) Реферат:
Изобретение относится к области наведения управляемых снарядов. Технический результат – повышение точности наведения снаряда на цель. Устройство содержит трехстепенной астатический гироскоп, последовательно соединенные приемник излучения, оптическая ось которого совпадает с осью собственного вращения ротора гироскопа, и аппаратуру выделения угловых координат цели, первый и второй экстраполяторы нулевого порядка, взаимосвязанные с гироскопом первый и второй электромагнитные двигатели коррекции углового положения оси собственного вращения ротора гироскопа. Устройство также содержит гироскопический датчик угла крена ракеты, формирователь сигналов модуляции, восемь блоков произведения, два сумматора и два блока вычитания. Технический результат достигается введением промежуточной демодуляции и модуляции сигналов управления головкой самонаведения и рулевым приводом частотой вращения снаряда таким образом, чтобы экстраполяция сигналов управления проводилась в канале постоянного тока, т.е. вектор рассогласования предварительно раскладывают на координатные составляющие, запоминают их до прихода следующего импульса подсвета и формируют сигналы управления электромагнитными двигателями коррекции во вращающейся системе координат. 3 ил.
Предлагаемое изобретение относится к области вооружения, в частности к области самонаводящихся вращающихся по углу крена ракет, и может быть использовано в комплексах танкового и противотанкового вооружения, а также в малогабаритных зенитных комплексах.
Метод пропорционального сближения, часто используемый в системах самонаведения, реализуется с помощью установленного на борту ракеты координатора, стабилизированного с помощью гироскопа и осуществляющего автоматическое сопровождение цели за счет прецессии гироскопов. Прецессия стабилизирующих гироскопов вызывается моментными датчиками, питаемыми от электронной части координатора, с которой снимаются сигналы, пропорциональные рассогласованию между линией визирования и осью координатора. Эти сигналы в установившемся состоянии аналогичны скоростным ошибкам обычной следящей системы и в данном случае пропорциональны абсолютной угловой скорости линии визирования цели. Следовательно, сигналы рассогласования между линией визирования и осью координатора могут служить мерой угловой скорости линии визирования и использоваться для управления положением вектора скорости ракеты с целью сведения к нулю угловой скорости линии визирования.
В качестве иллюстрации в книге Н.Т.Кузовкова “Системы стабилизации летательных аппаратов”, М., Высшая школа, 1976 г., [1] на рис.8.4, с.278 приведена схема гиростабилизированного координатора цели, в котором слежение оси координатора за линией визирования осуществляется за счет прецессии гироскопа, вызываемой моментными датчиками на осях колец карданова подвеса. Недостатком такого гироскопического следящего за целью устройства является необходимость стабилизации ракеты по крену, что требует применения рулевого привода с управлением не только по каналам курса и тангажа, а также по каналу крена.
В качестве прототипа заявленному устройству служит гироскопическое следящее за целью устройство самонаводящейся вращающейся вокруг продольной оси ракеты, приведенное в книге В.И.Бабичева, В.В.Ветрова, А.В.Игнатова, А.Р.Орлова, Основы устройства и функционирования артиллерийских управляемых снарядов, изд. ТулГУ, Тула, 2003, с.115, рис.4.18, [2].
Для измерения угловой скорости линии снаряд-цель используется двухканальная гироскопическая полуактивная головка самонаведения. Она представляет собой гироскопическое следящее устройство, которое совмещает оптическую ось объектива координатора, воспринимающего импульсы лазерного излучения, отраженного от цели, с направлением на цель. В процессе слежения за целью ГСН вырабатывает управляющий сигнал, пропорциональный угловой скорости линии визирования.
Структурно гироскопическое устройство состоит из обтекателя с фильтром, гирокоординатора цели, включающего в себя гироскоп с системой коррекции и объектив с фотоприемным устройством, и электронного блока. Электронный блок обеспечивает селекцию и обработку принятых импульсов, отраженных от цели, для получения координатной информации о ее местоположении в поле зрения ГСН, формирование соответствующих сигналов коррекции.
Схема для двух каналов управления представлена на фиг.1. Устройство включает трехстепенной астатический гироскоп 1, последовательно соединенные приемник излучения 2, оптическая ось которого совпадает с осью собственного вращения ротора гироскопа, и аппаратуру выделения угловых координат цели 5 (в прототипе блок электронный), первый и второй экстраполяторы нулевого порядка 6, 7, первый и второй электромагнитные двигатели коррекции углового положения оси собственного вращения ротора гироскопа 3, 4. Приемник излучения состоит из объектива и фотоприемного устройства (ФПУ), он может отклоняться относительно продольной оси головки самонаведения. При расположении цели в пределах поля зрения приемника отраженное от цели лазерное излучение фокусируется оптической системой в пятно рассеяния. Если направление на цель совпадает с оптической осью объектива, то изображение цели в виде пятна рассеяния фокусируется в центре ФПУ. При появлении углового рассогласования между осью объектива и линией визирования пятно рассеяния смещается относительно центра чувствительных площадок, с каждой из которой снимается электрический сигнал, пропорциональный энергии части пятна, попадающей на чувствительную площадку.
ГСП вырабатывает на каждый импульс подсветки управляющий сигнал, пропорциональный смещению энергетического центра пятна рассеяния относительно центра площадок ФПУ. Под действием управляющих сигналов ГСН создает корректирующий момент, вызывающий прецессию гироскопа (поворот оси ротора головки) в сторону цели и сводящий угол рассогласования к нулю. В процессе наведения управляющий сигнал представляет собой серию прямоугольных импульсов с частотой подсветки, изображенных на фиг.2. Амплитуда импульсов пропорциональна смещению пятна рассеяния и промодулирована частотой вращения снаряда по крену. Длительность импульсов фиксирована и равна И=40 мс.
Коррекция углового положения оси собственного вращения ротора ГСН производится импульсами тока, формируемыми в электронном блоке на каждый импульс подсвета цели, воспринятый ФПУ посредством взаимодействия магнитного поля магнита ротора с полем обмоток электромагнитных двигателей коррекции. Обмотки коррекции включены попарно. Каждая пара обмоток предназначена для коррекции углового положения оси собственного вращения ротора в одной из плоскостей снаряда – хОу или xOz.
Сигналы, поступающие в обмотки электромагнитных двигателей коррекции при слежении гироскопического устройства за целью, представляют собой амплитудно-модулированные прямоугольные импульсы постоянной длительности с периодом, соответствующим частоте импульсов подсвета цели.
Для управления снарядом гироскопическое устройство вырабатывает сигналы, поступающие в автопилотный блок снаряда. Это импульсы напряжения прямоугольной формы и переменной ширины. Ширина импульсов зависит от амплитуды сигналов коррекции гироскопа. Середина выходного импульса совпадает по времени с серединой сигнала коррекции, а его расширение происходит симметрично в обе стороны относительно середины. Таким образом, управление рулевым приводом снаряда осуществляется широтно-модулированными импульсами постоянной амплитуды.
Недостатком такой схемы гироскопического устройства является зависимость его добротности и фазовой ошибки сигналов управления от изменения частоты вращения снаряда. Для достижения стабильности характеристик устройства необходимо стабилизировать частоту вращения снаряда на участке самонаведения в диапазоне от 4 до 8 Гц. Наиболее рациональным способом уменьшения влияния на точность ГСН и системы управления снарядом в целом импульсного характера подсвета цели в широком диапазоне изменения частоты вращения снаряда является введение промежуточной демодуляции и модуляции сигналов управления ГСН и рулевым приводом частотой вращения снаряда так, чтобы экстраполяция сигналов управления проводилась в канале постоянного тока, т.е. вектор рассогласования предварительно раскладывают на координатные составляющие, запоминают их до прихода следующего импульса подсвета и формируют сигналы управления двигателями коррекции во вращающейся системе координат.
Задачей предлагаемого изобретения является повышение точности наведения ракеты на цель на участке самонаведения при отклонениях частоты вращения ракеты относительно номинальной величины.
Решение данной задачи достигается за счет того, что в гироскопическое следящее за целью устройство самонаводящейся вращающейся вокруг продольной оси ракеты, включающее трехстепенной астатический гироскоп, последовательно соединенные приемник излучения, оптическая ось которого совпадает с осью собственного вращения ротора гироскопа, и аппаратуру выделения угловых координат цели, первый и второй экстраполяторы нулевого порядка, взаимосвязанные с гироскопом первый и второй электромагнитные двигатели коррекции углового положения оси собственного вращения ротора гироскопа, введены гироскопический датчик угла крена ракеты, формирователь сигналов модуляции, восемь блоков произведения, два сумматора и два блока вычитания, причем первые входы первого и второго блоков произведения соединены с первым выходом аппаратуры выделения угловых координат цели, а первые входы третьего и четвертого блоков произведения – со вторым ее выходом, выходы первого и третьего блоков произведения соединены соответственно с первым и вторым входами первого сумматора, выход которого соединен со входом первого экстраполятора нулевого порядка, выходы второго и четвертого блоков произведения соединены соответственно с первым и вторым входами первого блока вычитания, выход которого соединен со входом второго экстраполятора нулевого порядка, выход первого экстраполятора нулевого порядка соединен с первыми входами пятого и шестого блоков произведения, выход второго экстраполятора соединен с первыми входами седьмого и восьмого блоков произведения, выходы пятого и седьмого блоков произведения соединены соответственно с первым и вторым входами второго блока вычитания, выход которого соединен со входом первого электромагнитного двигателя коррекции, выходы шестого и восьмого блоков произведения соединены соответственно с первым и вторым входами второго сумматора, выход которого соединен со входом второго электромагнитного двигателя коррекции, выход гироскопического датчика угла крена соединен со входом формирователя сигналов модуляции, первый выход которого соединен со вторыми входами первого, четвертого, пятого и восьмого блоков произведения, а второй выход – со вторыми входами второго, третьего, шестого и седьмого блоков произведения.
Таким образом, технический результат достигается путем установки перед экстраполятором демодулятора, а перед корректирующими двигателями ГСН и рулевым приводом ракеты – модуляторов. Для получения модулирующих функций на ракете дополнительно устанавливают гироскоп крена.
Предлагаемое изобретение поясняется графическими материалами, где на фиг.1 приведена схема устройства – ближайшего аналога, включающего гироскоп (Г) 1, приемник излучения (ПИ) 2, электромагнитные двигатели коррекции (ЭДК1, ЭДК2) 3, 4, аппаратуру выделения угловых координат цели (АВУКЦ) 5, два экстраполятора нулевого порядка (Э1, Э2) 6,7.
На фиг.2 представлены эпюры сигналов управления и отклонений рулевых органов для устройства-прототипа, где UФПУ – сигнал с выхода ФПУ, UY Э, UZ Э – сигналы управления ГСН, UY, UZ – сигналы управления рулевым приводом, Y, Z – эпюры отклонений рулевых органов, fb=1/TB – частота вращения ракеты по крену.
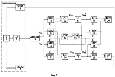
На фиг.3 приведена структурная схема предлагаемого гироскопического устройства.
Устройство включает гироскоп Г 1, приемник излучения ПИ 2, электромагнитные двигатели коррекции ЭДК1 3 и ЭДК2 4, аппаратуру выделения угловых координат цели АВУКЦ 5, демодулятор, выполненный на четырех блоках произведения 8-11, первом сумматоре 12 и первом блоке вычитания 14, два экстраполятора нулевого порядка Э1, Э2 6, 7, модулятор, выполненный на четырех блоках произведения 16-19, втором блоке вычитания 20 и втором сумматоре 21, гироскопический датчик угла крена ДУК 13 и формирователь сигналов модуляции ФСМ 15.
По сравнению с устройством-прототипом введены демодулятор, датчик угла крена ракеты, выдающий информацию о текущем угле крена ракеты, формирователь сигналов модуляции, с выхода которого снимаются сигналы, пропорциональные гармоническим функциям угла крена, сдвинутые относительно друг друга на 90 градусов, и модулятор.
Предлагаемое устройство функционирует следующим образом. Демодулятор осуществляет преобразование сигналов управления из вращающейся системы координат, связанной с ракетой, в не вращающуюся систему координат, связанную с линией визирования цели. Далее сигналы управления поступают на экстраполяторы Э1 и Э2, которые осуществляют запоминание сигналов на время, равное, например, И=40 мс. Модулятор осуществляет преобразование сигналов управления из системы координат, не вращающейся по крену, в систему координат, связанную с вращающейся ракетой. После этого сигналы управления подаются на электромагнитные двигатели коррекции и рулевой привод ракеты.
Гирокоординатор, включающий в свой состав трехстепенной астатический гироскоп, приемник излучения и два электромагнитных двигателя коррекции, а также аппаратура выделения угловых координат цели выполнены так же, как и в прототипе [2], с.116, 117. Экстраполятор нулевого порядка может быть выполнен на микросхеме К115РУ1. (В.Л.Шило, Популярные цифровые микросхемы, М., Радио и связь, 1987 г., [3]). Сумматоры и блоки вычитания выполнены по схеме рис.11.1 (У.Титце, К.Шенк, Полупроводниковая схемотехника, М., Мир, 1982 г., с.137, [3]). Блоки произведения выполнены по схеме четырехквадрантного умножения (рис.11.41, с.162, [3]).
Датчик угла крена может быть реализован на основе устройства, представленного в [1] на с.269. Формирователь сигналов модуляции может быть реализован на основе схемы, приведенной в книге И.М.Тетельбаума, Ю.Р.Шнейдера, Практика аналогового моделирования динамических систем, М., Энергоатомиздат, 1987 г., на с.211.
Проведенное моделирование и пуски ракет показали, что предлагаемое гироскопическое следящее за целью устройство самонаводящейся вращающейся вокруг продольной оси ракеты позволяет обеспечить необходимую точность стрельбы на участке самонаведения при частоте вращения ракеты до 15 Гц.
Формула изобретения
Гироскопическое следящее за целью устройство самонаводящейся вращающейся вокруг продольной оси ракеты, включающее трехстепенной астатический гироскоп, последовательно соединенные приемник излучения, оптическая ось которого совпадает с осью собственного вращения ротора гироскопа, и аппаратуру выделения угловых координат цели, первый и второй экстраполяторы нулевого порядка, взаимосвязанные с гироскопом первый и второй электромагнитные двигатели коррекции углового положения оси собственного вращения ротора гироскопа, отличающееся тем, что в него введены гироскопический датчик угла крена ракеты, формирователь сигналов модуляции, восемь блоков произведения, два сумматора и два блока вычитания, причем первые входы первого и второго блоков произведения соединены с первым выходом аппаратуры выделения угловых координат цели, а первые входы третьего и четвертого блоков произведения – со вторым ее выходом, выходы первого и третьего блоков произведения соединены соответственно с первым и вторым входами первого сумматора, выход которого соединен с входом первого экстраполятора нулевого порядка, выходы второго и четвертого блоков произведения соединены соответственно с первым и вторым входами первого блока вычитания, выход которого соединен с входом второго экстраполятора нулевого порядка, выход первого экстраполятора нулевого порядка соединен с первыми входами пятого и шестого блоков произведения, выход второго экстраполятора соединен с первыми входами седьмого и восьмого блоков произведения, выходы пятого и седьмого блоков произведения соединены соответственно с первым и вторым входами второго блока вычитания, выход которого соединен с входом первого электромагнитного двигателя коррекции, выходы шестого и восьмого блоков произведения соединены соответственно с первым и вторым входами второго сумматора, выход которого соединен со входом второго электромагнитного двигателя коррекции, выход гироскопического датчика угла крена соединен со входом формирователя сигналов модуляции, первый выход которого соединен со вторыми входами первого, четвертого, пятого и восьмого блоков произведения, а второй выход – со вторыми входами второго, третьего, шестого и седьмого блоков произведения.
РИСУНКИ
|
|